CN108670142B - 平板拖把挤水方法 - Google Patents
平板拖把挤水方法 Download PDFInfo
- Publication number
- CN108670142B CN108670142B CN201810630142.4A CN201810630142A CN108670142B CN 108670142 B CN108670142 B CN 108670142B CN 201810630142 A CN201810630142 A CN 201810630142A CN 108670142 B CN108670142 B CN 108670142B
- Authority
- CN
- China
- Prior art keywords
- squeezing
- flat mop
- water
- mop
- head
- Prior art date
- Legal status (The legal status is an assumption and is not a legal conclusion. Google has not performed a legal analysis and makes no representation as to the accuracy of the status listed.)
- Active
Links
- XLYOFNOQVPJJNP-UHFFFAOYSA-N water Substances O XLYOFNOQVPJJNP-UHFFFAOYSA-N 0.000 title claims abstract description 284
- 238000000034 method Methods 0.000 title claims abstract description 39
- 239000000463 material Substances 0.000 claims abstract description 20
- 238000004140 cleaning Methods 0.000 claims description 121
- 238000001125 extrusion Methods 0.000 claims description 83
- 238000009499 grossing Methods 0.000 claims description 53
- XEEYBQQBJWHFJM-UHFFFAOYSA-N Iron Chemical compound [Fe] XEEYBQQBJWHFJM-UHFFFAOYSA-N 0.000 claims description 36
- 230000007246 mechanism Effects 0.000 claims description 24
- 229910052742 iron Inorganic materials 0.000 claims description 18
- 230000000694 effects Effects 0.000 claims description 5
- 230000003139 buffering effect Effects 0.000 claims description 4
- 238000005086 pumping Methods 0.000 description 68
- 238000005406 washing Methods 0.000 description 10
- 230000009471 action Effects 0.000 description 8
- 230000018044 dehydration Effects 0.000 description 7
- 238000006297 dehydration reaction Methods 0.000 description 7
- 230000007306 turnover Effects 0.000 description 6
- 238000005192 partition Methods 0.000 description 4
- 230000008859 change Effects 0.000 description 3
- 238000009434 installation Methods 0.000 description 3
- 238000009825 accumulation Methods 0.000 description 2
- 230000009286 beneficial effect Effects 0.000 description 2
- 238000006243 chemical reaction Methods 0.000 description 2
- 230000000717 retained effect Effects 0.000 description 2
- 238000003809 water extraction Methods 0.000 description 2
- 238000010276 construction Methods 0.000 description 1
- 230000007547 defect Effects 0.000 description 1
- 239000004744 fabric Substances 0.000 description 1
- 239000011229 interlayer Substances 0.000 description 1
- 230000007704 transition Effects 0.000 description 1
Images
Classifications
-
- A—HUMAN NECESSITIES
- A47—FURNITURE; DOMESTIC ARTICLES OR APPLIANCES; COFFEE MILLS; SPICE MILLS; SUCTION CLEANERS IN GENERAL
- A47L—DOMESTIC WASHING OR CLEANING; SUCTION CLEANERS IN GENERAL
- A47L13/00—Implements for cleaning floors, carpets, furniture, walls, or wall coverings
- A47L13/10—Scrubbing; Scouring; Cleaning; Polishing
- A47L13/20—Mops
- A47L13/24—Frames for mops; Mop heads
- A47L13/254—Plate frames
- A47L13/258—Plate frames of adjustable or foldable type
-
- A—HUMAN NECESSITIES
- A47—FURNITURE; DOMESTIC ARTICLES OR APPLIANCES; COFFEE MILLS; SPICE MILLS; SUCTION CLEANERS IN GENERAL
- A47L—DOMESTIC WASHING OR CLEANING; SUCTION CLEANERS IN GENERAL
- A47L13/00—Implements for cleaning floors, carpets, furniture, walls, or wall coverings
- A47L13/10—Scrubbing; Scouring; Cleaning; Polishing
- A47L13/50—Auxiliary implements
- A47L13/58—Wringers for scouring pads, mops, or the like, combined with buckets
- A47L13/59—Wringers for scouring pads, mops, or the like, combined with buckets with movable squeezing members
Landscapes
- Cleaning Implements For Floors, Carpets, Furniture, Walls, And The Like (AREA)
Abstract
一种平板拖把的使用方法,该平板拖把包括拖把杆和平板拖把头,所述的平板拖把头上设有擦拭物,所述的平板拖把头活动连接在所述的拖把杆上,并在平板拖把头和拖把杆之间设置定位装置;采用拖把桶对平板拖把头上的擦拭物进行挤水,在所述拖把桶上可拆卸的安装捋口挤压装置,挤水时按照下列步骤进行操作:首先将所述的平板拖把头旋转至可进行挤水的状态,并通过所述的定位装置使平板拖把头保持可进行挤水的状态;然后手握拖把杆,将挤水状态下的平板拖把头插入捋口挤压装置中上下移动,通过捋口挤压装置对擦拭物进行移动挤压挤水;拖地时所述的平板拖把头脱离所述定位装置的控制从而旋转至拖地状态。本发明使用时更方便省力。
Description
本申请是分案申请,原申请的申请日为2017年04月06日,申请号为201710221951.5发明创造名称为“可拆卸挤压平板拖把清洁工具”。
技术领域
本发明涉及一种平板拖把的挤水方法。
背景技术
在现有技术中,平板拖把的脱水有三种方式脚踩挤压式脱水,其在拖把桶上设置脚踩挤压装置,该脚踩挤压装置包括设置在拖把桶内的挤水篮、铰接在拖把桶上部且与挤水篮相对的踏板,踏板和挤水篮围成一个挤水空间,在脱水时需要首先将平板拖把的拖把板上的拖布脱卸下来,将拖布放置在挤水空间中,然后脚踩踏板使得挤水空间收缩达到将拖布上的水挤干的目的。这种形式的脱水方式需要设计结构复杂的脚踩挤压装置,成本较高;在挤水时需要首先将拖布脱卸下来,且需要抬脚进行踩踏操作,操作比较麻烦。
第二种方式是是离心式旋转脱水,其采用手压旋转式的拖把杆,在脱水时需要将平板拖把的拖把板两端弯折后放置在拖把桶的脱水区域,下压拖把杆,使得平板拖把的拖把板离心旋转脱水。这种形式的脱水方式需要将平板拖把的拖把板设计成可弯折的结构,结构比较复杂,且需要与手压旋转式拖把杆配合,成本较高。
第三种方式是手推挤压式脱水,如中国发明专利ZL200720192814.5、ZL201320019718.6、ZL201420624020.1等,其包括拖把杆、活动连接在拖把杆上的平板拖把板,在拖把杆上设有挤水机构,通过挤水机构和平板拖把板之间的相对挤压移动来实现对平板拖把板上的擦拭物的挤水和清洁。其还存在的缺点在于:在进行挤水操作,需要一手握住拖把杆定位、一手握住挤水机构,通过单手推拉挤水机构来实现挤水机构和平板拖把板之间的相对挤压移动运动,操作非常费力,操作性不强。
发明内容
为了克服现有平板拖把清洁工具的上述不足,本发明提供一种操作更省力的平板拖把清洁工具。
本发明解决其技术问题的技术方案是:可拆卸挤压平板拖把清洁工具,包括拖把桶和平板拖把,所述平板拖把包括拖把杆和活动连接在所述拖把杆上的平板拖把头,所述的平板拖把头上设有擦拭物;
所述的拖把桶具有独立的挤水区和独立的清洗区;所述拖把桶上安装有捋口挤压装置,清洗和挤水时将所述的平板拖把头旋转至可进行清洗和挤水的状态,且所述的平板拖把头与拖把杆之间可通过定位装置使该平板拖把头保持清洗和挤水状态;拖地时所述的平板拖把头脱离所述定位装置的控制从而旋转至拖地状态;
清洗时所述的平板拖把头在清洗区与所述的捋口挤压装置之间移动挤压从而对擦拭物进行移动挤压清洗,挤水时所述的平板拖把头在所述的挤水区与所述的捋口挤压装置之间移动挤压从而对擦拭物进行移动挤压挤水;
所述的捋口挤压装置可拆卸地安装在所述的拖把桶上。
进一步,所述的捋口挤压装置包括挤压架,所述的挤压架上开设有供平板拖把穿过的挤压口,所述的挤压口中设有对所述平板拖把头上的擦拭物形成挤压的挤压器,所述的挤压架可拆卸地安装在所述的拖把桶上。
进一步,所述的挤压器为挤压条、或挤压片、或可旋转的挤水辊。
进一步,所述的拖把桶上安装有至少一个用于挤水的捋口挤压装置,所述的拖把桶上安装有至少一个用于清洗的捋口挤压装置。
进一步,所述的拖把桶上安装有一个用于挤水的捋口挤压装置,所述的拖把桶上安装有一个用于清洗的捋口挤压装置,用于挤水的捋口挤压装置与用于清洗的捋口挤压装置连体或分体。
或者,所述的捋口挤压装置有一个,该捋口挤压装置可在所述的挤水区和清洗区之间转换。
当捋口挤压装置只有一个时,所述的拖把桶上设有滑动导轨,所述的捋口挤压装置可沿所述的滑动导轨滑至所述的挤水区或清洗区。 或者:所述的拖把桶上还铰接有翻转柄,所述的捋口挤压装置可转动地安装在所述的翻转柄上,所述的翻转柄可翻转至所述的挤水区或清洗区。
进一步,所述的拖把桶上海设有与所述的清洗区和/或挤水区对应的放水阀。
进一步,所述的擦拭物设于所述平板拖把头的正面和/或背面。
进一步,所述挤水区中和/或清洗区中设有对下压的平板拖把头形成缓冲的缓冲机构。
进一步,所述的缓冲机构为弹性垫、或弹性块、或弹簧回弹装置。
进一步,所述的弹簧回弹装置包括上顶弹簧和回弹架,所述上顶弹簧的下端固定,所述上顶弹簧的上端顶在所述的回弹架上。
进一步,该挤压平板拖把清洁工具还设有用于将被挤出的水从挤水区转移到清洗区的水转移装置。
进一步,所述的水转移装置为将挤水后滞留在挤水区内的水抽至清洗区的抽水装置。
进一步,所述的抽水装置设于所述的挤水区内,该抽水装置受挤水时下压的平板拖把驱动,或该抽水装置受外力驱动。
进一步,所述的抽水装置包括设于所述拖把桶底部的叶轮泵,所述的叶轮泵连接抽水管,该叶轮泵内设有叶轮,所述叶轮的中央设有驱动轴,所述的驱动轴上设有驱动齿轮,所述的驱动齿轮受挤水时下压的平板拖把驱动,或所述的驱动齿轮受外力驱动。
进一步,所述的抽水装置包括与拖把桶的底面固定的抽水泵,所述的抽水泵包括抽水筒,所述的抽水筒包括上部的抽水区和下部的进水区,所述的进水区与拖把桶联通,所述的抽水区连接抽水管;所述的抽水区设有与抽水筒之间密封的活塞,抽水区和进水区之间设有单向阀;
抽水时通过所述活塞的上下运动进行抽水和抽水区的进水,所述的活塞受挤水时下压的平板拖把驱动,或所述的活塞受外力驱动。
进一步,所述的捋口挤压装置包括安装在所述拖把桶上的挤水架、安装在所述拖把桶上的清洗架,所述的挤水架及清洗架内均设有对所述平板拖把头上的擦拭物形成挤压的挤压器;
所述的水转移装置为设在所述挤水架中的水路通道,挤水时所述挤压器挤下来的水通过所述的水路通道直接或间接流至所述的清洗区。
进一步,所述的挤水架和所述的清洗架分体或连成一体。
进一步,所述的定位装置包括设于所述拖把杆上的铁块、设于所述平板拖把头上的磁铁,所述的平板拖把头旋转至可进行清洗和挤水的状态时,所述的铁块与所述的磁铁相吸合;拖地时所述的铁块与所述的磁铁相脱离;
或者,所述的定位装置包括设于所述拖把杆上的磁铁、设于所述平板拖把头上的铁块,所述的平板拖把头旋转至可进行清洗和挤水的状态时,所述的铁块与所述的磁铁相吸合;拖地时所述的铁块与所述的磁铁相脱离。
或者,所述的定位装置包括设于所述平板拖把头上的弹性扣,所述的平板拖把头旋转至可进行清洗和挤水的状态时,所述的拖把杆扣入所述的弹性扣内;拖地时所述的所述的拖把杆脱离所述的弹性扣;
或者,所述的定位装置包括设于所述拖把杆上的弹性扣,所述的平板拖把头上设有与所述的弹性扣适配的扣孔,所述的平板拖把头旋转至可进行清洗和挤水的状态时,所述的弹性扣扣入所述的扣孔内;拖地时所述的所述的弹性扣脱离所述的扣孔。
或者,所述的定位装置包括设于所述拖把杆内的弹性顶件,清洗和挤水时所述的弹性顶件顶在所述平板拖把头与拖把杆之间的活动连接处从而对平板拖把头进行定位;拖地时,所述的拖把杆或平板拖把头转动后使平板拖把头处于拖地状态;
或者,所述的定位装置包括设于所述平板拖把头与拖把杆之间的活动连接处的弹性顶件,清洗和挤水时所述的弹性顶件顶在拖把杆上从而对平板拖把头进行定位;拖地时,所述的拖把杆或平板拖把头转动后使平板拖把头处于拖地状态。
或者,所述的定位装置包括设于所述平板拖把头上的魔术公扣、设于所述拖把杆上的魔术母扣,清洗和挤水时所述的平板拖把头与拖把杆之间通过所述的魔术公扣和魔术母扣粘合绑定;拖地时所述的魔术公扣与魔术母扣脱离;
或者,所述的定位装置包括设于所述平板拖把头上的魔术母扣、设于所述拖把杆上的魔术公扣,清洗和挤水时所述的平板拖把头与拖把杆之间通过所述的魔术公扣和魔术母扣粘合绑定;拖地时所述的魔术公扣与魔术母扣脱离。
进一步,所述的挤压架上设有卡凸,所述的挤压架通过所述的卡凸卡在所述的拖把桶上。
进一步,所述的挤压架上枢接有卡板,所述的卡板上设有卡扣,转动所述的卡板后所述的卡扣卡在所述的拖把桶上。
进一步,所述挤压架上设有横向插板以及竖向弹性片,所述的竖向弹性片上设有卡头;所述的横向插板插入所述拖把桶中后,所述竖向弹性片插入所述拖把桶中,并通过所述的卡头卡紧;
或者所述挤压架上设有竖向插板以及横向弹性片,所述的横向弹性片上设有卡头;所述的竖向插板插入所述拖把桶中后,所述横向弹性片插入所述拖把桶中,并通过所述的卡头卡紧。
进一步,所述的挤压架上铰接有拎手,所述的拎手上设有卡钩,转动所述的拎手后所述的卡钩卡入所述的拖把桶中。
本发明的有益效果在于:在拖把桶上设置捋口挤压装置,使用时可双手握住拖把杆操作,实现平板拖把头与捋口挤压装置之间相对挤压移动进行挤水和清洗,操作时更省力简便,挤水时可将擦拭物挤得更干,且提供了与平板拖把配合的拖把桶,方便随时随地进行挤水和清洗;拖把上不设置其他挤水机构,拖把结构更简洁,使用时更方便,且捋口挤压装置可拆卸下来进行清洗等操作。
附图说明
图1是平板拖把的结构示意图。
图2是一种捋口挤压装置的结构示意图。
图3是另一种捋口挤压装置的结构示意图。
图4是另一种捋口挤压装置的结构示意图。
图5是一种挤压器的结构示意图。
图6是另一种挤压器的结构示意图。
图7是另一种捋口挤压装置的结构示意图。
图8是由隔板分隔出挤水区和清洗区的清洁工具的结构示意图。
图9是具有一种弹簧回弹装置的清洁工具的结构示意图。
图10是具有另一种弹簧回弹装置的清洁工具的结构示意图。
图11是具有另一种弹簧回弹装置的清洁工具的结构示意图。
图12是具有滑动的捋口挤压装置的清洁工具的结构示意图。
图13是具有滑动的捋口挤压装置的清洁工具的结构示意图。
图14是具有围框的清洁工具的结构示意图。
图15是具有一种抽水装置的清洁工具的结构示意图。
图16是图15中抽水装置在另一种状态下的结构示意图。
图17是图15中A部分的局部放大图。
图18是图16中B部分的局部放大图。
图19是具有另一种抽水装置的清洁工具的结构示意图。
图20是具有另一种抽水装置的清洁工具的结构示意图。
图21是具有另一种抽水装置的清洁工具的结构示意图。
图22是另一种捋口挤压装置的结构示意图。
图23是图22的捋口挤压装置的内部结构图。
图24是另一种捋口挤压装置的安装示意图。
图25是一个捋口挤压装置位于挤水区的状态图。
图26是一个捋口挤压装置状态转换时的示意图。
图27是一个捋口挤压装置位于清洗区的状态图。
图28是具有一种抽水装置的拖把桶的结构示意图。
图29是图28 中拖把桶内的结构示意图。
图30是图28中抽水装置的结构示意图。
图31是图30的抽水装置的爆炸图。
图32是具有一种抽水装置的拖把桶的结构示意图。
图33是图32 中拖把桶内的结构示意图。
图34是图32中抽水装置的结构示意图。
图35是图30的脚踏驱动机构的结构示意图。
图36是采用磁铁的平板拖把处于挤水和清洗状态时的示意图。
图37是采用磁铁的平板拖把处于拖地状态时的示意图。
图38是采用魔术扣的平板拖把处于挤水和清洗状态时的示意图。
图39是采用魔术扣的平板拖把处于拖地状态时的示意图。
图40是采用拖把杆上卡扣装置进行定位的平板拖把处于挤水和清洗状态时的示意图。
图41是采用拖把杆上卡扣装置进行定位的平板拖把处于拖地状态时的示意图。
图42是采用平板拖把头上卡扣装置进行定位的平板拖把处于挤水和清洗状态时的示意图。
图43是采用平板拖把头上卡扣装置进行定位的平板拖把处于拖地状态时的示意图。
图44是采用弹性顶件进行定位的平板拖把处于挤水和清洗状态时的示意图。
图45是采用弹性顶件进行定位的平板拖把处于拖地状态时的示意图。
图46是图45内部结构示意图。
图47是图44内部结构示意图。
图48是采用另一种弹性顶件进行定位的平板拖把处于挤水和清洗状态时的示意图。
图49是采用另一种弹性顶件进行定位的平板拖把处于拖地状态时的示意图。
图50是图49内部结构示意图。
图51是图48内部结构示意图。
图52是拖把桶与捋口挤压装置的一种可拆卸连接方式结构示意图。
图53是图52的爆炸图。
图54是图52另一角度的爆炸图。
图55是拖把桶与捋口挤压装置的另一种可拆卸连接方式结构示意图。
图56是图55的爆炸图。
图57是图55中捋口挤压装置的结构示意图。
图58是拖把桶与捋口挤压装置的另一种可拆卸连接方式结构示意图。
图59是图58的爆炸图。
图60是图58另一角度的爆炸图。
图61是图58中拎手的结构示意图。
图62是图58中拎手的结构示意图。
图63是拖把桶与捋口挤压装置的另一种可拆卸连接方式结构示意图。
图64是图63的爆炸图。
图65是图63的另一角度的爆炸图。
图66是图63的另一角度的爆炸图。
图67是图63中捋口挤压装置的结构示意图。
图68是图63中另一角度的捋口挤压装置的结构示意图。
图69是拖把桶中具有弹性垫或弹性块时的结构示意图。
具体实施方式
下面结合附图和具体实施方式对本发明作进一步详细说明。
参照图1~图8,可拆卸挤压平板拖把清洁工具,包括拖把桶1和平板拖把2,所述平板拖把2包括拖把杆3和活动连接在所述拖把杆3上的平板拖把头4,所述的平板拖把头4上设有擦拭物,擦拭物可设于平板拖把头4的正面或背面或正面背面均设置擦拭物。
所述的拖把桶1具有独立的挤水区5和独立的清洗区6。所述拖把桶1上安装有捋口挤压装置7,清洗和挤水时将所述的平板拖把头4旋转至可进行清洗和挤水的状态,这种状态的通常体现形式为:平板拖把头4旋转至与拖把杆3平行(当然也可转动至非平行状态),从而使得平板拖把可插入捋口挤压装置7中进行操作。所谓的捋口挤压装置,是指具有捋口的挤压装置,从而平板拖把可插入该捋口中移动,达到对擦拭物的挤压效果。所述的平板拖把头4与拖把杆3之间可通过定位装置使该平板拖把头4保持清洗和挤水状态;拖地时所述的平板拖把头4脱离所述定位装置的控制从而旋转至拖地状态。
清洗时所述的平板拖把头4在清洗区与所述的捋口挤压装置7之间移动挤压从而对擦拭物进行挤压清洗,挤水时所述的平板拖把头4在所述的挤水区与所述的捋口挤压装置7之间移动挤压从而对擦拭物挤压挤水。挤水和清洗时,最好是平板拖把头4与捋口挤压装置7之间相对竖向运动,即平板拖把头4在移动时沿其轴向竖向上下运动,从而平板拖把头4与捋口挤压装置7之间产生相对移动,平板拖把头4上的擦拭物与捋口挤压装置7之间移动挤压清洗或移动挤压挤水,在进行清洗或挤水时,可双手握住拖把杆3向下压,因此操作非常方便且省力。
所述的捋口挤压装置7可拆卸地安装在所述的拖把桶1上。
本实施例中,所述的拖把桶1内设有隔板8,从而在所述的拖把桶1内分隔出独立的挤水区5和独立的清洗区6,可在所述的清洗区6和/或挤水区5设置放水阀,方便通过放水阀放水。如图8所示,在所述的清洗区6安装有一个捋口挤压装置7,在所述的挤水区5安装有一个捋口挤压装置7,清洗区的捋口挤压装置与挤水区的捋口挤压装置可分体,亦可连成一体,清洗区6的捋口挤压装置7用于对擦拭物进行挤压清洗,挤水区5的捋口挤压装置7用于对擦拭物进行挤压挤水。当然也可如图7所示,可在清洗区和挤水区设置多个捋口挤压装置7,多个捋口挤压装置7排成一列,以增加清洗和挤水效果。
前述所描述的平板拖把清洁工具,通过隔板8将拖把桶分隔成独立的挤水区5和独立的清洗区6,即拖把桶具有相互分离而独立存在的挤水区和清洗区,当然形成独立的挤水区和清洗区还可以采用隔板之外的其他方式,例如将拖把桶设置为挤水桶以及与该挤水桶连接的清洗桶,挤水桶所在空间为挤水区,清洗桶所在空间为清洗区。
当然,用于挤水的捋口挤压装置的安装位置也可以是在清洗区处,此时该用于挤水的捋口挤压装置需要延伸至挤水区;用于清洗的捋口挤压装置的安装位置也可以是在挤水区处,此时用于清洗的捋口挤压装置需要延伸至清洗区。
本实施例中,捋口挤压装置7的具体结构形式是:该捋口挤压装置7包括挤压架9,挤压架9安装在拖把桶1的上端,所述的挤压架9上开设有供平板拖把穿过的挤压口10,所述的挤压口10中设有对所述平板拖把头4上的擦拭物形成挤压的挤压器11。在进行清洗或挤水时,平板拖把头4旋转至与拖把杆3平行,再将平板拖把头4插入挤压口10中,由挤压器11与平板拖把头4上的擦拭物产生摩擦挤压,由挤压器11对擦拭物进行挤压清洗或挤压挤水。
挤压器11的作用是对平板拖把头4上的擦拭物产生挤压作用,因此只要达到该作用即可,其结构形式可采用多种方式,其安装形式也可采用多种方式。挤压器11可以为挤压条、或挤压片、或可旋转的挤水辊,所述的挤压条、或挤压片、或挤水辊可固定安装在所述的挤压口中,所述的挤压条、或挤压片、或挤水辊亦可通过弹性装置活动安装在所述的挤压口中,所述的挤水辊、或挤压条、或挤压片亦可通过设于挤压支架上的斜向轨道活动安装在所述的挤压口中。如图2所示,挤压器11可采用挤压辊的形式。或者如图5所示,挤压器11可采用挤压条的形式,挤压条上设有挤水棱条12,通过挤水棱条12与平板拖把头4上的擦拭物产生挤压;或者与图6所示,挤压器11可采用挤压条的形式,挤压条上设有挤水棱条12和刷柱13,通过挤水棱条12及刷柱13与平板拖把头4上的擦拭物产生挤压,其中挤水棱条12起主要的挤压作用,刷柱13起次要的挤压作用,刷柱13还可对平板拖把头4上的擦拭物进行清刷,有利于清洗。
挤压器11的安装方式可以如图2所示,作为挤压器11的挤压辊固定安装在挤压口10中,挤水辊亦可活动安装在挤压口中,方式有两种,一种是挤水辊两端设有辊架,挤水辊的两端插入滚架中,辊架与挤压之间之间通过弹簧连接,从而在挤水和清洗时挤水辊可移动而改变挤压口的宽度;或者挤压支架上的斜向轨道,两辊架分别设有辊架凸块,辊架凸块,辊架凸块滑设在斜向轨道中从而在挤水和清洗时挤水辊可移动而改变挤压口的宽度;或者如图3所示,作为挤压器11的挤压条通过挤压器弹簧14连接在挤压架9上,使挤压器11具有一定的弹性,在挤压操作时更顺畅,在挤水和清洗时挤水辊可移动而改变挤压口的宽度;或者如图4所示,作为挤压器11的挤压条固定安装在挤压架9上;或者如图24所示,作为挤压器11的挤压条的两端设有凸出的滑块15,在挤压架9上设有倾斜滑轨16,滑块15位于倾斜滑轨16中,滑块15可在倾斜滑轨16中滑移,从而挤压器11可活动,是的挤水或清洗时挤压口的宽度可改变。
本实施例中,所述挤水区5和/或清洗区6中设有对下压的平板拖把头4形成缓冲的缓冲机构,该缓冲机构一般设于挤水区5的底面上,清洗区6的底面亦可设有对下压的平板拖把头4形成缓冲的缓冲机构,该缓冲机构一般设于清洗区6的底面上。缓冲机构的作用在于:下压的平板拖把头4在下压时触碰到缓冲机构,可避免直接与拖把桶1的底面硬接触,从而形成缓冲作用,在挤水和清洗操作时更舒适。缓冲机构可采用多种形式,例如采用弹性垫、或弹性块、或弹簧回弹装置等。所述的缓冲机构采用弹簧回弹装置时,所述回弹装置包括上顶弹簧17和回弹架18,所述上顶弹簧17的下端顶在所述拖把桶1的底面,所述上顶弹簧17的上端顶在所述的回弹架18上,平板拖把头4在清洗或挤水时下压,顶在回弹架18上,从而通过上顶弹簧17的弹力形成缓冲。回弹架18的形状以及与上顶弹簧17之间的具体安装方式也可采用多种结构形式,例如如图9所示,挤水区和/或清洗区的底面上设有固定套筒19,固定套筒19中套设有上顶套筒,上顶弹簧17位于固定套筒19和上顶套筒内,上顶套筒形成上述的回弹架18;或者如图10所示,挤水区和/或清洗区的底面上设有设有两个固定的弹簧套筒20,每个弹簧套筒20中设有固定的导向柱21,回弹架18具有下凹部分22,平板拖把头4在下压时与该下凹部分22相顶,下凹部分22的两侧分别形成导向头,导向头中设有导向套筒23,导向套筒23套于导向柱21外,上顶弹簧17套于导向套筒23和导向柱21外,上顶弹簧17的下端顶在拖把桶1的底面,上顶弹簧17的上端顶在导向头上;或者如图11所示,挤水区和/或清洗区的底面上设有设有两个固定的导向框24,回弹架18具有下凹部22分,平板拖把头4在下压时与该下凹部分22相顶,下凹部分22的两侧分别形成导向头,导向头部分位于导向框24中,导向头中设有导向套筒23,上顶弹簧17套于导向套筒23外,上顶弹簧17的下端顶在拖把桶1的底面,上顶弹簧17的上端顶在导向头上。
前述的技术方案,是在挤水区5和清洗区6分别设置一个捋口挤压装置。当然也可以只采用一个捋口挤压装置,捋口挤压装置也可以只设置一个,此时该捋口挤压装置需要在挤水区和清洗区之间转换,挤水时其位于挤水区、清洗时其位于清洗区。转换的方式可以采用多种,如图12、图13所示,在拖把桶1上缘设置转移滑轨,挤压架9滑设在该转移滑轨上,从而捋口挤压装置7可滑至挤水区5和清洗区6,实现捋口挤压装置7在挤水区5和清洗区6之间的转换。或者如图25、26、27所示,所述的拖把桶1上还铰接有翻转柄49,所述的捋口挤压装置7可转动地安装在所述的翻转柄49上,所述的翻转柄49可翻转至所述的挤水区或清洗区,从而使捋口挤压装置7架在挤水区或清洗区。
当通过拖把桶1设置独立的挤水区5和独立的清洗区6后,存在如下问题:在挤水区5进行挤水时,挤下来的水积留在挤水区5内,从而在挤水区5中形成一定的水位,平板拖把头4在下压挤水的过程中,有可能沾到挤下来的水,从而影响挤干效果,为了解决该问题,可以增加拖把桶的高度,也可以采用其他方式达到挤水时平板拖把头4少沾水或免沾水的目的:一种方法是如图14所示,在所述挤水区5中设有围框25,围框25一般摄于挤水区5的底面,挤水时所述的平板拖把头4与该围框25对应,在挤水时挤压下来的水绝大部分落在围框25外面,只有极少部分的水滴落在围框25中,平板拖把头4下压挤水时插入围框25中,擦拭物将该极少部分的水再次吸收,如此多次挤水后即可将擦拭物挤干。本实施例中所述围框25的上端面开设有向下倾斜的导流口26,使挤水时挤压下来的水尽可能多地流至围框25外。
另一种方法是该挤压平板拖把清洁工具还设置有用于将挤出的水从挤水区转移到清洗区的水转移装置。该种方法又可采用两种实施方式,一种实施方式是设置抽水装置,通过抽水装置将挤水后滞留在挤水区内的水抽至清洗区,此时抽水装置可放置在拖把桶外,例如在拖把桶外设置抽水泵,抽水泵的进水口连接一根伸入到挤水区的水管,抽水泵的出水口连接一根出水管,出水管再伸至清洗区;抽水装置也可设置在挤水区内,例如在挤水区设置电动抽水泵,通过电动抽水泵将挤水区的水抽至清洗区,例如在挤水区设置非电动的抽水装置,该非电动的抽水装置可以是由挤水时下压的平板拖把驱动的。如15、16、17、18所示是一种抽水装置,其由挤水时下压的平板拖把驱动,该抽水装置包括与拖把桶1的底面固定的抽水筒27,所述的抽水筒27内设有隔水板28,所述的隔水板28将所述的抽水筒27分隔成上部的抽水区29和下部的进水区30,所述的抽水区29连接抽水管;所述的进水区30与拖把桶1联通,所述的抽水区29内设有活塞31且两者之间密封,所述的活塞31与所述的隔水板28之间设有抽水弹簧32;所述的隔水板28上设有单向阀,所述的活塞31下压该单向阀关闭,所述的活塞31上升时该单向阀打开。本实施例中单向阀为枢接在隔水板28上表面上的阀板33,隔水板28上开设有通水孔34,该阀板33可遮盖所述的通水孔34。当平板拖把头4下行时,平板拖把头4将活塞31下压,此时抽水区29的容积减小,在水压的作用下阀板33遮盖住通水孔34,抽水区29内的水通过抽水管排出;当平板拖把头4上升时,抽水区29的容积增大,挤水区内的水经进水区30、冲开阀板34从而进入抽水区29。当然也可以是平板拖把2的其他部分或专门设置一个部件与活塞31产生作用。
如28、29、30、31所示是一种抽水装置,其由外力驱动,该抽水装置包括与拖把桶1的底面固定的抽水筒27,所述的抽水筒27内设有与其密封的活塞31,该活塞31将抽水筒27分隔成上部的抽水区和下部的进水区,所述的进水区30与拖把桶联通,所述的抽水区连接抽水管,在活塞的上表面设有单向阀,本实施例中该单向阀为枢接在活塞上表面的塞子50,活塞上设有与塞子50对应的塞孔。活塞31下行时,在水压的作用下单向阀打开,进水区的水进入到抽水区;活塞31上行时在水压的作用下单向阀关闭,抽水区的容积减小,通过抽水管将水排出。其中活塞31受外力驱动,本实施例中,驱动力来自于活塞连接的推拉杆51,推拉杆向上穿出抽水筒27,通过推拉所述的推拉杆51来驱动活塞31。
如图19、20、21所示是一种抽水装置,其由挤水时下压的平板拖把驱动,该抽水装置包括设于所述拖把桶底部的叶轮泵35,所述的叶轮泵35连接抽水管,该叶轮泵35内设有叶轮,所述叶轮的中央设有驱动轴,所述的驱动轴上设有驱动齿轮36;所述的拖把桶1内设有齿轮架37、可受平板拖把驱动的升降齿条38,所述的齿轮架37上设有双联齿轮,该双联齿轮包括伞齿轮39以及与所述升降齿条38啮合的主动齿轮40;所述的齿轮架上还设有竖向的转轴41,所述的转轴41上设有上齿轮42、下齿轮43,所述的上齿轮42与所述的伞齿轮39啮合,所述的下齿轮43与所述的驱动齿轮36啮合。当平板拖把头4下行时,平板拖把头4压住升降齿条38下降,升降齿条38下降则带动主动齿轮40转动,主动齿轮40转动则伞齿轮39亦转动,伞齿轮39的转动带动上齿轮42转动,从而转轴41亦转动,亦即下齿轮43转动,下齿轮43转动带动驱动齿轮36转动,从而驱动叶轮转动,进行抽水,并通过抽水管排出。本实施例中可在拖把桶1的底面上设置齿条复位弹簧,齿条复位弹簧顶在升降齿条38上帮助其在平板拖把头4上升时回位。
如32、33、34、35所示是一种抽水装置,其由外力驱动,抽水装置包括设于所述拖把桶底部的叶轮泵35,所述的拖把桶上设有叶轮泵驱动装置,所述的叶轮泵由所述的叶轮泵驱动装置驱动。叶轮泵驱动装置的具体结构可以是拖把桶上铰接有脚踏52,脚踏52的下方有横向的齿条53,齿条53与脚踏52之间滑动连接,通过踩动脚踏52即可推动横向的齿条53横向直线运动,叶轮泵35内设有叶轮54,所述叶轮54的中央设有驱动轴,所述的驱动轴上设有驱动齿轮36,横向的齿条53与驱动齿轮36啮合,横向的齿条53直线运动带动驱动齿轮36转动,进而带动叶轮54转动,实现叶轮泵的抽水工作。
达到挤水时平板拖把头少沾水或免沾水的目的的第三种方式是:如图22、23、10、11所示,捋口挤压装置7包括安装在所述挤水区的挤水架44、安装在所述清洗区的清洗架45,所述的挤水架44及清洗架45内均设有对所述平板拖把头4上的擦拭物形成挤压的挤压器11;在所述的挤水架44中设有水路通道46,挤水时通过所述挤压器11挤下来的水通过所述的水路通道46直接流至所述的清洗区6,或间接流至清洗区6(即先流到清洗架45上,再流至清洗区)。在图22、23中,挤压器11采用挤压条的形式,挤压条上开设有水口47,该水口47形成水路通道46的进水口,挤压下来的水经过该水口47流入水路通道46中。采用这种方式,可将挤压下来的绝大部分的水通过水路通道46直接流至清洗区6,从而减少滴落到挤水区5的水。图中挤水架44和清洗架45是连体的,当然挤水架44和清洗架也可以是分体的,不影响水从挤水区流至清洗区的效果。
达到挤水时平板拖把头少沾水或免沾水的目的的第四种方式是:如图10、11所示,所述挤水区5中设有向上凸起的抬高凸台48,抬高凸台48一般摄于挤水区5的底面,挤水时所述的平板拖把与所述的抬高凸台48对应,抬高凸台48的外围形成积水夹层,用于容纳挤水时挤压下来的水,而平板拖把头只能下行至抬高凸台48为止,因此不会与积水相接触。此时,若挤水区有缓冲机构,则缓冲机构应安装在抬高凸台48上。
平板拖把在进行清洗和挤水时,将所述的平板拖把头旋转至可进行清洗和挤水的状态,且所述的平板拖把头与拖把杆之间可通过定位装置使该平板拖把头保持清洗和挤水状态,从而使平板拖把可顺利在捋口挤压装置中进行移动挤压挤水或移动挤压清洗。拖地时所述的平板拖把头脱离所述定位装置的控制从而旋转至拖地状态进行拖地。
定位装置的结构形式不受限制,只要能达到平板拖把头可保持清洗和挤水状态、在拖地时平板拖把头脱离所述定位装置的控制从而旋转至拖地状态即可。本实施例中例举几种定位装置的结构形式:
如图36、37所示,所述的定位装置包括设于所述拖把杆3上的铁块55、设于所述平板拖把头4上的磁铁56,所述的平板拖把头4旋转至可进行清洗和挤水的状态时,所述的铁块55与所述的磁铁56相吸合,从而使平板拖把头4在磁性吸合力的作用下保持清洗或挤水状态;拖地时所述的铁块55与所述的磁铁56相脱离,从而平板拖把头4脱离磁性吸合力的作用,可转动至拖地状态。
或者,所述的定位装置包括设于所述拖把杆上的磁铁、设于所述平板拖把头上的铁块,所述的平板拖把头旋转至可进行清洗和挤水的状态时,所述的铁块与所述的磁铁相吸合,从而使平板拖把头在磁性吸合力的作用下保持清洗或挤水状态;拖地时所述的铁块与所述的磁铁相脱离,从而平板拖把头脱离磁性吸合力的作用,可转动至拖地状态。
或者,如图42、43所示,所述的定位装置包括设于所述平板拖把头4上的弹性扣57,所述的平板拖把头4旋转至可进行清洗和挤水的状态时,所述的拖把杆3扣入所述的弹性扣57内,从而使平板拖把头4与拖把杆3之间固定,使平板拖把头4保持在清洗或挤水状态;拖地时扳动平板拖把头或拖把杆,使所述的拖把杆3脱离所述的弹性扣57,从而平板拖把头3可自由转动至拖地状态。
或者,如图40、41所示,所述的定位装置包括设于所述拖把杆3上的弹性扣57,所述的平板拖把头4上设有与所述的弹性扣适配的扣孔58,所述的平板拖把头5旋转至可进行清洗和挤水的状态时,所述的弹性扣57扣入所述的扣孔58内,使平板拖把头4保持在清洗或挤水状态;拖地时扳动平板拖把头或拖把杆,使所述的弹性扣57脱离所述的扣孔58,从而平板拖把头4可自由转动至拖地状态。
或者,所述的定位装置包括设于所述平板拖把头上的魔术公扣、设于所述拖把杆上的魔术母扣,清洗和挤水时所述的平板拖把头与拖把杆之间通过所述的魔术公扣和魔术母扣粘合绑定,从而使平板拖把头保持清洗或挤水状态;拖地时所述的魔术公扣与魔术母扣脱离,从而平板拖把头可自由转动至拖地状态。
或者,如图38、39所示,所述的定位装置包括设于所述平板拖把头4上的魔术母扣59、设于所述拖把杆3上的魔术公扣60,清洗和挤水时所述的平板拖把头4与拖把杆3之间通过所述的魔术公扣60和魔术母扣59粘合绑定,从而使平板拖把头4保持清洗或挤水状态;拖地时所述的魔术公扣60与魔术母扣59脱离,从而平板拖把头4可自由转动至拖地状态。
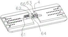
或者,如图44-图51所示,所述的定位装置包括设于所述拖把杆3内的弹性顶件,弹性顶件包括弹簧61和顶块62,清洗和挤水时所述的顶块63通过弹簧61的力顶在所述平板拖把头4与拖把杆3之间的活动连接处从而对平板拖把头4进行定位;拖地时,扳动拖把杆或平板拖把头,使所述的拖把杆或平板拖把头转动,从而使平板拖把头4处于拖地状态。平板拖把头4和拖把杆3的连接处可采用这样的结构:平板拖把头上纵向铰接有铰座63(所谓的纵向铰接是指铰轴与平板拖把头的长度方向平行),拖把杆3的下端横向铰接在铰座63上(所谓的横向铰接是指铰轴与平板拖把头的宽度方向平行),弹簧61及顶块62位于拖把杆3内的下端,从而顶块62顶在铰座63上。当平板拖把头4转动至清洗和挤水状态时,平板拖把头4转动后与拖把杆3基本平行,此时顶块62顶在铰座63上形成下顶力,从而使平板拖把头4保持该状态。为了达到更好的定位作用,当平板拖把头4转至基本与拖把杆3平行时,与顶块62相顶的铰座处设置为平面,以增加定位能力;或者与顶块62相顶的铰座处设置凹槽64,顶块62上设置凸筋65或卡轮66,通过凸筋65或卡轮66卡入凹槽64达到更好的定位效果。
或者,所述的定位装置包括设于所述平板拖把头与拖把杆之间的活动连接处的弹性顶件,清洗和挤水时所述的弹性顶件顶在拖把杆上从而对平板拖把头进行定位;拖地时,所述的拖把杆或平板拖把头转动后使平板拖把头处于拖地状态。
捋口挤压装置与拖把桶的可拆卸连接方式的具体结构形式不受限制,本实施例中例举几种可拆卸的结构形式:如图55、56、57所示,挤压架9上设有卡凸67,所述的挤压架9通过所述的卡凸67卡在所述的拖把桶1的上边沿。
如图52、53、54所示,所述的挤压架9上枢接有卡板68,所述的卡板68上设有卡扣69,转动所述的卡板68后所述的卡扣69卡在所述的拖把桶1的上边沿。
如图63-68所示,所述挤压架9的一头设有横向插板70,所述挤压架9的另一头竖向弹性片71,所述的竖向弹性片71上设有卡头72;所述的横向插板70插入所述拖把桶1上边沿上的孔中后,所述竖向弹性片71插入所述拖把桶1上边沿的另一孔中,并通过所述的卡头72卡紧;
或者所述挤压架的一侧设有竖向插板,挤压架的另一侧横向弹性片,所述的横向弹性片上设有卡头;所述的竖向插板插入所述拖把桶中后,所述横向弹性片插入所述拖把桶中,并通过所述的卡头卡紧。
如图63-62所示,所述的挤压架9上铰接有拎手73,所述的拎手73上设有卡钩74,转动所述的拎手73后所述的卡钩73卡入所述的拖把桶1的上边沿中。
参照图69,挤水区中和/或清洗区中设有对下压的平板拖把头形成缓冲的缓冲机构,该缓冲机构还可以是弹性垫75、或弹性块。
Claims (29)
1.平板拖把挤水方法,包括:拖把桶和平板拖把,平板拖把包括拖把杆和活动连接在所述拖把杆上的平板拖把头,所述的平板拖把头上设有擦拭物,其特征在于:拖把桶具有挤水区,挤水区上方安装有捋口挤压装置,所述的捋口挤压装置包括安装在所述挤水区的挤压架、挤压器,所述的挤压架中设有水路通道,挤水方法包括以下步骤:
手握拖把杆,将所述的平板拖把头旋转至与拖把杆基本平行的可进行挤水的状态,下压拖把杆,将平板拖把插入捋口挤压装置,擦拭物进入挤水区,平板拖把整体上下移动,平板拖把头在所述的挤水区与所述的捋口挤压装置之间上下移动挤压从而对擦拭物进行移动挤压挤水;
挤水时擦拭物被挤压器挤下来的水通过所述的水路通道转移至清洗区,避免或减少平板拖把头在下压挤水过程中沾到挤出的水而影响挤干效果;
在所述的平板拖把头与拖把杆之间设定位装置,挤水时通过所述的定位装置使平板拖把头保持挤水状态,从而平板拖把与拖把桶上的捋口挤压装置相配合进行挤水,并使平板拖把可顺利在捋口挤压装置中进行移动挤压挤水;
拖地时所述的平板拖把头脱离所述定位装置的控制,从而平板拖把头可自由转动至拖地状态。
2.如权利要求1所述的平板拖把挤水方法,其特征在于:将所述的拖把杆下端铰接在所述平板拖把头的中部。
3.如权利要求1所述的平板拖把挤水方法,其特征在于:在所述的平板拖把上不设置挤水机构。
4.如权利要求1所述的平板拖把挤水方法,其特征在于:挤水时平板拖把头与捋口挤压装置之间相对竖向运动,平板拖把在挤水时时沿其拖把杆轴向竖向上下运动。
5.如权利要求1所述的平板拖把挤水方法,其特征在于:所述的定位装置包括设于所述拖把杆上的铁块、设于所述平板拖把头上的磁铁,所述的平板拖把头旋转至可进行挤水的状态时,所述的铁块与所述的磁铁相吸合;拖地时所述的铁块与所述的磁铁相脱离;
或者,所述的定位装置包括设于所述拖把杆上的磁铁、设于所述平板拖把头上的铁块,所述的平板拖把头旋转至可进行挤水的状态时,所述的铁块与所述的磁铁相吸合;拖地时所述的铁块与所述的磁铁相脱离。
6.如权利要求1所述的平板拖把挤水方法,其特征在于:所述的定位装置包括设于所述平板拖把头上的弹性扣,所述的平板拖把头旋转至可进行挤水的状态时,所述的拖把杆扣入所述的弹性扣内;拖地时所述的所述的拖把杆脱离所述的弹性扣;
或者,所述的定位装置包括设于所述拖把杆上的弹性扣,所述的平板拖把头上设有与所述的弹性扣适配的扣孔,所述的平板拖把头旋转至可进行挤水的状态时,所述的弹性扣扣入所述的扣孔内;拖地时所述的所述的弹性扣脱离所述的扣孔。
7.如权利要求1所述的平板拖把挤水方法,其特征在于:所述的定位装置包括设于所述拖把杆内的弹性顶件,挤水时所述的弹性顶件顶在所述平板拖把头与拖把杆之间的活动连接处从而对平板拖把头进行定位;拖地时,所述的拖把杆或平板拖把头转动后使平板拖把头处于拖地状态;
或者,所述的定位装置包括设于所述平板拖把头与拖把杆之间的活动连接处的弹性顶件,挤水时所述的弹性顶件顶在拖把杆上从而对平板拖把头进行定位;拖地时,所述的拖把杆或平板拖把头转动后使平板拖把头处于拖地状态。
8.如权利要求1所述的平板拖把挤水方法,其特征在于:所述的定位装置包括设于所述平板拖把头上的魔术公扣、设于所述拖把杆上的魔术母扣,挤水时所述的平板拖把头与拖把杆之间通过所述的魔术公扣和魔术母扣粘合绑定;拖地时所述的魔术公扣与魔术母扣脱离;
或者,所述的定位装置包括设于所述平板拖把头上的魔术母扣、设于所述拖把杆上的魔术公扣,挤水时所述的平板拖把头与拖把杆之间通过所述的魔术公扣和魔术母扣粘合绑定;拖地时所述的魔术公扣与魔术母扣脱离。
9.如权利要求1所述的平板拖把挤水方法,其特征在于:所述的挤压架上开设有挤压口,所述的挤压口中设有对所述平板拖把头上的擦拭物形成挤压的挤压器,平板拖把挤水时,处于挤水状态下的平板拖把头和拖把杆共同穿过所述的挤压口。
10.如权利要求9所述的平板拖把挤水方法,其特征在于:所述的挤压架可拆卸的安装在所述的拖把桶上。
11.如权利要求10所述的平板拖把挤水方法,其特征在于:所述的挤压架上设有卡凸,所述的挤压架通过所述的卡凸卡在所述的拖把桶上。
12.如权利要求10所述的平板拖把挤水方法,其特征在于:所述的挤压架上枢接有卡板,所述的卡板上设有卡扣,转动所述的卡板后所述的卡扣卡在所述的拖把桶上。
13.如权利要求10所述的平板拖把挤水方法,其特征在于:所述挤压架上设有横向插板以及竖向弹性片,所述的竖向弹性片上设有卡头;所述的横向插板插入所述拖把桶中后,所述竖向弹性片插入所述拖把桶中,并通过所述的卡头卡紧;
或者所述挤压架上设有竖向插板以及横向弹性片,所述的横向弹性片上设有卡头;所述的竖向插板插入所述拖把桶中后,所述横向弹性片插入所述拖把桶中,并通过所述的卡头卡紧。
14.如权利要求10所述的平板拖把挤水方法,其特征在于:所述的挤压架上铰接有拎手,所述的拎手上设有卡钩,转动所述的拎手后所述的卡钩卡入所述的拖把桶中。
15.如权利要求9所述的平板拖把挤水方法,其特征在于:所述的挤压器为挤压条、或挤压片、或可旋转的挤水辊。
16.如权利要求9所述的平板拖把挤水方法,其特征在于:所述的挤压器固定安装在所述的挤压口中。
17.如权利要求9所述的平板拖把挤水方法,其特征在于:所述的挤压器可通过弹性装置活动安装在所述的挤压口中,所述的挤压器亦可通过设于挤压支架上的斜向轨道活动安装在所述的挤压口中。
18.如权利要求9所述的平板拖把挤水方法,其特征在于:所述的挤压口包括供平板拖把头穿过的口、供拖把杆穿过的口,两个口相连通。
19.如权利要求9所述的平板拖把挤水方法,其特征在于:在所述的挤压口上设有导向斜面。
20.如权利要求1所述的平板拖把挤水方法,其特征在于:在所述的拖把桶上还设有与所述的挤水区对应的放水阀。
21.如权利要求1所述的平板拖把挤水方法,其特征在于:所述的擦拭物设于所述平板拖把头的正面和/或背面。
22.如权利要求9所述的平板拖把挤水方法,其特征在于:所述的挤压架可拆卸安装在拖把桶的桶口位置。
23.如权利要求1所述的平板拖把挤水方法,其特征在于:在所述挤水区中设有对下压的平板拖把头形成缓冲的缓冲机构,挤水时下压的平板拖把头在下压时触碰到缓冲机构。
24.如权利要求23所述的平板拖把挤水方法,其特征在于:所述的缓冲机构为弹性垫、或弹性块、或弹簧回弹装置。
25.如权利要求24所述的平板拖把挤水方法,其特征在于:所述的弹簧回弹装置包括上顶弹簧和回弹架,所述上顶弹簧的下端固定,所述上顶弹簧的上端顶在所述的回弹架上。
26.如权利要求1所述的平板拖把挤水方法,其特征在于:挤水时,手握拖把杆上下移动平板拖把,擦拭物进入挤水区将积留的水吸收,多次挤水后将擦拭物挤干。
27.如权利要求26所述的平板拖把挤水方法,其特征在于:所述的挤水区中设有围框,挤水时所述的平板拖把头与所述的围框对应,平板拖把头下压挤水时插入围框中。
28.如权利要求1所述的平板拖把挤水方法,其特征在于:在所述的挤水区设有向上凸起的抬高凸台,挤水时所述的平板拖把与所述的抬高凸台对应,平板拖把头下行至抬高凸台为止。
29.如权利要求28所述的平板拖把挤水方法,其特征在于:所述抬高凸台的外围用于容纳挤水时积留的水;
当挤水区内积留水的水位未超过抬高凸台时,平板拖把头上的擦拭物不会与挤水时滴落在挤水区底部的水相接触;当挤水区内积留水的水位超过抬高凸台后,擦拭物进入挤水区将积留的水吸收,直至水位下降至抬高凸台。
Applications Claiming Priority (3)
| Application Number | Priority Date | Filing Date | Title |
|---|---|---|---|
| CN2016103865888 | 2016-06-04 | ||
| CN201610386588 | 2016-06-04 | ||
| CN201710221951.5A CN107456181B (zh) | 2016-06-04 | 2017-04-06 | 可拆卸挤压平板拖把清洁工具 |
Related Parent Applications (1)
| Application Number | Title | Priority Date | Filing Date |
|---|---|---|---|
| CN201710221951.5A Division CN107456181B (zh) | 2016-06-04 | 2017-04-06 | 可拆卸挤压平板拖把清洁工具 |
Publications (2)
| Publication Number | Publication Date |
|---|---|
| CN108670142A CN108670142A (zh) | 2018-10-19 |
| CN108670142B true CN108670142B (zh) | 2021-12-21 |
Family
ID=60545106
Family Applications (64)
| Application Number | Title | Priority Date | Filing Date |
|---|---|---|---|
| CN201810664339.XA Withdrawn CN108784577A (zh) | 2016-06-04 | 2016-08-12 | 平板拖把挤水和清洗方法 |
| CN201811099914.2A Withdrawn CN109464078A (zh) | 2016-06-04 | 2016-08-12 | 一种挤压平板拖把清洁工具 |
| CN201810812737.1A Withdrawn CN108742398A (zh) | 2016-06-04 | 2016-08-12 | 一种挤压平板拖把清洁工具 |
| CN201810630183.3A Withdrawn CN108814484A (zh) | 2016-06-04 | 2016-08-12 | 平板拖把挤水方法 |
| CN201810653758.3A Withdrawn CN108784576A (zh) | 2016-06-04 | 2016-08-12 | 平板拖把清洗方法 |
| CN201810813879.XA Withdrawn CN108742399A (zh) | 2016-06-04 | 2016-08-12 | 一种挤压平板拖把清洁工具 |
| CN201811118339.6A Withdrawn CN109222802A (zh) | 2016-06-04 | 2016-08-12 | 一种挤压平板拖把清洁工具 |
| CN201610658179.9A Pending CN107456184A (zh) | 2016-06-04 | 2016-08-12 | 一种挤压平板拖把清洁工具 |
| CN201810339156.0A Pending CN108670144A (zh) | 2016-06-04 | 2017-04-06 | 一种挤压平板拖把清洁工具 |
| CN201710221943.0A Active CN107456180B (zh) | 2016-06-04 | 2017-04-06 | 挤压平板拖把清洁工具 |
| CN201710222065.4A Withdrawn CN107456178A (zh) | 2016-06-04 | 2017-04-06 | 一种新型挤压平板拖把清洁工具 |
| CN201720355119.XU Active CN207253313U (zh) | 2016-06-04 | 2017-04-06 | 带轮子的挤压平板拖把清洁工具 |
| CN201811099374.8A Withdrawn CN109222799A (zh) | 2016-06-04 | 2017-04-06 | 挤压平板拖把清洁工具 |
| CN201710221885.1A Active CN107456179B (zh) | 2016-06-04 | 2017-04-06 | 可竖立的挤压平板拖把清洁工具 |
| CN201810663199.4A Active CN108814474B (zh) | 2016-06-04 | 2017-04-06 | 一种平板拖把的使用方法 |
| CN202210516490.5A Active CN115054174B (zh) | 2016-06-04 | 2017-04-06 | 一种挤压平板拖把清洁工具 |
| CN202111489256.XA Pending CN114158994A (zh) | 2016-06-04 | 2017-04-06 | 一种新型挤压平板拖把清洁工具 |
| CN202210120048.0A Active CN114468902B (zh) | 2016-06-04 | 2017-04-06 | 用于拖把桶的平板拖把的挤水总成及其清洁工具 |
| CN202210273661.6A Active CN114795037B (zh) | 2016-06-04 | 2017-04-06 | 平板拖把清洁工具 |
| CN201810630181.4A Pending CN108814472A (zh) | 2016-06-04 | 2017-04-06 | 一种平板拖把的使用方法 |
| CN201810339124.0A Pending CN108742396A (zh) | 2016-06-04 | 2017-04-06 | 挤压平板拖把清洁工具 |
| CN201811099462.8A Withdrawn CN109222800A (zh) | 2016-06-04 | 2017-04-06 | 挤压平板拖把清洁工具 |
| CN202210513940.5A Active CN114847828B (zh) | 2016-06-04 | 2017-04-06 | 挤压平板拖把清洁工具 |
| CN201810630141.XA Pending CN108742388A (zh) | 2016-06-04 | 2017-04-06 | 一种平板拖把的使用方法 |
| CN202210413471.XA Active CN115153376B (zh) | 2016-06-04 | 2017-04-06 | 一种挤压平板拖把清洁工具 |
| CN201810338259.5A Pending CN108498032A (zh) | 2016-06-04 | 2017-04-06 | 一种挤压平板拖把的挤水方法及清洗和脱水方法 |
| CN201810814520.4A Withdrawn CN108742400A (zh) | 2016-06-04 | 2017-04-06 | 一种平板拖把 |
| CN202210273653.1A Active CN114795036B (zh) | 2016-06-04 | 2017-04-06 | 平板拖把清洁工具 |
| CN201810812689.6A Withdrawn CN108742386A (zh) | 2016-06-04 | 2017-04-06 | 一种新型挤压平板拖把清洁工具 |
| CN201810651203.5A Pending CN108814473A (zh) | 2016-06-04 | 2017-04-06 | 平板拖把的使用方法 |
| CN201811099336.2A Withdrawn CN109394103A (zh) | 2016-06-04 | 2017-04-06 | 一种新型挤压平板拖把清洁工具 |
| CN201810653757.9A Pending CN108742389A (zh) | 2016-06-04 | 2017-04-06 | 平板拖把的使用方法 |
| CN201810812690.9A Withdrawn CN109044221A (zh) | 2016-06-04 | 2017-04-06 | 一种新型挤压平板拖把清洁工具 |
| CN201810813856.9A Withdrawn CN108937770A (zh) | 2016-06-04 | 2017-04-06 | 可拆卸挤压平板拖把清洁工具 |
| CN201811099551.2A Withdrawn CN109222801A (zh) | 2016-06-04 | 2017-04-06 | 一种新型挤压平板拖把清洁工具 |
| CN201810813854.XA Withdrawn CN108720766A (zh) | 2016-06-04 | 2017-04-06 | 一种新型挤压平板拖把清洁工具 |
| CN201811145726.9A Withdrawn CN109222792A (zh) | 2016-06-04 | 2017-04-06 | 平板拖把使用方法 |
| CN201811099459.6A Withdrawn CN109394104A (zh) | 2016-06-04 | 2017-04-06 | 一种新型挤压平板拖把清洁工具 |
| CN201710221951.5A Active CN107456181B (zh) | 2016-06-04 | 2017-04-06 | 可拆卸挤压平板拖把清洁工具 |
| CN201810337643.3A Pending CN108685540A (zh) | 2016-06-04 | 2017-04-06 | 新型挤压平板拖把清洁工具 |
| CN201811099726.XA Withdrawn CN109330520A (zh) | 2016-06-04 | 2017-04-06 | 可拆卸挤压平板拖把清洁工具 |
| CN201810663200.3A Pending CN108742385A (zh) | 2016-06-04 | 2017-04-06 | 一种平板拖把的使用方法 |
| CN201810664344.0A Active CN108814476B (zh) | 2016-06-04 | 2017-04-06 | 一种平板拖把使用方法 |
| CN201810338362.XA Pending CN108670143A (zh) | 2016-06-04 | 2017-04-06 | 挤压平板拖把的挤水方法及清洗和脱水方法 |
| CN201811016058.XA Active CN109330517B (zh) | 2016-06-04 | 2017-04-06 | 可竖立的挤压平板拖把清洁工具 |
| CN201811016059.4A Withdrawn CN109222798A (zh) | 2016-06-04 | 2017-04-06 | 挤压平板拖把清洁工具 |
| CN201810747863.3A Withdrawn CN109044224A (zh) | 2016-06-04 | 2017-04-06 | 挤压平板拖把清洁工具的清洗总成 |
| CN201810814528.0A Withdrawn CN108742401A (zh) | 2016-06-04 | 2017-04-06 | 可拆卸挤压平板拖把清洁工具 |
| CN201710221936.0A Pending CN107456185A (zh) | 2016-06-04 | 2017-04-06 | 一种单桶挤压平板拖把清洁工具 |
| CN202011084891.5A Active CN112426112B (zh) | 2016-06-04 | 2017-04-06 | 平板拖把挤水方法 |
| CN201810630142.4A Active CN108670142B (zh) | 2016-06-04 | 2017-04-06 | 平板拖把挤水方法 |
| CN201811099500.XA Withdrawn CN109330519A (zh) | 2016-06-04 | 2017-04-06 | 可拆卸挤压平板拖把清洁工具 |
| CN202210273652.7A Active CN114795035B (zh) | 2016-06-04 | 2017-04-06 | 一种用于拖把桶的平板拖把挤压装置及其拖把桶 |
| CN201810651201.6A Pending CN108784571A (zh) | 2016-06-04 | 2017-04-06 | 平板拖把的使用方法 |
| CN202011086145.XA Withdrawn CN112386191A (zh) | 2016-06-04 | 2017-04-06 | 平板拖把清洁工具 |
| CN201810814544.XA Withdrawn CN108742402A (zh) | 2016-06-04 | 2017-04-06 | 挤压平板拖把清洁工具 |
| CN201810813880.2A Active CN108937772B (zh) | 2016-06-04 | 2017-04-06 | 可竖立的挤压平板拖把清洁工具 |
| CN201810652423.XA Withdrawn CN108742384A (zh) | 2016-06-04 | 2017-04-06 | 平板拖把的使用方法 |
| CN201811099203.5A Withdrawn CN109464077A (zh) | 2016-06-04 | 2017-04-06 | 一种平板拖把 |
| CN201810630124.6A Withdrawn CN108814475A (zh) | 2016-06-04 | 2017-04-06 | 一种平板拖把的使用方法 |
| CN201810813857.3A Withdrawn CN108937771A (zh) | 2016-06-04 | 2017-04-06 | 挤压平板拖把清洁工具 |
| CN202210342285.1A Pending CN114869189A (zh) | 2016-06-04 | 2017-04-06 | 一种挤压平板拖把的捋口挤压装置 |
| CN201810814546.9A Withdrawn CN108742403A (zh) | 2016-06-04 | 2017-04-06 | 可竖立的挤压平板拖把清洁工具 |
| CN201810747869.0A Active CN109008855B (zh) | 2016-06-04 | 2017-04-06 | 清洁工具 |
Family Applications Before (50)
| Application Number | Title | Priority Date | Filing Date |
|---|---|---|---|
| CN201810664339.XA Withdrawn CN108784577A (zh) | 2016-06-04 | 2016-08-12 | 平板拖把挤水和清洗方法 |
| CN201811099914.2A Withdrawn CN109464078A (zh) | 2016-06-04 | 2016-08-12 | 一种挤压平板拖把清洁工具 |
| CN201810812737.1A Withdrawn CN108742398A (zh) | 2016-06-04 | 2016-08-12 | 一种挤压平板拖把清洁工具 |
| CN201810630183.3A Withdrawn CN108814484A (zh) | 2016-06-04 | 2016-08-12 | 平板拖把挤水方法 |
| CN201810653758.3A Withdrawn CN108784576A (zh) | 2016-06-04 | 2016-08-12 | 平板拖把清洗方法 |
| CN201810813879.XA Withdrawn CN108742399A (zh) | 2016-06-04 | 2016-08-12 | 一种挤压平板拖把清洁工具 |
| CN201811118339.6A Withdrawn CN109222802A (zh) | 2016-06-04 | 2016-08-12 | 一种挤压平板拖把清洁工具 |
| CN201610658179.9A Pending CN107456184A (zh) | 2016-06-04 | 2016-08-12 | 一种挤压平板拖把清洁工具 |
| CN201810339156.0A Pending CN108670144A (zh) | 2016-06-04 | 2017-04-06 | 一种挤压平板拖把清洁工具 |
| CN201710221943.0A Active CN107456180B (zh) | 2016-06-04 | 2017-04-06 | 挤压平板拖把清洁工具 |
| CN201710222065.4A Withdrawn CN107456178A (zh) | 2016-06-04 | 2017-04-06 | 一种新型挤压平板拖把清洁工具 |
| CN201720355119.XU Active CN207253313U (zh) | 2016-06-04 | 2017-04-06 | 带轮子的挤压平板拖把清洁工具 |
| CN201811099374.8A Withdrawn CN109222799A (zh) | 2016-06-04 | 2017-04-06 | 挤压平板拖把清洁工具 |
| CN201710221885.1A Active CN107456179B (zh) | 2016-06-04 | 2017-04-06 | 可竖立的挤压平板拖把清洁工具 |
| CN201810663199.4A Active CN108814474B (zh) | 2016-06-04 | 2017-04-06 | 一种平板拖把的使用方法 |
| CN202210516490.5A Active CN115054174B (zh) | 2016-06-04 | 2017-04-06 | 一种挤压平板拖把清洁工具 |
| CN202111489256.XA Pending CN114158994A (zh) | 2016-06-04 | 2017-04-06 | 一种新型挤压平板拖把清洁工具 |
| CN202210120048.0A Active CN114468902B (zh) | 2016-06-04 | 2017-04-06 | 用于拖把桶的平板拖把的挤水总成及其清洁工具 |
| CN202210273661.6A Active CN114795037B (zh) | 2016-06-04 | 2017-04-06 | 平板拖把清洁工具 |
| CN201810630181.4A Pending CN108814472A (zh) | 2016-06-04 | 2017-04-06 | 一种平板拖把的使用方法 |
| CN201810339124.0A Pending CN108742396A (zh) | 2016-06-04 | 2017-04-06 | 挤压平板拖把清洁工具 |
| CN201811099462.8A Withdrawn CN109222800A (zh) | 2016-06-04 | 2017-04-06 | 挤压平板拖把清洁工具 |
| CN202210513940.5A Active CN114847828B (zh) | 2016-06-04 | 2017-04-06 | 挤压平板拖把清洁工具 |
| CN201810630141.XA Pending CN108742388A (zh) | 2016-06-04 | 2017-04-06 | 一种平板拖把的使用方法 |
| CN202210413471.XA Active CN115153376B (zh) | 2016-06-04 | 2017-04-06 | 一种挤压平板拖把清洁工具 |
| CN201810338259.5A Pending CN108498032A (zh) | 2016-06-04 | 2017-04-06 | 一种挤压平板拖把的挤水方法及清洗和脱水方法 |
| CN201810814520.4A Withdrawn CN108742400A (zh) | 2016-06-04 | 2017-04-06 | 一种平板拖把 |
| CN202210273653.1A Active CN114795036B (zh) | 2016-06-04 | 2017-04-06 | 平板拖把清洁工具 |
| CN201810812689.6A Withdrawn CN108742386A (zh) | 2016-06-04 | 2017-04-06 | 一种新型挤压平板拖把清洁工具 |
| CN201810651203.5A Pending CN108814473A (zh) | 2016-06-04 | 2017-04-06 | 平板拖把的使用方法 |
| CN201811099336.2A Withdrawn CN109394103A (zh) | 2016-06-04 | 2017-04-06 | 一种新型挤压平板拖把清洁工具 |
| CN201810653757.9A Pending CN108742389A (zh) | 2016-06-04 | 2017-04-06 | 平板拖把的使用方法 |
| CN201810812690.9A Withdrawn CN109044221A (zh) | 2016-06-04 | 2017-04-06 | 一种新型挤压平板拖把清洁工具 |
| CN201810813856.9A Withdrawn CN108937770A (zh) | 2016-06-04 | 2017-04-06 | 可拆卸挤压平板拖把清洁工具 |
| CN201811099551.2A Withdrawn CN109222801A (zh) | 2016-06-04 | 2017-04-06 | 一种新型挤压平板拖把清洁工具 |
| CN201810813854.XA Withdrawn CN108720766A (zh) | 2016-06-04 | 2017-04-06 | 一种新型挤压平板拖把清洁工具 |
| CN201811145726.9A Withdrawn CN109222792A (zh) | 2016-06-04 | 2017-04-06 | 平板拖把使用方法 |
| CN201811099459.6A Withdrawn CN109394104A (zh) | 2016-06-04 | 2017-04-06 | 一种新型挤压平板拖把清洁工具 |
| CN201710221951.5A Active CN107456181B (zh) | 2016-06-04 | 2017-04-06 | 可拆卸挤压平板拖把清洁工具 |
| CN201810337643.3A Pending CN108685540A (zh) | 2016-06-04 | 2017-04-06 | 新型挤压平板拖把清洁工具 |
| CN201811099726.XA Withdrawn CN109330520A (zh) | 2016-06-04 | 2017-04-06 | 可拆卸挤压平板拖把清洁工具 |
| CN201810663200.3A Pending CN108742385A (zh) | 2016-06-04 | 2017-04-06 | 一种平板拖把的使用方法 |
| CN201810664344.0A Active CN108814476B (zh) | 2016-06-04 | 2017-04-06 | 一种平板拖把使用方法 |
| CN201810338362.XA Pending CN108670143A (zh) | 2016-06-04 | 2017-04-06 | 挤压平板拖把的挤水方法及清洗和脱水方法 |
| CN201811016058.XA Active CN109330517B (zh) | 2016-06-04 | 2017-04-06 | 可竖立的挤压平板拖把清洁工具 |
| CN201811016059.4A Withdrawn CN109222798A (zh) | 2016-06-04 | 2017-04-06 | 挤压平板拖把清洁工具 |
| CN201810747863.3A Withdrawn CN109044224A (zh) | 2016-06-04 | 2017-04-06 | 挤压平板拖把清洁工具的清洗总成 |
| CN201810814528.0A Withdrawn CN108742401A (zh) | 2016-06-04 | 2017-04-06 | 可拆卸挤压平板拖把清洁工具 |
| CN201710221936.0A Pending CN107456185A (zh) | 2016-06-04 | 2017-04-06 | 一种单桶挤压平板拖把清洁工具 |
| CN202011084891.5A Active CN112426112B (zh) | 2016-06-04 | 2017-04-06 | 平板拖把挤水方法 |
Family Applications After (13)
| Application Number | Title | Priority Date | Filing Date |
|---|---|---|---|
| CN201811099500.XA Withdrawn CN109330519A (zh) | 2016-06-04 | 2017-04-06 | 可拆卸挤压平板拖把清洁工具 |
| CN202210273652.7A Active CN114795035B (zh) | 2016-06-04 | 2017-04-06 | 一种用于拖把桶的平板拖把挤压装置及其拖把桶 |
| CN201810651201.6A Pending CN108784571A (zh) | 2016-06-04 | 2017-04-06 | 平板拖把的使用方法 |
| CN202011086145.XA Withdrawn CN112386191A (zh) | 2016-06-04 | 2017-04-06 | 平板拖把清洁工具 |
| CN201810814544.XA Withdrawn CN108742402A (zh) | 2016-06-04 | 2017-04-06 | 挤压平板拖把清洁工具 |
| CN201810813880.2A Active CN108937772B (zh) | 2016-06-04 | 2017-04-06 | 可竖立的挤压平板拖把清洁工具 |
| CN201810652423.XA Withdrawn CN108742384A (zh) | 2016-06-04 | 2017-04-06 | 平板拖把的使用方法 |
| CN201811099203.5A Withdrawn CN109464077A (zh) | 2016-06-04 | 2017-04-06 | 一种平板拖把 |
| CN201810630124.6A Withdrawn CN108814475A (zh) | 2016-06-04 | 2017-04-06 | 一种平板拖把的使用方法 |
| CN201810813857.3A Withdrawn CN108937771A (zh) | 2016-06-04 | 2017-04-06 | 挤压平板拖把清洁工具 |
| CN202210342285.1A Pending CN114869189A (zh) | 2016-06-04 | 2017-04-06 | 一种挤压平板拖把的捋口挤压装置 |
| CN201810814546.9A Withdrawn CN108742403A (zh) | 2016-06-04 | 2017-04-06 | 可竖立的挤压平板拖把清洁工具 |
| CN201810747869.0A Active CN109008855B (zh) | 2016-06-04 | 2017-04-06 | 清洁工具 |
Country Status (1)
| Country | Link |
|---|---|
| CN (64) | CN108784577A (zh) |
Families Citing this family (91)
| Publication number | Priority date | Publication date | Assignee | Title |
|---|---|---|---|---|
| CN107692938A (zh) * | 2016-08-09 | 2018-02-16 | 慈溪市博生塑料制品有限公司 | 一种单桶挤压平板拖把清洁工具 |
| CN108209778A (zh) * | 2017-12-18 | 2018-06-29 | 宁波易恬工业设计有限公司 | 一种清洁工具 |
| CN107854078B (zh) * | 2017-12-19 | 2023-02-28 | 邱新保 | 胶棉拖把挤水装置和具有挤水装置的胶棉拖把清洁桶 |
| CN108042066A (zh) * | 2017-12-25 | 2018-05-18 | 茶花家居塑料用品(连江)有限公司 | 一种平板拖手动清洁桶 |
| CN109953726A (zh) * | 2017-12-26 | 2019-07-02 | 慈溪市博生塑料制品有限公司 | 一种挤压平板拖把清洁工具的安装方法 |
| CN109953727A (zh) * | 2017-12-26 | 2019-07-02 | 慈溪市博生塑料制品有限公司 | 一种新型的挤压平板拖把清洁工具 |
| CN109965800B (zh) * | 2017-12-27 | 2024-07-09 | 宁波蓝小鱼家居科技有限公司 | 一种胶棉拖把的定位复位机构 |
| CN110037629A (zh) * | 2018-01-15 | 2019-07-23 | 慈溪市博生塑料制品有限公司 | 具有过滤功能挤压平板拖把清洁工具 |
| CN110051295A (zh) * | 2018-01-18 | 2019-07-26 | 慈溪市博生塑料制品有限公司 | 新型桶体结构的平板拖把清洁工具 |
| CN208693190U (zh) * | 2018-02-02 | 2019-04-05 | 嘉兴捷顺旅游制品有限公司 | 清洗桶可升降的拖把清洗装置 |
| CN110123223A (zh) * | 2018-02-02 | 2019-08-16 | 江苏宙际杰智能科技股份有限公司 | 清洗水净污分离的拖把清洗装置 |
| CN108261155B (zh) * | 2018-02-06 | 2024-08-16 | 广州市好媳妇日用品有限公司 | 免手洗平拖桶与平拖 |
| CN108175346B (zh) * | 2018-02-12 | 2023-10-31 | 河北洁仕宝日用塑料制品有限公司 | 立刮折甩清洁工具 |
| CN108185935B (zh) * | 2018-02-12 | 2023-10-31 | 河北洁仕宝日用塑料制品有限公司 | 用于平板拖把的挤压、清洗和脱水的拖把桶 |
| CN110169742B (zh) * | 2018-02-21 | 2022-05-20 | 马自秀 | 一种地面清洁工具 |
| CN110236460A (zh) * | 2018-03-08 | 2019-09-17 | 慈溪市博生塑料制品有限公司 | 具有捋头机构的挤压平拖清洁工具 |
| CN108245101A (zh) * | 2018-03-22 | 2018-07-06 | 宋筱珑 | 拖把清洗收纳装置 |
| CN108158524A (zh) * | 2018-03-22 | 2018-06-15 | 宋筱珑 | 平板拖把清洁工具 |
| CN108403038B (zh) * | 2018-03-22 | 2024-06-07 | 广州市好媳妇日用品有限公司 | 一种免手洗平拖桶与平拖 |
| CN108324204B (zh) * | 2018-04-02 | 2024-02-06 | 嘉兴市捷豪清洁用品有限公司 | 循环脱水式单面桶 |
| CN108245103B (zh) * | 2018-04-02 | 2024-02-06 | 嘉兴市捷豪清洁用品有限公司 | 循环脱水式双面桶 |
| CN110537880A (zh) * | 2018-04-16 | 2019-12-06 | 贾明晓 | 清洁工具 |
| CN110384445B (zh) * | 2018-04-18 | 2022-04-19 | 永康市清唯工贸有限公司 | 一种拖把头清洗装置及清洗桶 |
| CN110384443B (zh) * | 2018-04-18 | 2022-04-19 | 永康市清唯工贸有限公司 | 一种拖把头清洗部及清洗桶 |
| CN110384446B (zh) * | 2018-04-18 | 2022-04-19 | 永康市清唯工贸有限公司 | 一种拖把头清洗座及清洗桶 |
| CN110384447B (zh) * | 2018-04-18 | 2022-07-01 | 永康市清唯工贸有限公司 | 一种拖把头清洗机构及清洗桶 |
| CN209789781U (zh) * | 2018-04-20 | 2019-12-17 | 浙江仕杰工贸有限公司 | 一种清洁桶及设有该清洁桶的清洁工具 |
| CN108523795B (zh) * | 2018-05-08 | 2024-01-30 | 黄宸宇 | 一种平板拖把用清洁结构及清洁工具 |
| CN110477827A (zh) * | 2018-05-14 | 2019-11-22 | 慈溪市博生塑料制品有限公司 | 具有新型擦拭物结构的挤压平板拖把清洁工具 |
| CN108606746A (zh) * | 2018-05-17 | 2018-10-02 | 宁波优利洁日用品有限公司 | 一种脚踏式拖地水桶以及与其配合的平板拖把 |
| CN110522375A (zh) * | 2018-05-24 | 2019-12-03 | 慈溪市博生塑料制品有限公司 | 平板拖把清洁工具 |
| CN110522376A (zh) * | 2018-05-24 | 2019-12-03 | 慈溪市博生塑料制品有限公司 | 一种挤压平拖把清洁工具 |
| CN114767018A (zh) * | 2018-05-24 | 2022-07-22 | 慈溪市博生塑料制品有限公司 | 一种挤压平板拖把清洁工具 |
| CN110522377A (zh) * | 2018-05-24 | 2019-12-03 | 慈溪市博生塑料制品有限公司 | 带把手的平板拖把清洁工具 |
| CN115120153A (zh) * | 2018-05-24 | 2022-09-30 | 慈溪市博生塑料制品有限公司 | 平板拖把清洗方法 |
| US11896180B2 (en) | 2018-05-29 | 2024-02-13 | Unger Marketing International, Llc | Floor cleaning system |
| CN110558910A (zh) * | 2018-06-05 | 2019-12-13 | 慈溪市博生塑料制品有限公司 | 平板拖把挤水的方法 |
| CN110558911A (zh) * | 2018-06-05 | 2019-12-13 | 慈溪市博生塑料制品有限公司 | 一种新型挤压平拖 |
| CN110575103A (zh) * | 2018-06-10 | 2019-12-17 | 贾明晓 | 拖把的清洁装置 |
| CN209018641U (zh) * | 2018-06-17 | 2019-06-25 | 广州市好媳妇日用品有限公司 | 清洗桶及清洗器 |
| CN108714011A (zh) * | 2018-07-03 | 2018-10-30 | 张文艳 | 平板拖把用拖把桶 |
| CN108670145A (zh) * | 2018-07-03 | 2018-10-19 | 河北洁仕宝日用塑料制品有限公司 | 平板拖把用挤水拖把桶 |
| CN108703725A (zh) * | 2018-08-01 | 2018-10-26 | 张文艳 | 平板拖把桶及具有该拖把桶的清洁工具 |
| CN108742404A (zh) * | 2018-08-09 | 2018-11-06 | 河北洁仕宝日用塑料制品有限公司 | 平板拖把桶 |
| CN110833365A (zh) * | 2018-08-15 | 2020-02-25 | 程志敏 | 一种平拖把及使用平拖把的清洁工具 |
| CN110856634B (zh) * | 2018-08-24 | 2025-05-09 | 慈溪市博生塑料制品有限公司 | 平拖清洁工具 |
| CN110870724A (zh) * | 2018-08-29 | 2020-03-10 | 慈溪市博生塑料制品有限公司 | 平拖把工具 |
| CN110946530A (zh) * | 2018-09-27 | 2020-04-03 | 南京法特琦电子科技有限公司 | 一种对辊挤水免手洗平板拖把 |
| CN109221935B (zh) * | 2018-11-08 | 2022-03-01 | 河南工业大学 | 一种高膳食纤维面条制作设备 |
| CN111184485A (zh) * | 2018-11-15 | 2020-05-22 | 慈溪市博生塑料制品有限公司 | 一种挤压器可变形的挤压平拖把清洁工具 |
| CN111214187A (zh) * | 2018-11-24 | 2020-06-02 | 慈溪市博生塑料制品有限公司 | 挤压平板拖把 |
| CN111214184A (zh) * | 2018-11-24 | 2020-06-02 | 慈溪市博生塑料制品有限公司 | 手持式自挤水平板拖把 |
| CN111214185A (zh) * | 2018-11-24 | 2020-06-02 | 慈溪市博生塑料制品有限公司 | 自挤水发泡棉拖把 |
| CN109303533B (zh) * | 2018-11-29 | 2023-09-22 | 湖北丽尔家日用品股份有限公司 | 一种开口可调式胶棉拖把清洁桶 |
| CN114983304B (zh) * | 2018-12-06 | 2024-08-02 | 西安佳品创意设计有限公司 | 拖把 |
| CN109620076B (zh) * | 2018-12-06 | 2024-03-15 | 夏冬全 | 一种免手洗平板拖把清洗桶 |
| CN109567700B (zh) * | 2019-01-16 | 2024-12-10 | 重庆市云阳双江中学校 | 一种拖把清洁工具 |
| CN109431403B (zh) * | 2019-01-16 | 2023-11-03 | 武义爱格家居用品有限公司 | 平板拖把用清洁桶 |
| USD955075S1 (en) | 2019-01-28 | 2022-06-14 | Unger Marketing International, Llc | Bucket for floor cleaning |
| USD922712S1 (en) | 2019-01-28 | 2021-06-15 | Unger Marketing International, Llc | Flat headed mop |
| CN109778963A (zh) * | 2019-02-22 | 2019-05-21 | 陈家德 | 一种厨余垃圾处理装置 |
| CN109700398A (zh) * | 2019-03-01 | 2019-05-03 | 胡国云 | 平板拖把清洁桶的挤水装置 |
| CN109674409A (zh) * | 2019-03-04 | 2019-04-26 | 常州机电职业技术学院 | 清扫用具 |
| CN109744954B (zh) * | 2019-03-04 | 2024-08-02 | 常州机电职业技术学院 | 适用于扫帚的挤水结构及清扫用具 |
| CN109700397A (zh) * | 2019-03-13 | 2019-05-03 | 常熟市伊麦诗家居用品有限公司 | 平板拖把挤水机构及具有该机构的清洁工具 |
| CN111714050A (zh) * | 2019-03-20 | 2020-09-29 | 宁波德润堂智能科技有限公司 | 原位清洗和甩干的平板拖把清洁工具 |
| CN210990047U (zh) * | 2019-04-15 | 2020-07-14 | 袁开靖 | 一种免手洗拖把 |
| CN210990073U (zh) * | 2019-04-15 | 2020-07-14 | 袁开靖 | 一种清洁桶及免手洗拖把 |
| CN212879204U (zh) * | 2019-04-19 | 2021-04-06 | 宁波市海曙良品生活用品有限公司 | 一种平板拖把和柱式拖把的共用挤干桶 |
| USD915703S1 (en) | 2019-05-28 | 2021-04-06 | Unger Marketng International, Llc | Flat headed mop |
| USD923896S1 (en) | 2019-05-28 | 2021-06-29 | Unger Marketing International, Llc | Floor cleaning system |
| CN112006621B (zh) * | 2019-05-28 | 2025-05-13 | 宁波德润堂智能科技有限公司 | 一种发泡棉拖把清洁工具 |
| CN110141166B (zh) * | 2019-06-06 | 2024-11-05 | 浙江拓朴清洁科技有限公司 | 一种清洁工具 |
| CN110313874A (zh) * | 2019-06-10 | 2019-10-11 | 霸州市亮洁家居用品有限公司 | 一种胶棉拖把的使用方法 |
| CN110236459B (zh) * | 2019-07-12 | 2024-06-21 | 宁波市海曙良品生活用品有限公司 | 一种免手洗的拖把及旋转装置 |
| CN110327004A (zh) * | 2019-07-19 | 2019-10-15 | 霸州市依家净家居用品有限公司 | 一种挤压平板清洁工具 |
| CN112315393B (zh) * | 2019-08-05 | 2025-05-13 | 宁波德润堂智能科技有限公司 | 挤水装置、发泡棉拖把及清洁工具 |
| CN212015505U (zh) * | 2019-08-08 | 2020-11-27 | 霸州市亮洁家居用品有限公司 | 一种清洗板及平板拖把桶 |
| CN112022028A (zh) * | 2019-08-28 | 2020-12-04 | 廖华敏 | 一种平板拖,以及具有该平板拖的清洁套装 |
| US12048404B2 (en) | 2019-12-11 | 2024-07-30 | Unger Marketing International, Llc | Floor cleaning system, flat headed mop and mop pad |
| CN112971658B (zh) * | 2019-12-12 | 2025-02-28 | 霸州市艾霖家居用品有限公司 | 平板拖把清洁工具及其使用方法 |
| CN111248826B (zh) * | 2020-01-04 | 2024-07-09 | 浙江拓朴清洁科技有限公司 | 一种清洁工具 |
| CN113925417A (zh) * | 2020-07-13 | 2022-01-14 | 慈溪市博生塑料制品有限公司 | 一种清洁工具的使用方法 |
| CN112998610B (zh) * | 2021-03-31 | 2025-03-21 | 广州市好媳妇日用品有限公司 | 一种便挤水式挤水拖把 |
| GB2605829A (en) * | 2021-04-15 | 2022-10-19 | Thomas Turner John | A cleaning assembly and a method of cleaning |
| CN113475989A (zh) * | 2021-07-30 | 2021-10-08 | 温州星火科技有限公司 | 一种适配于平板拖把的拖把桶 |
| CN116807338A (zh) * | 2021-11-24 | 2023-09-29 | 西安佳品创意设计有限公司 | 一种清洁工具 |
| CN114081408A (zh) * | 2021-12-07 | 2022-02-25 | 霸州市亮洁家居用品有限公司 | 一种平板拖把清洁工具 |
| CN115218733B (zh) * | 2022-06-02 | 2023-08-11 | 青岛理工大学 | 一种深孔爆破装置及其使用方法 |
| DE102022120415A1 (de) | 2022-08-12 | 2024-02-15 | Carl Freudenberg Kg | Flachwischer für eine Reinigungsstation mit vertikaler Ausrichtung und Reinigungsstation |
| CN116421115B (zh) * | 2023-03-13 | 2025-09-16 | 浙江美添乐家居用品股份有限公司 | 一种清水防污染清洁桶及拖把桶 |
Citations (6)
| Publication number | Priority date | Publication date | Assignee | Title |
|---|---|---|---|---|
| CN201227258Y (zh) * | 2008-07-24 | 2009-04-29 | 钱崇华 | 拖把清洗器(双辊) |
| CN201453170U (zh) * | 2009-06-25 | 2010-05-12 | 朱革萍 | 一种拖把与桶的组合装置 |
| CN101987007A (zh) * | 2009-08-04 | 2011-03-23 | 李军 | 轻便拖把及其与之配套使用的拖把桶 |
| CN104688150A (zh) * | 2013-12-10 | 2015-06-10 | 赵利强 | 一种具有抽水装置的拖把桶 |
| CN104853664A (zh) * | 2012-12-10 | 2015-08-19 | 3M创新有限公司 | 具有平坦平台的拖把桶 |
| CN204889892U (zh) * | 2015-09-02 | 2015-12-23 | 四川鸿昌塑胶工业有限公司 | 一种平地拖 |
Family Cites Families (83)
| Publication number | Priority date | Publication date | Assignee | Title |
|---|---|---|---|---|
| IT8053736V0 (it) * | 1980-11-24 | 1980-11-24 | Camar S N C Di Onorante Mario | Spazzolone per la pulizia di pavimenti e simili |
| US4580307A (en) * | 1984-08-01 | 1986-04-08 | Seco Industries, Inc. | Wall washing pad holder |
| GB2225931A (en) * | 1988-11-22 | 1990-06-20 | Scot Young Serv Syst Ltd | Cleaning devices |
| DE3913698A1 (de) * | 1989-04-26 | 1990-10-31 | Henkel Kgaa | Breitpresse |
| DE19527158C2 (de) * | 1995-07-25 | 1997-07-10 | Freudenberg Carl Fa | Auswringvorrichtung für einen Naßwischbesatz eines Wischbesatzträgers |
| EP1022976A1 (en) * | 1995-09-22 | 2000-08-02 | McLaughlin, Hugh Rogers | Apparatus for removing liquid from a mop |
| DE69725735T2 (de) * | 1996-08-14 | 2004-07-29 | The Decor Corp. Pty. Ltd., Scoresby | Auswringvorrichtung für wischgerät |
| JPH10290770A (ja) * | 1997-04-17 | 1998-11-04 | Lion Corp | 掃除具 |
| DE20008677U1 (de) * | 2000-05-13 | 2000-08-24 | Schmitt, Edmund Heinrich, Stumm | Wischmop-Wasch- und -Auswringsystem |
| US6487749B1 (en) * | 2000-06-09 | 2002-12-03 | East Trillion Co., Ltd. | Pail for squeezing water from a mop |
| DE10045525C1 (de) * | 2000-09-13 | 2002-02-07 | Freudenberg Carl Kg | Auswringvorrichtung |
| GB2372430B (en) * | 2001-02-24 | 2003-01-15 | Scot Young Res Ltd | A mop wringer in combination with a mophead |
| CN2478535Y (zh) * | 2001-04-25 | 2002-02-27 | 安蒙 | 带滚轴和脚踏板的拖把挤水桶 |
| CN2633196Y (zh) * | 2003-03-20 | 2004-08-18 | 韩希楠 | 一种拖把挤吸装置 |
| MXPA06002511A (es) * | 2003-09-03 | 2006-06-20 | Procter & Gamble | Implemento limpiador de superficies multiples. |
| CN2680191Y (zh) * | 2004-01-13 | 2005-02-23 | 胡拥 | 平板式拖把清洗机 |
| CN2673287Y (zh) * | 2004-01-14 | 2005-01-26 | 王新年 | 拖把洗涮挤干装置 |
| US7377004B2 (en) * | 2004-04-16 | 2008-05-27 | Micronova Manufacturing, Inc. | Wringer |
| DE102004044026A1 (de) * | 2004-09-09 | 2006-03-16 | BSH Bosch und Siemens Hausgeräte GmbH | Vorrichtung zum Entfeuchten oder Befeuchten eines Feuchtwischers |
| DE102004062750A1 (de) * | 2004-12-27 | 2006-07-06 | BSH Bosch und Siemens Hausgeräte GmbH | Vorrichtung zum Entfeuchten eines Feuchtwischers |
| CN2788733Y (zh) * | 2005-01-28 | 2006-06-21 | 梁棉 | 地板清洁器 |
| DE602005022119D1 (de) * | 2005-04-04 | 2010-08-12 | Ecolab Inc | Auswringvorrichtung für eine flachmoppabdeckung |
| AU2006200442B1 (en) * | 2006-02-02 | 2007-04-19 | Hsiao-Hung Chiang | Mop with Drying Mechanism |
| BRPI0712071A2 (pt) * | 2006-05-16 | 2012-01-17 | Rubbermaid Commercial Products | balde de esfregão e espremedor |
| US20080109980A1 (en) * | 2006-11-14 | 2008-05-15 | Kaminstein Imports, Inc. | Apparatus and method for a mop |
| AU2008200286B2 (en) * | 2007-01-19 | 2012-04-12 | E.D. Oates Pty Ltd | Cleaning implement head and cleaning implement |
| CN201073287Y (zh) * | 2007-04-29 | 2008-06-18 | 游泳茂 | 多功能拖把挤干器 |
| DE102007054844A1 (de) * | 2007-11-16 | 2009-05-20 | Vermop Salmon Gmbh | Auspressvorrichtung zum Auspressen nasser Wischbezüge |
| CN201230869Y (zh) * | 2008-03-16 | 2009-05-06 | 李兴国 | 挤水拖把 |
| DE102009000920B4 (de) * | 2009-02-17 | 2012-11-22 | Vermop Salmon Gmbh | Vorrichtung zum Auspressen von Reinigungselementen |
| CN201384477Y (zh) * | 2009-03-26 | 2010-01-20 | 张卫 | 板式拖把清洗桶 |
| CN101530311A (zh) * | 2009-04-13 | 2009-09-16 | 赖新莲 | 臭氧拖把 |
| CN201426702Y (zh) * | 2009-05-08 | 2010-03-24 | 吴品正 | 一种拖把挤水器 |
| CN201418718Y (zh) * | 2009-05-21 | 2010-03-10 | 嘉华金属(上海)有限公司 | 一种平板拖把 |
| AU2009100652A4 (en) * | 2009-07-06 | 2009-08-13 | Hsu, Cheng-Chung Mr | Floor Cleaning Utensil |
| GB2476265A (en) * | 2009-12-17 | 2011-06-22 | Crisp Clean Services Ltd | Mop wringer with eccentric cam for adjusting distance between two rollers |
| CN201775599U (zh) * | 2010-03-12 | 2011-03-30 | 张研 | 拖把及脚踏式拖把挤水、盛水器 |
| CN201675886U (zh) * | 2010-03-25 | 2010-12-22 | 王永东 | 挤水平拖 |
| IL211979A0 (en) * | 2010-05-28 | 2011-06-30 | Sp Berner Plastic Group Sl | Wringer for mops and the like with device for filtering the washing water |
| CN101999873A (zh) * | 2010-11-24 | 2011-04-06 | 南通众联科技服务有限公司 | 拖把挤水装置 |
| DE202011002627U1 (de) * | 2011-02-10 | 2012-05-11 | Fackelmann Gmbh + Co Kg | Vorrichtung zum Pressen eines Wischtuchs |
| US8652263B2 (en) * | 2011-12-05 | 2014-02-18 | Howard Goentzel | Cleaning bucket system for flat mops |
| CN202489897U (zh) * | 2012-02-03 | 2012-10-17 | 嘉兴捷顺旅游制品有限公司 | 一种自挤水超细纤维拖把 |
| CN202568154U (zh) * | 2012-03-29 | 2012-12-05 | 陈世广 | 折叠式拖把桶 |
| CN202553843U (zh) * | 2012-05-23 | 2012-11-28 | 任永海 | 一种便于清洗甩干的平板拖把 |
| CN202589469U (zh) * | 2012-05-24 | 2012-12-12 | 周伟明 | 一种拖把桶脱水机构 |
| CN202801509U (zh) * | 2012-09-25 | 2013-03-20 | 广东明朗生活用品制造厂有限公司 | 一种可弯折拖把头 |
| CN202875265U (zh) * | 2012-10-11 | 2013-04-17 | 3M中国有限公司 | 可折叠旋转平板拖把和包括它的清洁工具组件 |
| CN203138420U (zh) * | 2013-02-06 | 2013-08-21 | 赵华平 | 多功能保洁车 |
| US20140263105A1 (en) * | 2013-03-15 | 2014-09-18 | Rubbermaid Commercial Products, Llc | Clean water mopping system |
| US9307883B2 (en) * | 2013-03-15 | 2016-04-12 | Diversey, Inc. | Double-sided mop |
| JP2014212837A (ja) * | 2013-04-23 | 2014-11-17 | ウーテーエスポール マスカンEts Paul Masquin | 床又は他の平坦な面を清掃するための洗浄用アセンブリ |
| WO2015085016A1 (en) * | 2013-12-03 | 2015-06-11 | Micronova Manufacturing, Inc. | Wringer for mops, including flat mops and string mops |
| CN203749356U (zh) * | 2013-12-10 | 2014-08-06 | 赵利强 | 一种具有抽水装置的拖把桶 |
| CN203776853U (zh) * | 2013-12-18 | 2014-08-20 | 胡勇亮 | 垂直式旋转清洗脱水平板拖把 |
| CN203677021U (zh) * | 2013-12-26 | 2014-07-02 | 嘉兴捷顺旅游制品有限公司 | 能清洗和甩干拖把头的水桶 |
| US9936848B2 (en) * | 2013-12-31 | 2018-04-10 | Puressence Ventures, Inc. | Floor cleaning apparatus and touchless, recycling mopping system |
| US9936849B2 (en) * | 2014-01-06 | 2018-04-10 | Louis Paul Podraza | Janitorial bucket and wringer apparatus |
| CA2936899C (en) * | 2014-01-22 | 2018-12-18 | Jun Li | Portable mop and mop bucket used therewith |
| CN103735231B (zh) * | 2014-01-22 | 2016-06-08 | 李军 | 轻便拖把及其与之配套使用的拖把桶 |
| CN204072004U (zh) * | 2014-04-02 | 2015-01-07 | 童弋康 | 能清洗和脱水的单桶型拖把桶 |
| CN203776862U (zh) * | 2014-04-16 | 2014-08-20 | 慈溪市博生塑料制品有限公司 | 一种脱水篮可升降的拖把桶 |
| US8978194B1 (en) * | 2014-04-28 | 2015-03-17 | Telebrands Corp. | Rotating mop handle and bucket assembly |
| CN203987916U (zh) * | 2014-04-29 | 2014-12-10 | 台州市通宝日用塑胶有限公司 | 一种拖把挤干器 |
| CN103961041B (zh) * | 2014-05-05 | 2017-02-15 | 黄智勇 | 一种清洁工具 |
| CN203873695U (zh) * | 2014-05-24 | 2014-10-15 | 青岛科技大学 | 晾干高度可调的移动式拖把组合装置 |
| CN203841650U (zh) * | 2014-05-26 | 2014-09-24 | 慈溪市博生塑料制品有限公司 | 一种平板拖清洗桶 |
| CN203898229U (zh) * | 2014-06-26 | 2014-10-29 | 永康市亚正工贸有限公司 | 可挤水的平板拖把 |
| CN203953586U (zh) * | 2014-07-14 | 2014-11-26 | 慈溪市博生塑料制品有限公司 | 一种震动脱水式清洁工具 |
| CN204071984U (zh) * | 2014-07-21 | 2015-01-07 | 赵利强 | 一种挤水胶棉拖把 |
| CN104224068B (zh) * | 2014-09-13 | 2019-01-15 | 黄智勇 | 一种新型清洁工具 |
| CN204146976U (zh) * | 2014-10-27 | 2015-02-11 | 嘉兴捷顺旅游制品有限公司 | 一种自挤水平板拖把的捋头结构 |
| CN204146974U (zh) * | 2014-10-27 | 2015-02-11 | 嘉兴捷顺旅游制品有限公司 | 一种自挤水平板拖把 |
| CN104337477A (zh) * | 2014-10-27 | 2015-02-11 | 嘉兴捷顺旅游制品有限公司 | 一种自挤水平板拖把 |
| CN204889887U (zh) * | 2015-08-07 | 2015-12-23 | 嘉兴捷顺旅游制品有限公司 | 一种平板拖把清洁工具 |
| CN204863031U (zh) * | 2015-08-24 | 2015-12-16 | 浙江麟祥塑业有限公司 | 拖把挤水桶 |
| CN205054066U (zh) * | 2015-08-31 | 2016-03-02 | 宁波德腾工业设计有限公司 | 高效自挤干拖把 |
| CN204995393U (zh) * | 2015-09-24 | 2016-01-27 | 叶志勇 | 挤水平板拖把 |
| CN205054107U (zh) * | 2015-09-28 | 2016-03-02 | 嘉兴捷顺旅游制品有限公司 | 双面拖把 |
| CN205094350U (zh) * | 2015-11-13 | 2016-03-23 | 刘志彰 | 多功能拖把挤水桶 |
| CN205251455U (zh) * | 2016-01-09 | 2016-05-25 | 慈溪市博生塑料制品有限公司 | 一种升降桶平板拖把清洁工具的清洗、脱水机构 |
| CN205729276U (zh) * | 2016-04-28 | 2016-11-30 | 赵利强 | 一种平板拖把清洗桶及平板拖把 |
| CN206080445U (zh) * | 2016-06-04 | 2017-04-12 | 慈溪市博生塑料制品有限公司 | 一种用于平板拖把挤水和清洗的拖把桶 |
-
2016
- 2016-08-12 CN CN201810664339.XA patent/CN108784577A/zh not_active Withdrawn
- 2016-08-12 CN CN201811099914.2A patent/CN109464078A/zh not_active Withdrawn
- 2016-08-12 CN CN201810812737.1A patent/CN108742398A/zh not_active Withdrawn
- 2016-08-12 CN CN201810630183.3A patent/CN108814484A/zh not_active Withdrawn
- 2016-08-12 CN CN201810653758.3A patent/CN108784576A/zh not_active Withdrawn
- 2016-08-12 CN CN201810813879.XA patent/CN108742399A/zh not_active Withdrawn
- 2016-08-12 CN CN201811118339.6A patent/CN109222802A/zh not_active Withdrawn
- 2016-08-12 CN CN201610658179.9A patent/CN107456184A/zh active Pending
-
2017
- 2017-04-06 CN CN201810339156.0A patent/CN108670144A/zh active Pending
- 2017-04-06 CN CN201710221943.0A patent/CN107456180B/zh active Active
- 2017-04-06 CN CN201710222065.4A patent/CN107456178A/zh not_active Withdrawn
- 2017-04-06 CN CN201720355119.XU patent/CN207253313U/zh active Active
- 2017-04-06 CN CN201811099374.8A patent/CN109222799A/zh not_active Withdrawn
- 2017-04-06 CN CN201710221885.1A patent/CN107456179B/zh active Active
- 2017-04-06 CN CN201810663199.4A patent/CN108814474B/zh active Active
- 2017-04-06 CN CN202210516490.5A patent/CN115054174B/zh active Active
- 2017-04-06 CN CN202111489256.XA patent/CN114158994A/zh active Pending
- 2017-04-06 CN CN202210120048.0A patent/CN114468902B/zh active Active
- 2017-04-06 CN CN202210273661.6A patent/CN114795037B/zh active Active
- 2017-04-06 CN CN201810630181.4A patent/CN108814472A/zh active Pending
- 2017-04-06 CN CN201810339124.0A patent/CN108742396A/zh active Pending
- 2017-04-06 CN CN201811099462.8A patent/CN109222800A/zh not_active Withdrawn
- 2017-04-06 CN CN202210513940.5A patent/CN114847828B/zh active Active
- 2017-04-06 CN CN201810630141.XA patent/CN108742388A/zh active Pending
- 2017-04-06 CN CN202210413471.XA patent/CN115153376B/zh active Active
- 2017-04-06 CN CN201810338259.5A patent/CN108498032A/zh active Pending
- 2017-04-06 CN CN201810814520.4A patent/CN108742400A/zh not_active Withdrawn
- 2017-04-06 CN CN202210273653.1A patent/CN114795036B/zh active Active
- 2017-04-06 CN CN201810812689.6A patent/CN108742386A/zh not_active Withdrawn
- 2017-04-06 CN CN201810651203.5A patent/CN108814473A/zh active Pending
- 2017-04-06 CN CN201811099336.2A patent/CN109394103A/zh not_active Withdrawn
- 2017-04-06 CN CN201810653757.9A patent/CN108742389A/zh active Pending
- 2017-04-06 CN CN201810812690.9A patent/CN109044221A/zh not_active Withdrawn
- 2017-04-06 CN CN201810813856.9A patent/CN108937770A/zh not_active Withdrawn
- 2017-04-06 CN CN201811099551.2A patent/CN109222801A/zh not_active Withdrawn
- 2017-04-06 CN CN201810813854.XA patent/CN108720766A/zh not_active Withdrawn
- 2017-04-06 CN CN201811145726.9A patent/CN109222792A/zh not_active Withdrawn
- 2017-04-06 CN CN201811099459.6A patent/CN109394104A/zh not_active Withdrawn
- 2017-04-06 CN CN201710221951.5A patent/CN107456181B/zh active Active
- 2017-04-06 CN CN201810337643.3A patent/CN108685540A/zh active Pending
- 2017-04-06 CN CN201811099726.XA patent/CN109330520A/zh not_active Withdrawn
- 2017-04-06 CN CN201810663200.3A patent/CN108742385A/zh active Pending
- 2017-04-06 CN CN201810664344.0A patent/CN108814476B/zh active Active
- 2017-04-06 CN CN201810338362.XA patent/CN108670143A/zh active Pending
- 2017-04-06 CN CN201811016058.XA patent/CN109330517B/zh active Active
- 2017-04-06 CN CN201811016059.4A patent/CN109222798A/zh not_active Withdrawn
- 2017-04-06 CN CN201810747863.3A patent/CN109044224A/zh not_active Withdrawn
- 2017-04-06 CN CN201810814528.0A patent/CN108742401A/zh not_active Withdrawn
- 2017-04-06 CN CN201710221936.0A patent/CN107456185A/zh active Pending
- 2017-04-06 CN CN202011084891.5A patent/CN112426112B/zh active Active
- 2017-04-06 CN CN201810630142.4A patent/CN108670142B/zh active Active
- 2017-04-06 CN CN201811099500.XA patent/CN109330519A/zh not_active Withdrawn
- 2017-04-06 CN CN202210273652.7A patent/CN114795035B/zh active Active
- 2017-04-06 CN CN201810651201.6A patent/CN108784571A/zh active Pending
- 2017-04-06 CN CN202011086145.XA patent/CN112386191A/zh not_active Withdrawn
- 2017-04-06 CN CN201810814544.XA patent/CN108742402A/zh not_active Withdrawn
- 2017-04-06 CN CN201810813880.2A patent/CN108937772B/zh active Active
- 2017-04-06 CN CN201810652423.XA patent/CN108742384A/zh not_active Withdrawn
- 2017-04-06 CN CN201811099203.5A patent/CN109464077A/zh not_active Withdrawn
- 2017-04-06 CN CN201810630124.6A patent/CN108814475A/zh not_active Withdrawn
- 2017-04-06 CN CN201810813857.3A patent/CN108937771A/zh not_active Withdrawn
- 2017-04-06 CN CN202210342285.1A patent/CN114869189A/zh active Pending
- 2017-04-06 CN CN201810814546.9A patent/CN108742403A/zh not_active Withdrawn
- 2017-04-06 CN CN201810747869.0A patent/CN109008855B/zh active Active
Patent Citations (6)
| Publication number | Priority date | Publication date | Assignee | Title |
|---|---|---|---|---|
| CN201227258Y (zh) * | 2008-07-24 | 2009-04-29 | 钱崇华 | 拖把清洗器(双辊) |
| CN201453170U (zh) * | 2009-06-25 | 2010-05-12 | 朱革萍 | 一种拖把与桶的组合装置 |
| CN101987007A (zh) * | 2009-08-04 | 2011-03-23 | 李军 | 轻便拖把及其与之配套使用的拖把桶 |
| CN104853664A (zh) * | 2012-12-10 | 2015-08-19 | 3M创新有限公司 | 具有平坦平台的拖把桶 |
| CN104688150A (zh) * | 2013-12-10 | 2015-06-10 | 赵利强 | 一种具有抽水装置的拖把桶 |
| CN204889892U (zh) * | 2015-09-02 | 2015-12-23 | 四川鸿昌塑胶工业有限公司 | 一种平地拖 |
Also Published As
Similar Documents
| Publication | Publication Date | Title |
|---|---|---|
| CN108670142B (zh) | 平板拖把挤水方法 | |
| AU2023255048B2 (en) | Mop bucket for cleaning and wringing flat mop |
Legal Events
| Date | Code | Title | Description |
|---|---|---|---|
| PB01 | Publication | ||
| PB01 | Publication | ||
| SE01 | Entry into force of request for substantive examination | ||
| SE01 | Entry into force of request for substantive examination | ||
| CB02 | Change of applicant information |
Address after: 315338 Chaosheng Road 1008, Cixi Binhai Economic Development Zone, Ningbo City, Zhejiang Province Applicant after: Cixi Bosheng Plastic Products Co., Ltd. Address before: 315331 Sanbei Industrial Park, Longshan Town, Cixi City, Ningbo City, Zhejiang Province Applicant before: Cixi Bosheng Plastic Products Co., Ltd. |
|
| CB02 | Change of applicant information | ||
| GR01 | Patent grant | ||
| GR01 | Patent grant |