CN108625213B - Papermaking beating machine - Google Patents
Papermaking beating machine Download PDFInfo
- Publication number
- CN108625213B CN108625213B CN201810535114.4A CN201810535114A CN108625213B CN 108625213 B CN108625213 B CN 108625213B CN 201810535114 A CN201810535114 A CN 201810535114A CN 108625213 B CN108625213 B CN 108625213B
- Authority
- CN
- China
- Prior art keywords
- filter screen
- box
- fixed
- fixing
- side wall
- Prior art date
- Legal status (The legal status is an assumption and is not a legal conclusion. Google has not performed a legal analysis and makes no representation as to the accuracy of the status listed.)
- Active
Links
Images
Classifications
-
- D—TEXTILES; PAPER
- D21—PAPER-MAKING; PRODUCTION OF CELLULOSE
- D21B—FIBROUS RAW MATERIALS OR THEIR MECHANICAL TREATMENT
- D21B1/00—Fibrous raw materials or their mechanical treatment
- D21B1/04—Fibrous raw materials or their mechanical treatment by dividing raw materials into small particles, e.g. fibres
- D21B1/12—Fibrous raw materials or their mechanical treatment by dividing raw materials into small particles, e.g. fibres by wet methods, by the use of steam
- D21B1/30—Defibrating by other means
- D21B1/34—Kneading or mixing; Pulpers
- D21B1/345—Pulpers
-
- D—TEXTILES; PAPER
- D21—PAPER-MAKING; PRODUCTION OF CELLULOSE
- D21D—TREATMENT OF THE MATERIALS BEFORE PASSING TO THE PAPER-MAKING MACHINE
- D21D1/00—Methods of beating or refining; Beaters of the Hollander type
- D21D1/02—Methods of beating; Beaters of the Hollander type
Landscapes
- Engineering & Computer Science (AREA)
- Life Sciences & Earth Sciences (AREA)
- Wood Science & Technology (AREA)
- Mechanical Engineering (AREA)
- Crushing And Pulverization Processes (AREA)
- Paper (AREA)
Abstract
本发明涉及造纸技术领域,具体的说是一种造纸打浆机,包括电机、进料机构、进水管、过滤机构、支撑机构、储存机构、出料机构、粉碎机构、排渣机构、挂环和封闭机构,储存机构的内部安装过滤机构,物料通过进料机构进入过滤机构的内部,过滤机构的内部转动连接粉碎机构,物料留在过滤机构的内部与粉碎机构充分接触,使物料中的汁液和肉质充分融入储存机构内部的水中;且在物料被粉碎机构粉碎时,物料中的一些杂质留在过滤机构的内部,在将纸浆排出时,杂质被过滤机构阻挡,防止杂质进入纸浆内部;过滤机构与储存机构螺纹连接,杂质留在过滤机构的内部,便于将过滤机构从储存机构内部取出,且打开储存机构,方便清理过滤机构和储存机构内部的杂质。
The invention relates to the technical field of papermaking, in particular to a papermaking beating machine, comprising a motor, a feeding mechanism, a water inlet pipe, a filtering mechanism, a supporting mechanism, a storage mechanism, a discharging mechanism, a crushing mechanism, a slag discharging mechanism, a hanging ring and a The filter mechanism is installed inside the closed mechanism and the storage mechanism. The material enters the inside of the filter mechanism through the feeding mechanism. The interior of the filter mechanism is rotated and connected to the crushing mechanism. The meat is fully integrated into the water inside the storage mechanism; and when the material is crushed by the crushing mechanism, some impurities in the material remain inside the filter mechanism, and when the pulp is discharged, the impurities are blocked by the filter mechanism to prevent the impurities from entering the pulp interior; filter mechanism It is threadedly connected with the storage mechanism, and the impurities remain inside the filter mechanism, which is convenient for taking the filter mechanism out of the storage mechanism, and opening the storage mechanism, which is convenient for cleaning the filter mechanism and the impurities inside the storage mechanism.
Description
技术领域technical field
本发明涉及造纸技术领域,具体的说是一种造纸打浆机。The invention relates to the technical field of papermaking, in particular to a papermaking beater.
背景技术Background technique
造纸打浆机使物料进入筛筒后,由棍棒的回转作用和导程角的存在,使物料沿着圆筒向出口端移动,轨迹为一条螺旋线,物料在刮板和筛筒之间的移动过程中受离心力作用而被擦破。汁液和肉质已成浆状,从筛孔中通过收集器送到下一工序,皮和籽从圆筒另一开口端排出,达到分离。After the paper beater makes the material enter the screen cylinder, the material moves along the cylinder to the outlet end due to the rotating action of the stick and the existence of the lead angle. The trajectory is a spiral line, and the material moves between the scraper and the screen cylinder. In the process, it was scraped by centrifugal force. The juice and meat have been slurried and sent to the next process from the sieve hole through the collector, and the skin and seeds are discharged from the other open end of the cylinder to achieve separation.
在物料在造纸打浆机内部进行粉碎时,物料粉碎的不均匀,一些物料中的汁液和肉质没有完全融入带纸浆内部就被排出,造成浪费,且有些物料中的杂质掺杂在打好的纸浆内部,在后期会影响纸张的质量;且物料中的杂质留在打浆机内部,不方便清理,鉴于此,本发明提供了一种造纸打浆机,其具有以下特点:When the materials are pulverized inside the pulping machine, the pulverization of the materials is uneven, and the juice and meat in some materials are discharged without fully integrating into the pulp, resulting in waste, and impurities in some materials are mixed with the beaten pulp. Internally, it will affect the quality of the paper in the later stage; and the impurities in the material remain inside the beater, which is inconvenient to clean. In view of this, the present invention provides a papermaking beater, which has the following characteristics:
(1)本发明的一种造纸打浆机,储存机构的内部安装过滤机构,物料通过进料机构进入过滤机构的内部,过滤机构的内部转动连接粉碎机构,物料留在过滤机构的内部与粉碎机构充分接触,使物料中的汁液和肉质充分融入储存机构内部的水中。(1) In a paper pulping machine of the present invention, a filter mechanism is installed inside the storage mechanism, the material enters the inside of the filter mechanism through the feeding mechanism, the interior of the filter mechanism is rotated and connected to the pulverizing mechanism, and the material remains inside the filter mechanism and the pulverizing mechanism. Full contact, so that the juice and meat in the material are fully integrated into the water inside the storage mechanism.
(2)本发明的一种造纸打浆机,在物料被粉碎机构粉碎时,物料中的一些杂质留在过滤机构的内部,在将纸浆排出时,杂质被过滤机构阻挡,防止杂质进入纸浆内部,提高纸张的质量。(2) In a paper pulping machine of the present invention, when the material is pulverized by the pulverizing mechanism, some impurities in the material remain in the interior of the filtering mechanism, and when the pulp is discharged, the impurities are blocked by the filtering mechanism to prevent the impurities from entering the interior of the pulp, Improve paper quality.
(3)本发明的一种造纸打浆机,过滤机构与储存机构螺纹连接,杂质留在过滤机构的内部,便于将过滤机构从储存机构的内部取出,且打开储存机构,方便清理过滤机构和储存机构内部的杂质。(3) In a paper-making beating machine of the present invention, the filter mechanism is connected with the storage mechanism by thread, and the impurities remain in the interior of the filter mechanism, which is convenient for taking out the filter mechanism from the interior of the storage mechanism, and opening the storage mechanism to facilitate cleaning of the filter mechanism and storage. Impurities within the institution.
发明内容SUMMARY OF THE INVENTION
针对现有技术中的问题,本发明的一种造纸打浆机,储存机构的内部安装过滤机构,物料通过进料机构进入过滤机构的内部,过滤机构的内部转动连接粉碎机构,物料留在过滤机构的内部与粉碎机构充分接触,使物料中的汁液和肉质充分融入储存机构内部的水中。在物料被粉碎机构粉碎时,物料中的一些杂质留在过滤机构的内部,在将纸浆排出时,杂质被过滤机构阻挡,防止杂质进入纸浆内部,提高纸张的质量。过滤机构与储存机构螺纹连接,杂质留在过滤机构的内部,便于将过滤机构从储存机构的内部取出,且打开储存机构,方便清理过滤机构和储存机构内部的杂质。In view of the problems in the prior art, in a paper pulping machine of the present invention, a filter mechanism is installed inside the storage mechanism, the material enters the inside of the filter mechanism through the feeding mechanism, the interior of the filter mechanism is rotated and connected to the crushing mechanism, and the material remains in the filter mechanism. The inside of the crusher is in full contact with the crushing mechanism, so that the juice and meat in the material are fully integrated into the water inside the storage mechanism. When the material is crushed by the crushing mechanism, some impurities in the material remain inside the filter mechanism. When the pulp is discharged, the impurities are blocked by the filter mechanism to prevent the impurities from entering the pulp and improve the quality of the paper. The filter mechanism is screwed with the storage mechanism, and the impurities remain inside the filter mechanism, which is convenient for taking the filter mechanism out of the storage mechanism, and opening the storage mechanism to facilitate cleaning of the filter mechanism and impurities inside the storage mechanism.
本发明解决其技术问题所采用的技术方案是:一种造纸打浆机,包括电机、进料机构、进水管、过滤机构、支撑机构、储存机构、出料机构、粉碎机构、排渣机构、挂环和封闭机构;所述支撑机构的顶面安装所述储存机构,所述储存机构的顶面安装所述进料机构;所述进料机构的侧壁卡合所述封闭机构,所述进料机构的底端与所述过滤机构螺纹连接;所述储存机构的底面与所述过滤机构的底面螺纹连接,所述过滤机构的内部安装所述粉碎机构;所述储存机构的顶面安装所述电机,所述电机转动连接所述过滤机构;所述过滤机构的底面安装所述排渣机构,所述过滤机构的侧壁对称安装所述挂环;所述储存机构的侧壁安装所述进水管,所述储存机构的底端安装所述出料机构。The technical scheme adopted by the present invention to solve its technical problems is: a papermaking beating machine, comprising a motor, a feeding mechanism, a water inlet pipe, a filtering mechanism, a supporting mechanism, a storage mechanism, a discharging mechanism, a crushing mechanism, a slag discharging mechanism, a hanging mechanism a ring and a closing mechanism; the storage mechanism is installed on the top surface of the support mechanism, and the feeding mechanism is installed on the top surface of the storage mechanism; the side wall of the feeding mechanism is engaged with the closing mechanism, and the feeding mechanism is The bottom end of the feeding mechanism is threadedly connected with the filtering mechanism; the bottom surface of the storage mechanism is threadedly connected with the bottom surface of the filtering mechanism, and the crushing mechanism is installed inside the filtering mechanism; The motor is connected to the filter mechanism in rotation; the slag discharge mechanism is installed on the bottom surface of the filter mechanism, the hanging ring is installed symmetrically on the side wall of the filter mechanism; the storage mechanism is installed on the side wall of the storage mechanism. A water inlet pipe, and the discharge mechanism is installed at the bottom end of the storage mechanism.
具体的,所述储存机构包括第一固定箱和第二固定箱,所述第一固定箱的顶面安装所述电机,所述第一固定箱的侧壁安装所述第二固定箱,为了方便液体在所述第一固定箱和所述第二固定箱的内部流动。Specifically, the storage mechanism includes a first fixed box and a second fixed box, the motor is mounted on the top surface of the first fixed box, and the second fixed box is mounted on the side wall of the first fixed box. It is convenient for liquid to flow inside the first fixed box and the second fixed box.
具体的,所述支撑机构包括四个支撑柱和支撑板,所述支撑板的顶面安装所述第一固定箱和所述第二固定箱,所述支撑板的底面固定连接所述支撑柱,为了方便在所述支撑板的顶面上固定所述第一固定箱和所述第二固定箱。Specifically, the support mechanism includes four support columns and a support plate, the first fixed box and the second fixed box are mounted on the top surface of the support plate, and the bottom surface of the support plate is fixedly connected to the support column , for the convenience of fixing the first fixing box and the second fixing box on the top surface of the support plate.
具体的,所述进料机构包括固定套和进料漏斗,所述第一固定箱的顶面安装所述进料漏斗,所述进料漏斗的底端连通所述固定套,所述固定套固定于所述第一固定箱的内部,为了方便物料通过所述进料漏斗进入所述固定套的内部。Specifically, the feeding mechanism includes a fixed sleeve and a feeding funnel, the feeding funnel is installed on the top surface of the first fixed box, the bottom end of the feeding funnel is connected to the fixed sleeve, and the fixed sleeve It is fixed inside the first fixing box, in order to facilitate the material to enter the inside of the fixing sleeve through the feeding funnel.
具体的,所述过滤机构包括两个连接套、两个固定板和滤网,所述第一固定箱的内部滑动连接所述滤网,所述滤网的两端分别安装所述连接套,且两个所述连接套之间通过所述固定板连接,为了使所述固定板固定所述滤网,且增加所述滤网的稳定性,两个所述连接套分别与所述固定套和所述第一固定箱的底面螺纹连接,为了方便将所述滤网固定在所述第一固定箱的内部,所述滤网底面的所述连接套的侧壁对称安装所述挂环,为了方便使用所述挂环转动所述连接套。Specifically, the filtering mechanism includes two connecting sleeves, two fixing plates and a filter screen, the inside of the first fixing box is slidably connected to the filter screen, and the two ends of the filter screen are respectively installed with the connecting sleeves, And the two connecting sleeves are connected by the fixing plate. In order to make the fixing plate fix the filter screen and increase the stability of the filter screen, the two connecting sleeves are respectively connected with the fixing sleeve. It is threadedly connected with the bottom surface of the first fixing box. In order to facilitate the fixing of the filter screen inside the first fixing box, the hanging ring is symmetrically installed on the side wall of the connecting sleeve on the bottom surface of the filter screen. In order to facilitate the use of the hanging ring to rotate the connecting sleeve.
具体的,所述粉碎机构包括转轴、多个连接杆和多个刀片,所述转轴的顶端转动连接所述第一固定箱顶面的所述电机,所述转轴一端伸入所述固定套和所述中空圆柱形的所述滤网的内部,所述转轴的侧壁等距安装所述连接杆,所述连接杆的侧壁安装螺旋形的所述刀片,为了方便所述转轴带动所述连接杆和所述刀片转动,且所述连接杆的长度小于所述滤网的内径,为了方便所述连接杆在所述滤网的内部转动,粉碎所述滤网内部的物料。Specifically, the pulverizing mechanism includes a rotating shaft, a plurality of connecting rods and a plurality of blades, the top end of the rotating shaft is rotatably connected to the motor on the top surface of the first fixed box, and one end of the rotating shaft extends into the fixed sleeve and Inside the hollow cylindrical filter screen, the connecting rod is installed on the side wall of the rotating shaft at an equal distance, and the spiral blade is installed on the side wall of the connecting rod. In order to facilitate the rotating shaft to drive the The connecting rod and the blade rotate, and the length of the connecting rod is smaller than the inner diameter of the filter screen. In order to facilitate the rotation of the connecting rod inside the filter screen, the material inside the filter screen is crushed.
具体的,所述排渣机构包括第二阀门和出料口,所述滤网底面的所述连接套的侧壁安装所述出料口,所述出料口的成本安装所述第二阀门,为了方便打开所述出料口,将所述滤网内部的残渣排出。Specifically, the slag discharge mechanism includes a second valve and a discharge port, the discharge port is installed on the side wall of the connecting sleeve on the bottom surface of the filter screen, and the second valve is installed at the cost of the discharge port. , in order to conveniently open the discharge port, discharge the residue inside the filter screen.
具体的,所述出料机构包括出料管和第一阀门,所述第二固定箱的侧壁安装所述出料管,所述出料管的侧壁安装所述第一阀门,为了方便打开所述出料管,将所述第二固定箱内部的纸浆排出。Specifically, the discharge mechanism includes a discharge pipe and a first valve, the discharge pipe is installed on the side wall of the second fixed box, and the first valve is installed on the side wall of the discharge pipe for convenience. Open the discharge pipe to discharge the pulp inside the second fixed box.
具体的,所述封闭机构包括挡板、第一限位杆、弹簧和第二限位杆,所述进料漏斗的内部卡合所述挡板,所述挡板的顶面卡合所述第一限位杆,所述第一限位杆通过所述弹簧连接所述第二限位杆,所述第二限位杆固定于所述进料漏斗的侧壁,为了方便所述第一限位杆在所述第二限位杆的内部滑动,使所述第一限位杆卡合所述挡板,将所述挡板固定在所述进料漏斗的内部,控制所述进料漏斗的进料速度。Specifically, the closing mechanism includes a baffle, a first limit rod, a spring and a second limit rod, the inside of the feeding funnel is engaged with the baffle, and the top surface of the baffle is engaged with the baffle The first limit rod, the first limit rod is connected to the second limit rod through the spring, and the second limit rod is fixed to the side wall of the feeding funnel. For the convenience of the first limit rod The limit rod slides inside the second limit rod, so that the first limit rod is engaged with the baffle, and the baffle is fixed inside the feeding funnel to control the feeding The feed rate of the funnel.
本发明的有益效果:Beneficial effects of the present invention:
(1)本发明的一种造纸打浆机,储存机构的内部安装过滤机构,物料通过进料机构进入过滤机构的内部,过滤机构的内部转动连接粉碎机构,物料留在过滤机构的内部与粉碎机构充分接触,使物料中的汁液和肉质充分融入储存机构内部的水中。(1) In a paper pulping machine of the present invention, a filter mechanism is installed inside the storage mechanism, the material enters the inside of the filter mechanism through the feeding mechanism, the interior of the filter mechanism is rotated and connected to the pulverizing mechanism, and the material remains inside the filter mechanism and the pulverizing mechanism. Full contact, so that the juice and meat in the material are fully integrated into the water inside the storage mechanism.
(2)本发明的一种造纸打浆机,在物料被粉碎机构粉碎时,物料中的一些杂质留在过滤机构的内部,在将纸浆排出时,杂质被过滤机构阻挡,防止杂质进入纸浆内部,提高纸张的质量。(2) In a paper pulping machine of the present invention, when the material is pulverized by the pulverizing mechanism, some impurities in the material remain in the interior of the filtering mechanism, and when the pulp is discharged, the impurities are blocked by the filtering mechanism to prevent the impurities from entering the interior of the pulp, Improve paper quality.
(3)本发明的一种造纸打浆机,过滤机构与储存机构螺纹连接,杂质留在过滤机构的内部,便于将过滤机构从储存机构的内部取出,且打开储存机构,方便清理过滤机构和储存机构内部的杂质。(3) In a paper-making beating machine of the present invention, the filter mechanism is connected with the storage mechanism by thread, and the impurities remain in the interior of the filter mechanism, which is convenient for taking out the filter mechanism from the interior of the storage mechanism, and opening the storage mechanism to facilitate cleaning of the filter mechanism and storage. Impurities within the institution.
附图说明Description of drawings
下面结合附图和实施例对本发明进一步说明。The present invention will be further described below with reference to the accompanying drawings and embodiments.
图1为本发明提供的造纸打浆机的一种较佳实施例的结构示意图;1 is a schematic structural diagram of a preferred embodiment of a paper pulping machine provided by the present invention;
图2为图1所示的过滤机构内部结构示意图;Fig. 2 is a schematic diagram of the internal structure of the filtering mechanism shown in Fig. 1;
图3为图1所示的支撑板底面结构示意图;FIG. 3 is a schematic diagram of the bottom surface structure of the support plate shown in FIG. 1;
图4为图1所示的A处放大结构示意图。FIG. 4 is a schematic view of the enlarged structure of the position A shown in FIG. 1 .
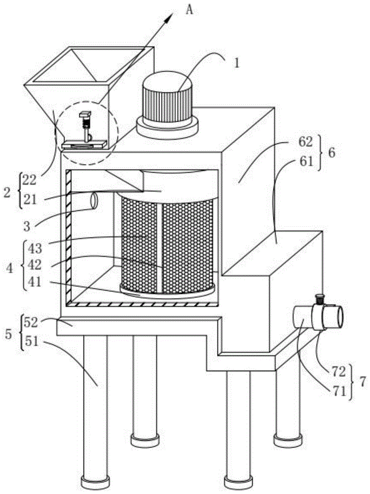
图中:1、电机,2、进料机构,21、固定套,22、进料漏斗,3、进水管,4、过滤机构,41、连接套,42、固定板,43、滤网,5、支撑机构,51、支撑柱,52、支撑板, 6、储存机构,61、第一固定箱,62、第二固定箱,7、出料机构,71、出料管,72、第一阀门,8、粉碎机构,81、转轴,82、连接杆,83、刀片,9、排渣机构,91、第二阀门, 92、出料口,10、挂环,11、封闭机构,111、挡板,112、第一限位杆,113、弹簧,114、第二限位杆。In the picture: 1. Motor, 2. Feeding mechanism, 21. Fixed sleeve, 22. Feeding funnel, 3. Water inlet pipe, 4. Filtering mechanism, 41. Connecting sleeve, 42. Fixed plate, 43. Filter screen, 5 , support mechanism, 51, support column, 52, support plate, 6, storage mechanism, 61, first fixed box, 62, second fixed box, 7, discharge mechanism, 71, discharge pipe, 72, first valve , 8, crushing mechanism, 81, shaft, 82, connecting rod, 83, blade, 9, slag discharge mechanism, 91, second valve, 92, discharge port, 10, hanging ring, 11, closing mechanism, 111, block Plate, 112, first limit rod, 113, spring, 114, second limit rod.
具体实施方式Detailed ways
为了使本发明实现的技术手段、创作特征、达成目的与功效易于明白了解,下面结合具体实施方式,进一步阐述本发明。In order to make it easy to understand the technical means, creation features, achieved goals and effects of the present invention, the present invention will be further described below with reference to the specific embodiments.
如图1所示,本发明所述的一种造纸打浆机,包括电机1、进料机构2、进水管3、过滤机构4、支撑机构5、储存机构6、出料机构7、粉碎机构8、排渣机构9、挂环10和封闭机构11;所述支撑机构5的顶面安装所述储存机构6,所述储存机构6的顶面安装所述进料机构2;所述进料机构2的侧壁卡合所述封闭机构11,所述进料机构2的底端与所述过滤机构4螺纹连接;所述储存机构6的底面与所述过滤机构4的底面螺纹连接,所述过滤机构4的内部安装所述粉碎机构8;所述储存机构6的顶面安装所述电机1,所述电机1转动连接所述过滤机构4;所述过滤机构4的底面安装所述排渣机构9,所述过滤机构4的侧壁对称安装所述挂环10;所述储存机构6的侧壁安装所述进水管3,所述储存机构6的底端安装所述出料机构7。As shown in FIG. 1 , a paper pulping machine according to the present invention includes a motor 1 , a
具体的,如图1所示,本发明所述的一种造纸打浆机,所述储存机构6包括第一固定箱61和第二固定箱62,所述第一固定箱61的顶面安装所述电机1,所述第一固定箱 61的侧壁安装所述第二固定箱62,为了方便液体在所述第一固定箱61和所述第二固定箱 62的内部流动。Specifically, as shown in FIG. 1 , in a paper pulping machine according to the present invention, the storage mechanism 6 includes a first fixed box 61 and a second fixed box 62 , and the top surface of the first fixed box 61 is installed with the In the motor 1 , the second fixing box 62 is mounted on the side wall of the first fixing box 61 , in order to facilitate the flow of liquid inside the first fixing box 61 and the second fixing box 62 .
具体的,如图1所示,本发明所述的一种造纸打浆机,所述支撑机构5包括四个支撑柱51和支撑板52,所述支撑板52的顶面安装所述第一固定箱61和所述第二固定箱 62,所述支撑板52的底面固定连接所述支撑柱51,为了方便在所述支撑板52的顶面上固定所述第一固定箱61和所述第二固定箱62。Specifically, as shown in FIG. 1 , in a paper pulping machine according to the present invention, the
具体的,如图1所示,本发明所述的一种造纸打浆机,所述进料机构2包括固定套21和进料漏斗22,所述第一固定箱61的顶面安装所述进料漏斗22,所述进料漏斗22 的底端连通所述固定套21,所述固定套21固定于所述第一固定箱61的内部,为了方便物料通过所述进料漏斗22进入所述固定套21的内部。Specifically, as shown in FIG. 1 , in a paper pulping machine according to the present invention, the
具体的,如图1和图2所示,本发明所述的一种造纸打浆机,所述过滤机构4包括两个连接套41、两个固定板42和滤网43,所述第一固定箱61的内部滑动连接所述滤网43,所述滤网43的两端分别安装所述连接套41,且两个所述连接套41之间通过所述固定板42连接,为了使所述固定板42固定所述滤网43,且增加所述滤网43的稳定性,两个所述连接套41分别与所述固定套21和所述第一固定箱61的底面螺纹连接,为了方便将所述滤网43固定在所述第一固定箱61的内部,所述滤网43底面的所述连接套41的侧壁对称安装所述挂环10,为了方便使用所述挂环10转动所述连接套41。Specifically, as shown in FIG. 1 and FIG. 2 , in a paper pulping machine according to the present invention, the filtering mechanism 4 includes two connecting sleeves 41 , two fixing plates 42 and a
具体的,如图2所示,本发明所述的一种造纸打浆机,所述粉碎机构8包括转轴 81、多个连接杆82和多个刀片83,所述转轴81的顶端转动连接所述第一固定箱61顶面的所述电机1,所述转轴81一端伸入所述固定套21和所述中空圆柱形的所述滤网43的内部,所述转轴81的侧壁等距安装所述连接杆82,所述连接杆82的侧壁安装螺旋形的所述刀片83,为了方便所述转轴81带动所述连接杆82和所述刀片83转动,且所述连接杆82 的长度小于所述滤网43的内径,为了方便所述连接杆82在所述滤网43的内部转动,粉碎所述滤网43内部的物料。Specifically, as shown in FIG. 2 , in a paper pulping machine according to the present invention, the
具体的,如图3所示,本发明所述的一种造纸打浆机,所述排渣机构9包括第二阀门91和出料口92,所述滤网43底面的所述连接套41的侧壁安装所述出料口92,所述出料口92的成本安装所述第二阀门91,为了方便打开所述出料口92,将所述滤网43内部的残渣排出。Specifically, as shown in FIG. 3 , in a paper pulping machine according to the present invention, the
具体的,如图1和图3所示,本发明所述的一种造纸打浆机,所述出料机构7包括出料管71和第一阀门72,所述第二固定箱62的侧壁安装所述出料管71,所述出料管 71的侧壁安装所述第一阀门72,为了方便打开所述出料管71,将所述第二固定箱62内部的纸浆排出。Specifically, as shown in FIG. 1 and FIG. 3 , in a paper pulping machine according to the present invention, the
具体的,如图1和图4所示,本发明所述的一种造纸打浆机,所述封闭机构11 包括挡板111、第一限位杆112、弹簧113和第二限位杆114,所述进料漏斗22的内部卡合所述挡板111,所述挡板111的顶面卡合所述第一限位杆112,所述第一限位杆112通过所述弹簧113连接所述第二限位杆114,所述第二限位杆114固定于所述进料漏斗22的侧壁,为了方便所述第一限位杆112在所述第二限位杆114的内部滑动,使所述第一限位杆112卡合所述挡板111,将所述挡板111固定在所述进料漏斗22的内部,控制所述进料漏斗22的进料速度。Specifically, as shown in FIG. 1 and FIG. 4 , in a paper pulping machine according to the present invention, the
将本装置接入电源,通过进水管3向第一固定箱61和第二固定箱62的内部加入适量的水,打开电机1,使电机1带动转轴81在滤网43的内部转动。Connect the device to the power supply, add an appropriate amount of water to the first fixed box 61 and the second fixed box 62 through the
(1)握紧第一限位杆112,使第一限位杆112滑入第二限位杆114的内部,压缩第二限位杆114内部的弹簧,使第一限位杆112与挡板111分开,从进料漏斗22的内部抽出适量长度的挡板111,打开进料漏斗22内部漏出适宜的宽度,向进料漏斗22加入适量的物料,使物料通过进料漏斗22匀速进入固定套21的内部。(1) Hold the
(2)进入固定套21内部的物料进入固定套21底端的中空圆柱形的滤网43中,转轴81带动连接杆82和螺旋形的刀片83在滤网43的内部转动,刀片83与滤网43内部的物料接触,将滤网43内部的物料粉碎,同时搅动第一固定箱61和第二固定箱62内部的水,使物料中的汁液和肉质融入水中,物料中的杂质留在滤网43的内部。(2) The material entering the inside of the fixed sleeve 21 enters the hollow
(3)当物料粉碎后,关闭电机1,旋转第一阀门72,打开出料管71,使第一固定箱61和第二固定箱62的内部的纸浆通过出料管71排出;当纸浆排尽后;关闭第一阀门 72,打开第二阀门91,打开连接套41底面的出料口92,使滤网43内部的残渣从出料口 92排出。(3) When the material is crushed, turn off the motor 1, rotate the
(4)当滤网43内部的残渣积存过多时,握紧旋转挂环10,旋转位于支撑板52底面的连接套41,使两个连接套41分别在第一固定箱61和固定套21的内部旋转,使连接套41与第一固定箱61和固定套21分开,将连接套41之间的滤网43从第一固定箱61的内部取出,清理滤网43内部的残渣,且打开了第一固定箱61,清理刀片83上的残渣。当残渣清理干净后,将滤网43放入第一固定箱61的内部,使转轴81位于滤网43的内部,旋转挂环10,使滤网43两端的连接套41分别螺纹连接第一固定箱61和固定套21,将滤网43固定在第一固定箱61的内部。(4) When there is too much residue in the
本发明的储存机构6的内部安装过滤机构4,物料通过进料机构2进入过滤机构 4的内部,过滤机构4的内部转动连接粉碎机构8,物料留在过滤机构4的内部与粉碎机构8充分接触,使物料中的汁液和肉质充分融入储存机构6内部的水中。在物料被粉碎机构8粉碎时,物料中的一些杂质留在过滤机构4的内部,在将纸浆排出时,杂质被过滤机构4阻挡,防止杂质进入纸浆内部,提高纸张的质量。过滤机构4与储存机构6螺纹连接,杂质留在过滤机构4的内部,便于将过滤机构4从储存机构6的内部取出,且打开储存机构6,方便清理过滤机构4和储存机构6内部的杂质。The filter mechanism 4 is installed inside the storage mechanism 6 of the present invention, the material enters the filter mechanism 4 through the
以上显示和描述了本发明的基本原理、主要特征和优点。本行业的技术人员应该了解,本发明不受上述实施例的限制,上述实施方式和说明书中的描述的只是说明本发明的原理,在不脱离本发明精神和范围的前提下,本发明还会有各种变化和改进,这些变化和改进都落入本发明要求保护的范围内。本发明要求保护范围由所附的权利要求书及其等效物界定。The foregoing has shown and described the basic principles, main features and advantages of the present invention. Those skilled in the art should understand that the present invention is not limited by the above-mentioned embodiments, and the descriptions in the above-mentioned embodiments and the description are only to illustrate the principle of the present invention. Without departing from the spirit and scope of the present invention, the present invention will also There are various changes and improvements which fall within the scope of the claimed invention. The claimed scope of the present invention is defined by the appended claims and their equivalents.
Claims (1)
Priority Applications (1)
| Application Number | Priority Date | Filing Date | Title |
|---|---|---|---|
| CN201810535114.4A CN108625213B (en) | 2018-05-29 | 2018-05-29 | Papermaking beating machine |
Applications Claiming Priority (1)
| Application Number | Priority Date | Filing Date | Title |
|---|---|---|---|
| CN201810535114.4A CN108625213B (en) | 2018-05-29 | 2018-05-29 | Papermaking beating machine |
Publications (2)
| Publication Number | Publication Date |
|---|---|
| CN108625213A CN108625213A (en) | 2018-10-09 |
| CN108625213B true CN108625213B (en) | 2020-10-30 |
Family
ID=63690784
Family Applications (1)
| Application Number | Title | Priority Date | Filing Date |
|---|---|---|---|
| CN201810535114.4A Active CN108625213B (en) | 2018-05-29 | 2018-05-29 | Papermaking beating machine |
Country Status (1)
| Country | Link |
|---|---|
| CN (1) | CN108625213B (en) |
Families Citing this family (2)
| Publication number | Priority date | Publication date | Assignee | Title |
|---|---|---|---|---|
| CN109551671B (en) * | 2018-11-14 | 2021-07-27 | 燕龙基环保科技沙河有限公司 | A glass recycling device |
| CN109629291B (en) * | 2018-12-26 | 2020-12-08 | 戴玲玲 | A kind of paper pulping equipment |
Family Cites Families (8)
| Publication number | Priority date | Publication date | Assignee | Title |
|---|---|---|---|---|
| DE202005000332U1 (en) * | 2005-01-11 | 2005-03-17 | Voith Paper Patent Gmbh | Pulper for crushing and suspending pulp |
| CN103669060A (en) * | 2012-09-19 | 2014-03-26 | 天津市环亚纸业有限公司 | Pulper |
| CN103938474B (en) * | 2014-04-09 | 2015-11-18 | 昆明理工大学 | The broken pulp-screening device of a kind of use for laboratory |
| CN106638097A (en) * | 2016-10-18 | 2017-05-10 | 中山市为客包装制品有限公司 | Paper Beater |
| CN206529645U (en) * | 2017-02-16 | 2017-09-29 | 浙江创元特种纸业有限公司 | Diafiltration machine is used in a kind of electrolytic capacitor paper production |
| CN207204902U (en) * | 2017-06-21 | 2018-04-10 | 安徽中亚纸业有限公司 | A kind of paper grade (stock) raw material pulping machine |
| CN107190545B (en) * | 2017-07-13 | 2018-12-21 | 南通德和布业有限公司 | A kind of multistage screening formula fiber beater |
| CN107641995A (en) * | 2017-10-19 | 2018-01-30 | 傅浚铖 | One kind cleaning paper grade (stock) beater |
-
2018
- 2018-05-29 CN CN201810535114.4A patent/CN108625213B/en active Active
Also Published As
| Publication number | Publication date |
|---|---|
| CN108625213A (en) | 2018-10-09 |
Similar Documents
| Publication | Publication Date | Title |
|---|---|---|
| CN114682343B (en) | A small potato refiner with easy-to-clean filter cartridge | |
| CN108625213B (en) | Papermaking beating machine | |
| CN110904712B (en) | A waste paper raw material beating machine | |
| CN115155457A (en) | Vibration purification equipment of honey processing | |
| CN108729288B (en) | Papermaking process | |
| CN108940530A (en) | Device is mechanically pulverized in chinese medicine material | |
| CN108816408B (en) | Crushing and stirring device | |
| CN220836037U (en) | A modified starch pulverizer feeding component | |
| CN115141747A (en) | Stem cell extraction process | |
| CN109174252B (en) | Rice seed cleaning equipment | |
| CN220836129U (en) | A centrifugal extractor for agricultural product juice | |
| CN209061221U (en) | A kind of Chinese herbal medicine crushing and filtering device | |
| CN209439179U (en) | A kind of food waste treatment device | |
| CN217651214U (en) | Feed production is with extraction element of special compound enzyme of egg birds | |
| CN207371683U (en) | A kind of Novel mill for reducing drug loss | |
| CN117427387A (en) | Starch size pressure screen for papermaking | |
| CN110280573A (en) | A kind of industrial waste residue disposal device | |
| CN116749574A (en) | Filter-pressing edulcoration device | |
| CN211865236U (en) | Multifunctional powder grinding device | |
| CN211660117U (en) | A kind of nickel alloy raw material crushing and screening device which is convenient for discharging | |
| CN116116589A (en) | A double filter sedimentation centrifuge | |
| CN104668109A (en) | Filtration aiding feeder on horizontal spiral discharge screen centrifuge | |
| CN222457763U (en) | Screw pump convenient to wash | |
| CN220405856U (en) | Raw material crushing device for feed processing | |
| CN223640098U (en) | A fruit pulping machine that facilitates the separation of pulp and residue. |
Legal Events
| Date | Code | Title | Description |
|---|---|---|---|
| PB01 | Publication | ||
| PB01 | Publication | ||
| SE01 | Entry into force of request for substantive examination | ||
| SE01 | Entry into force of request for substantive examination | ||
| TA01 | Transfer of patent application right |
Effective date of registration: 20200930 Address after: 312500, Zhejiang, Shaoxing province Xinchang County town 350 Village Applicant after: XINCHANG COUNTY KANGHONG MACHINERY TECHNOLOGY Co.,Ltd. Address before: 232007 Anhui Jingfeng Paper Co., Ltd., 29 South Road, Huainan economic and Technological Development Zone, Anhui Applicant before: Xie Xiangling |
|
| TA01 | Transfer of patent application right | ||
| GR01 | Patent grant | ||
| GR01 | Patent grant | ||
| TR01 | Transfer of patent right |
Effective date of registration: 20220329 Address after: 363100 Chengxi farm, Longhai City, Zhangzhou City, Fujian Province Patentee after: Zhangzhou Boshan environmental protection and Energy Technology Co.,Ltd. Address before: 312500 Zhejiang 350 Shaoxing County, Xinchang Province Patentee before: XINCHANG COUNTY KANGHONG MACHINERY TECHNOLOGY Co.,Ltd. |
|
| TR01 | Transfer of patent right | ||
| TR01 | Transfer of patent right |
Effective date of registration: 20250428 Address after: No. 113, Xiangli Road, Jishan Village, Xibing Town, Fu'an City, Ningde City, Fujian Province 355000 Patentee after: Fujian Xiang'an Paper Co.,Ltd. Country or region after: China Address before: 363100 Chengxi farm, Longhai City, Zhangzhou City, Fujian Province Patentee before: Zhangzhou Boshan environmental protection and Energy Technology Co.,Ltd. Country or region before: China |
|
| TR01 | Transfer of patent right |
