CN108580469B - A bottle rinsing device for food processing - Google Patents
A bottle rinsing device for food processing Download PDFInfo
- Publication number
- CN108580469B CN108580469B CN201810610936.4A CN201810610936A CN108580469B CN 108580469 B CN108580469 B CN 108580469B CN 201810610936 A CN201810610936 A CN 201810610936A CN 108580469 B CN108580469 B CN 108580469B
- Authority
- CN
- China
- Prior art keywords
- bottle
- support ring
- main
- turntable
- outer side
- Prior art date
- Legal status (The legal status is an assumption and is not a legal conclusion. Google has not performed a legal analysis and makes no representation as to the accuracy of the status listed.)
- Expired - Fee Related
Links
Images
Classifications
-
- B—PERFORMING OPERATIONS; TRANSPORTING
- B08—CLEANING
- B08B—CLEANING IN GENERAL; PREVENTION OF FOULING IN GENERAL
- B08B9/00—Cleaning hollow articles by methods or apparatus specially adapted thereto
- B08B9/08—Cleaning containers, e.g. tanks
- B08B9/087—Cleaning containers, e.g. tanks by methods involving the use of tools, e.g. brushes, scrapers
-
- B—PERFORMING OPERATIONS; TRANSPORTING
- B08—CLEANING
- B08B—CLEANING IN GENERAL; PREVENTION OF FOULING IN GENERAL
- B08B13/00—Accessories or details of general applicability for machines or apparatus for cleaning
-
- B—PERFORMING OPERATIONS; TRANSPORTING
- B08—CLEANING
- B08B—CLEANING IN GENERAL; PREVENTION OF FOULING IN GENERAL
- B08B9/00—Cleaning hollow articles by methods or apparatus specially adapted thereto
- B08B9/08—Cleaning containers, e.g. tanks
- B08B9/093—Cleaning containers, e.g. tanks by the force of jets or sprays
Landscapes
- Engineering & Computer Science (AREA)
- Mechanical Engineering (AREA)
- Cleaning In General (AREA)
Abstract
本发明提供一种用于食品加工的瓶子冲洗装置,包括主壳体、支撑环和主转盘;所述主壳体的底部内侧固定设置有一个电机壳;所述支撑环的底部还与瓶子放置座一一对应设置有共十二个支撑块;所述内刷棒的底部还均固定安装有一个传动转盘。外刷棒和外刷毛的设置,有利于提高清洗效率,将瓶子放置在支撑环顶部后控制多节电动推杆推动支撑环向下移动,直到传动转盘的外侧和主转盘的外侧相贴合,然后将电机开启,电机转动时会带动主转盘旋转,这时主转盘会带动顶部的外刷棒和外刷毛不断旋转,外刷毛旋转的过程中会和瓶子的外侧相接触,配合外清洗喷头喷出的水可对瓶子的外侧及瓶口处进行清洗,一次清洗即可将瓶子内外均清洗干净,提高清洗效率。
The invention provides a bottle rinsing device for food processing, comprising a main casing, a support ring and a main turntable; a motor casing is fixed inside the bottom of the main casing; the bottom of the support ring is also connected with the bottle A total of twelve supporting blocks are arranged in one-to-one correspondence on the placement seat; a transmission turntable is also fixedly installed at the bottom of the inner brush rod. The setting of the outer brush rod and the outer bristles is beneficial to improve the cleaning efficiency. After placing the bottle on the top of the support ring, control the multi-section electric push rod to push the support ring to move down until the outer side of the drive turntable and the outer side of the main turntable are in contact. Then turn on the motor. When the motor rotates, it will drive the main turntable to rotate. At this time, the main turntable will drive the outer brush bar and the outer bristles on the top to rotate continuously. The outer bristles will contact the outside of the bottle during the rotation process. The water can clean the outside of the bottle and the mouth of the bottle, and the inside and outside of the bottle can be cleaned in one cleaning, which improves the cleaning efficiency.
Description
技术领域technical field
本发明属于瓶子清洗、食品加工配套设备技术领域,更具体地说,特别涉及一种用于食品加工的瓶子冲洗装置。The invention belongs to the technical field of bottle cleaning and food processing supporting equipment, and more particularly, particularly relates to a bottle washing device for food processing.
背景技术Background technique
日常生活中经常会用到各种各样的瓶子,比如:酒瓶、饮料瓶、药瓶等等,这些瓶子用量极大,因此,在生产过程中对这些瓶子一一进行人工清洗变的极为缓慢,所以现在就出现了一些洗瓶机进行辅助清洗。Various bottles are often used in daily life, such as: wine bottles, beverage bottles, medicine bottles, etc. These bottles are used in a large amount. Therefore, it is extremely difficult to manually clean these bottles one by one in the production process. Slow, so now there are some bottle washers for auxiliary cleaning.
例如申请号为201620443791.X的专利,公开了一种食品加工厂专用的瓶子清洗机,包括底座、控制器、调速旋钮、电源插头,所述底座内部设置所述控制器,所述控制器的一侧设置开关,所述控制器一侧设置所述调速旋钮,所述调速旋钮一侧设置所述电源插头,所述底座上设置支撑架,所述支撑架上设置横梁,所述横梁上设置托盘,所述托盘下方设置衬套,所述衬套内部设置连接杆,所述连接杆的顶部设置毛刷,所述连接杆的底部设置联轴器,所述联轴器的下方设置电动机。有益效果在于:设备简单小巧,便于移动,设置所述调速旋钮,可以灵活的控制所述毛刷的转速,更人性化。For example, the patent with the application number of 201620443791.X discloses a bottle washing machine dedicated to food processing plants, including a base, a controller, a speed control knob, and a power plug. The base is provided with the controller, and the controller A switch is set on one side of the controller, the speed control knob is set on one side of the controller, the power plug is set on one side of the speed control knob, a support frame is set on the base, a beam is set on the support frame, and the A tray is set on the beam, a bushing is set below the tray, a connecting rod is set inside the bushing, a brush is set on the top of the connecting rod, a coupling is set on the bottom of the connecting rod, and the lower part of the coupling Set up the motor. The beneficial effects are as follows: the device is simple and compact, easy to move, and the speed regulation knob can be set to flexibly control the rotational speed of the brush, which is more humane.
再例如申请号为201621466268.5的专利,公开了一种瓶子倒挂清洗装置,用于清洗倒立时上部直径较大,下部直径较小的瓶子,包括:槽体,其为长方体形,所述槽体上设置有出水口;第一支撑板,其设置在所述槽体的上方,所述第一支撑板的两端分别与所述槽体上沿其长度方向的两个侧壁的顶部固定连接;主动辊,其沿竖直方向设置,所述主动辊的底部与所述第一支撑板的一端转动连接;第一从动辊,其沿竖直方向设置,所述第一从动辊的底部与所述第一支撑板的另一端转动连接;第一皮带,其设置在所述主动辊和所述第一从动辊上。本发明具有清洗瓶子效率高,需要人力少的优点,并且在清洗瓶子时,采用倒挂的方式,使污渍同清洗液一同排出无残留更干净。Another example is the patent with the application number of 201621466268.5, which discloses a bottle upside-down cleaning device, which is used for cleaning bottles with a larger upper diameter and a smaller lower diameter when inverted, including: a tank body, which is in the shape of a cuboid, and the tank body is A water outlet is provided; a first support plate is arranged above the tank body, and two ends of the first support plate are respectively fixedly connected with the tops of the two side walls along the length direction of the tank body; The driving roller is arranged in the vertical direction, and the bottom of the driving roller is rotatably connected with one end of the first support plate; the first driven roller is arranged in the vertical direction, and the bottom of the first driven roller is rotatably connected It is rotatably connected with the other end of the first support plate; the first belt is arranged on the driving roller and the first driven roller. The invention has the advantages of high efficiency in cleaning the bottle and less manpower required, and when cleaning the bottle, the method of hanging upside down is adopted, so that the stains are discharged together with the cleaning liquid without residue and cleaner.
基于上述检索发现,其两项专利同时结合现有技术中的多数瓶子冲洗装置,其在使用时存在以下问题:现有的瓶子冲洗装置在对瓶子进行冲洗时均是只清洗瓶子的内部,而瓶子外侧的瓶口处附近还没有进行清洗,这就需要取出后进行二次清洗,清洗效率较低,并且有些倒挂清洗的装置在将瓶子倒立放置时直接将瓶子倒立放置在清洗板的顶部,在清洗时瓶子可能会因为毛刷的摩擦力产生转动,对正常清洗造成影响。Based on the above search findings, its two patents are combined with most of the bottle washing devices in the prior art, which have the following problems in use: the existing bottle washing devices only clean the inside of the bottle when washing the bottle, and The outside of the bottle has not been cleaned near the mouth of the bottle, which requires secondary cleaning after taking it out. The cleaning efficiency is low, and some upside-down cleaning devices directly place the bottle upside down on the top of the cleaning plate when the bottle is placed upside down. During cleaning, the bottle may rotate due to the friction of the brush, affecting normal cleaning.
于是,有鉴于此,针对现有的结构及缺失予以研究改良,提供一种用于食品加工的瓶子冲洗装置,以期达到更具有更加实用价值性的目的。Therefore, in view of this, the existing structure and defects are studied and improved, and a bottle washing device for food processing is provided, in order to achieve a more practical purpose.
发明内容SUMMARY OF THE INVENTION
为了解决上述技术问题,本发明提供一种用于食品加工的瓶子冲洗装置,以解决现有的瓶子冲洗装置在对瓶子进行冲洗时均是只清洗瓶子的内部,而瓶子外侧的瓶口处附近还没有进行清洗,这就需要取出后进行二次清洗,清洗效率较低,并且有些倒挂清洗的装置在将瓶子倒立放置时直接将瓶子倒立放置在清洗板的顶部,在清洗时瓶子可能会因为毛刷的摩擦力产生转动,对正常清洗造成影响的问题。In order to solve the above-mentioned technical problems, the present invention provides a bottle washing device for food processing, so as to solve the problem that the existing bottle washing device only cleans the inside of the bottle when washing the bottle, and the outer side of the bottle is near the mouth of the bottle. It has not been cleaned yet, which requires secondary cleaning after taking it out. The cleaning efficiency is low, and some devices for upside-down cleaning directly place the bottle upside down on the top of the cleaning plate when the bottle is placed upside down. The friction of the brush produces rotation, which affects the normal cleaning.
本发明用于食品加工的瓶子冲洗装置的目的与功效,由以下具体技术手段所达成:The purpose and effect of the bottle rinsing device for food processing of the present invention are achieved by the following specific technical means:
一种用于食品加工的瓶子冲洗装置,包括主壳体、内刷棒、内刷毛、支撑环、支撑块、外刷棒、外刷毛、主转盘、电机、电机壳、传动转盘、瓶子放置座、压帽、多节电动推杆、进水管、外清洗喷头和内清洗喷头;所述主壳体的底部内侧固定设置有一个电机壳;所述电机壳的内部固定安装有一个电机;所述电机的转轴穿过电机壳并从电机壳的顶部向上伸出,且电机的转轴的顶部固定安装有一个主转盘;所述主转盘的顶部外侧固定对称安装有共四个外刷棒;四个所述外刷棒的一侧均设置有一组外刷毛;所述主壳体的顶部内侧还固定对称安装有共四个多节电动推杆;四个所述多节电动推杆的底部固定连接有一个支撑环;所述支撑环的顶部呈圆形排列固定安装有共十二个瓶子放置座;每个所述瓶子放置座的顶部均放置有一个瓶子,且瓶子的顶部均设置有一个压帽;所述瓶子放置座的顶部还均固定对称设置有两个内清洗喷头;每个所述瓶子放置座的外侧均对称设置有两个与支撑环的顶部固定连接的外清洗喷头;所述支撑环的外侧还连接有一根进水管,且进水管的另一侧穿过主壳体的一侧并向外伸出;所述支撑环的底部还与瓶子放置座一一对应设置有共十二个支撑块;每组所述支撑块和瓶子放置座的内侧均活动嵌入安装有一根内刷棒,且内刷棒的顶部外侧均对称设置有两组内刷毛;所述内刷棒的底部还均固定安装有一个传动转盘。A bottle rinsing device for food processing, comprising a main housing, an inner brush bar, an inner brush, a support ring, a support block, an outer brush bar, an outer brush, a main turntable, a motor, a motor housing, a transmission turntable, and a bottle placement seat, pressure cap, multi-section electric push rod, water inlet pipe, outer cleaning nozzle and inner cleaning nozzle; a motor shell is fixed inside the bottom of the main shell; a motor is fixed inside the motor shell The rotating shaft of the motor passes through the motor casing and protrudes upwards from the top of the motor casing, and a main turntable is fixedly installed on the top of the rotating shaft of the motor; the top outer side of the main turntable is fixed and symmetrically installed with a total of four outer brush bars; one side of the four outer brush bars is provided with a set of outer bristles; a total of four multi-section electric push rods are fixed and symmetrically installed on the inner side of the top of the main casing; the four multi-section electric push rods The bottom of the rod is fixedly connected with a support ring; the top of the support ring is arranged in a circle and fixedly installed with a total of twelve bottle placement seats; a bottle is placed on the top of each bottle placement seat, and the top of the bottle is Both are provided with a pressure cap; the top of the bottle placement seat is also fixedly and symmetrically provided with two inner cleaning nozzles; the outer side of each bottle placement seat is symmetrically provided with two outer surfaces that are fixedly connected to the top of the support ring. cleaning nozzle; the outer side of the support ring is also connected with a water inlet pipe, and the other side of the water inlet pipe passes through one side of the main shell and extends outward; the bottom of the support ring is also connected to the bottle placing seat one by one A total of twelve supporting blocks are correspondingly arranged; each group of the supporting blocks and the inner side of the bottle placing seat are movably embedded with an inner brush rod, and two sets of inner brush bristles are symmetrically arranged on the outer side of the top of the inner brush rod; A transmission turntable is also fixedly installed at the bottom of the inner brush rod.
进一步的,所述支撑环为可上下移动式结构,支撑环的外侧固定对称安装有共四组竖直的滚轮,且主壳体的内侧也设置有四条对应的凹槽。Further, the support ring is a structure that can move up and down, four groups of vertical rollers are fixed and symmetrically installed on the outside of the support ring, and four corresponding grooves are also arranged on the inside of the main casing.
进一步的,所述内刷棒的外侧与支撑块的嵌接处呈环形固定安装有若干横向的滚轮,且支撑块的内侧也设置有对应的环形凹槽。Further, a plurality of transverse rollers are fixedly installed in a ring shape at the junction between the outer side of the inner brush rod and the support block, and the inner side of the support block is also provided with a corresponding annular groove.
进一步的,所述传动转盘的外侧为从上到下逐渐向内收缩的倾斜结构,且倾斜面外侧固定设置有一层橡胶。Further, the outer side of the transmission turntable is an inclined structure that gradually shrinks inward from top to bottom, and a layer of rubber is fixed on the outer side of the inclined surface.
进一步的,所述主转盘的外侧为从下到上逐渐向内收缩的倾斜状结构,倾斜角度和传动转盘的外侧的倾斜角度相吻合,且主转盘的倾斜面外侧也固定设置有一层橡胶。Further, the outer side of the main turntable is an inclined structure gradually shrinking inward from bottom to top, the inclination angle is consistent with the inclination angle of the outer side of the transmission turntable, and a layer of rubber is also fixed on the outside of the inclined surface of the main turntable.
进一步的,所述瓶子放置座的顶部还呈十字形固定对称设置有共四条凹槽。Further, the top of the bottle placing seat is also provided with a total of four grooves in a cross-shaped fixed and symmetrical manner.
进一步的,所述压帽的内侧均固定设置有一层防滑橡胶。Further, a layer of anti-skid rubber is fixed on the inner side of the pressure cap.
进一步的,所述支撑环为空心式结构,且进水管、外清洗喷头和内清洗喷头均与支撑环内侧的这个空腔相连通。Further, the support ring is a hollow structure, and the water inlet pipe, the outer cleaning nozzle and the inner cleaning nozzle are all communicated with the cavity inside the support ring.
与现有技术相比,本发明具有如下有益效果:Compared with the prior art, the present invention has the following beneficial effects:
外刷棒和外刷毛的设置,有利于提高清洗效率,将瓶子放置在支撑环顶部后控制多节电动推杆推动支撑环向下移动,直到传动转盘的外侧和主转盘的外侧相贴合,然后将电机开启,电机转动时会带动主转盘旋转,这时主转盘会带动顶部的外刷棒和外刷毛不断旋转,外刷毛旋转的过程中会和瓶子的外侧相接触,配合外清洗喷头喷出的水可对瓶子的外侧及瓶口处进行清洗,一次清洗即可将瓶子内外均清洗干净,提高清洗效率。The setting of the outer brush bar and the outer bristles is beneficial to improve the cleaning efficiency. After placing the bottle on the top of the support ring, control the multi-section electric push rod to push the support ring to move down until the outer side of the drive turntable and the outer side of the main turntable fit together. Then turn on the motor. When the motor rotates, it will drive the main turntable to rotate. At this time, the main turntable will drive the outer brush bar and the outer bristles on the top to rotate continuously. The outer bristles will contact the outside of the bottle during the rotation process. The water can clean the outside of the bottle and the mouth of the bottle, and the inside and outside of the bottle can be cleaned in one cleaning, which improves the cleaning efficiency.
压帽的设置,有利于提高清洗效果,压帽的内侧均固定设置有一层防滑橡胶,在将压帽固定放置在瓶子的顶部后内侧的防滑胶会和瓶子的顶部紧密贴合,避免压帽在瓶子的顶部晃动而造成瓶子侧歪,并且压帽可以增大瓶子向下的压力,使瓶子的瓶口处和瓶子放置座的顶部紧密贴合,这样在内刷棒和内刷毛旋转的过程中就不会造成瓶子旋转,保证良好的清洗效果。The setting of the pressure cap is conducive to improving the cleaning effect. The inner side of the pressure cap is fixed with a layer of non-slip rubber. After the pressure cap is fixed on the top of the bottle, the anti-slip glue on the inner side will closely fit the top of the bottle to avoid pressing the cap. Shaking at the top of the bottle causes the bottle to be sideways, and the pressure cap can increase the downward pressure of the bottle, so that the bottle mouth and the top of the bottle seat are closely fitted, so that the inner brush rod and inner bristles rotate during the process It will not cause the bottle to rotate and ensure a good cleaning effect.
附图说明Description of drawings
图1是本发明的主剖视结构示意图。FIG. 1 is a schematic view of the main cross-sectional structure of the present invention.
图2是本发明的俯视结构示意图。FIG. 2 is a schematic top view of the structure of the present invention.
图3是本发明的支撑环降下结构示意图。FIG. 3 is a schematic diagram of the lowering structure of the support ring of the present invention.
图4是本发明的图2局部放大结构示意图。FIG. 4 is a schematic view of the partially enlarged structure of FIG. 2 of the present invention.
图5是本发明的图1局部放大结构示意图。FIG. 5 is a partial enlarged structural schematic diagram of FIG. 1 of the present invention.
图6也是本发明的图1局部放大结构示意图。FIG. 6 is also a partial enlarged structural schematic diagram of FIG. 1 of the present invention.
图7是本发明的图3局部放大结构示意图。FIG. 7 is a schematic view of the partially enlarged structure of FIG. 3 of the present invention.
图8是本发明的压帽主剖视结构示意图。8 is a schematic view of the main cross-sectional structure of the pressure cap of the present invention.
图中,部件名称与附图编号的对应关系为:In the figure, the corresponding relationship between component names and drawing numbers is:
主壳体-1;内刷棒-2;内刷毛-3;支撑环-4;支撑块-5;外刷棒-6;外刷毛-7;主转盘-8;电机-9;电机壳-10;传动转盘-11;瓶子放置座-12;压帽-13;多节电动推杆-14;进水管-15;外清洗喷头-16;内清洗喷头-17。Main housing-1; Inner brush bar-2; Inner bristles-3; Support ring-4; Support block-5; Outer brush bar-6; Outer bristles-7; Main turntable-8; Motor-9; Motor housing -10; drive turntable-11; bottle holder-12; pressure cap-13; multi-section electric push rod-14; water inlet pipe-15; outer cleaning nozzle-16; inner cleaning nozzle-17.
具体实施方式Detailed ways
下面结合附图和实施例对本发明的实施方式作进一步详细描述。以下实施例用于说明本发明,但不能用来限制本发明的范围。The embodiments of the present invention will be described in further detail below with reference to the accompanying drawings and examples. The following examples are intended to illustrate the present invention, but not to limit the scope of the present invention.
在本发明的描述中,除非另有说明,“多个”的含义是两个或两个以上;术语“上”、“下”、“左”、“右”、“内”、“外”、“前端”、“后端”、“头部”、“尾部”等指示的方位或位置关系为基于附图所示的方位或位置关系,仅是为了便于描述本发明和简化描述,而不是指示或暗示所指的装置或元件必须具有特定的方位、以特定的方位构造和操作,因此不能理解为对本发明的限制。此外,术语“第一”、“第二”、“第三”等仅用于描述目的,而不能理解为指示或暗示相对重要性。In the description of the present invention, unless otherwise stated, "plurality" means two or more; the terms "upper", "lower", "left", "right", "inner", "outer" The orientation or positional relationship indicated by , "front end", "rear end", "head", "tail", etc. are based on the orientation or positional relationship shown in the accompanying drawings, and are only for the convenience of describing the present invention and simplifying the description, not An indication or implication that the referred device or element must have a particular orientation, be constructed and operate in a particular orientation, is not to be construed as a limitation of the invention. Furthermore, the terms "first," "second," "third," etc. are used for descriptive purposes only and should not be construed to indicate or imply relative importance.
在本发明的描述中,需要说明的是,除非另有明确的规定和限定,术语“相连”、“连接”应做广义理解,例如,可以是固定连接,也可以是可拆卸连接,或一体地连接;可以是机械连接,也可以是电连接;可以是直接相连,也可以通过中间媒介间接相连。对于本领域的普通技术人员而言,可以具体情况理解上述术语在本发明中的具体含义。In the description of the present invention, it should be noted that, unless otherwise expressly specified and limited, the terms "connected" and "connected" should be understood in a broad sense, for example, it may be a fixed connection, a detachable connection, or an integral connection. Ground connection; it can be a mechanical connection or an electrical connection; it can be directly connected or indirectly connected through an intermediate medium. For those of ordinary skill in the art, the specific meanings of the above terms in the present invention can be understood in specific situations.
实施例:Example:
如附图1至附图8所示:As shown in accompanying
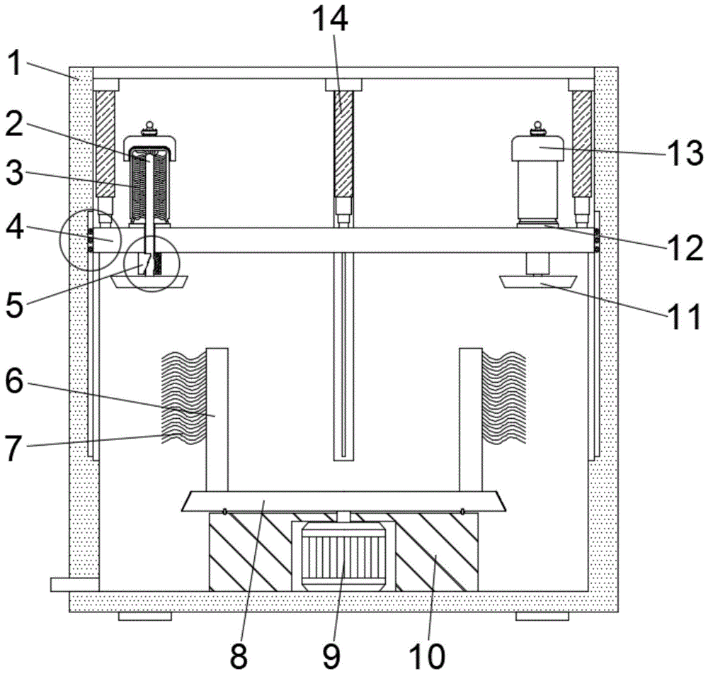
本发明提供一种用于食品加工的瓶子冲洗装置,包括主壳体1、内刷棒2、内刷毛3、支撑环4、支撑块5、外刷棒6、外刷毛7、主转盘8、电机9、电机壳10、传动转盘11、瓶子放置座12、压帽13、多节电动推杆14、进水管15、外清洗喷头16和内清洗喷头17;The present invention provides a bottle rinsing device for food processing, comprising a
主壳体1的底部内侧固定设置有一个电机壳10;电机壳10的内部固定安装有一个电机9;电机9的转轴穿过电机壳10并从电机壳10的顶部向上伸出,且电机9的转轴的顶部固定安装有一个主转盘8;主转盘8的顶部外侧固定对称安装有共四个外刷棒6;四个外刷棒6的一侧均设置有一组外刷毛7;主壳体1的顶部内侧还固定对称安装有共四个多节电动推杆14;A
四个多节电动推杆14的底部固定连接有一个支撑环4;支撑环4的顶部呈圆形排列固定安装有共十二个瓶子放置座12;每个瓶子放置座12的顶部均放置有一个瓶子,且瓶子的顶部均设置有一个压帽13;瓶子放置座12的顶部还均固定对称设置有两个内清洗喷头17;每个瓶子放置座12的外侧均对称设置有两个与支撑环4的顶部固定连接的外清洗喷头16;The bottom of the four multi-section
支撑环4的外侧还连接有一根进水管15,且进水管15的另一侧穿过主壳体1的一侧并向外伸出;支撑环4的底部还与瓶子放置座12一一对应设置有共十二个支撑块5;每组支撑块5和瓶子放置座12的内侧均活动嵌入安装有一根内刷棒2,且内刷棒2的顶部外侧均对称设置有两组内刷毛3;内刷棒2的底部还均固定安装有一个传动转盘11。The outer side of the
其中,所述支撑环4为可上下移动式结构,支撑环4的外侧固定对称安装有共四组竖直的滚轮,且主壳体1的内侧也设置有四条对应的凹槽,在使用时通过控制支撑环4上下移动可以方便取放需要清洗的瓶子,支撑环4外侧的滚轮可以在主壳体1内侧的凹槽中上下滚动,这样可以降低支撑环4上下移动带来的摩擦力。The
其中,所述内刷棒2的外侧与支撑块5的嵌接处呈环形固定安装有若干横向的滚轮,且支撑块5的内侧也设置有对应的环形凹槽,这样在内刷棒2旋转时这些滚轮会在支撑块5内侧的凹槽中滚动,并且滚轮和支撑块5内侧的凹槽嵌合可以起到一定的支撑作用。Wherein, a number of horizontal rollers are fixedly installed in a ring shape at the junction between the outer side of the
其中,所述传动转盘11的外侧为从上到下逐渐向内收缩的倾斜结构,且倾斜面外侧固定设置有一层橡胶,使用时控制多节电动推杆14推动支撑环4向下移动使传动转盘11的外侧和主转盘8的外侧相贴合,然后将电机9开启,电机9转动时会带动主转盘8旋转,这时主转盘8便可带动传动转盘11和内刷棒2不断旋转,内刷棒2上的内刷毛3会在瓶子的内侧旋转,配合内清洗喷头17喷出的水可对瓶子的内壁进行清洗,并且外侧的橡胶可以起到防滑作用。The outer side of the
其中,所述主转盘8的外侧为从下到上逐渐向内收缩的倾斜状结构,倾斜角度和传动转盘11的外侧的倾斜角度相吻合,且主转盘8的倾斜面外侧也固定设置有一层橡胶,,使用时控制多节电动推杆14推动支撑环4向下移动使传动转盘11的外侧和主转盘8的外侧相贴合,然后将电机9开启,电机9转动时会带动主转盘8旋转,这时主转盘8便可带动传动转盘11和内刷棒2不断旋转,内刷棒2上的内刷毛3会在瓶子的内侧旋转,配合内清洗喷头17喷出的水可对瓶子的内壁进行清洗,并且外侧的橡胶可以起到防滑作用。Wherein, the outer side of the
其中,所述瓶子放置座12的顶部还呈十字形固定对称设置有共四条凹槽,在清洗瓶子内侧时清洗过后的水会流到瓶子放置座12顶部并通过这些凹槽向下流出,然后通过主壳体1底部一侧的排水口向外排出,便于污水的清理。Wherein, the top of the
其中,所述压帽13的内侧均固定设置有一层防滑橡胶,在将压帽13固定放置在瓶子的顶部后内侧的防滑胶会和瓶子的顶部紧密贴合,避免压帽13在瓶子的顶部晃动而造成瓶子侧歪,并且压帽13可以增大瓶子向下的压力,使瓶子的瓶口处和瓶子放置座12的顶部紧密贴合,这样在内刷棒2和内刷毛3旋转的过程中就不会造成瓶子旋转,保证良好的清洗效果。Wherein, the inner side of the
其中,所述支撑环4为空心式结构,且进水管15、外清洗喷头16和内清洗喷头17均与支撑环4内侧的这个空腔相连通,在对瓶子进行清洗时直接将水通过进水管15输送到支撑环4内侧的空腔中,然后可直接通过外清洗喷头16和内清洗喷头17向外喷出对瓶子进行清洗,清洗时更加方便。The
本实施例的具体使用方式与作用:The specific usage mode and function of this embodiment:
本发明中,在使用本装置时,先接通外部电源,将进水管15的外侧一端与外部的水管和水泵相连接,然后使用外部的控制器控制多节电动推杆14收缩,这时多节电动推杆14会带动支撑环4向上移动,移动到最上方时停止多节电动推杆14收缩,然后将需要清洗的瓶子分别倒立放置在每个瓶子放置座12的顶部,并将压帽13放置在每个需要清洗的杯子的上方,然后再使用外部的控制器控制多节电动推杆14推动支撑环4向下移动,这时支撑环4会带动顶部的瓶子和底部的传动转盘11向下移动,直到传动转盘11的外侧和主转盘8的外侧相贴合,这时便可停止多节电动推杆14运行,然后将电机9开启,电机9转动时会带动主转盘8旋转,这时主转盘8便可带动传动转盘11和内刷棒2不断旋转,内刷棒2上的内刷毛3会在瓶子的内侧旋转,配合内清洗喷头17喷出的水可对瓶子的内壁进行清洗,同时主转盘8会带动顶部的外刷棒6和外刷毛7不断旋转,外刷毛7旋转的过程中会和瓶子的外侧相接触,配合外清洗喷头16喷出的水可对瓶子的外侧及瓶口处进行清洗,一次清洗即可将瓶子内外均清洗干净,提高清洗效率。In the present invention, when using the device, first connect the external power supply, connect the outer end of the
本发明的实施例是为了示例和描述起见而给出的,而并不是无遗漏的或者将本发明限于所公开的形式。很多修改和变化对于本领域的普通技术人员而言是显而易见的。选择和描述实施例是为了更好说明本发明的原理和实际应用,并且使本领域的普通技术人员能够理解本发明从而设计适于特定用途的带有各种修改的各种实施例。The embodiments of the present invention are presented for purposes of illustration and description, and are not intended to be exhaustive or to limit the invention to the form disclosed. Many modifications and variations will be apparent to those of ordinary skill in the art. The embodiment was chosen and described in order to better explain the principles of the invention and the practical application, and to enable others of ordinary skill in the art to understand the invention for various embodiments with various modifications as are suited to the particular use.
Claims (3)
Priority Applications (1)
| Application Number | Priority Date | Filing Date | Title |
|---|---|---|---|
| CN201810610936.4A CN108580469B (en) | 2018-06-14 | 2018-06-14 | A bottle rinsing device for food processing |
Applications Claiming Priority (1)
| Application Number | Priority Date | Filing Date | Title |
|---|---|---|---|
| CN201810610936.4A CN108580469B (en) | 2018-06-14 | 2018-06-14 | A bottle rinsing device for food processing |
Publications (2)
| Publication Number | Publication Date |
|---|---|
| CN108580469A CN108580469A (en) | 2018-09-28 |
| CN108580469B true CN108580469B (en) | 2020-12-01 |
Family
ID=63628505
Family Applications (1)
| Application Number | Title | Priority Date | Filing Date |
|---|---|---|---|
| CN201810610936.4A Expired - Fee Related CN108580469B (en) | 2018-06-14 | 2018-06-14 | A bottle rinsing device for food processing |
Country Status (1)
| Country | Link |
|---|---|
| CN (1) | CN108580469B (en) |
Families Citing this family (2)
| Publication number | Priority date | Publication date | Assignee | Title |
|---|---|---|---|---|
| CN109261671B (en) * | 2018-11-30 | 2024-04-30 | 湖南海联食品有限责任公司 | Rotating disc type can bottle inverted quick circulation cleaning device with external cleaning function |
| CN113976559B (en) * | 2021-10-11 | 2025-05-09 | 徐州美芯半导体材料科技有限公司 | A single crystal furnace auxiliary chamber intelligent cleaning device and control method thereof |
Family Cites Families (5)
| Publication number | Priority date | Publication date | Assignee | Title |
|---|---|---|---|---|
| KR101423165B1 (en) * | 2014-04-30 | 2014-08-01 | 정현호 | Tool for Cleaning Vessels |
| CN206286301U (en) * | 2016-10-08 | 2017-06-30 | 广州瑞商化工有限公司 | A kind of efficient iron flask automated cleaning equipment |
| CN206305152U (en) * | 2016-11-17 | 2017-07-07 | 景雯 | A kind of middle school student's chemical laboratory test tube cleaning device |
| CN206661853U (en) * | 2017-04-21 | 2017-11-24 | 樊丰源 | A kind of efficient chemical test tube cleaning device |
| CN207103358U (en) * | 2017-07-06 | 2018-03-16 | 四川帅青花椒开发有限公司 | A kind of automatic bottle washing machine |
-
2018
- 2018-06-14 CN CN201810610936.4A patent/CN108580469B/en not_active Expired - Fee Related
Also Published As
| Publication number | Publication date |
|---|---|
| CN108580469A (en) | 2018-09-28 |
Similar Documents
| Publication | Publication Date | Title |
|---|---|---|
| CN107233058A (en) | Business uses glass cleaning device | |
| CN208394770U (en) | A kind of preceding cleaning device of drinking water barrel production | |
| CN108580469B (en) | A bottle rinsing device for food processing | |
| CN108043773A (en) | A bearing cleaning device | |
| CN107433276A (en) | Biochemistry Experiment test tube cleaning device | |
| CN105789096A (en) | A wafer cleaning device | |
| CN106824847A (en) | A kind of economic and environment-friendly efficient ceramic cleaning equipment | |
| CN212015530U (en) | A hotel goblet cleaning device | |
| CN211029622U (en) | Prism lens polishing device capable of quantitatively discharging clean polishing solution | |
| CN107007224A (en) | The swab of slippery walls automatic scrubbing robot | |
| CN207154329U (en) | Biochemistry Experiment test tube cleaning device | |
| CN205042834U (en) | Automatic change bottle cleaning machine | |
| CN207479145U (en) | A kind of basic cleaning device for being used for PE bottles | |
| CN107007193A (en) | Slippery walls automatic scrubbing robot | |
| CN115338212A (en) | Intelligent box washing machine | |
| CN211483436U (en) | Self-cleaning dining table | |
| CN211253790U (en) | Cleaning device for explosion-proof storage tank | |
| CN210647608U (en) | A belt cleaning device for bulk drug container | |
| CN218190459U (en) | Plastic bottle spraying equipment capable of preventing bottle body from toppling | |
| CN219745761U (en) | Double-row intermittent bottle washing machine | |
| CN219330644U (en) | A kind of walnut cleaning device | |
| CN217141595U (en) | Cleaning device for polysilicon storage tank equipment | |
| CN216460721U (en) | Belt cleaning device is used in glass bottle production | |
| CN116725315A (en) | Electric brush | |
| CN209849501U (en) | Wine bottle cleaning device |
Legal Events
| Date | Code | Title | Description |
|---|---|---|---|
| PB01 | Publication | ||
| PB01 | Publication | ||
| SE01 | Entry into force of request for substantive examination | ||
| SE01 | Entry into force of request for substantive examination | ||
| TA01 | Transfer of patent application right |
Effective date of registration: 20201110 Address after: 314500 Room 101, 131 well-being Road, Wutong street, Tongxiang, Jiaxing, Zhejiang Applicant after: Jiaxing Shangkun Technology Co.,Ltd. Address before: 245221 group 5, Wenshan village, Cha Cha Town, Shexian, Huangshan City, Anhui. Applicant before: Wu Wei |
|
| TA01 | Transfer of patent application right | ||
| GR01 | Patent grant | ||
| GR01 | Patent grant | ||
| TR01 | Transfer of patent right |
Effective date of registration: 20230517 Address after: Room 301, Building 1 # (K10), No. 10 Dongtai Road, Bainikeng Community, Pinghu Street, Longgang District, Shenzhen City, Guangdong Province, 518000 Patentee after: Shenzhen Shandinghao Food Materials Development Co.,Ltd. Address before: 314500 Room 101, 131 well-being Road, Wutong street, Tongxiang, Jiaxing, Zhejiang Patentee before: Jiaxing Shangkun Technology Co.,Ltd. |
|
| TR01 | Transfer of patent right | ||
| CF01 | Termination of patent right due to non-payment of annual fee |
Granted publication date: 20201201 |
|
| CF01 | Termination of patent right due to non-payment of annual fee |
