CN108536241B - A computer equipment for operating and managing a network - Google Patents

A computer equipment for operating and managing a network Download PDF

Info

Publication number
CN108536241B
CN108536241B CN201810322273.6A CN201810322273A CN108536241B CN 108536241 B CN108536241 B CN 108536241B CN 201810322273 A CN201810322273 A CN 201810322273A CN 108536241 B CN108536241 B CN 108536241B
Authority
CN
China
Prior art keywords
fixedly connected
wall
heat dissipation
side wall
groove
Prior art date
Legal status (The legal status is an assumption and is not a legal conclusion. Google has not performed a legal analysis and makes no representation as to the accuracy of the status listed.)
Expired - Fee Related
Application number
CN201810322273.6A
Other languages
Chinese (zh)
Other versions
CN108536241A (en
Inventor
何荣毅
王小群
陈楷丰
Current Assignee (The listed assignees may be inaccurate. Google has not performed a legal analysis and makes no representation or warranty as to the accuracy of the list.)
Shandong University
Original Assignee
Shandong University
Priority date (The priority date is an assumption and is not a legal conclusion. Google has not performed a legal analysis and makes no representation as to the accuracy of the date listed.)
Filing date
Publication date
Application filed by Shandong University filed Critical Shandong University
Priority to CN201810322273.6A priority Critical patent/CN108536241B/en
Publication of CN108536241A publication Critical patent/CN108536241A/en
Application granted granted Critical
Publication of CN108536241B publication Critical patent/CN108536241B/en
Expired - Fee Related legal-status Critical Current
Anticipated expiration legal-status Critical

Links

Images

Classifications

    • GPHYSICS
    • G06COMPUTING OR CALCULATING; COUNTING
    • G06FELECTRIC DIGITAL DATA PROCESSING
    • G06F1/00Details not covered by groups G06F3/00 - G06F13/00 and G06F21/00
    • G06F1/16Constructional details or arrangements
    • G06F1/18Packaging or power distribution
    • G06F1/181Enclosures
    • GPHYSICS
    • G06COMPUTING OR CALCULATING; COUNTING
    • G06FELECTRIC DIGITAL DATA PROCESSING
    • G06F1/00Details not covered by groups G06F3/00 - G06F13/00 and G06F21/00
    • G06F1/16Constructional details or arrangements
    • G06F1/18Packaging or power distribution
    • G06F1/183Internal mounting support structures, e.g. for printed circuit boards, internal connecting means
    • GPHYSICS
    • G06COMPUTING OR CALCULATING; COUNTING
    • G06FELECTRIC DIGITAL DATA PROCESSING
    • G06F1/00Details not covered by groups G06F3/00 - G06F13/00 and G06F21/00
    • G06F1/16Constructional details or arrangements
    • G06F1/20Cooling means
    • GPHYSICS
    • G06COMPUTING OR CALCULATING; COUNTING
    • G06FELECTRIC DIGITAL DATA PROCESSING
    • G06F2200/00Indexing scheme relating to G06F1/04 - G06F1/32
    • G06F2200/16Indexing scheme relating to G06F1/16 - G06F1/18
    • G06F2200/163Indexing scheme relating to constructional details of the computer
    • G06F2200/1638Computer housing designed to operate in both desktop and tower orientation

Landscapes

  • Engineering & Computer Science (AREA)
  • Theoretical Computer Science (AREA)
  • Human Computer Interaction (AREA)
  • Physics & Mathematics (AREA)
  • General Engineering & Computer Science (AREA)
  • General Physics & Mathematics (AREA)
  • Computer Hardware Design (AREA)
  • Power Engineering (AREA)
  • Cooling Or The Like Of Electrical Apparatus (AREA)

Abstract

本发明公开了一种用于运营管理网络的计算机设备,包括底座,所述底座的上端设有第一装置槽,所述第一装置槽内设有显示屏,所述显示屏通过第二转轴转动连接在第一装置槽的内壁上,所述第一装置槽的侧壁设有凹槽,所述凹槽内设有防尘装置,所述底座的下端设有减震支座,所述底座的侧壁固定连接有机体,所述机体内设有主板,所述主板通过螺栓固定连接在机体的内壁上,所述螺栓位于机体内壁与主板之间的部分套设有第三弹簧,所述主板的侧壁固定连接有硬盘和处理器,所述机体的侧壁设有通风口,所述通风口相对的内壁均设有导向槽。本发明结构设计合理,方便调整设备的高度,且运行平稳,噪音较低,同时设备的散热效率高,提高了设备的使用寿命。

Figure 201810322273

The invention discloses a computer equipment for operating and managing a network, comprising a base, a first device slot is arranged on the upper end of the base, a display screen is arranged in the first device slot, and the display screen passes through a second rotating shaft It is rotatably connected to the inner wall of the first device slot, the side wall of the first device slot is provided with a groove, the dust-proof device is arranged in the groove, the lower end of the base is provided with a shock-absorbing support, the The side wall of the base is fixedly connected to the body, the body is provided with a main board, the main board is fixedly connected to the inner wall of the body by bolts, and the part of the bolt located between the inner wall of the body and the main board is sleeved with a third spring, the The side wall of the main board is fixedly connected with the hard disk and the processor, the side wall of the body is provided with ventilation openings, and the opposite inner walls of the ventilation openings are provided with guiding grooves. The present invention has reasonable structure design, convenient adjustment of the height of the equipment, stable operation, low noise, high heat dissipation efficiency of the equipment, and improved service life of the equipment.

Figure 201810322273

Description

Computer equipment for operation management network
Technical Field
The present invention relates to the field of computer technologies, and in particular, to a computer device for operating a management network.
Background
With the advent of the big data era, the demand of the operation management network on computer equipment is increasing, and the existing computer (computer) is commonly called a computer, is a modern electronic computing machine for high-speed computing, can perform numerical computation and logic computation, and also has a memory function. The intelligent electronic device can be operated according to a program, and can automatically process mass data at a high speed.
A computer that is composed of a hardware system and a software system and does not have any software installed is called a bare metal. The computer can be divided into a super computer, an industrial control computer, a network computer, a personal computer and an embedded computer, and more advanced computers comprise a biological computer, a photon computer, a quantum computer and the like.
The efficiency of improvement management that can be great to network operation management through the computer, current computer equipment, the display screen exposes outside, and long-term use can accumulate the dust, and the heat dispersion of equipment is relatively poor simultaneously, and network operation management has a higher requirement to equipment, and the equipment is in the life that reduces the computer easily under the inconvenient environment of heat dissipation, causes the conflagration when serious, causes the inestimable loss such as data loss to make.
Disclosure of Invention
The invention aims to solve the defects in the prior art, and provides the computer equipment for the operation management network, which is convenient for adjusting the height of the equipment, stable in operation, low in noise, high in heat dissipation efficiency and prolonged in service life.
In order to achieve the purpose, the invention adopts the following technical scheme:
a computer device for an operation management network comprises a base, wherein a first device groove is formed in the upper end of the base, a display screen is arranged in the first device groove and is rotatably connected to the inner wall of the first device groove through a second rotating shaft, a groove is formed in the side wall of the first device groove, a dustproof device is arranged in the groove, a damping support is arranged at the lower end of the base, the side wall of the base is fixedly connected with a machine body, a main board is arranged in the machine body and is fixedly connected to the inner wall of the machine body through a bolt, a third spring is sleeved on the part, located between the inner wall of the machine body and the main board, of the bolt, a hard disk and a processor are fixedly connected to the side wall of the main board, a ventilation opening is formed in the side wall of the machine body, guide grooves are formed in the inner wall opposite to the ventilation opening, a strip-shaped board is arranged in the ventilation opening, the inner wall opposite to the vent is connected with a plurality of triangular plates in an equidistant rotating manner, a wind shield is fixedly connected between two triangular plates on the same horizontal plane, the side wall of the strip-shaped plate is obliquely provided with a plurality of connecting rods matched with the triangular plates, one end of each connecting rod, far away from the strip-shaped plate, is rotatably connected to the side wall of the triangular plate, the lower end of the strip-shaped plate is fixedly connected with a fixing rod, the fixing rod penetrates through the guide groove, the fixing rod is movably connected with the inner wall of the guide groove, the inner wall of the machine body is fixedly connected with a first fan at the vent, the side wall of the first fan is fixedly connected with a plurality of heat dissipation plates in an equidistant manner, the side walls of the heat dissipation plates are tightly attached to the processor, the side wall of the main plate is fixedly connected with a circulating water pump, the lateral wall of organism is equipped with second device groove, the inner wall in second device groove is equipped with the heat dissipation chamber, heat dissipation chamber and organism intercommunication, the heat dissipation intracavity is equipped with heat abstractor, the notch department fixedly connected with mount in second device groove, two second fans of fixedly connected with on the mount.
Preferably, the shock-absorbing support includes the sleeve of fixed connection at the base lower extreme, telescopic inner wall fixedly connected with cylinder, the lower extreme fixedly connected with movable block of cylinder, movable block and telescopic inner wall swing joint, the lower extreme middle part fixedly connected with air pump of base, the lateral wall fixedly connected with air duct of air pump, the one end that the air pump was kept away from to the air duct runs through telescopic lateral wall and fixed connection on the cylinder, be equipped with the valve on the air duct, the first spring of lower extreme fixedly connected with of movable block, the lower extreme fixedly connected with supporting leg of first spring, the lower extreme fixedly connected with fixing base of supporting leg.
Preferably, dust keeper is including setting up the roller in the recess, the both ends of roller are rotated through first pivot and are connected on the inner wall of recess, the part cover that first pivot is located between roller and the recess inner wall is equipped with the second spring, around being equipped with on the roller and sheltering from cloth, shelter from cloth and keep away from the one end fixedly connected with pull rod of roller, it is equipped with first bolt to run through on the pull rod, the upper end of base is run through and is equipped with the jack corresponding with first bolt position.
Preferably, the heat dissipation device comprises a heat dissipation net fixedly connected to the inner wall of the heat dissipation cavity, the side wall of the heat dissipation net is fixedly connected with a first heat dissipation fin and a second heat dissipation fin, the length of the first heat dissipation fin is larger than that of the second heat dissipation fin, and the first heat dissipation fin and the second heat dissipation fin are arranged at intervals.
Preferably, the side wall of the machine body is rotatably connected with a door plate through a hinge.
Preferably, the lower end of the machine body is fixedly connected with a vertical rod.
Preferably, a dust screen is arranged in the vent and fixedly connected to the inner wall of the vent.
Preferably, the one end fixedly connected with handle that the bar shaped plate was kept away from to the dead lever, the lateral wall of handle runs through and is equipped with the second bolt, the lateral wall of organism is equidistant to be equipped with a plurality of spacing holes corresponding with second bolt position.
When the device is used, the first bolt is pulled to separate the first bolt from the jack, the second spring is a torsion spring, the first rotating shaft drives the roller to rotate under the action of the second spring, the roller rotates to collect shielding cloth, then the display screen is rotated to rotate to a proper angle, the valve and the switch of the air pump are opened, the movable block moves under the action of the air pump and the air cylinder, the height of the base is further adjusted, when the base vibrates, the first spring is compressed, so that the vibration inertia is reduced, the dynamic load transmitted to the foundation is reduced, the device is stable in operation, the noise is lower, the temperature of the processor is kept in a normal range under the combined action of the first fan and the circulating water pump, the third spring can improve the anti-seismic performance of the main board, the second bolt is pulled to push the handle, so that the fixed rod drives the strip-shaped board to move, the strip-shaped board moves to enable the connecting rod to push the triangular board to rotate, thereby the wind deflector blocks the ventilation opening. The invention has reasonable structural design, convenient adjustment of the height of the equipment, stable operation, low noise, high heat dissipation efficiency of the equipment and prolonged service life of the equipment.
Drawings
Fig. 1 is a schematic structural diagram of a computer device for operating a management network according to the present invention;
fig. 2 is a top view of a computer device for operating a management network according to the present invention;
fig. 3 is a schematic side view of a computer device for operating a management network according to the present invention;
fig. 4 is an enlarged schematic view of a structure in fig. 1.
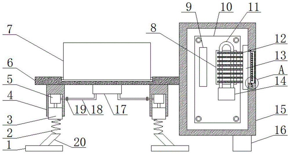
In the figure: the device comprises a fixed seat 1, a first spring 2, a movable block 3, a sleeve 4, a cylinder 5, a base 6, a display screen 7, a processor 8, a hard disk 9, a main board 10, a water pipe 11, a heat dissipation plate 12, a first fan 13, a circulating water pump 14, a machine body 15, a vertical rod 16, an air pump 17, an air guide pipe 18, a valve 19, a supporting leg 20, a first rotating shaft 21, a roller 22, a first plug 23, shielding cloth 24, a second spring 25, a pull rod 26, a second rotating shaft 27, a jack 28, a limiting hole 29, a dust screen 30, a wind screen 31, a triangular plate 32, a connecting rod 33, a strip-shaped plate 34, a handle 35, a fixed rod 36, a second plug 37, a second fan 38, a first cooling fin 39, a second cooling fin 40, a fixed frame 41, a third spring 42, a bolt 43, a door plate 44.
Detailed Description
Various embodiments of the present application will be described more fully hereinafter with reference to the accompanying drawings. This application is capable of various embodiments and of modifications and variations there between. The present application will therefore be described in more detail with reference to specific embodiments thereof as illustrated in the accompanying drawings. However, it should be understood that: there is no intention to limit the various embodiments of the application to the specific embodiments of the application but, on the contrary, the application is to cover all modifications, equivalents, and/or alternatives falling within the spirit and scope of the various embodiments of the application. Like reference numerals refer to like elements throughout the description of the figures.
Hereinafter, the terms "includes" or "may include" used in various embodiments of the present application indicate the presence of the claimed function, operation, or element, and do not limit the addition of one or more functions, operations, or elements. Furthermore, as used in various embodiments of the present application, the terms "comprising," "having," and their derivatives, are intended to be only representative of particular features, integers, steps, operations, elements, components, or combinations of the foregoing, and should not be construed as first excluding the existence of, or adding to one or more other features, integers, steps, operations, elements, components, or combinations of the foregoing.
In various embodiments of the present application, the expression "or" at least one of a or/and B "includes any or all combinations of the words listed simultaneously. For example, the expression "a or B" or "at least one of a or/and B" may include a, may include B, or may include both a and B.
Expressions (such as "first", "second", and the like) used in various embodiments of the present application may modify various constituent elements in the various embodiments, but may not limit the respective constituent elements. For example, the above description does not limit the order and/or importance of the elements described. The foregoing description is for the purpose of distinguishing one element from another. For example, the first user device and the second user device indicate different user devices, although both are user devices. For example, a first element could be termed a second element, and, similarly, a second element could be termed a first element, without departing from the scope of various embodiments of the present application.
It should be noted that: if it is described that one constituent element is "connected" to another constituent element, the first constituent element may be directly connected to the second constituent element, and a third constituent element may be "connected" between the first constituent element and the second constituent element. In contrast, when one constituent element is "directly connected" to another constituent element, it is understood that there is no third constituent element between the first constituent element and the second constituent element.
The terminology used in the various embodiments of the present application is for the purpose of describing particular embodiments only and is not intended to be limiting of the various embodiments of the present application. As used herein, the singular forms are intended to include the plural forms as well, unless the context clearly indicates otherwise. Unless otherwise defined, all terms (including technical and scientific terms) used herein have the same meaning as commonly understood by one of ordinary skill in the art to which the various embodiments of the present application belong. The terms (such as those defined in commonly used dictionaries) should be interpreted as having a meaning that is consistent with their contextual meaning in the relevant art and will not be interpreted in an idealized or overly formal sense unless expressly so defined herein in various embodiments.
Referring to fig. 1-4, a computer device for operating management network comprises a base 6, a first device groove is arranged at the upper end of the base 6, a display screen 7 is arranged in the first device groove, the display screen 7 is rotatably connected to the inner wall of the first device groove through a second rotating shaft 27, a groove is arranged on the side wall of the first device groove, a dustproof device is arranged in the groove, when in use, a first bolt 23 is pulled to separate the first bolt 23 from a jack 28, a second spring 25 is a torsion spring, under the action of the second spring 25, the first rotating shaft 21 drives a roller 22 to rotate, the roller 22 rotates to pack up a shielding cloth 24, the display screen 7 is rotated to a proper angle, a damping support is arranged at the lower end of the base 6, a valve 19 and a switch of an air pump 17 are opened, under the action of the air pump 17 and an air cylinder 5, a movable block 3 moves to further adjust the height of the base 6, when the base 6 vibrates, the first spring 2 is compressed, so that the vibration inertia is reduced, the dynamic load transmitted to the foundation is reduced, the equipment runs stably, the noise is low, the side wall of the base 6 is fixedly connected with the machine body 15, the machine body 15 is internally provided with the main board 10, the main board 10 is fixedly connected with the inner wall of the machine body 15 through the bolt 43, the part of the bolt 43, which is positioned between the inner wall of the machine body 15 and the main board 10, is sleeved with the third spring 42, the side wall of the main board 10 is fixedly connected with the hard disk 9 and the processor 8, the side wall of the machine body 15 is provided with a vent, the inner walls opposite to the vent are respectively provided with a guide groove, the vent is internally provided with the strip-shaped board 34, two ends of the strip-shaped board 34 are respectively positioned in the two guide grooves, the inner walls opposite to the vent are in equal-interval rotating connection with a plurality of triangular boards 32, the wind, one end of the connecting rod 33, which is far away from the strip-shaped plate 34, is rotatably connected to the side wall of the triangular plate 32, the lower end of the strip-shaped plate 34 is fixedly connected with a fixing rod 36, the fixing rod 36 penetrates through the guide groove, the third spring 42 can improve the anti-seismic performance of the main board 10, the second bolt 37 is pulled to push the handle 35, so that the fixing rod 36 drives the strip-shaped plate 34 to move, the strip-shaped plate 34 moves to enable the connecting rod 33 to push the triangular plate 32 to rotate, so that the wind shield 31 blocks the ventilation opening, the fixing rod 36 is movably connected with the inner wall of the guide groove, the inner wall of the machine body 15 is fixedly connected with the first fan 13 at the ventilation opening, the side wall of the first fan 13 is fixedly connected with a plurality of heat dissipation plates 12 at equal intervals, the side wall of the heat dissipation plate 12 is tightly attached to the processor 8, under the combined action of, the water pipe 11 is fixedly connected to the circulating water pump 14, one end, far away from the circulating water pump 14, of the water pipe 11 penetrates through the plurality of heat dissipation plates 12 in sequence, a second device groove is formed in the side wall of the machine body 15, a heat dissipation cavity is formed in the inner wall of the second device groove and communicated with the machine body 15, a heat dissipation device is arranged in the heat dissipation cavity, a fixing frame 41 is fixedly connected to the notch of the second device groove, and two second fans 38 are fixedly connected to the fixing frame 41.
In the invention, the damping support comprises a sleeve 4 fixedly connected to the lower end of a base 6, the inner wall of the sleeve 4 is fixedly connected with an air cylinder 5, the lower end of the air cylinder 5 is fixedly connected with a movable block 3, the movable block 3 is movably connected with the inner wall of the sleeve 4, the middle part of the lower end of the base 6 is fixedly connected with an air pump 17, the side wall of the air pump 17 is fixedly connected with an air duct 18, one end of the air duct 18, far away from the air pump 17, penetrates through the side wall of the sleeve 4 and is fixedly connected to the air cylinder 5, a valve 19 is arranged on the air duct 18, the lower end of the movable block 3 is fixedly connected with a first spring 2, the lower end of the first spring 2 is fixedly connected with a supporting leg 20, the lower end of the supporting leg 20 is fixedly connected with a fixed seat 1, the dustproof device comprises a roller 22 arranged in a groove, a shielding cloth 24 is wound on the roller 22, one end of the shielding cloth 24 far away from the roller 22 is fixedly connected with a pull rod 26, a first bolt 23 penetrates through the pull rod 26, the upper end of the base 6 is penetrated with a jack 28 corresponding to the position of the first bolt 23, the heat dissipation device comprises a heat dissipation net 45 fixedly connected with the inner wall of a heat dissipation cavity, the side wall of the heat dissipation net 45 is fixedly connected with a first heat dissipation fin 39 and a second heat dissipation fin 40, the length of the first heat dissipation fin 39 is greater than that of the second heat dissipation fin 40, the first heat dissipation fin 39 and the second heat dissipation fin 40 are arranged at intervals, the side wall of the machine body 15 is rotatably connected with a door plate 44 through a hinge, the lower end of the machine body 15 is fixedly connected with a vertical rod 16, a dustproof net 30 is arranged in the vent, the dustproof net 30 is fixedly connected with the inner wall of the vent, the side wall of the body 15 is provided with a plurality of limiting holes 29 at equal intervals corresponding to the positions of the second pins 37.
In the invention, when in use, the first bolt 23 is pulled to separate the first bolt 23 from the jack 28, the second spring 25 is a torsion spring, under the action of the second spring 25, the first rotating shaft 21 drives the roller 22 to rotate, the roller 22 rotates to pack up the shielding cloth 24, then the display screen 7 is rotated to a proper angle, the valve 19 and the switch of the air pump 17 are opened, the movable block 3 moves under the action of the air pump 17 and the air cylinder 5, so as to adjust the height of the base 6, when the base 6 vibrates, the first spring 2 is compressed, so that the vibration inertia is reduced, the dynamic load transmitted to the foundation is reduced, the equipment operates stably, the noise is low, under the combined action of the first fan 13 and the circulating water pump 14, the temperature of the processor 8 is kept in a normal range, the third spring 42 can improve the anti-vibration performance of the mainboard 10, the second bolt 37 is pulled, the handle 35 is pushed, so that the fixing rod 36 drives the strip-shaped plate 34 to move, the strip-shaped plate 34 moves to enable the connecting rod 33 to push the triangular plate 32 to rotate, and the wind shield 31 blocks the ventilation opening.
The above description is only for the preferred embodiment of the present invention, but the scope of the present invention is not limited thereto, and any person skilled in the art should be considered to be within the technical scope of the present invention, and the technical solutions and the inventive concepts thereof according to the present invention should be equivalent or changed within the scope of the present invention.

Claims (5)

1. A computer device for operating management network comprises a base (6) and is characterized in that a first device groove is formed in the upper end of the base (6), a display screen (7) is arranged in the first device groove, the display screen (7) is rotatably connected to the inner wall of the first device groove through a second rotating shaft (27), a groove is formed in the side wall of the first device groove, a dustproof device is arranged in the groove, a damping support is arranged at the lower end of the base (6), a machine body (15) is fixedly connected to the side wall of the base (6), a main board (10) is arranged in the machine body (15), the main board (10) is fixedly connected to the inner wall of the machine body (15) through a bolt (43), a third spring (42) is sleeved on the part, located between the inner wall of the machine body (15) and the main board (10), of the side wall of the main board (10) is fixedly connected with a hard disk (9) and a processor (8), the lateral wall of organism (15) is equipped with the vent, the inner wall that the vent is relative all is equipped with the guide way, be equipped with strip shaped plate (34) in the vent, the both ends of strip shaped plate (34) are located two guide ways respectively, the inner wall that the vent is relative rotates equidistantly and is connected with a plurality of set-square (32), is in two of same horizontal plane fixedly connected with deep bead (31) between set-square (32), the lateral wall slope of strip shaped plate (34) is equipped with a plurality of connecting rods (33) with set-square (32) matched with, the one end rotation that strip shaped plate (34) were kept away from in connecting rod (33) is connected on the lateral wall of set-square (32), the lower extreme fixedly connected with dead lever (36) of strip shaped plate (34), dead lever (36) run through the guide way, the inner wall swing joint of dead lever (36) and guide way, the inner wall of organism (15) is located vent department fixedly connected with, the side wall of the first fan (13) is fixedly connected with a plurality of heat dissipation plates (12) at equal intervals, the side wall of each heat dissipation plate (12) is tightly attached to the processor (8), the side wall of the mainboard (10) is fixedly connected with a circulating water pump (14), a water pipe (11) is fixedly connected to the circulating water pump (14), one end, far away from the circulating water pump (14), of each water pipe (11) sequentially penetrates through the heat dissipation plates (12), the side wall of the machine body (15) is provided with a second device groove, the inner wall of each second device groove is provided with a heat dissipation cavity, each heat dissipation cavity is communicated with the machine body (15), each heat dissipation cavity is internally provided with a heat dissipation device, a fixing frame (41) is fixedly connected to the notch of each second device groove, and two second fans (38) are fixedly connected to the fixing frame (41);
the shock absorption support comprises a sleeve (4) fixedly connected with the lower end of a base (6), the inner wall of the sleeve (4) is fixedly connected with an air cylinder (5), the lower end of the air cylinder (5) is fixedly connected with a movable block (3), the movable block (3) is movably connected with the inner wall of the sleeve (4), the middle part of the lower end of the base (6) is fixedly connected with an air pump (17), the side wall of the air pump (17) is fixedly connected with an air duct (18), one end of the air duct (18) far away from the air pump (17) penetrates through the side wall of the sleeve (4) and is fixedly connected to the air cylinder (5), a valve (19) is arranged on the air duct (18), the lower end of the movable block (3) is fixedly connected with a first spring (2), the lower end of the first spring (2) is fixedly connected with a supporting leg (20), and the lower end of the supporting leg (20) is fixedly connected with a fixed seat (1);
the dustproof device comprises a roller (22) arranged in a groove, two ends of the roller (22) are rotatably connected to the inner wall of the groove through a first rotating shaft (21), a second spring (25) is sleeved on a part, located between the roller (22) and the inner wall of the groove, of the first rotating shaft (21), shielding cloth (24) is wound on the roller (22), one end, far away from the roller (22), of the shielding cloth (24) is fixedly connected with a pull rod (26), a first bolt (23) penetrates through the pull rod (26), and a jack (28) corresponding to the first bolt (23) in position penetrates through the upper end of the base (6);
the heat dissipation device comprises a heat dissipation net (45) fixedly connected to the inner wall of the heat dissipation cavity, the side wall of the heat dissipation net (45) is fixedly connected with a first heat dissipation fin (39) and a second heat dissipation fin (40), the length of the first heat dissipation fin (39) is larger than that of the second heat dissipation fin (40), and the first heat dissipation fin (39) and the second heat dissipation fin (40) are arranged at intervals.
2. Computer device for operation management network according to claim 1 characterized by the fact that the side wall of the body (15) is hinged with a door panel (44).
3. A computer device for operation and management of a network according to claim 1, characterized in that a vertical pole (16) is fixedly connected to the lower end of said body (15).
4. The computer equipment for operating and managing the network according to claim 1, wherein a dust screen (30) is arranged in the ventilation opening, and the dust screen (30) is fixedly connected to the inner wall of the ventilation opening.
5. The computer equipment for operating and managing the network according to claim 1, wherein a handle (35) is fixedly connected to one end of the fixing rod (36) far away from the strip-shaped plate (34), a second bolt (37) penetrates through a side wall of the handle (35), and a plurality of limiting holes (29) corresponding to the positions of the second bolt (37) are formed in the side wall of the machine body (15) at equal intervals.
CN201810322273.6A 2018-04-11 2018-04-11 A computer equipment for operating and managing a network Expired - Fee Related CN108536241B (en)

Priority Applications (1)

Application Number Priority Date Filing Date Title
CN201810322273.6A CN108536241B (en) 2018-04-11 2018-04-11 A computer equipment for operating and managing a network

Applications Claiming Priority (1)

Application Number Priority Date Filing Date Title
CN201810322273.6A CN108536241B (en) 2018-04-11 2018-04-11 A computer equipment for operating and managing a network

Publications (2)

Publication Number Publication Date
CN108536241A CN108536241A (en) 2018-09-14
CN108536241B true CN108536241B (en) 2021-07-09

Family

ID=63480928

Family Applications (1)

Application Number Title Priority Date Filing Date
CN201810322273.6A Expired - Fee Related CN108536241B (en) 2018-04-11 2018-04-11 A computer equipment for operating and managing a network

Country Status (1)

Country Link
CN (1) CN108536241B (en)

Families Citing this family (2)

* Cited by examiner, † Cited by third party
Publication number Priority date Publication date Assignee Title
CN109512676A (en) * 2018-11-18 2019-03-26 张雅慧 A kind of broken medicine device of oncology
CN109877429B (en) * 2019-04-19 2019-11-12 博罗威特晟科技有限公司 Inverter type welder

Citations (10)

* Cited by examiner, † Cited by third party
Publication number Priority date Publication date Assignee Title
US6906919B2 (en) * 2003-09-30 2005-06-14 Intel Corporation Two-phase pumped liquid loop for mobile computer cooling
CN201278127Y (en) * 2008-10-07 2009-07-22 苑金宝 Computer cabinet
CN201955723U (en) * 2011-02-22 2011-08-31 刘象吉 Heat-radiating chassis for computer
CN205068244U (en) * 2015-11-02 2016-03-02 重庆工商职业学院 Computer display with dustproof function
CN205608650U (en) * 2016-04-15 2016-09-28 陈东升 Heat dissipation computer
CN106200780A (en) * 2016-06-22 2016-12-07 成都知人善用信息技术有限公司 A kind of lifting pedestal for intelligent computer
CN206292664U (en) * 2016-11-04 2017-06-30 嘉兴职业技术学院 A kind of computer picture shows frame
CN107172870A (en) * 2017-07-25 2017-09-15 合肥科斯维数据科技有限公司 A kind of network communication supervisor heat abstractor
CN206649844U (en) * 2017-03-02 2017-11-17 天津市晟言科贸有限公司 A kind of novel LED display screen
CN107463217A (en) * 2017-08-01 2017-12-12 合肥市漫通科技有限公司 A kind of high efficiency main frame

Patent Citations (10)

* Cited by examiner, † Cited by third party
Publication number Priority date Publication date Assignee Title
US6906919B2 (en) * 2003-09-30 2005-06-14 Intel Corporation Two-phase pumped liquid loop for mobile computer cooling
CN201278127Y (en) * 2008-10-07 2009-07-22 苑金宝 Computer cabinet
CN201955723U (en) * 2011-02-22 2011-08-31 刘象吉 Heat-radiating chassis for computer
CN205068244U (en) * 2015-11-02 2016-03-02 重庆工商职业学院 Computer display with dustproof function
CN205608650U (en) * 2016-04-15 2016-09-28 陈东升 Heat dissipation computer
CN106200780A (en) * 2016-06-22 2016-12-07 成都知人善用信息技术有限公司 A kind of lifting pedestal for intelligent computer
CN206292664U (en) * 2016-11-04 2017-06-30 嘉兴职业技术学院 A kind of computer picture shows frame
CN206649844U (en) * 2017-03-02 2017-11-17 天津市晟言科贸有限公司 A kind of novel LED display screen
CN107172870A (en) * 2017-07-25 2017-09-15 合肥科斯维数据科技有限公司 A kind of network communication supervisor heat abstractor
CN107463217A (en) * 2017-08-01 2017-12-12 合肥市漫通科技有限公司 A kind of high efficiency main frame

Also Published As

Publication number Publication date
CN108536241A (en) 2018-09-14

Similar Documents

Publication Publication Date Title
CN108572710B (en) Computer mainframe box convenient for installing mainboard for computer hardware development
WO2022077577A1 (en) Computer case capable of efficient heat dissipation
CN110118238B (en) An anti-vibration device for a computer case
CN108536241B (en) A computer equipment for operating and managing a network
CN209356994U (en) A kind of computer cabinet improving heat dissipation effect
CN205899485U (en) Computer case with heat dissipation function
CN111103942B (en) Computer case capable of quickly disassembling computer mainboard
CN108958402B (en) Computer heat dissipation type mainframe box
CN219285662U (en) Computer software and hardware protection device
CN213423863U (en) Computer radiator fan mounting structure
CN207924579U (en) A kind of computer of band movement radiator fan
CN216353372U (en) Big data storage equipment suitable for computer
CN213694449U (en) Intelligent streaming media transmission control server
CN211786927U (en) Computer auxiliary device for computer network engineering
CN211956330U (en) Computer host with good dustproof effect
CN112383839B (en) Terminal equipment of data informatization cloud platform for cloud computing
CN109002144A (en) A kind of computer host box radiator structure
CN215450066U (en) Dustproof heat dissipation machine case of computer for middle-position students
CN215494887U (en) Computer host protection box
CN209373503U (en) Hard disk support for desktop computer
CN210444430U (en) Computer big data wireless connection device
CN209215978U (en) A kind of liquid cooling Gemini server
CN216243159U (en) Computer heat dissipation protector
CN221886971U (en) Cabinet device for computer
CN223567643U (en) Gateway controller with protection support

Legal Events

Date Code Title Description
PB01 Publication
PB01 Publication
SE01 Entry into force of request for substantive examination
SE01 Entry into force of request for substantive examination
GR01 Patent grant
GR01 Patent grant
CF01 Termination of patent right due to non-payment of annual fee

Granted publication date: 20210709

CF01 Termination of patent right due to non-payment of annual fee