CN108452421B - Breathe internal medicine oxygen mask convenient to atomizing is dosed - Google Patents
Breathe internal medicine oxygen mask convenient to atomizing is dosed Download PDFInfo
- Publication number
- CN108452421B CN108452421B CN201810284517.6A CN201810284517A CN108452421B CN 108452421 B CN108452421 B CN 108452421B CN 201810284517 A CN201810284517 A CN 201810284517A CN 108452421 B CN108452421 B CN 108452421B
- Authority
- CN
- China
- Prior art keywords
- mask
- oxygen
- medicine
- pipe
- fixed
- Prior art date
- Legal status (The legal status is an assumption and is not a legal conclusion. Google has not performed a legal analysis and makes no representation as to the accuracy of the status listed.)
- Expired - Fee Related
Links
- QVGXLLKOCUKJST-UHFFFAOYSA-N atomic oxygen Chemical compound [O] QVGXLLKOCUKJST-UHFFFAOYSA-N 0.000 title claims abstract description 71
- 239000001301 oxygen Substances 0.000 title claims abstract description 71
- 229910052760 oxygen Inorganic materials 0.000 title claims abstract description 71
- 239000003814 drug Substances 0.000 title claims abstract description 64
- 239000007921 spray Substances 0.000 claims abstract description 25
- 230000000241 respiratory effect Effects 0.000 claims abstract description 11
- 230000006835 compression Effects 0.000 claims description 5
- 238000007906 compression Methods 0.000 claims description 5
- 239000000443 aerosol Substances 0.000 claims description 2
- 238000002347 injection Methods 0.000 claims 1
- 239000007924 injection Substances 0.000 claims 1
- 238000012377 drug delivery Methods 0.000 abstract description 10
- 229940079593 drug Drugs 0.000 abstract description 9
- 238000000889 atomisation Methods 0.000 abstract description 6
- 210000003928 nasal cavity Anatomy 0.000 abstract description 4
- 230000029058 respiratory gaseous exchange Effects 0.000 abstract description 4
- 230000033764 rhythmic process Effects 0.000 abstract description 4
- 238000011084 recovery Methods 0.000 abstract description 3
- 230000001225 therapeutic effect Effects 0.000 abstract description 3
- 239000002699 waste material Substances 0.000 abstract description 2
- 101100269850 Caenorhabditis elegans mask-1 gene Proteins 0.000 description 10
- 230000000694 effects Effects 0.000 description 3
- 238000010586 diagram Methods 0.000 description 2
- 238000005516 engineering process Methods 0.000 description 2
- 238000012986 modification Methods 0.000 description 2
- 230000004048 modification Effects 0.000 description 2
- 210000000214 mouth Anatomy 0.000 description 2
- 238000000926 separation method Methods 0.000 description 2
- 206010021143 Hypoxia Diseases 0.000 description 1
- 230000009286 beneficial effect Effects 0.000 description 1
- 230000007547 defect Effects 0.000 description 1
- 230000000857 drug effect Effects 0.000 description 1
- 230000007954 hypoxia Effects 0.000 description 1
- 239000007788 liquid Substances 0.000 description 1
- 238000000034 method Methods 0.000 description 1
- 238000006467 substitution reaction Methods 0.000 description 1
Images
Classifications
-
- A—HUMAN NECESSITIES
- A61—MEDICAL OR VETERINARY SCIENCE; HYGIENE
- A61M—DEVICES FOR INTRODUCING MEDIA INTO, OR ONTO, THE BODY; DEVICES FOR TRANSDUCING BODY MEDIA OR FOR TAKING MEDIA FROM THE BODY; DEVICES FOR PRODUCING OR ENDING SLEEP OR STUPOR
- A61M16/00—Devices for influencing the respiratory system of patients by gas treatment, e.g. ventilators; Tracheal tubes
- A61M16/06—Respiratory or anaesthetic masks
-
- A—HUMAN NECESSITIES
- A61—MEDICAL OR VETERINARY SCIENCE; HYGIENE
- A61M—DEVICES FOR INTRODUCING MEDIA INTO, OR ONTO, THE BODY; DEVICES FOR TRANSDUCING BODY MEDIA OR FOR TAKING MEDIA FROM THE BODY; DEVICES FOR PRODUCING OR ENDING SLEEP OR STUPOR
- A61M11/00—Sprayers or atomisers specially adapted for therapeutic purposes
-
- A—HUMAN NECESSITIES
- A61—MEDICAL OR VETERINARY SCIENCE; HYGIENE
- A61M—DEVICES FOR INTRODUCING MEDIA INTO, OR ONTO, THE BODY; DEVICES FOR TRANSDUCING BODY MEDIA OR FOR TAKING MEDIA FROM THE BODY; DEVICES FOR PRODUCING OR ENDING SLEEP OR STUPOR
- A61M16/00—Devices for influencing the respiratory system of patients by gas treatment, e.g. ventilators; Tracheal tubes
- A61M16/0003—Accessories therefor, e.g. sensors, vibrators, negative pressure
Landscapes
- Health & Medical Sciences (AREA)
- Life Sciences & Earth Sciences (AREA)
- Public Health (AREA)
- Engineering & Computer Science (AREA)
- Anesthesiology (AREA)
- Biomedical Technology (AREA)
- Heart & Thoracic Surgery (AREA)
- Veterinary Medicine (AREA)
- Animal Behavior & Ethology (AREA)
- Hematology (AREA)
- General Health & Medical Sciences (AREA)
- Emergency Medicine (AREA)
- Pulmonology (AREA)
- Medicinal Preparation (AREA)
- Medicines That Contain Protein Lipid Enzymes And Other Medicines (AREA)
- Respiratory Apparatuses And Protective Means (AREA)
Abstract
本发明公开了一种便于雾化给药的呼吸内科氧气面罩,包括面罩,所述面罩的左侧面安装有PLC控制器,所述面罩的中部设有喷氧罩和呼气罩,所述面罩的右侧面安装有氧传感器,所述喷氧罩的左端进口固定有连接管,本便于雾化给药的呼吸内科氧气面罩,结构简单,通过喷氧罩进行给氧,通过喷管进行给药,在供氧的同时能够进行药物的治疗,避免面罩脱离引发医疗事故,通过氧传感器对面罩内的氧含量进行测算,依照患者的呼吸节奏进行供氧和供药,保证药物在患者吸氧的同时吸入体内,保证治疗效果,通过喷管直接进入到鼻腔内,避免随患者的呼气排出面罩,避免药物的浪费,使用方便,提高了治疗效果,加快了患者的康复。
The invention discloses an oxygen mask for respiratory medicine, which is convenient for atomization and drug delivery. An oxygen sensor is installed on the right side of the mask, and a connecting pipe is fixed at the inlet of the left end of the oxygen spray mask. This is an oxygen mask for respiratory medicine that is convenient for atomization and drug delivery. The structure is simple. Drugs can be administered while supplying oxygen to avoid medical accidents caused by mask detachment. The oxygen content in the mask is measured by an oxygen sensor, and oxygen and medicine are supplied according to the patient's breathing rhythm to ensure that the medicine is inhaled by the patient. Oxygen is inhaled into the body at the same time to ensure the therapeutic effect. It directly enters the nasal cavity through the nozzle, avoids the mask being discharged with the patient's exhalation, avoids the waste of drugs, is convenient to use, improves the therapeutic effect, and speeds up the patient's recovery.
Description
技术领域technical field
本发明涉及医疗设备技术领域,具体为一种便于雾化给药的呼吸内科氧气面罩。The invention relates to the technical field of medical equipment, in particular to an oxygen mask for respiratory medicine which is convenient for atomized drug delivery.
背景技术Background technique
医用氧气面罩主要用于缺氧状态的患者输氧,作为现有技术的医用氧气面罩主要由面罩、输氧管道等组成,医用氧气面罩将使用者的口腔、鼻腔与外界隔离开来,通过与医用氧气面罩相连接的输氧管道将氧气提供给使用者,但使用氧气面罩时给药非常不便,现有的给药装置结构复杂,同时药效利用不充分。Medical oxygen masks are mainly used for oxygen delivery in patients with hypoxia. As the prior art, medical oxygen masks are mainly composed of masks and oxygen delivery pipelines. Medical oxygen masks isolate the user's oral cavity and nasal cavity from the outside world. The oxygen delivery pipeline connected to the mask provides oxygen to the user, but it is very inconvenient to administer the drug when using the oxygen mask, and the existing drug delivery device has a complicated structure and the drug effect is not fully utilized.
发明内容SUMMARY OF THE INVENTION
本发明要解决的技术问题是克服现有的缺陷,提供一种便于雾化给药的呼吸内科氧气面罩,结构简单,可在使用面罩供氧的情况下进行给药,,同时根据呼吸节奏进行供药和供氧控制,提高氧气和药物的利用率,可以有效解决背景技术中的问题。The technical problem to be solved by the present invention is to overcome the existing defects and provide an oxygen mask for respiratory medicine that is convenient for atomization and drug delivery. The drug supply and oxygen supply control can improve the utilization rate of oxygen and drugs, and can effectively solve the problems in the background technology.
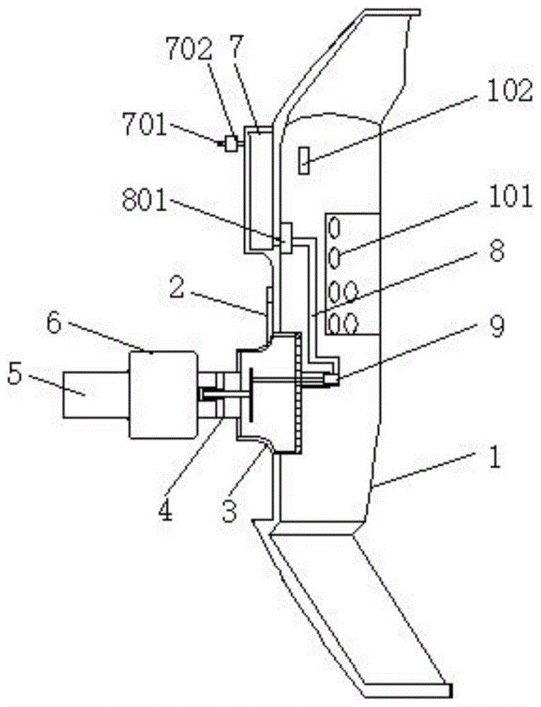
为实现上述目的,本发明提供如下技术方案:一种便于雾化给药的呼吸内科氧气面罩,包括面罩,所述面罩的左侧面安装有PLC控制器,所述面罩的中部设有喷氧罩和呼气罩,所述面罩的右侧面安装有氧传感器,所述喷氧罩的左端进口固定有连接管,所述连接管的左端固定有端管,所述端管的中部安装有电磁阀,所述面罩的左侧面上端固定有药箱,所述面罩的右侧面固定有上端与药箱相通的输药管,所述输药管的中部安装有增压泵,所述输药管的下端安装有喷管,所述喷管的侧面均匀分布有喷孔,所述PLC控制器的输入端分别与外部电源和氧传感器的输出端电连接,所述PLC控制器的输出端分别与电磁阀和增压泵的输入端电连接。In order to achieve the above purpose, the present invention provides the following technical solutions: a respiratory medicine oxygen mask that is convenient for atomization and drug delivery, including a mask, a PLC controller is installed on the left side of the mask, and an oxygen spray is arranged in the middle of the mask. hood and exhalation hood, an oxygen sensor is installed on the right side of the mask, a connecting pipe is fixed at the inlet of the left end of the oxygen spray hood, an end pipe is fixed on the left end of the connecting pipe, and a middle part of the end pipe is installed with Solenoid valve, a medicine box is fixed on the upper end of the left side of the mask, a medicine delivery pipe whose upper end communicates with the medicine box is fixed on the right side of the mask, a booster pump is installed in the middle of the medicine delivery pipe, and the The lower end of the medicine delivery pipe is equipped with a nozzle, the side of the nozzle is evenly distributed with nozzle holes, the input end of the PLC controller is respectively electrically connected with the external power supply and the output end of the oxygen sensor, and the output end of the PLC controller is electrically connected. The terminals are respectively electrically connected with the input terminals of the solenoid valve and the booster pump.
作为本发明的一种优选技术方案,所述喷氧罩的右端敞口处通过喷网封闭,所述喷网的右侧面固定有闭合罩,所述闭合罩中部设有活动杆,所述活动杆的右端与喷管的左端固定相连。As a preferred technical solution of the present invention, the opening of the right end of the oxygen spray hood is closed by a spray net, a closing cover is fixed on the right side of the spray net, and a movable rod is arranged in the middle of the closing cover. The right end of the movable rod is fixedly connected with the left end of the nozzle.
作为本发明的一种优选技术方案,所述连接管的内腔中部固定有支杆,所述支杆中部的轴孔内设有滑杆,所述滑杆的右端固定有挡板,且挡板与活动杆的左端固定相连。As a preferred technical solution of the present invention, a support rod is fixed in the middle of the inner cavity of the connecting pipe, a sliding rod is arranged in the shaft hole in the middle part of the support rod, and a baffle plate is fixed at the right end of the sliding rod, and the block The plate is fixedly connected with the left end of the movable rod.
作为本发明的一种优选技术方案,所述滑杆的左端面固定有端板,所述端板与支杆之间的滑杆上套接有压缩弹簧。As a preferred technical solution of the present invention, an end plate is fixed on the left end surface of the sliding rod, and a compression spring is sleeved on the sliding rod between the end plate and the support rod.
作为本发明的一种优选技术方案,所述药箱的左侧面安装有进药管,所述进药管的中部安装有进药阀。As a preferred technical solution of the present invention, a medicine inlet pipe is installed on the left side of the medicine box, and a medicine inlet valve is installed in the middle of the medicine inlet pipe.
与现有技术相比,本发明的有益效果是:本便于雾化给药的呼吸内科氧气面罩,结构简单,通过喷氧罩进行给氧,通过喷管进行给药,在供氧的同时能够进行药物的治疗,避免面罩脱离引发医疗事故,通过氧传感器对面罩内的氧含量进行测算,依照患者的呼吸节奏进行供氧和供药,保证药物在患者吸氧的同时吸入体内,保证治疗效果,通过喷管直接进入到鼻腔内,避免随患者的呼气排出面罩,避免药物的浪费,使用方便,提高了治疗效果,加快了患者的康复。Compared with the prior art, the beneficial effects of the present invention are as follows: the oxygen mask for respiratory medicine, which is convenient for atomized drug delivery, has a simple structure, and the oxygen is given through the oxygen spray mask and the drug is given through the nozzle, and the oxygen supply can be carried out at the same time as the oxygen supply. Carry out drug treatment to avoid medical accidents caused by the separation of the mask, measure the oxygen content in the mask through the oxygen sensor, and supply oxygen and medicine according to the patient's breathing rhythm to ensure that the medicine is inhaled into the body while the patient is inhaling oxygen, and the treatment effect is guaranteed. , directly enter the nasal cavity through the nozzle, avoid the mask being discharged with the patient's exhalation, avoid the waste of drugs, easy to use, improve the treatment effect, and speed up the recovery of the patient.
附图说明Description of drawings
图1为本发明整体剖面结构示意图;1 is a schematic diagram of the overall cross-sectional structure of the present invention;
图2为本发明喷氧罩处结构示意图。FIG. 2 is a schematic diagram of the structure of the oxygen spray hood of the present invention.
图中:1面罩、101呼气罩、102氧传感器、2PLC控制器、3喷氧罩、301喷网、302活动杆、303闭合罩、4连接管、401支杆、402滑杆、403挡板、404端板、405压缩弹簧、5端管、6电磁阀、7药箱、701进药管、702进药阀、8输药管、801增压泵、9喷管。In the picture: 1 mask, 101 exhalation hood, 102 oxygen sensor, 2PLC controller, 3 oxygen spray hood, 301 spray net, 302 movable rod, 303 closed cover, 4 connecting pipe, 401 support rod, 402 sliding rod, 403 block Plate, 404 end plate, 405 compression spring, 5 end tube, 6 solenoid valve, 7 medicine box, 701 medicine feeding tube, 702 medicine feeding valve, 8 medicine delivery tube, 801 booster pump, 9 nozzle.
具体实施方式Detailed ways
下面将结合本发明实施例中的附图,对本发明实施例中的技术方案进行清楚、完整地描述,显然,所描述的实施例仅仅是本发明一部分实施例,而不是全部的实施例。基于本发明中的实施例,本领域普通技术人员在没有做出创造性劳动前提下所获得的所有其他实施例,都属于本发明保护的范围。The technical solutions in the embodiments of the present invention will be clearly and completely described below with reference to the accompanying drawings in the embodiments of the present invention. Obviously, the described embodiments are only a part of the embodiments of the present invention, but not all of the embodiments. Based on the embodiments of the present invention, all other embodiments obtained by those of ordinary skill in the art without creative efforts shall fall within the protection scope of the present invention.
请参阅图1-2,本发明提供一种技术方案:一种便于雾化给药的呼吸内科氧气面罩,包括面罩1,面罩1的左侧面安装有PLC控制器2,面罩1的中部设有喷氧罩3和呼气罩101,面罩1的右侧面安装有氧传感器102,喷氧罩3的左端进口固定有连接管4,连接管4的左端固定有端管5,端管5的中部安装有电磁阀6,面罩1的左侧面上端固定有药箱7,药箱7的左侧面安装有进药管701,进药管701的中部安装有进药阀702,面罩1的右侧面固定有上端与药箱7相通的输药管8,输药管8的中部安装有增压泵801,输药管8的下端安装有喷管9,喷氧罩3的右端敞口处通过喷网301封闭,喷网301的右侧面固定有闭合罩303,闭合罩303中部设有活动杆302,活动杆302的右端与喷管9的左端固定相连,连接管4的内腔中部固定有支杆401,支杆401中部的轴孔内设有滑杆402,滑杆402的右端固定有挡板403,且挡板403与活动杆302的左端固定相连,滑杆402的左端面固定有端板404,端板404与支杆401之间的滑杆402上套接有压缩弹簧405,喷管9的侧面均匀分布有喷孔,PLC控制器2的输入端分别与外部电源和氧传感器102的输出端电连接,PLC控制器2的输出端分别与电磁阀6和增压泵801的输入端电连接,本便于雾化给药的呼吸内科氧气面罩所采用的电子元件均为现有技术并且不在此进行创新,在此不再进行赘述,PLC控制器2采用西门子6ES7211-0AA23-0XB0,本便于雾化给药的呼吸内科氧气面罩,结构简单,通过喷氧罩3进行给氧,通过喷管9进行给药,在供氧的同时能够进行药物的治疗,避免面罩1脱离引发医疗事故,通过氧传感器102对面罩1内的氧含量进行测算,依照患者的呼吸节奏进行供氧和供药,保证药物在患者吸氧的同时吸入体内,保证治疗效果,通过喷管9直接进入到鼻腔内,避免随患者的呼气排出面罩1,避免药物的浪费,使用方便,提高了治疗效果,加快了患者的康复。Please refer to Fig. 1-2, the present invention provides a technical solution: an oxygen mask for respiratory medicine that is convenient for aerosol drug delivery, including a
在使用时:端管与外界的供氧管路相连,电磁阀6开启时,氧气气流向右推动挡板403,经过连接管4和喷氧罩3进入,药箱7内的药液经过增压泵801引入到喷管9内,随即吸入患者的鼻腔,氧传感器102将氧气浓度的数据传送至PLC控制器2,当氧浓度达到一定值时开始呼气,此时电磁阀6关闭,在压缩弹簧405的作用下滑杆402向左移动复位,活动杆302拉动喷管9进入闭合罩303内,隔断供药,同时使喷管9增压。In use: the end pipe is connected to the external oxygen supply pipeline, when the
本发明结构简单,可在使用面罩1供氧的情况下进行给药,同时能够根据呼吸节奏进行供药和供氧控制,提高氧气和药物的利用率,使用更加方便。The present invention has a simple structure, can administer medicine under the condition that the
尽管已经示出和描述了本发明的实施例,对于本领域的普通技术人员而言,可以理解在不脱离本发明的原理和精神的情况下可以对这些实施例进行多种变化、修改、替换和变型,本发明的范围由所附权利要求及其等同物限定。Although embodiments of the present invention have been shown and described, it will be understood by those skilled in the art that various changes, modifications, and substitutions can be made in these embodiments without departing from the principle and spirit of the invention and modifications, the scope of the present invention is defined by the appended claims and their equivalents.
Claims (2)
Priority Applications (1)
| Application Number | Priority Date | Filing Date | Title |
|---|---|---|---|
| CN201810284517.6A CN108452421B (en) | 2018-04-02 | 2018-04-02 | Breathe internal medicine oxygen mask convenient to atomizing is dosed |
Applications Claiming Priority (1)
| Application Number | Priority Date | Filing Date | Title |
|---|---|---|---|
| CN201810284517.6A CN108452421B (en) | 2018-04-02 | 2018-04-02 | Breathe internal medicine oxygen mask convenient to atomizing is dosed |
Publications (2)
| Publication Number | Publication Date |
|---|---|
| CN108452421A CN108452421A (en) | 2018-08-28 |
| CN108452421B true CN108452421B (en) | 2020-11-17 |
Family
ID=63238187
Family Applications (1)
| Application Number | Title | Priority Date | Filing Date |
|---|---|---|---|
| CN201810284517.6A Expired - Fee Related CN108452421B (en) | 2018-04-02 | 2018-04-02 | Breathe internal medicine oxygen mask convenient to atomizing is dosed |
Country Status (1)
| Country | Link |
|---|---|
| CN (1) | CN108452421B (en) |
Families Citing this family (5)
| Publication number | Priority date | Publication date | Assignee | Title |
|---|---|---|---|---|
| CN109498951A (en) * | 2019-01-18 | 2019-03-22 | 山东大学齐鲁医院(青岛) | A kind of respiration internal medicine oxygen mask convenient for atomized medicine introducing |
| CN109758658B (en) * | 2019-03-11 | 2021-06-04 | 赵秀芳 | A kind of emergency rescue breathing first aid device and method |
| CN109771784B (en) * | 2019-03-20 | 2021-07-06 | 西安交通大学医学院第一附属医院 | Oxygen inhalation mask for oxygen machine for respiratory medicine |
| CN112915334A (en) * | 2021-03-15 | 2021-06-08 | 魏燕华 | Artificial intelligence emergency department infusion oxygen therapy device |
| CN115837111A (en) * | 2022-12-15 | 2023-03-24 | 东莞市中医院 | Portable children respiratory disease treatment device |
Family Cites Families (3)
| Publication number | Priority date | Publication date | Assignee | Title |
|---|---|---|---|---|
| CN101553210A (en) * | 2006-09-20 | 2009-10-07 | 奈克斯特安全有限公司 | Method and system for delivering a drug via inhalation |
| US11160948B2 (en) * | 2016-06-22 | 2021-11-02 | Imam Abdulrahman Bin Faisal University | Nebulizer tubing with a port to minimize medicament loss |
| CN105999492A (en) * | 2016-06-23 | 2016-10-12 | 广东伊茗药业有限公司 | Medical breathing doser |
-
2018
- 2018-04-02 CN CN201810284517.6A patent/CN108452421B/en not_active Expired - Fee Related
Also Published As
| Publication number | Publication date |
|---|---|
| CN108452421A (en) | 2018-08-28 |
Similar Documents
| Publication | Publication Date | Title |
|---|---|---|
| CN108452421B (en) | Breathe internal medicine oxygen mask convenient to atomizing is dosed | |
| CN204428562U (en) | Wearable mask-type microporous ultrasonic nebulizer | |
| CN105233380B (en) | Medical atomizer | |
| CN107297004A (en) | Atomization treatment equipment capable of intelligently adjusting output quantity | |
| CN210583295U (en) | A nebulizer that reduces drug loss | |
| CN204699186U (en) | A kind of pneumoconiosis medicine for treatment oxygen inhalation apparatus | |
| CN208464870U (en) | A kind of medical gas atomizer | |
| CN204092782U (en) | A kind of medical vaporizer | |
| CN207286420U (en) | A kind of respiratory administration device | |
| CN204972566U (en) | Medical atomizer | |
| CN204501993U (en) | Portable oxygen absorption therapeutic instrument | |
| CN103463715A (en) | Ventilator oxygen driven and atomized administration device | |
| CN202336124U (en) | Atomizing inhalation mask | |
| CN216366205U (en) | Heating and temperature measuring protector for atomizer | |
| CN209204360U (en) | A kind of division of respiratory disease respiratory administration mask | |
| CN206103074U (en) | Suck atomizer with regulatory function | |
| CN212662404U (en) | A medical nebulizer suitable for patients with respiratory infectious diseases | |
| CN211383253U (en) | A kind of pediatric medical atomization treatment device | |
| CN207342005U (en) | One kind nursing oxygen supply oxygen-absorption humidification device | |
| CN209019734U (en) | A kind of atomizing needle device for otolaryngology nursing | |
| CN209662361U (en) | Atomizer | |
| CN209984730U (en) | Artificial airway atomizer | |
| CN209695994U (en) | A new controllable automatic airway surface anesthesia nebulizer | |
| CN218961498U (en) | Intelligent atomization device for pediatric nursing | |
| CN205649711U (en) | Ultrasonic atomizing device |
Legal Events
| Date | Code | Title | Description |
|---|---|---|---|
| PB01 | Publication | ||
| PB01 | Publication | ||
| SE01 | Entry into force of request for substantive examination | ||
| SE01 | Entry into force of request for substantive examination | ||
| GR01 | Patent grant | ||
| GR01 | Patent grant | ||
| CF01 | Termination of patent right due to non-payment of annual fee | ||
| CF01 | Termination of patent right due to non-payment of annual fee |
Granted publication date: 20201117 |
