CN108354333B - Multifunctional desk and chair - Google Patents

Multifunctional desk and chair Download PDF

Info

Publication number
CN108354333B
CN108354333B CN201810254878.6A CN201810254878A CN108354333B CN 108354333 B CN108354333 B CN 108354333B CN 201810254878 A CN201810254878 A CN 201810254878A CN 108354333 B CN108354333 B CN 108354333B
Authority
CN
China
Prior art keywords
chair
desk
hopper
bucket
plate
Prior art date
Legal status (The legal status is an assumption and is not a legal conclusion. Google has not performed a legal analysis and makes no representation as to the accuracy of the status listed.)
Active
Application number
CN201810254878.6A
Other languages
Chinese (zh)
Other versions
CN108354333A (en
Inventor
吴炳发
吴丹辉
Current Assignee (The listed assignees may be inaccurate. Google has not performed a legal analysis and makes no representation or warranty as to the accuracy of the list.)
Shenzhen Meiston Furniture Co ltd
Original Assignee
Ningbo Zhenhai Danfa Machinery Technology Co ltd
Priority date (The priority date is an assumption and is not a legal conclusion. Google has not performed a legal analysis and makes no representation as to the accuracy of the date listed.)
Filing date
Publication date
Application filed by Ningbo Zhenhai Danfa Machinery Technology Co ltd filed Critical Ningbo Zhenhai Danfa Machinery Technology Co ltd
Priority to CN201810254878.6A priority Critical patent/CN108354333B/en
Publication of CN108354333A publication Critical patent/CN108354333A/en
Application granted granted Critical
Publication of CN108354333B publication Critical patent/CN108354333B/en
Active legal-status Critical Current
Anticipated expiration legal-status Critical

Links

Images

Classifications

    • AHUMAN NECESSITIES
    • A47FURNITURE; DOMESTIC ARTICLES OR APPLIANCES; COFFEE MILLS; SPICE MILLS; SUCTION CLEANERS IN GENERAL
    • A47BTABLES; DESKS; OFFICE FURNITURE; CABINETS; DRAWERS; GENERAL DETAILS OF FURNITURE
    • A47B39/00School forms; Benches or forms combined with desks
    • A47B39/08Seats or backs for forms, e.g. foldable seat parts
    • AHUMAN NECESSITIES
    • A47FURNITURE; DOMESTIC ARTICLES OR APPLIANCES; COFFEE MILLS; SPICE MILLS; SUCTION CLEANERS IN GENERAL
    • A47BTABLES; DESKS; OFFICE FURNITURE; CABINETS; DRAWERS; GENERAL DETAILS OF FURNITURE
    • A47B41/00School desks or tables
    • A47B41/02Adjustable, inclinable, sliding or foldable desks tops

Landscapes

  • Combinations Of Kitchen Furniture (AREA)
  • Chair Legs, Seat Parts, And Backrests (AREA)

Abstract

The invention discloses a multifunctional desk and chair, which comprises a desk and a chair, wherein the chair consists of a chair frame and chair legs, the chair frame is axially connected with a seat board, a chair hopper is arranged in the chair frame at the lower side of the seat board, the front lower side of the seat board is provided with a spring buckle, and the chair legs are arranged at the lower sides of the chair frame and the chair hopper; the desk consists of a desk bucket and desk legs, wherein the desk bucket is provided with a front desk bucket and a rear desk bucket; the left side and the right side of the table bucket are respectively provided with a quadrilateral folding device, each quadrilateral folding device consists of a fixed base strip, a multifunctional mounting strip and front and rear connecting strips, the rear end of each multifunctional mounting strip is provided with a sliding chute, the rear end of each sliding chute is provided with a positioning groove, a connecting shaft at the upper end of the connecting strip at the rear side can slide back and forth in the sliding chute, and the multifunctional mounting strips at the two sides are provided with movable table plates; the rear table hopper is axially connected with a rear cover plate, and the front upper side of the rear cover plate is connected with a multipurpose rocking plate; the invention has the advantages that: simple and scientific structure, convenient and comfortable use and well solves a plurality of difficult problems.

Description

Multifunctional desk and chair
Technical Field
The invention relates to a desk and a chair, in particular to a multifunctional desk and a chair with better practicability.
Background
The desk and the chair are main facilities of schools, are main tools for students to attend classes and study, and have various existing desks and chairs, such as drawer type desks, rocker type desks, opening type desks and the like, which have the advantages and the disadvantages respectively, but the structures of the desks and the chairs are different; new improvements, such as the addition of upgradeable functions, etc., are also made, but no substantial innovation is made; at present, the students have more learning materials and auxiliary learning articles, the desks cannot meet the reasonable positions for placing various articles when the students cannot put the learning materials and the auxiliary learning articles, and the articles such as a schoolbag, a cup, an umbrella and the like cannot be placed reasonably; the application number is CN 2017107536969A multifunctional desk for pupils, a transverse supporting rod and a vertical supporting rod are arranged at the lower end of a desk body, positioning holes are formed in the vertical supporting rods, a pedal plate and a rotating shaft are arranged between the vertical supporting rods, the supporting rods are embedded in the vertical supporting rods, fixing holes are formed in the supporting rods, a drawer is arranged at the upper end of each supporting rod, small article placing cabinets are arranged at the lower ends of the middle parts of the drawers, shielding plates are arranged between the small article placing cabinets, a desktop is arranged at the upper end of each drawer, a number plate, a stationery placing groove, a semicircular groove, a square groove and a pressure power generation module are arranged on the desktop, a flash lamp column is arranged at the left end of the stationery placing groove, a square cover plate is arranged on the square groove; the table top is provided with a plurality of holes, and is not substantially innovated;
the desk is like a rocking plate type rocking table which is rocked upwards, and although the desk is convenient to take and place in the desk hopper, the desk can be rocked only by taking away objects on the rocking plate, which is inconvenient; as an open type: the table bucket is deep and inconvenient to take and place; the chair is drawer-type, and the chair is moved when being pulled out, and a certain space is needed.
The facultative education center speaks a mechanical innovation course, deeply researches the structures and practical functions of desks and chairs, looks up various data, and designs a multifunctional desk and chair with more functions and better practicability.
Disclosure of Invention
The technical scheme to be solved by the invention is to provide the multifunctional desk and chair with more functions and better practicability.
The multifunctional desk and chair comprises a desk and a chair and is characterized in that the chair consists of a chair frame and chair legs, the chair frame is in shaft connection with a seat board, a chair bucket is arranged in the chair frame below the seat board, and a spring buckle is arranged at the front lower side of the seat board and can relatively clamp the chair frame;
chair legs are arranged at the lower sides of the chair frame and the chair bucket, and height adjusting devices are arranged between the chair frame and the chair bucket and the chair legs; the desk consists of a desk hopper and desk legs, wherein the desk hopper is provided with a front desk hopper and a rear desk hopper; the table hopper is characterized in that quadrilateral folding devices are respectively arranged on the left side and the right side of the table hopper, each quadrilateral folding device consists of a fixed base strip, a multifunctional mounting strip and front and rear connecting strips, the left and right fixed base strips are respectively fixed on the left and right sides of the table hopper, the front and rear ends of each fixed base strip are respectively connected with the connecting strips in a shaft mode, the upper ends of the front and rear connecting strips are connected with the multifunctional mounting strips in a shaft mode, the rear ends of the multifunctional mounting strips are provided with sliding grooves, the rear ends of the sliding grooves are provided with positioning grooves, the connecting shafts at the upper ends of the connecting strips on the rear sides can slide back and forth in the sliding grooves, and the multifunctional mounting;
the rear desk hopper is provided with a rear cover plate, the movable desk plate can be upwards supported by opening the quadrilateral folding devices upwards and backwards to form a two-layer desk structure, the movable desk plate becomes a suspended upper-layer desk top supported by the quadrilateral folding devices at two sides, and the multipurpose rocking plate and the rear cover plate become a lower-layer desk top; the front connecting strip folds the quadrilateral folding device forwards and downwards, and the movable table plate moves forwards and downwards along with the quadrilateral folding device and is finally stacked on the front table hopper and positioned in front of the multipurpose rocking plate.
The chair comprises a chair frame and is characterized in that a seat plate is fixed in the chair frame, a chair bucket is arranged in the chair frame below the seat plate, a movable swing door is arranged at the front end of the chair bucket, and the movable swing door swings downwards.
The bottom plate of the rear table hopper is lower than that of the front table hopper, a rear cover plate is axially connected with the rear table hopper, and the front upper side of the rear cover plate is connected with a multipurpose rocking plate;
the rear ends of the two sides of the table hopper are respectively provided with a clamping device, and the clamping devices clamp the connecting strips on the rear side when the connecting strips are upright;
table legs are arranged on two sides of the table hopper, and a height adjusting device is arranged between the table hopper and the table legs.
The setting of chair fill: the space under the chair is well utilized, and under the condition of not influencing the movement, the carrying, the cleaning sanitation, the appearance and the like of the chair, the schoolbag, the article and the like can be stored, and the chair can be firmer; the structure is simple and reasonable, and the storage and the taking are convenient; the chair bucket can also be designed into a drawer type and the like;
the arrangement of the left-right quadrangle folding device can enable the multipurpose table board to move horizontally, the multipurpose table board can be opened directly without taking away articles on the table board, and the multipurpose table board can also be adjusted into an inclined plane, so that the multifunctional table board is convenient and comfortable to see, and eyes are protected well;
the structure is simple and reasonable, the manufacture and the installation are convenient, the arrangement of the sliding groove at the rear end can ensure that the movable table plate can be adjusted into an inclined plane when needed, and the arrangement of the positioning groove can ensure that the movable table plate is not easy to slip when the inclined plane is stressed;
the table of traditional desk is fought can not be too high, and the bottom plate of fighting like this will influence the leg of the people of sitting, and this table is fought to have the setting of preceding, back table fill: the space at the rear side of the table bucket is fully utilized, the height of the rear table bucket can be set to be higher, so that large articles and data can be placed, and the rear table bucket can be further divided into two parts or more, so that the classification and storage are facilitated; the multifunctional rocking plate is movably arranged, so that different angles can be formed between the multifunctional rocking plate and the desktop, reading is facilitated, eyes are protected, and the multifunctional rocking plate and the rear cover plate are connected with each other to have opposite friction performance, so that the multifunctional rocking plate can be relatively fixed at different angles;
the clamping device can clamp the rear connecting strip relatively;
the invention has the advantages that: simple and scientific structure, convenient and comfortable use and well solves a plurality of difficult problems.
Drawings
Fig. 1 is a perspective view of the present invention.
Fig. 2 is a perspective view of the chair of the present invention.
Fig. 3 is an open perspective view of the chair seat of the present invention.
FIG. 4 is a perspective view of the multi-purpose rocking plate of the present invention in a slanted plane.
Fig. 5 is an open perspective view of the back cover of the present invention.
Fig. 6 is an extension perspective view of the movable table of the present invention.
Fig. 7 is a perspective view of the movable table of the present invention in a slanted plane.
Fig. 8 is a perspective view of the table hopper of the present invention.
Fig. 9 is a view showing a folding structure of the folding device of the present invention.
Fig. 10 is a structural view of the quadrangular folding apparatus of the present invention as an inclined plane.
Fig. 11 is a view showing an upward extended configuration of the quadrangular folding apparatus of the present invention.
Detailed Description
The invention is described in further detail below with reference to the accompanying examples.
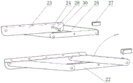
As shown in the figure: one side of the desk with the chair is front, and the other side is back; 1. desk, 5. chair; 11. table legs, 12 table legs, 13 front table legs, 14 rear table legs, 16 movable table plates, 17 rear cover plates and 18 multipurpose rocking plates; 21. a quadrilateral folding device, 22, a fixed base strip, 23, a multifunctional mounting strip, 24, a connecting shaft, 25, front and rear connecting strips, 27, a clamping device, 28, a sliding chute and 30, a positioning groove; 51. the chair comprises a chair frame, a chair plate 52, a chair hopper 53, a spring buckle 55, chair legs 56 and a chair back 57.
As shown in fig. 1, 2 and 3: a multifunctional desk and chair comprises a desk 1 and a chair 5, wherein the chair 5 consists of a chair frame 51 and chair legs 56, the chair frame 51 is connected with a seat board 52 in an upper shaft mode, a chair bucket 53 is arranged in the chair frame 51 below the seat board 52, a spring buckle 55 is arranged at the front lower side of the seat board 52, and the chair frame 51 can be clamped relatively by the spring buckle 55;
the lower sides of the chair frame 51 and the chair bucket 53 are provided with chair feet 56, a height adjusting device is arranged between the chair frame 51 and the chair bucket 53 and the chair feet 56, and 57 is a chair back. A seat plate 52 is fixed in the seat frame 51, a seat bucket 53 is arranged in the seat frame 51 below the seat plate 52, and a movable swing door is arranged at the front end of the seat bucket 53 and swings downwards.
As shown in fig. 4, 5, 6, 7, 9, 10, 11: the desk 1 consists of a desk bucket 11 and desk legs 12, wherein the desk bucket 11 is provided with a front desk bucket 13 and a rear desk bucket 14; the left and right sides of the table bucket 11 are respectively provided with a quadrilateral folding device 21, the quadrilateral folding device 21 comprises a fixed base strip 22, a multifunctional mounting strip 23 and front and rear connecting strips 25, the left and right fixed base strips 22 are respectively fixed on the left and right sides of the table bucket 11, the front and rear ends of the fixed base strip 22 are respectively connected with the front and rear connecting strips 25 through shafts, the upper ends of the front and rear connecting strips 25 are connected with the multifunctional mounting strip 23 through shafts, the rear end of the multifunctional mounting strip 23 is provided with a sliding groove 28, the rear end of the sliding groove is provided with a positioning groove 30, the connecting shaft 24 at the upper end of the rear connecting strip 25 can slide back and forth in the sliding groove 28, and the multifunctional. The rear desk hopper is provided with a rear cover plate, the movable desk plate can be upwards supported by opening the quadrilateral folding devices upwards and backwards to form a two-layer desk structure, the movable desk plate becomes a suspended upper-layer desk top supported by the quadrilateral folding devices at two sides, and the multipurpose rocking plate and the rear cover plate become a lower-layer desk top; the front connecting strip folds the quadrilateral folding device forwards and downwards, and the movable table plate moves forwards and downwards along with the quadrilateral folding device and is finally stacked on the front table hopper and positioned in front of the multipurpose rocking plate.
As shown in fig. 4, 5, and 8: the bottom plate of the rear table bucket 14 is lower than that of the front table bucket 13, a rear cover plate 17 is connected to the rear table bucket 14 in an axial mode, and the front upper side of the rear cover plate 17 is connected with a multipurpose rocking plate 18; the rear ends of the two sides of the table bucket 11 are respectively provided with a clamping device 27, and the clamping devices 27 clamp the connecting strips 25 on the rear sides when the connecting strips are erected;
table legs 12 are arranged on two sides of the table bucket 11, and a height adjusting device is arranged between the table bucket 11 and the table legs 12.

Claims (3)

1. The multifunctional desk and chair comprises a desk and a chair and is characterized in that the chair consists of a chair frame and chair legs, the chair frame is in shaft connection with a seat board, a chair bucket is arranged in the chair frame below the seat board, and a spring buckle is arranged at the front lower side of the seat board and can relatively clamp the chair frame; chair legs are arranged at the lower sides of the chair frame and the chair bucket, and height adjusting devices are arranged between the chair frame and the chair bucket and the chair legs;
the desk consists of a desk hopper and desk legs, wherein the desk hopper is provided with a front desk hopper and a rear desk hopper; the table hopper is characterized in that quadrilateral folding devices are respectively arranged on the left side and the right side of the table hopper, each quadrilateral folding device consists of a fixed base strip, a multifunctional mounting strip and front and rear connecting strips, the left and right fixed base strips are respectively fixed on the left and right sides of the table hopper, the front and rear ends of each fixed base strip are respectively connected with the connecting strips in a shaft mode, the upper ends of the front and rear connecting strips are connected with the multifunctional mounting strips in a shaft mode, the rear ends of the multifunctional mounting strips are provided with sliding grooves, the rear ends of the sliding grooves are provided with positioning grooves, the connecting shafts at the upper ends of the connecting strips on the rear sides can slide back and forth in the sliding grooves, and the multifunctional mounting; the rear desk hopper is provided with a rear cover plate, the movable desk plate can be upwards supported by opening the quadrilateral folding devices upwards and backwards to form a two-layer desk structure, the movable desk plate becomes a suspended upper-layer desk top supported by the quadrilateral folding devices at two sides, and the multipurpose rocking plate and the rear cover plate become a lower-layer desk top; the front connecting strip folds the quadrilateral folding device forwards and downwards, and the movable table plate moves forwards and downwards along with the quadrilateral folding device and is finally stacked on the front table hopper and positioned in front of the multipurpose rocking plate.
2. The multifunctional desk and chair of claim 1, wherein: the chair comprises a chair frame and is characterized in that a seat plate is fixed in the chair frame, a chair bucket is arranged in the chair frame below the seat plate, a movable swing door is arranged at the front end of the chair bucket, and the movable swing door swings downwards.
3. The multifunctional desk and chair of claim 1, wherein: the bottom plate of the rear table hopper is lower than that of the front table hopper, a rear cover plate is connected onto the rear table hopper in an axial mode, and the front upper side of the rear cover plate is connected with a multipurpose rocking plate; the rear ends of the two sides of the table hopper are respectively provided with a clamping device, and the clamping devices clamp the connecting strips on the rear side when the connecting strips are upright; table legs are arranged on two sides of the table hopper, and a height adjusting device is arranged between the table hopper and the table legs.
CN201810254878.6A 2018-03-27 2018-03-27 Multifunctional desk and chair Active CN108354333B (en)

Priority Applications (1)

Application Number Priority Date Filing Date Title
CN201810254878.6A CN108354333B (en) 2018-03-27 2018-03-27 Multifunctional desk and chair

Applications Claiming Priority (1)

Application Number Priority Date Filing Date Title
CN201810254878.6A CN108354333B (en) 2018-03-27 2018-03-27 Multifunctional desk and chair

Publications (2)

Publication Number Publication Date
CN108354333A CN108354333A (en) 2018-08-03
CN108354333B true CN108354333B (en) 2020-11-27

Family

ID=63001157

Family Applications (1)

Application Number Title Priority Date Filing Date
CN201810254878.6A Active CN108354333B (en) 2018-03-27 2018-03-27 Multifunctional desk and chair

Country Status (1)

Country Link
CN (1) CN108354333B (en)

Families Citing this family (1)

* Cited by examiner, † Cited by third party
Publication number Priority date Publication date Assignee Title
CN112741421A (en) * 2021-01-11 2021-05-04 江西宏达保安器材集团有限公司 Multifunctional desk and chair

Citations (4)

* Cited by examiner, † Cited by third party
Publication number Priority date Publication date Assignee Title
CN101779861A (en) * 2010-02-26 2010-07-21 饶弘剑 Height-inclination adjustable multifunctional desk
CN203220104U (en) * 2013-05-10 2013-10-02 王腾云 Healthy multifunctional learning table
US9668571B1 (en) * 2015-09-04 2017-06-06 Kamran Ghobadi Adjustable-foldable desk
CN206565613U (en) * 2016-09-18 2017-10-20 广东红旗家具有限公司 a multifunctional table

Family Cites Families (15)

* Cited by examiner, † Cited by third party
Publication number Priority date Publication date Assignee Title
JPH0956484A (en) * 1995-08-17 1997-03-04 Kurogane Kosakusho:Kk Desk side chest
CN2394505Y (en) * 1999-06-16 2000-09-06 湖南省常德市一中工厂 Lifting table and chair of school
CN1303649A (en) * 1999-12-15 2001-07-18 杨顺玲 Turnable movable table top
CN2618492Y (en) * 2003-02-19 2004-06-02 杨顺玲 Combined top table
US20050039643A1 (en) * 2003-08-22 2005-02-24 Siemens Medical Solutions Usa, Inc. Multiple position support structure
US20070163475A1 (en) * 2006-01-17 2007-07-19 Murphy Marcus L Table with movable top surface and mechanism for same
CN102613815B (en) * 2012-04-17 2014-02-26 王腾云 Multifunctional study desk and chair
CN202760550U (en) * 2012-08-20 2013-03-06 陈孟霄 Multifunctional student chair
CN202820314U (en) * 2012-08-31 2013-03-27 周泽臣 Furniture
CN202999870U (en) * 2012-12-28 2013-06-19 王昊宇 Novel student chair
CN105124923B (en) * 2014-02-18 2018-06-01 再兴电子(深圳)有限公司 Adjustable tables sub-platform
CN204260210U (en) * 2014-10-22 2015-04-15 天津市仟佰億家具有限公司 A kind of multifunctional tea-table
CN205197367U (en) * 2015-11-09 2016-05-04 绵阳安智圣达创意科技有限公司 Desk that can splice interchangeable layer
CN206491504U (en) * 2016-10-09 2017-09-15 佛山海悦智达科技有限公司 A kind of tiltable detachable desk of table
CN206651521U (en) * 2016-12-13 2017-11-21 江阴市高奕机械工业有限公司 Angle adjustable desk

Patent Citations (4)

* Cited by examiner, † Cited by third party
Publication number Priority date Publication date Assignee Title
CN101779861A (en) * 2010-02-26 2010-07-21 饶弘剑 Height-inclination adjustable multifunctional desk
CN203220104U (en) * 2013-05-10 2013-10-02 王腾云 Healthy multifunctional learning table
US9668571B1 (en) * 2015-09-04 2017-06-06 Kamran Ghobadi Adjustable-foldable desk
CN206565613U (en) * 2016-09-18 2017-10-20 广东红旗家具有限公司 a multifunctional table

Also Published As

Publication number Publication date
CN108354333A (en) 2018-08-03

Similar Documents

Publication Publication Date Title
CN105831981A (en) Mobile table on bed
CN202858218U (en) Folding mechanism used for folding table legs
CN106539372B (en) A kind of multi-functional furniture and multi-functional furniture component
CN108354333B (en) Multifunctional desk and chair
US2600759A (en) Combination foot lounge
CN204146648U (en) Multi-purpose folding furniture set
CN204048656U (en) Folding utility tables and chairs
CN203851998U (en) Multifunctional deformable table and chair combination
CN204734148U (en) Collapsible multi -functional desk of embedding chair formula
CN204105253U (en) Distortion multifunctional table and chair
CN2927829Y (en) multifunctional shelf bedside desk
CN209499072U (en) A kind of convenient table
TW201532558A (en) Auxiliary tabletop bookend structure
CN108294480A (en) A kind of multifunctional desk chair
CN208891882U (en) A kind of multifunctional desk chair
CN107625277B (en) Multifunctional portable bed
CN201238768Y (en) Chair
CN209518511U (en) Multifunctional desk
CN205338292U (en) Multifunctional teaching seat
CN210130615U (en) Conveniently-folded integrated table and chair
CN108260946A (en) Multifunctional desk
CN206197520U (en) Multi-functional student chair
CN203969794U (en) A kind of integrated multi-functional chair
KR102746926B1 (en) A partition with chair function
CN203986921U (en) A kind of Multifunctional foldable desk

Legal Events

Date Code Title Description
PB01 Publication
PB01 Publication
SE01 Entry into force of request for substantive examination
SE01 Entry into force of request for substantive examination
GR01 Patent grant
GR01 Patent grant
TR01 Transfer of patent right
TR01 Transfer of patent right

Effective date of registration: 20230508

Address after: 518000 101, No. 44, dacan Yangmen Industrial Zone, Xili street, Nanshan District, Shenzhen, Guangdong

Patentee after: Shenzhen meiston Furniture Co.,Ltd.

Address before: Room 201, No. 13, Mingnan Road, Zhaobaoshan Street, Zhenhai District, Ningbo City, Zhejiang Province 315200

Patentee before: NINGBO ZHENHAI DANFA MACHINERY TECHNOLOGY CO.,LTD.