CN108309364B - 一种骨髓穿刺装置 - Google Patents
一种骨髓穿刺装置 Download PDFInfo
- Publication number
- CN108309364B CN108309364B CN201810118053.1A CN201810118053A CN108309364B CN 108309364 B CN108309364 B CN 108309364B CN 201810118053 A CN201810118053 A CN 201810118053A CN 108309364 B CN108309364 B CN 108309364B
- Authority
- CN
- China
- Prior art keywords
- left end
- face
- bone rod
- cylinder
- hollow bone
- Prior art date
- Legal status (The legal status is an assumption and is not a legal conclusion. Google has not performed a legal analysis and makes no representation as to the accuracy of the status listed.)
- Expired - Fee Related
Links
- 210000001185 bone marrow Anatomy 0.000 title claims abstract description 34
- 210000000988 bone and bone Anatomy 0.000 claims abstract description 143
- 230000006835 compression Effects 0.000 claims description 13
- 238000007906 compression Methods 0.000 claims description 13
- 208000010392 Bone Fractures Diseases 0.000 claims 1
- 239000004576 sand Substances 0.000 claims 1
- 230000007847 structural defect Effects 0.000 abstract description 2
- 210000003205 muscle Anatomy 0.000 description 17
- 238000010586 diagram Methods 0.000 description 8
- 238000003780 insertion Methods 0.000 description 8
- 230000037431 insertion Effects 0.000 description 8
- 238000000034 method Methods 0.000 description 8
- 239000000843 powder Substances 0.000 description 5
- 238000000605 extraction Methods 0.000 description 4
- 210000001519 tissue Anatomy 0.000 description 3
- 238000005452 bending Methods 0.000 description 2
- 230000036461 convulsion Effects 0.000 description 2
- 238000005553 drilling Methods 0.000 description 2
- 230000000694 effects Effects 0.000 description 2
- 238000012986 modification Methods 0.000 description 2
- 230000004048 modification Effects 0.000 description 2
- 230000000149 penetrating effect Effects 0.000 description 2
- 230000001954 sterilising effect Effects 0.000 description 2
- 230000009286 beneficial effect Effects 0.000 description 1
- 210000000601 blood cell Anatomy 0.000 description 1
- 229940036811 bone meal Drugs 0.000 description 1
- 239000002374 bone meal Substances 0.000 description 1
- 230000007423 decrease Effects 0.000 description 1
- 210000002758 humerus Anatomy 0.000 description 1
- 210000001621 ilium bone Anatomy 0.000 description 1
- 230000001788 irregular Effects 0.000 description 1
- 230000035515 penetration Effects 0.000 description 1
- 210000001562 sternum Anatomy 0.000 description 1
- 210000000689 upper leg Anatomy 0.000 description 1
Images
Classifications
-
- A—HUMAN NECESSITIES
- A61—MEDICAL OR VETERINARY SCIENCE; HYGIENE
- A61B—DIAGNOSIS; SURGERY; IDENTIFICATION
- A61B10/00—Instruments for taking body samples for diagnostic purposes; Other methods or instruments for diagnosis, e.g. for vaccination diagnosis, sex determination or ovulation-period determination; Throat striking implements
- A61B10/02—Instruments for taking cell samples or for biopsy
- A61B10/0233—Pointed or sharp biopsy instruments
- A61B10/025—Pointed or sharp biopsy instruments for taking bone, bone marrow or cartilage samples
-
- A—HUMAN NECESSITIES
- A61—MEDICAL OR VETERINARY SCIENCE; HYGIENE
- A61B—DIAGNOSIS; SURGERY; IDENTIFICATION
- A61B10/00—Instruments for taking body samples for diagnostic purposes; Other methods or instruments for diagnosis, e.g. for vaccination diagnosis, sex determination or ovulation-period determination; Throat striking implements
- A61B10/02—Instruments for taking cell samples or for biopsy
- A61B10/0233—Pointed or sharp biopsy instruments
- A61B10/0283—Pointed or sharp biopsy instruments with vacuum aspiration, e.g. caused by retractable plunger or by connected syringe
-
- A—HUMAN NECESSITIES
- A61—MEDICAL OR VETERINARY SCIENCE; HYGIENE
- A61B—DIAGNOSIS; SURGERY; IDENTIFICATION
- A61B17/00—Surgical instruments, devices or methods
- A61B17/34—Trocars; Puncturing needles
- A61B17/3403—Needle locating or guiding means
-
- A—HUMAN NECESSITIES
- A61—MEDICAL OR VETERINARY SCIENCE; HYGIENE
- A61B—DIAGNOSIS; SURGERY; IDENTIFICATION
- A61B17/00—Surgical instruments, devices or methods
- A61B17/34—Trocars; Puncturing needles
- A61B2017/347—Locking means, e.g. for locking instrument in cannula
Landscapes
- Health & Medical Sciences (AREA)
- Life Sciences & Earth Sciences (AREA)
- Surgery (AREA)
- Animal Behavior & Ethology (AREA)
- Public Health (AREA)
- Engineering & Computer Science (AREA)
- Biomedical Technology (AREA)
- Heart & Thoracic Surgery (AREA)
- Medical Informatics (AREA)
- Molecular Biology (AREA)
- Pathology (AREA)
- General Health & Medical Sciences (AREA)
- Veterinary Medicine (AREA)
- Nuclear Medicine, Radiotherapy & Molecular Imaging (AREA)
- Hematology (AREA)
- Immunology (AREA)
- Orthopedic Medicine & Surgery (AREA)
- Rheumatology (AREA)
- Surgical Instruments (AREA)
- Infusion, Injection, And Reservoir Apparatuses (AREA)
Abstract
本发明属于医疗设备技术领域,具体涉及一种骨髓穿刺装置,包括外针筒,外针筒左端为斜针尖,外针筒内壁设有第二内螺纹,外针筒内套设有中空骨杆,中空骨杆外壁设有与第二内螺纹相匹配的第二外螺纹,中空骨杆左端面与外针筒斜针尖的左端面平齐,中空骨杆右端设有矩形针座,矩形针座外侧壁设有左右两组半球槽,中空骨杆内侧壁左端设有第二环形凸台,第二环形凸台左端面与中空骨杆左端面平齐,螺纹孔内螺纹连接有球头柱塞,球头柱塞的球头部分卡设在左边一组半球槽内,固定筒内部右端面设有盲孔,盲孔内设有压缩弹簧,压缩弹簧右端与固定筒固定连接。其目的是:解决现有的穿刺针结构缺陷导致的穿刺针容易堵塞,加大了患者痛楚的问题。
Description
技术领域
本发明属于医疗设备技术领域,具体涉及一种骨髓穿刺装置。
背景技术
骨髓是存在于长骨(如肱骨、股骨)的骨髓腔,扁平骨(如胸骨、肋骨)和不规则骨(髂骨、脊椎骨等)的松质骨间网眼中的一种海绵状的组织,能产生血细胞的骨髓略呈红色,称为红骨髓。
在骨髓抽取中,骨髓穿刺是一种常规的手术方式,通过把骨髓穿刺针插入人体,然后钻入人体骨骼,再抽出穿刺针中的抽芯,然后在穿刺针上接入采集真空管对骨髓进行抽取;为了把穿刺针钻入人体骨骼,现有的穿刺针外表面大多设有螺纹,螺纹钻入人体骨骼,并把穿刺针固定在骨骼上。
但是在穿刺针穿入人体骨骼时,穿刺针切割人体骨骼,形成骨粉,一旦骨粉进入穿刺针,将导致穿刺针堵塞,从而使骨髓抽取受限;同时由于穿刺针外表面存在螺纹,会导致穿刺针在穿入人体皮肤时,增强穿刺针与人体皮肤肌肉组织之间的摩擦力,导致穿入受限,加大患者的痛楚。
发明内容
本发明的目的是:旨在提供一种骨髓穿刺装置,用来解决现有的穿刺针结构缺陷导致的穿刺针容易堵塞,加大了患者痛楚的问题。
为实现上述技术目的,本发明采用的技术方案如下:
一种骨髓穿刺装置,包括外针筒,所述外针筒左端为斜针尖,所述外针筒内壁设有第二内螺纹,所述外针筒内套设有中空骨杆,所述中空骨杆外壁设有与第二内螺纹相匹配的第二外螺纹,所述中空骨杆左端面与外针筒斜针尖的左端面平齐,所述中空骨杆右端设有矩形针座,所述矩形针座外侧壁设有左右两组半球槽,所述中空骨杆内侧壁左端设有第二环形凸台,所述第二环形凸台左端面与中空骨杆左端面平齐,所述第二环形凸台内侧轮廓线呈六边形,所述第二环形凸台右端面下部开设有半圆形盲槽,所述第二环形凸台内穿设有与第二环形凸台相匹配的六棱柱,所述六棱柱左端面与中空骨杆左端面平齐,所述六棱柱右端面于中空骨杆内设有圆形凸台,所述圆形凸台左端面上部于第二环形凸台右端面设有与半圆形盲槽相匹配的半圆形卡块,所述圆形凸台右端面设有抽芯,所述矩形针座上套设有右端为封闭式结构的固定筒,所述固定筒侧壁于右边一组半球槽对应位置径向设有螺纹孔,所述螺纹孔内螺纹连接有球头柱塞,所述球头柱塞的球头部分卡设在左边一组半球槽内,所述固定筒内部右端面设有盲孔,所述盲孔内设有压缩弹簧,所述压缩弹簧右端与固定筒固定连接。
采用上述技术方案的发明,通过外针筒包覆中空骨杆,在中空骨杆外壁设置第二外螺纹,使用中空骨杆对人体骨骼钻入人体骨骼,中空骨杆不与人体皮肤肌肉组织接触,而外针筒表面光滑,与人体皮肤肌肉组织摩擦力小,减小患者的痛楚;在使用中空骨杆钻入人体骨骼时,六棱柱完全堵住中空骨杆前端的通孔,可避免中空骨杆切割人体骨骼形成的骨粉进入中空骨杆,导致中空骨杆的堵塞;当骨髓穿刺装置在穿入人体皮肤肌肉组织时,中空骨杆左端面被六棱柱完全封闭,可避免在外针筒插入人体皮肤肌肉组织时,人体皮肤肌肉组织残留在中空骨杆内,同时外针筒、中空骨杆和六棱柱的左端面均为一个平面,形成光滑平面,有利于外针筒的插入;在外针筒插入过程中,抽芯被固定在中空骨杆内,左端由第二环形凸台顶住,可避免六棱柱左端面凸出中空骨杆左端面,有利于外针筒的插入;抽芯后端由固定筒的盲孔内的压缩弹簧固定,固定筒由球头柱塞与中空骨杆固定连接,此时球头柱塞卡设在右方一组半球槽内,完成固定筒与中空骨杆的固定连接,可避免抽芯在外针筒插入过程中向右移动,导致六棱柱左端面不与中空骨杆左端面平齐,使肌肉皮肤组织进入中空骨杆,造成中空骨杆堵塞;在使用中空骨杆钻入人体骨骼时,半圆形卡块卡设在半圆形盲槽内,使六棱柱凸出中空骨杆的左端面,形成两个尖端,有利于对人体骨骼的切割,使中空骨杆更容易地钻入人体骨骼,抽芯后端由固定筒的盲孔内的压缩弹簧固定,固定筒由球头柱塞与中空骨杆固定连接,此时球头柱塞卡设在左方一组半球槽内,完成固定筒与中空骨杆的固定连接,可避免抽芯在中空骨杆钻入过程中向右移动,使骨粉进入中空骨杆,导致堵塞。
进一步限定,所述固定筒右端上下两侧设有耳板。这样的结构设计,在旋转固定筒时,更加省力。
进一步限定,所述六棱柱上端面轴向设有贯穿圆形凸台和半圆形卡块的贯穿槽。这样的结构设计,在抽芯抽出时,贯穿槽的存在不会产生活塞效应,从而能够有效避免引流设备连接前的污染产生的情况。
进一步限定,所述抽芯右部于矩形针座内设有定位凸台。这样的结构设计,通过定位凸台与中空骨杆的配合,使抽芯的轴线与中空骨杆的轴线更好地保持一致,减少抽芯在受到固定筒挤压时,抽芯产生的弯曲,实用性更强。
进一步限定,所述外针筒右部外壁设有第一环形凸台,所述第一环形凸台外壁设有第一外螺纹,所述外针筒外壁于第一环形凸台左方设有第一凹槽,所述第一环形凸台上套设有压套,所述压套内侧壁设有与第一外螺纹相匹配的第一内螺纹,所述外针筒于压套左方套设有压板,所述压板侧面设有与外针筒相匹配的第一通孔,所述压板于第一通孔内壁设有与第一凹槽相匹配的第一凸条。这样的结构设计,可在手术开始前从外针筒左端旋入压套,使外针筒与压套螺纹连接,使压套位于最右端位置,然后从外针筒左端套入压板,使压板的第一凸条卡入第一凹槽内,从而在外针筒穿入皮肤后,下压压板,使压板接触人体皮肤,然后旋转压套,至压板右端面,从而把压板压在人体表面,在使用中空骨杆钻入人体骨骼时,抓住压板,可避免外针筒转动。
进一步限定,所述压套左端面固定连接有卡环,所述卡环内径尺寸大于外针筒的外径尺寸、且小于第一环形凸台的外径尺寸。这样的结构设计,为压套距离外针筒左端面的最大距离进行限定,防止压套在向右移动时,脱离第一环形凸台。
进一步限定,所述中空骨杆上还套设有锁定螺母,所述锁定螺母的内螺纹与第二外螺纹相匹配。这样的结构设计,在把中空骨杆从外针筒右方旋入外针筒前,在中空骨杆上旋入锁定螺母,在中空骨杆左端面与外针筒斜针尖的左端面调节平齐后,把锁定螺母旋转向左移动,顶紧外针筒的右端面,这样在外针筒刺入人体皮肤及肌肉组织时,可避免中空骨杆和外针筒发生相对移动,从而保证中空骨杆和外针筒的左端面保证平齐,使穿刺更加顺利。
本发明还公开了一种骨髓穿刺方法,包括以下步骤:
1)把中空骨杆从外针筒右方旋入外针筒,直至中空骨杆左端面与外针筒斜针尖的左端面平齐;
2)在六棱柱左端面与中空骨杆左端面平行的情况下,从中空骨杆右方插入抽芯,直至半圆形卡块左端面顶在第二环形凸台的右端面上,此时六棱柱左端面与中空骨杆左端面平齐;
3)在矩形针座右方套入固定筒,使抽芯右端套入盲孔内,压迫压缩弹簧,把固定筒继续向左推动,使弹簧柱塞卡入右边一组半圆形盲槽内;
4)在对人体进行消毒处理后,把组装好后的外针筒插入人体皮肤肌肉组织,直至外针筒的斜针尖部分接触人体骨骼;
5)一只手抓住外针筒,另一只手把固定筒向右拉动,使固定筒脱离矩形针座,露出抽芯右端;
6)抓住抽芯右端,把抽芯向右抽动,使六棱柱脱离第二环形凸台,然后围绕抽芯中轴线把抽芯旋转180°,再重新把抽芯向左推动,使六棱柱重新进入第二环形凸台,此时,半圆形卡块卡设在半圆形盲槽内,六棱柱左端凸出中空骨杆左端面,且六棱柱把第二环形凸台完全封堵;
7)重新在矩形针座右方套入固定筒,使抽芯右端套入盲孔内,压迫压缩弹簧,把固定筒继续向左推动,使弹簧柱塞卡入左边一组半圆形盲槽内;
8)一只手抓住压板,另一只手抓住固定筒并旋转,使中空骨杆钻入人体骨骼;
9)当固定筒对手的阻力明显变小后,此时,中空骨杆固定在人体骨骼上,然后取下固定筒和抽芯,在矩形针座上连接采集真空管,即可对骨髓进行抽取。
附图说明
本发明可以通过附图给出的非限定性实施例进一步说明;
图1为本发明一种骨髓穿刺装置实施例的结构示意图;
图2为图1的剖视结构示意图;
图3为本发明一种骨髓穿刺装置实施例中外针筒的结构示意图;
图4为本发明一种骨髓穿刺装置实施例中中空骨杆的结构示意图;
图5为图4的剖视结构示意图;
图6为本发明一种骨髓穿刺装置实施例中抽芯的结构示意图;
图7为本发明一种骨髓穿刺装置实施例中固定筒的结构示意图;
图8为本发明一种骨髓穿刺装置实施例中抽芯旋转180°后的结构示意图;
图9为为图8的剖视结构示意图;
主要元件符号说明如下:
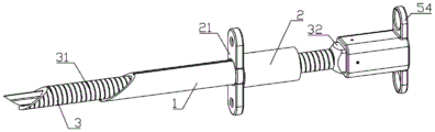
外针筒1、第一环形凸台11、第一凹槽12、第二内螺纹13、压套2、压板21、中空骨杆3、第二外螺纹31、矩形针座32、半球槽321、第二环形凸台33、半圆形盲槽331、六棱柱4、圆形凸台41、半圆形卡块42、贯穿槽421、抽芯43、定位凸台44、固定筒5、球头柱塞51、盲孔52、压缩弹簧53、耳板54。
具体实施方式
为了使本领域的技术人员可以更好地理解本发明,下面结合附图和实施例对本发明技术方案进一步说明。
如图1~图9所示,本发明的一种骨髓穿刺装置,包括外针筒1,外针筒1左端为斜针尖,外针筒1内壁设有第二内螺纹13,外针筒1内套设有中空骨杆3,中空骨杆3外壁设有与第二内螺纹13相匹配的第二外螺纹31,中空骨杆3左端面与外针筒1斜针尖的左端面平齐,中空骨杆3右端设有矩形针座32,矩形针座32外侧壁设有左右两组半球槽321,中空骨杆3内侧壁左端设有第二环形凸台33,第二环形凸台33左端面与中空骨杆3左端面平齐,第二环形凸台33内侧轮廓线呈六边形,第二环形凸台33右端面下部开设有半圆形盲槽331,第二环形凸台33内穿设有与第二环形凸台33相匹配的六棱柱4,六棱柱4左端面与中空骨杆3左端面平齐,六棱柱4右端面于中空骨杆3内设有圆形凸台41,圆形凸台41左端面上部于第二环形凸台33右端面设有与半圆形盲槽331相匹配的半圆形卡块42,圆形凸台41右端面设有抽芯43,矩形针座32上套设有右端为封闭式结构的固定筒5,固定筒5侧壁于右边一组半球槽321对应位置径向设有螺纹孔,螺纹孔内螺纹连接有球头柱塞51,球头柱塞51的球头部分卡设在左边一组半球槽321内,固定筒5内部右端面设有盲孔52,盲孔52内设有压缩弹簧53,压缩弹簧53右端与固定筒5固定连接。
本实施例中,通过外针筒1包覆中空骨杆3,在中空骨杆3外壁设置第二外螺纹31,使用中空骨杆3对人体骨骼钻入人体骨骼,中空骨杆3不与人体皮肤肌肉组织接触,而外针筒1表面光滑,与人体皮肤肌肉组织摩擦力小,减小患者的痛楚;在使用中空骨杆3钻入人体骨骼时,六棱柱4完全堵住中空骨杆3前端的通孔,可避免中空骨杆3切割人体骨骼形成的骨粉进入中空骨杆3,导致中空骨杆3的堵塞;当骨髓穿刺装置在穿入人体皮肤肌肉组织时,中空骨杆3左端面被六棱柱4完全封闭,可避免在外针筒1插入人体皮肤肌肉组织时,人体皮肤肌肉组织残留在中空骨杆3内,同时外针筒1、中空骨杆3和六棱柱4的左端面均为一个平面,形成光滑平面,有利于外针筒1的插入;在外针筒1插入过程中,抽芯43被固定在中空骨杆3内,左端由第二环形凸台33顶住,可避免六棱柱4左端面凸出中空骨杆3左端面,有利于外针筒1的插入;抽芯43后端由固定筒5的盲孔52内的压缩弹簧53固定,固定筒5由球头柱塞51与中空骨杆3固定连接,此时球头柱塞51卡设在右方一组半球槽321内,完成固定筒5与中空骨杆3的固定连接,可避免抽芯43在外针筒1插入过程中向右移动,导致六棱柱4左端面不与中空骨杆3左端面平齐,使肌肉皮肤组织进入中空骨杆3,造成中空骨杆3堵塞;在使用中空骨杆3钻入人体骨骼时,半圆形卡块42卡设在半圆形盲槽331内,使六棱柱4凸出中空骨杆3的左端面,形成两个尖端,有利于对人体骨骼的切割,使中空骨杆3更容易地钻入人体骨骼,抽芯43后端由固定筒5的盲孔52内的压缩弹簧53固定,固定筒5由球头柱塞51与中空骨杆3固定连接,此时球头柱塞51卡设在左方一组半球槽321内,完成固定筒5与中空骨杆3的固定连接,可避免抽芯43在中空骨杆3钻入过程中向右移动,使骨粉进入中空骨杆3,导致堵塞。
优选,固定筒5右端上下两侧设有耳板54。这样的结构设计,在旋转固定筒5时,更加省力。实际上,也可根据实际情况,考虑其他能使固定筒5在旋转时更加省力的结构设计。
优选,六棱柱4上端面轴向设有贯穿圆形凸台41和半圆形卡块42的贯穿槽421。这样的结构设计,在抽芯43抽出时,贯穿槽421的存在不会产生活塞效应,从而能够有效避免引流设备连接前的污染产生的情况。实际上,也可根据实际情况,具体考虑。
优选,抽芯43右部于矩形针座32内设有定位凸台44。这样的结构设计,通过定位凸台44与中空骨杆3的配合,使抽芯43的轴线与中空骨杆3的轴线更好地保持一致,减少抽芯43在受到固定筒5挤压时,抽芯43产生的弯曲,实用性更强。实际上,也可根据实际情况,考虑其他定位的结构设计。
优选,外针筒1右部外壁设有第一环形凸台11,第一环形凸台11外壁设有第一外螺纹,外针筒1外壁于第一环形凸台11左方设有第一凹槽12,第一环形凸台11上套设有压套2,压套2内侧壁设有与第一外螺纹相匹配的第一内螺纹,外针筒1于压套2左方套设有压板21,压板21侧面设有与外针筒1相匹配的第一通孔,压板21于第一通孔内壁设有与第一凹槽12相匹配的第一凸条。这样的结构设计,可在手术开始前从外针筒1左端旋入压套2,使外针筒1与压套2螺纹连接,使压套2位于最右端位置,然后从外针筒1左端套入压板21,使压板21的第一凸条卡入第一凹槽12内,从而在外针筒1穿入皮肤后,下压压板21,使压板21接触人体皮肤,然后旋转压套2,至压板21右端面,从而把压板21压在人体表面,在使用中空骨杆3钻入人体骨骼时,抓住压板21,可避免外针筒1转动。实际上,也可根据实际情况,具体考虑。
优选,压套2左端面固定连接有卡环,卡环内径尺寸大于外针筒1的外径尺寸、且小于第一环形凸台11的外径尺寸。这样的结构设计,为压套2距离外针筒1左端面的最大距离进行限定,防止压套2在向右移动时,脱离第一环形凸台11。实际上,也可根据实际情况,考虑其他限位的结构设计。
优选,中空骨杆3上还套设有锁定螺母,锁定螺母的内螺纹与第二外螺纹31相匹配。这样的结构设计,在把中空骨杆3从外针筒1右方旋入外针筒1前,在中空骨杆3上旋入锁定螺母,在中空骨杆3左端面与外针筒1斜针尖的左端面调节平齐后,把锁定螺母旋转向左移动,顶紧外针筒1的右端面,这样在外针筒1刺入人体皮肤及肌肉组织时,可避免中空骨杆3和外针筒1发生相对移动,从而保证中空骨杆3和外针筒1的左端面保证平齐,使穿刺更加顺利。
本发明还公开了一种骨髓穿刺方法,包括以下步骤:
1)把中空骨杆3从外针筒1右方旋入外针筒1,直至中空骨杆3左端面与外针筒1斜针尖的左端面平齐;
2)在六棱柱4左端面与中空骨杆3左端面平行的情况下,从中空骨杆3右方插入抽芯43,直至半圆形卡块42左端面顶在第二环形凸台33的右端面上,此时六棱柱4左端面与中空骨杆3左端面平齐;
3)在矩形针座32右方套入固定筒5,使抽芯43右端套入盲孔52内,压迫压缩弹簧53,把固定筒5继续向左推动,使弹簧柱塞53卡入右边一组半圆形盲槽331内;
4)在对人体进行消毒处理后,把组装好后的外针筒1插入人体皮肤肌肉组织,直至外针筒1的斜针尖部分接触人体骨骼;
5)一只手抓住外针筒1,另一只手把固定筒5向右拉动,使固定筒5脱离矩形针座32,露出抽芯43右端;
6)抓住抽芯43右端,把抽芯43向右抽动,使六棱柱4脱离第二环形凸台33,然后围绕抽芯43中轴线把抽芯43旋转180°,再重新把抽芯43向左推动,使六棱柱4重新进入第二环形凸台33,此时,半圆形卡块42卡设在半圆形盲槽331内,六棱柱4左端凸出中空骨杆3左端面,且六棱柱4把第二环形凸台33完全封堵;
7)重新在矩形针座32右方套入固定筒5,使抽芯43右端套入盲孔52内,压迫压缩弹簧53,把固定筒5继续向左推动,使弹簧柱塞53卡入左边一组半圆形盲槽331内;
8)一只手抓住压板21,另一只手抓住固定筒5并旋转,使中空骨杆3钻入人体骨骼;
9)当固定筒5对手的阻力明显变小后,此时,中空骨杆3固定在人体骨骼上,然后取下固定筒5和抽芯43,在矩形针座32上连接采集真空管,即可对骨髓进行抽取。
以上对本发明提供的一种骨髓穿刺装置进行了详细介绍。具体实施例的说明只是用于帮助理解本发明的方法及其核心思想。应当指出,对于本技术领域的普通技术人员来说,在不脱离本发明原理的前提下,还可以对本发明进行若干改进和修饰,这些改进和修饰也落入本发明权利要求的保护范围内。
Claims (7)
1.一种骨髓穿刺装置,其特征在于:包括外针筒(1),所述外针筒(1)左端为斜针尖,所述外针筒(1)内壁设有第二内螺纹(13),所述外针筒(1)内套设有中空骨杆(3),所述中空骨杆(3)外壁设有与第二内螺纹(13)相匹配的第二外螺纹(31),所述中空骨杆(3)左端面与外针筒(1)斜针尖的左端面平齐,所述中空骨杆(3)右端设有矩形针座(32),所述矩形针座(32)外侧壁设有左右两组半球槽(321),所述中空骨杆(3)内侧壁左端设有第二环形凸台(33),所述第二环形凸台(33)左端面与中空骨杆(3)左端面平齐,所述第二环形凸台(33)内侧轮廓线呈六边形,所述第二环形凸台(33)右端面下部开设有半圆形盲槽(331),所述第二环形凸台(33)内穿设有与第二环形凸台(33)相匹配的六棱柱(4),所述六棱柱(4)左端面与中空骨杆(3)左端面平齐,所述六棱柱(4)右端面于中空骨杆(3)内设有圆形凸台(41),所述圆形凸台(41)左端面上部于第二环形凸台(33)右端面设有与半圆形盲槽(331)相匹配的半圆形卡块(42),所述圆形凸台(41)右端面设有抽芯(43),所述矩形针座(32)上套设有右端为封闭式结构的固定筒(5),所述固定筒(5)侧壁于右边一组半球槽(321)对应位置径向设有螺纹孔,所述螺纹孔内螺纹连接有球头柱塞(51),所述球头柱塞(51)的球头部分卡设在左边一组半球槽(321)内,所述固定筒(5)内部右端面设有盲孔(52),所述盲孔(52)内设有压缩弹簧(53),所述压缩弹簧(53)右端与固定筒(5)固定连接。
2.根据权利要求1所述的一种骨髓穿刺装置,其特征在于:所述固定筒(5)右端上下两侧设有耳板(54)。
3.根据权利要求2所述的一种骨髓穿刺装置,其特征在于:所述六棱柱(4)上端面轴向设有贯穿圆形凸台(41)和半圆形卡块(42)的贯穿槽(421)。
4.根据权利要求3所述的一种骨髓穿刺装置,其特征在于:所述抽芯(43)右部于矩形针座(32)内设有定位凸台(44)。
5.根据权利要求4所述的一种骨髓穿刺装置,其特征在于:所述外针筒(1)右部外壁设有第一环形凸台(11),所述第一环形凸台(11)外壁设有第一外螺纹,所述外针筒(1)外壁于第一环形凸台(11)左方设有第一凹槽(12),所述第一环形凸台(11)上套设有压套(2),所述压套(2)内侧壁设有与第一外螺纹相匹配的第一内螺纹,所述外针筒(1)于压套(2)左方套设有压板(21),所述压板(21)侧面设有与外针筒(1)相匹配的第一通孔,所述压板(21)于第一通孔内壁设有与第一凹槽(12)相匹配的第一凸条。
6.根据权利要求5所述的一种骨髓穿刺装置,其特征在于:所述压套(2)左端面固定连接有卡环,所述卡环内径尺寸大于外针筒(1)的外径尺寸、且小于第一环形凸台(11)的外径尺寸。
7.根据权利要求6所述的一种骨髓穿刺装置,其特征在于:所述中空骨杆(3)上还套设有锁定螺母,所述锁定螺母的内螺纹与第二外螺纹(31)相匹配。
Priority Applications (1)
| Application Number | Priority Date | Filing Date | Title |
|---|---|---|---|
| CN201810118053.1A CN108309364B (zh) | 2018-02-06 | 2018-02-06 | 一种骨髓穿刺装置 |
Applications Claiming Priority (1)
| Application Number | Priority Date | Filing Date | Title |
|---|---|---|---|
| CN201810118053.1A CN108309364B (zh) | 2018-02-06 | 2018-02-06 | 一种骨髓穿刺装置 |
Publications (2)
| Publication Number | Publication Date |
|---|---|
| CN108309364A CN108309364A (zh) | 2018-07-24 |
| CN108309364B true CN108309364B (zh) | 2020-12-22 |
Family
ID=62901995
Family Applications (1)
| Application Number | Title | Priority Date | Filing Date |
|---|---|---|---|
| CN201810118053.1A Expired - Fee Related CN108309364B (zh) | 2018-02-06 | 2018-02-06 | 一种骨髓穿刺装置 |
Country Status (1)
| Country | Link |
|---|---|
| CN (1) | CN108309364B (zh) |
Families Citing this family (5)
| Publication number | Priority date | Publication date | Assignee | Title |
|---|---|---|---|---|
| CN109512471B (zh) * | 2018-11-28 | 2021-08-06 | 陕西省肿瘤医院 | 一种骨髓活检穿刺取样装置 |
| CN110559019B (zh) * | 2019-08-26 | 2020-11-24 | 吉林大学 | 一种测定造血干细胞移植后患者骨髓微循环环境检测装置 |
| WO2021207876A1 (zh) * | 2020-04-13 | 2021-10-21 | 苏州市立普医疗科技有限公司 | 一种一次性细胞学活检针 |
| CN113576619A (zh) * | 2020-08-17 | 2021-11-02 | 重庆橙壹科技有限公司 | 一种用于外科手术包含径向卡块的套管组件 |
| CN118593026A (zh) * | 2024-06-21 | 2024-09-06 | 溧阳市人民医院 | 骨髓穿刺用防堵塞针管组件 |
Citations (8)
| Publication number | Priority date | Publication date | Assignee | Title |
|---|---|---|---|---|
| CN202960592U (zh) * | 2012-11-23 | 2013-06-05 | 王昭睿 | 小儿骨髓穿刺针 |
| KR20150078294A (ko) * | 2013-12-30 | 2015-07-08 | 홍유리 | 매선도구 |
| CN105193480A (zh) * | 2015-11-02 | 2015-12-30 | 山东省千佛山医院 | 骨髓穿刺针 |
| CN205411267U (zh) * | 2015-12-02 | 2016-08-03 | 南昌大学第二附属医院 | 一种防堵骨髓穿刺针组件 |
| CN205831833U (zh) * | 2016-06-23 | 2016-12-28 | 袁晓钰 | 一种血液内科骨髓穿刺抽取装置 |
| CN106308853A (zh) * | 2016-08-17 | 2017-01-11 | 中国人民解放军第三军医大学第二附属医院 | 一种血液科骨髓穿刺针 |
| CN206621376U (zh) * | 2016-11-10 | 2017-11-10 | 王彩虹 | 一种骨髓穿刺装置 |
| CN206809296U (zh) * | 2017-01-14 | 2017-12-29 | 梁艳 | 成人骨髓活检针 |
Family Cites Families (4)
| Publication number | Priority date | Publication date | Assignee | Title |
|---|---|---|---|---|
| US7413562B2 (en) * | 2001-03-15 | 2008-08-19 | Specialized Health Products, Inc. | Safety shield for medical needles |
| EP2064997B1 (en) * | 2002-05-31 | 2011-04-27 | Vidacare Corporation | Apparatus to access the bone marrow |
| US20130150752A1 (en) * | 2011-12-12 | 2013-06-13 | Karl W. Swann | Apparatus for Bone Aspiration |
| FR3013958B1 (fr) * | 2013-12-03 | 2017-11-03 | Thierry Masseglia | Trocart a biopsie. |
-
2018
- 2018-02-06 CN CN201810118053.1A patent/CN108309364B/zh not_active Expired - Fee Related
Patent Citations (8)
| Publication number | Priority date | Publication date | Assignee | Title |
|---|---|---|---|---|
| CN202960592U (zh) * | 2012-11-23 | 2013-06-05 | 王昭睿 | 小儿骨髓穿刺针 |
| KR20150078294A (ko) * | 2013-12-30 | 2015-07-08 | 홍유리 | 매선도구 |
| CN105193480A (zh) * | 2015-11-02 | 2015-12-30 | 山东省千佛山医院 | 骨髓穿刺针 |
| CN205411267U (zh) * | 2015-12-02 | 2016-08-03 | 南昌大学第二附属医院 | 一种防堵骨髓穿刺针组件 |
| CN205831833U (zh) * | 2016-06-23 | 2016-12-28 | 袁晓钰 | 一种血液内科骨髓穿刺抽取装置 |
| CN106308853A (zh) * | 2016-08-17 | 2017-01-11 | 中国人民解放军第三军医大学第二附属医院 | 一种血液科骨髓穿刺针 |
| CN206621376U (zh) * | 2016-11-10 | 2017-11-10 | 王彩虹 | 一种骨髓穿刺装置 |
| CN206809296U (zh) * | 2017-01-14 | 2017-12-29 | 梁艳 | 成人骨髓活检针 |
Non-Patent Citations (2)
| Title |
|---|
| Evaluation of a Powered Intraosseous Device for Bone Marrow Sampling;Cohen S C , Soroka J M;《biology of blood & marrow transplantation》;20081231;全文 * |
| 骨髓血干细胞采集及肝内移植过程故障的应对探讨;曹葆强, 林继宗, 许瑞云;《中华全科医学》;20090930;全文 * |
Also Published As
| Publication number | Publication date |
|---|---|
| CN108309364A (zh) | 2018-07-24 |
Similar Documents
| Publication | Publication Date | Title |
|---|---|---|
| CN108309364B (zh) | 一种骨髓穿刺装置 | |
| CN206526078U (zh) | 一种微创式取骨器 | |
| CN201079439Y (zh) | 集螺筒、螺丝刀于一体的断钉取出器 | |
| CN203662891U (zh) | 一种架式加压多用导向器 | |
| CN201790888U (zh) | 医用灌注式动力髋螺钉 | |
| CN203576629U (zh) | 一种带有内螺纹的断钉取出器 | |
| CN108324357B (zh) | 一种微创漂移固定支架装置 | |
| CN201070384Y (zh) | 组合式骨折固定器 | |
| CN118680604B (zh) | 骨髓活检取样装置 | |
| CN101579255A (zh) | 一种多种交锁髓内钉取出器 | |
| CN202235657U (zh) | 一种可以进行有效加压的螺钉装置 | |
| CN210843184U (zh) | 骨髓活检针 | |
| CN109223147B (zh) | 一种易拔出型骨针 | |
| CN203802552U (zh) | 骨折复位提拉针 | |
| CN218075129U (zh) | 一种环钻取骨器 | |
| CN208910458U (zh) | 骨水泥螺钉的安装工具 | |
| CN107212915A (zh) | 一种微创针刀 | |
| CN102151171A (zh) | 骨科断钉取出器及其使用方法 | |
| CN212490111U (zh) | 一种螺纹球头骨圆针 | |
| CN208447762U (zh) | 一种骨外科用克氏针进针装置 | |
| CN203841771U (zh) | 经皮螺纹髓芯骨肿瘤活检穿刺针 | |
| CN221751474U (zh) | 一种用于穴位埋线的针灸工装 | |
| CN209932826U (zh) | 一种消化内科活检取样器 | |
| CN213525381U (zh) | 一种骨减压针刀 | |
| CN204158462U (zh) | 一种膀胱造瘘穿刺针 |
Legal Events
| Date | Code | Title | Description |
|---|---|---|---|
| PB01 | Publication | ||
| PB01 | Publication | ||
| SE01 | Entry into force of request for substantive examination | ||
| SE01 | Entry into force of request for substantive examination | ||
| GR01 | Patent grant | ||
| GR01 | Patent grant | ||
| CF01 | Termination of patent right due to non-payment of annual fee |
Granted publication date: 20201222 Termination date: 20220206 |
|
| CF01 | Termination of patent right due to non-payment of annual fee |