CN107961106B - A lumbar multidimensional traction device - Google Patents
A lumbar multidimensional traction device Download PDFInfo
- Publication number
- CN107961106B CN107961106B CN201711132947.8A CN201711132947A CN107961106B CN 107961106 B CN107961106 B CN 107961106B CN 201711132947 A CN201711132947 A CN 201711132947A CN 107961106 B CN107961106 B CN 107961106B
- Authority
- CN
- China
- Prior art keywords
- arm
- swing angle
- plate
- hydraulic cylinder
- leg plate
- Prior art date
- Legal status (The legal status is an assumption and is not a legal conclusion. Google has not performed a legal analysis and makes no representation as to the accuracy of the status listed.)
- Active
Links
Images
Classifications
-
- A—HUMAN NECESSITIES
- A61—MEDICAL OR VETERINARY SCIENCE; HYGIENE
- A61F—FILTERS IMPLANTABLE INTO BLOOD VESSELS; PROSTHESES; DEVICES PROVIDING PATENCY TO, OR PREVENTING COLLAPSING OF, TUBULAR STRUCTURES OF THE BODY, e.g. STENTS; ORTHOPAEDIC, NURSING OR CONTRACEPTIVE DEVICES; FOMENTATION; TREATMENT OR PROTECTION OF EYES OR EARS; BANDAGES, DRESSINGS OR ABSORBENT PADS; FIRST-AID KITS
- A61F5/00—Orthopaedic methods or devices for non-surgical treatment of bones or joints; Nursing devices ; Anti-rape devices
- A61F5/01—Orthopaedic devices, e.g. long-term immobilising or pressure directing devices for treating broken or deformed bones such as splints, casts or braces
- A61F5/04—Devices for stretching or reducing fractured limbs; Devices for distractions; Splints
- A61F5/042—Devices for stretching or reducing fractured limbs; Devices for distractions; Splints for extension or stretching
-
- A—HUMAN NECESSITIES
- A61—MEDICAL OR VETERINARY SCIENCE; HYGIENE
- A61F—FILTERS IMPLANTABLE INTO BLOOD VESSELS; PROSTHESES; DEVICES PROVIDING PATENCY TO, OR PREVENTING COLLAPSING OF, TUBULAR STRUCTURES OF THE BODY, e.g. STENTS; ORTHOPAEDIC, NURSING OR CONTRACEPTIVE DEVICES; FOMENTATION; TREATMENT OR PROTECTION OF EYES OR EARS; BANDAGES, DRESSINGS OR ABSORBENT PADS; FIRST-AID KITS
- A61F5/00—Orthopaedic methods or devices for non-surgical treatment of bones or joints; Nursing devices ; Anti-rape devices
- A61F5/01—Orthopaedic devices, e.g. long-term immobilising or pressure directing devices for treating broken or deformed bones such as splints, casts or braces
- A61F5/0102—Orthopaedic devices, e.g. long-term immobilising or pressure directing devices for treating broken or deformed bones such as splints, casts or braces specially adapted for correcting deformities of the limbs or for supporting them; Ortheses, e.g. with articulations
- A61F5/0104—Orthopaedic devices, e.g. long-term immobilising or pressure directing devices for treating broken or deformed bones such as splints, casts or braces specially adapted for correcting deformities of the limbs or for supporting them; Ortheses, e.g. with articulations without articulation
-
- A—HUMAN NECESSITIES
- A61—MEDICAL OR VETERINARY SCIENCE; HYGIENE
- A61H—PHYSICAL THERAPY APPARATUS, e.g. DEVICES FOR LOCATING OR STIMULATING REFLEX POINTS IN THE BODY; ARTIFICIAL RESPIRATION; MASSAGE; BATHING DEVICES FOR SPECIAL THERAPEUTIC OR HYGIENIC PURPOSES OR SPECIFIC PARTS OF THE BODY
- A61H1/00—Apparatus for passive exercising; Vibrating apparatus; Chiropractic devices, e.g. body impacting devices, external devices for briefly extending or aligning unbroken bones
- A61H1/02—Stretching or bending or torsioning apparatus for exercising
- A61H1/0218—Drawing-out devices
- A61H1/0222—Traction tables
-
- A—HUMAN NECESSITIES
- A61—MEDICAL OR VETERINARY SCIENCE; HYGIENE
- A61H—PHYSICAL THERAPY APPARATUS, e.g. DEVICES FOR LOCATING OR STIMULATING REFLEX POINTS IN THE BODY; ARTIFICIAL RESPIRATION; MASSAGE; BATHING DEVICES FOR SPECIAL THERAPEUTIC OR HYGIENIC PURPOSES OR SPECIFIC PARTS OF THE BODY
- A61H1/00—Apparatus for passive exercising; Vibrating apparatus; Chiropractic devices, e.g. body impacting devices, external devices for briefly extending or aligning unbroken bones
- A61H1/02—Stretching or bending or torsioning apparatus for exercising
- A61H1/0292—Stretching or bending or torsioning apparatus for exercising for the spinal column
-
- A—HUMAN NECESSITIES
- A61—MEDICAL OR VETERINARY SCIENCE; HYGIENE
- A61H—PHYSICAL THERAPY APPARATUS, e.g. DEVICES FOR LOCATING OR STIMULATING REFLEX POINTS IN THE BODY; ARTIFICIAL RESPIRATION; MASSAGE; BATHING DEVICES FOR SPECIAL THERAPEUTIC OR HYGIENIC PURPOSES OR SPECIFIC PARTS OF THE BODY
- A61H2205/00—Devices for specific parts of the body
- A61H2205/08—Trunk
Landscapes
- Health & Medical Sciences (AREA)
- Life Sciences & Earth Sciences (AREA)
- Veterinary Medicine (AREA)
- Public Health (AREA)
- General Health & Medical Sciences (AREA)
- Animal Behavior & Ethology (AREA)
- Biomedical Technology (AREA)
- Engineering & Computer Science (AREA)
- Orthopedic Medicine & Surgery (AREA)
- Vascular Medicine (AREA)
- Heart & Thoracic Surgery (AREA)
- Nursing (AREA)
- Epidemiology (AREA)
- Pain & Pain Management (AREA)
- Physical Education & Sports Medicine (AREA)
- Rehabilitation Therapy (AREA)
- Neurology (AREA)
- Orthopedics, Nursing, And Contraception (AREA)
Abstract
本发明涉及一种腰椎多维牵引装置,包括床体钢架、设置在床体钢架顶部的头胸板、通过铰链铰接固定在床体钢架一侧的弓形支臂、固定安装在弓形支臂上的臂腿板、设置在弓形支臂底部用于驱动弓形支臂绕着铰链转动的成角单元、设置在头胸板下部用于实现腰椎拉伸的拉伸单元、设置在臂腿板和弓形支臂之间用于驱动臂腿板实现水平摆动的摆角单元以及设置在臂腿板和弓形支臂之间用于驱动臂腿板实现旋转的旋转单元。与现有技术相比,本发明通过三个液压缸和一个直线电机实现牵引系统的水平牵引,并可以完成旋转、摆角和成角功能。
The invention relates to a multi-dimensional traction device for lumbar vertebrae. The arm and leg plate, the angled unit arranged at the bottom of the arcuate support arm for driving the arcuate support arm to rotate around the hinge, the stretching unit arranged at the lower part of the head and thoracic plate to realize the stretching of the lumbar spine, and the arm and leg plate and the arcuate support. A swing angle unit between the arms for driving the arm leg plate to achieve horizontal swing, and a rotation unit arranged between the arm leg plate and the arcuate support arm for driving the arm leg plate to realize rotation. Compared with the prior art, the present invention realizes the horizontal traction of the traction system through three hydraulic cylinders and a linear motor, and can complete the functions of rotation, swing angle and angle formation.
Description
技术领域technical field
本发明涉及腰椎间盘突出症治疗领域,具体涉及一种腰椎多维牵引装置。The invention relates to the field of treatment of lumbar intervertebral disc herniation, in particular to a lumbar multidimensional traction device.
背景技术Background technique
腰椎间盘突出症、颈椎病、胸腰椎后关节紊乱症及脊柱相关疾病等脊柱椎骨间软组织损伤类疾病(简称椎间病)是一些常见顽症。相关调查显示,我国中老年人群中97%患有脊椎疾病,近年来,又呈现出年轻化的趋势,在45岁以下的人群中,40%以上的人患有各种类型的脊椎疾病,儿童脊柱侧弯症的发病率高达25%以上。随着我国社会的不断发展,办公室白领以及学生教师等人群由于长期缺乏有效的活动锻炼,久坐不动,长期积累将造成脊椎损伤,另外腰部损伤也长期影响广大机动车驾驶员的生活,这使得腰椎牵引系统的应用人群从传统的体力劳动者为主扩展到更广泛的腰部损伤人群。Lumbar intervertebral disc herniation, cervical spondylosis, thoracolumbar posterior joint disorders and spinal related diseases and other spinal intervertebral soft tissue injuries (referred to as intervertebral disease) are some common stubborn diseases. Relevant surveys show that 97% of the middle-aged and elderly people in my country suffer from spinal diseases. In recent years, there has been a trend of younger people. Among people under the age of 45, more than 40% suffer from various types of spinal diseases. Children The incidence of scoliosis is as high as 25%. With the continuous development of our society, office white-collar workers, students, teachers and other people have been sedentary for a long time due to the long-term lack of effective activities and exercise, and long-term accumulation will cause spinal injuries. In addition, waist injuries will also affect the lives of motor vehicle drivers for a long time. The application of the lumbar traction system has expanded from traditional manual workers to a wider range of people with lumbar injuries.
市场上已有许许多多不同类型的牵引床包括电动式牵引床、自重式电动牵引床、手轮式机械牵引床以及能按摩、熏蒸的多功能牵引床等。比较国内外牵引床发现都存在以下的缺点或不足:首先现有产品智能化程度比较低,很多牵引床还停留在机械式手动控制的模式中。其次多数牵引床的功能比较单一,只能进行一个维度的牵引,并且牵引的参数不能定量化,治疗参数固定或者只有少量选择,不能任意调整参数大小,治疗效果不稳定,安全性得不到保障。另外国外的牵引床价格昂贵,操作复杂,对使用者要求较高,并且维护成本高,难度大。There are many different types of traction beds on the market, including electric traction beds, self-weight electric traction beds, hand-wheeled mechanical traction beds, and multi-functional traction beds that can massage and fumigate. Comparing the traction bed at home and abroad, it is found that there are the following shortcomings or deficiencies: First, the degree of intelligence of the existing products is relatively low, and many traction beds are still in the mode of mechanical manual control. Secondly, the function of most traction beds is relatively simple, and can only perform traction in one dimension, and the traction parameters cannot be quantified, the treatment parameters are fixed or only a small number of choices, and the parameters cannot be adjusted arbitrarily, the treatment effect is unstable, and the safety cannot be guaranteed. . In addition, foreign traction beds are expensive, complicated to operate, have high requirements for users, and have high maintenance costs and difficulties.
发明内容SUMMARY OF THE INVENTION
本发明的目的就是为了克服上述现有技术存在的缺陷而提供一种用于腰椎间盘突出症患者进行康复治疗的腰椎多维牵引装置。The purpose of the present invention is to provide a lumbar multi-dimensional traction device for rehabilitation treatment of patients with lumbar intervertebral disc herniation in order to overcome the above-mentioned defects in the prior art.
本发明的目的可以通过以下技术方案来实现:一种腰椎多维牵引装置,该牵引装置包括床体钢架、设置在床体钢架顶部的头胸板、通过铰链铰接固定在床体钢架一侧的弓形支臂、固定安装在弓形支臂上的臂腿板、设置在弓形支臂底部用于驱动弓形支臂绕着铰链转动的成角单元、设置在头胸板下部用于实现腰椎拉伸的拉伸单元、设置在臂腿板和弓形支臂之间用于驱动臂腿板实现水平摆动的摆角单元以及设置在臂腿板和弓形支臂之间用于驱动臂腿板实现旋转的旋转单元。臂腿板和弓形支臂之间为左右两段的结构,左边空间固定用于驱动臂腿板实现水平摆角的摆角单元,右边空间固定用于驱动臂腿板实现旋转的旋转单元,充分利用空间,分别完成本系统摆角和旋转功能,可协同水平牵引单元和成角单元进行姿势的转换。The purpose of the present invention can be achieved by the following technical solutions: a multi-dimensional traction device for lumbar vertebrae, the traction device includes a bed body steel frame, a cephalothorax plate arranged on the top of the bed body steel frame, and is hingedly fixed on one side of the bed body steel frame through hinges The bow-shaped support arm, the arm and leg plate fixedly installed on the bow-shaped support arm, the angled unit arranged at the bottom of the bow-shaped support arm for driving the arc-shaped support arm to rotate around the hinge, and the lower part of the head-thoracic plate for realizing lumbar vertebrae stretching. A stretching unit, a swing angle unit arranged between the arm leg plate and the arcuate support arm for driving the arm leg plate to realize horizontal swing, and a rotation unit disposed between the arm leg plate and the arcuate support arm for driving the arm leg plate to realize rotation unit. There are two left and right sections between the arm leg plate and the bow-shaped support arm. The left space is fixed to the swing angle unit used to drive the arm leg plate to realize the horizontal swing angle, and the right space is fixed to the rotation unit used to drive the arm leg plate to realize rotation. Utilize the space to complete the swing angle and rotation functions of the system respectively, and can cooperate with the horizontal traction unit and the angled unit to convert the posture.
本发明通过成角单元、拉伸单元、摆角单元以及旋转单元实现该装置对患者腰椎的弯曲、拉伸、水平摆动以及扭转,实现腰椎多维的牵引,功能更加全面。The invention realizes the bending, stretching, horizontal swinging and twisting of the lumbar vertebra of the patient by the device through the angling unit, the stretching unit, the swing angle unit and the rotating unit, so as to realize the multi-dimensional traction of the lumbar vertebra, and the functions are more comprehensive.
所述的拉伸单元包括固定在床体钢架上的水平牵引液压缸,所述头胸板的底部设有活动轨,所述床体钢架的顶部设有与活动轨相匹配的轨道槽,治疗时,保持所述臂腿板不动,所述水平牵引液压缸带动头胸板朝远离臂腿板方向运动,实现患者腰椎的拉伸。The stretching unit includes a horizontal traction hydraulic cylinder fixed on the steel frame of the bed body, the bottom of the head and chest plate is provided with a movable rail, and the top of the steel frame of the bed body is provided with a track groove matching the movable rail, During treatment, the arm and leg plates are kept stationary, and the horizontal traction hydraulic cylinder drives the cephalothorax to move away from the arm and leg plates, so as to stretch the patient's lumbar spine.
所述的水平牵引液压缸活塞杆上嵌有用于实时监测腰椎受到的拉伸力的拉压力传感器,通过设置拉压力传感器,可以实时监测腰椎受到的拉伸力,从而根据患者病情的需求,给予合适的拉伸力,避免拉力过大使患者痛苦,也避免了拉力过小恢复效果差。The piston rod of the horizontal traction hydraulic cylinder is embedded with a tension pressure sensor for real-time monitoring of the tensile force on the lumbar vertebrae. Appropriate stretching force can prevent the patient from suffering from too much pulling force, and also avoid the poor recovery effect when the pulling force is too small.
所述的旋转单元包括设置在弓形支臂上的旋转牵引液压缸、设置在弓形支臂上的多个旋转支架、旋转连接在旋转支架上并可绕着旋转支架转动的旋转拨叉以及与旋转拨叉顶部固定连接的臂腿板下板,所述旋转牵引液压缸的移动方向与臂腿板长度方向垂直,所述旋转牵引液压缸的液压缸缸体表面设有圆柱形的旋转轴,旋转轴外侧铰接滑块,其中所述旋转拨叉的下端设有竖向拨叉滑槽,所述滑块滑动连接在拨叉滑槽内。当旋转轴随着旋转牵引液压缸在水平方向移动时,由于旋转拨叉下端竖向拨叉滑槽的存在,旋转轴会给旋转拨叉一个水平方向上的力,从而使得旋转拨叉绕着旋转支架旋转,从而带动臂腿板下板转动,最终实现臂腿板的转动。The rotating unit includes a rotating traction hydraulic cylinder arranged on the arcuate support arm, a plurality of rotating brackets arranged on the arcuate support arm, a rotating fork that is rotatably connected to the rotating support and can be rotated around the rotating support, and a rotating fork connected to the rotating support. The lower plate of the arm leg plate fixedly connected to the top of the shift fork, the moving direction of the rotary traction hydraulic cylinder is perpendicular to the length direction of the arm leg plate, and the cylinder surface of the hydraulic cylinder body of the rotary traction hydraulic cylinder is provided with a cylindrical rotating shaft. A sliding block is hinged on the outside of the shaft, wherein the lower end of the rotating fork is provided with a vertical shifting fork chute, and the sliding block is slidably connected in the shifting fork chute. When the rotating shaft moves in the horizontal direction with the rotating traction hydraulic cylinder, due to the existence of the vertical fork chute at the lower end of the rotating fork, the rotating shaft will give the rotating fork a force in the horizontal direction, so that the rotating fork will go around The rotating bracket rotates, thereby driving the lower plate of the arm and leg plate to rotate, and finally realizes the rotation of the arm and leg plate.
所述旋转支架的下端固定在弓形支臂上,所述旋转拨叉旋转连接在旋转支架顶部。The lower end of the rotating bracket is fixed on the arcuate support arm, and the rotating fork is rotatably connected to the top of the rotating bracket.
所述的摆角单元包括摆角液压缸、竖向设置在弓形支臂上的摆角支架、旋转连接在摆角支架且可绕着摆角支架旋转的摆角拨叉、与摆角拨叉一端固定连接的竖向布置的摆角连接件,所述摆角连接件的顶部与臂腿板底部靠近头胸板一端固定连接,所述摆角液压缸的伸缩方向与臂腿板长度方向垂直,所述摆角液压缸的液压缸缸体表面上固定设有圆柱形的旋转轴,旋转轴外侧铰接滑块,所述摆角拨叉的另一端设有拨叉滑槽,所述滑块滑动连接在摆角拨叉的拨叉滑槽内。摆角单元也是通过摆角拨叉将摆角液压缸的水平伸缩运动转化成摆角拨叉的旋转,这一点的原理与旋转拨叉相同,摆角拨叉的左侧与摆角连接件固定连接,摆角连接件与臂腿板固定连接,摆角液压缸运动,带动摆角拔叉绕着摆角支架转动,既而带动臂腿板绕着摆角支架中心转动,实现了臂腿板的水平摆动。The swing angle unit includes a swing angle hydraulic cylinder, a swing angle bracket vertically arranged on the arcuate support arm, a swing angle fork rotatably connected to the swing angle bracket and rotatable around the swing angle bracket, and a swing angle fork. A vertically arranged swing angle connector with one end fixedly connected, the top of the swing angle connector is fixedly connected with the bottom end of the arm and leg plate close to the head and chest plate, and the telescopic direction of the swing angle hydraulic cylinder is perpendicular to the length direction of the arm and leg plate, A cylindrical rotating shaft is fixed on the surface of the cylinder body of the swing angle hydraulic cylinder, the outer side of the rotating shaft is hinged with a slider, the other end of the swing angle fork is provided with a fork chute, and the slider slides Connected to the fork chute of the swing angle fork. The swing angle unit also converts the horizontal telescopic motion of the swing angle hydraulic cylinder into the rotation of the swing angle fork through the swing angle fork. Connection, the swing angle connector is fixedly connected with the arm and leg plate, and the swing angle hydraulic cylinder moves, which drives the swing angle fork to rotate around the swing angle bracket, and then drives the arm leg plate to rotate around the center of the swing angle bracket to realize the arm and leg plate. Swing horizontally.
所述的臂腿板下板上表面远离头胸板的一端设有圆弧形滑槽,所述臂腿板的底部设有与圆弧形滑槽相匹配的滑轮。设置滑槽和滑轮,使得臂腿板的摆动更加顺畅。A circular arc chute is provided on the upper surface of the lower upper surface of the arm and leg board away from the head and chest board, and a pulley matching the circular arc chute is provided at the bottom of the arm and leg board. Set the chute and pulley to make the swing of the arm and leg board smoother.
所述的成角单元包括设置在床体钢架上的电机支架以及与电机支架通过铰链连接的直线电机,所述直线电机的顶端与所述弓形支臂底部铰接。当直线电机伸长时,使得弓形支臂绕着成角部分旋转中心转动,完成成角功能。The angle forming unit includes a motor support arranged on the steel frame of the bed body and a linear motor connected with the motor support through a hinge, and the top of the linear motor is hinged with the bottom of the arcuate support arm. When the linear motor is extended, the arcuate support arm rotates around the rotation center of the angled part to complete the angled function.
所述的头胸板和臂腿板的上表面为呈波浪纹路的海绵垫,所述头胸板和臂腿板的两侧设有用于固定患者的固定带。The upper surfaces of the cephalothorax board and the arm and leg boards are sponge pads with wave patterns, and both sides of the cephalothorax board and the arm and leg boards are provided with fixing belts for fixing the patient.
所述的牵引装置包括用于控制成角单元、拉伸单元、摆角单元以及旋转单元开闭的PLC控制器,通过PLC控制器控制弯曲的角度、拉伸的力、旋转的角度以及摆动的角度,更加自动化,且可根据患者病情的不同,个性化设置不同的参数,治疗效果更好。The traction device includes a PLC controller for controlling the opening and closing of the angled unit, the stretching unit, the swing angle unit and the rotating unit, and the bending angle, the stretching force, the rotation angle and the swinging angle are controlled by the PLC controller. The angle is more automatic, and different parameters can be personalized according to the different conditions of the patient, and the treatment effect is better.
与现有技术相比,本发明的有益效果体现在以下几方面:Compared with the prior art, the beneficial effects of the present invention are embodied in the following aspects:
(1)通过三个液压缸和一个直线电机实现牵引系统的水平牵引,并可以完成旋转、摆角和成角功能;(1) The horizontal traction of the traction system is realized through three hydraulic cylinders and a linear motor, and the functions of rotation, swing angle and angle formation can be completed;
(2)臂腿板和弓形支臂之间的设计为左右两段的结构,左边空间固定摆角液压缸及其附件,右边空间固定旋转部分液压缸及其附件,充分利用空间;(2) The design between the arm leg plate and the bow-shaped support arm is a left and right two-section structure, the left space is for fixing the swing angle hydraulic cylinder and its accessories, and the right space is for fixing the rotating part of the hydraulic cylinder and its accessories, making full use of the space;
(3)借助传感器的反馈信息,形成闭环系统,能够更好的控制牵引力度、牵引速度和牵引角度。(3) With the help of the feedback information of the sensor, a closed-loop system is formed, which can better control the traction force, the traction speed and the traction angle.
附图说明Description of drawings
图1为本发明的总体结构示意图;1 is a schematic diagram of the overall structure of the present invention;
图2为本发明拉伸单元的结构示意图;Fig. 2 is the structural representation of the stretching unit of the present invention;
图3为本发明旋转单元的结构示意图;Fig. 3 is the structural representation of the rotating unit of the present invention;
图4为旋转拨叉的原理示意图;Fig. 4 is the principle schematic diagram of the rotary fork;
图5为本发明摆角单元的结构示意图;5 is a schematic structural diagram of a swing angle unit of the present invention;
图6为本发明成角单元的结构示意图。FIG. 6 is a schematic structural diagram of the angle forming unit of the present invention.
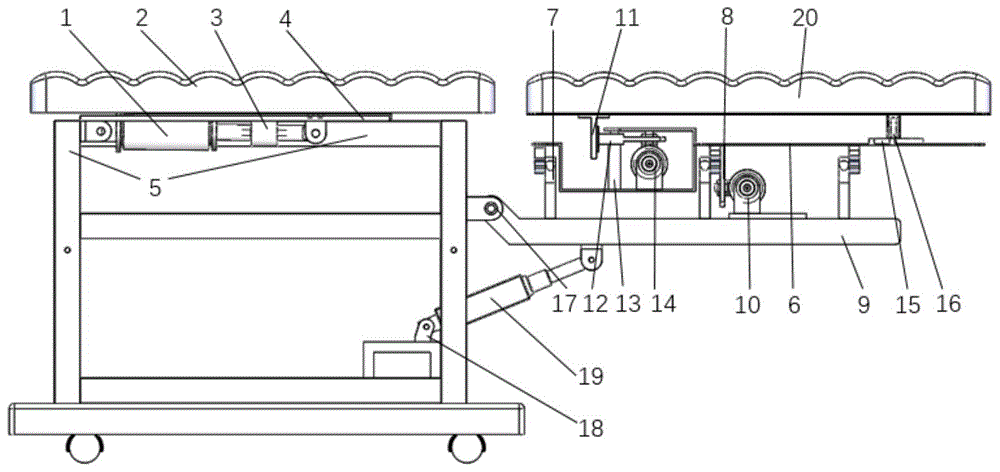
其中,1为水平牵引液压缸,2为头胸板,3为拉压力传感器,4为轨道槽,5为床体钢架,6为臂腿板下板,7为旋转支架,8为旋转拨叉,9为弓形支臂,10为旋转牵引液压缸,11为摆角连接件,12为摆角拨叉,13为摆角支架,14为摆角液压缸,15为滑槽,16为滑轮,17为铰链,18为电机支架,19为直线电机,20为臂腿板,21为旋转轴,22为滑块,23为拨叉滑槽。Among them, 1 is the horizontal traction hydraulic cylinder, 2 is the head and chest plate, 3 is the tension pressure sensor, 4 is the track groove, 5 is the bed steel frame, 6 is the lower plate of the arm and leg plate, 7 is the rotating bracket, and 8 is the rotating fork , 9 is the bow arm, 10 is the rotary traction hydraulic cylinder, 11 is the swing angle connection, 12 is the swing angle fork, 13 is the swing angle bracket, 14 is the swing angle hydraulic cylinder, 15 is the chute, 16 is the pulley, 17 is a hinge, 18 is a motor bracket, 19 is a linear motor, 20 is an arm and leg plate, 21 is a rotating shaft, 22 is a slider, and 23 is a fork chute.
具体实施方式Detailed ways
下面对本发明的实施例作详细说明,本实施例在以本发明技术方案为前提下进行实施,给出了详细的实施方式和具体的操作过程,但本发明的保护范围不限于下述的实施例。The embodiments of the present invention are described in detail below. This embodiment is implemented on the premise of the technical solution of the present invention, and provides a detailed implementation manner and a specific operation process, but the protection scope of the present invention is not limited to the following implementation. example.
实施例1Example 1
一种腰椎多维牵引装置,其总体结构如图1所示,该牵引装置包括床体钢架5、设置在床体钢架5顶部的头胸板2、通过铰链17铰接固定在床体钢架5上的弓形支臂9、固定安装在弓形支臂9上的臂腿板20、设置在弓形支臂9底部用于驱动弓形支臂9绕着铰链转动的成角单元、设置在头胸板2下部用于实现腰椎拉伸的拉伸单元、设置在臂腿板20和弓形支臂9之间用于驱动臂腿板20实现水平摆动的摆角单元以及设置在臂腿板20和弓形支臂9之间用于驱动臂腿板20实现旋转的旋转单元。A lumbar multi-dimensional traction device, the overall structure of which is shown in Figure 1, the traction device includes a bed
拉伸单元的结构如图2所示,包括设置在固定在床体钢架5上的水平牵引液压缸1,头胸板2的底部设有活动轨,床体钢架5的顶部设有与活动轨相匹配的轨道槽4,活动轨在轨道槽4中滑动。保持臂腿板20不动,通过拉伸单元反方向移动头胸板2,实现患者腰椎的拉伸。The structure of the stretching unit is shown in Figure 2, including the horizontal traction hydraulic cylinder 1 fixed on the
水平牵引液压缸1活塞杆上设有拉压力传感器3,通过设置拉压力传感器3,可以实时监测腰椎受到的拉伸力,从而根据患者病情的需求,给予合适的拉伸力,避免拉力过大使患者痛苦,也避免了拉力过小恢复效果差。There is a
旋转单元的结构如图3所示,包括设置在弓形支臂9上的旋转部分液压缸10、设置在弓形支臂9上的多个旋转支架7、旋转连接在旋转支架7上并可绕着旋转支架7转动的一个旋转拨叉8以及与旋转拨叉8顶部固定连接的臂腿板下板6,旋转部分液压缸10的缸体上设有旋转轴21,其中旋转拨叉8的下端设有拨叉滑槽23,旋转轴21与滑块22铰接,滑块22滑动连接在拨叉滑槽23内。当旋转轴21随着旋转牵引液压缸10在水平方向移动时,由于旋转拨叉8下端拨叉滑槽23的存在,旋转轴21会给旋转拨叉8一个水平方向上的力,从而使得旋转拨叉8绕着旋转支架7旋转,原理如图4所示,当与旋转部分液压缸10连接的旋转拨叉8转动时,带动臂腿板下板6转动,最终实现臂腿板20的旋转。The structure of the rotating unit is shown in Figure 3, including a rotating part
摆角单元的结构如图5所示,包括摆角液压缸14、竖向设置在弓形支臂9上的摆角支架13、旋转连接在摆角支架13且可绕着摆角支架13旋转的摆角拨叉12、与摆角拨叉12一端固定连接的竖向布置的摆角连接件11,摆角连接件11的顶部与臂腿板20底部靠近头胸板2一端固定连接,摆角液压缸14的伸缩方向与臂腿板20长度方向垂直,摆角液压缸14的液压缸缸体表面上固定设有圆柱形的旋转轴21,旋转轴21的外侧铰接滑块22,所述摆角拨叉12的另一端设有拨叉滑槽23,所述滑块22滑动连接在摆角拨叉12的拨叉滑槽23内,所述摆角拨叉12通过摆角连接件11与臂腿板20固定连接。摆角单元也是通过摆角拨叉12将摆角液压缸14的水平伸缩运动转化成摆角拨叉12的旋转,这一点的原理与旋转拨叉8相同,摆角拨叉12的一侧通过摆角连接件11与臂腿板20一端连接,摆角拨叉12的左侧与摆角连接件11固定连接,摆角连接件11与臂腿板20固定连接,摆角液压缸14运动,带动摆角拔叉12绕着摆角支架13转动,既而带动臂腿板20绕着摆角支架13中心转动,实现了臂腿板20的水平摆动。The structure of the swing angle unit is shown in Figure 5, including a swing angle
臂腿板下板6上表面远离头胸板2的一端设有圆弧形滑槽15,臂腿板20的底部设有与圆弧形滑槽15相匹配的滑轮16。设置滑槽15和滑轮16,使得臂腿板20的摆角功能更加顺畅。A
成角单元的结构如图6所示,包括设置在床体钢架5上的电机支架18以及与电机支架18通过铰链连接的直线电机19,直线电机19的顶端与弓形支臂9底部铰接。当直线电机19伸长时,使得弓形支臂9绕着成角部分旋转中心17转动,完成成角功能。The structure of the angle-forming unit is shown in FIG. When the
头胸板2和臂腿板20的上表面为呈波浪纹路的海绵垫,头胸板2和臂腿板20的两侧设有用于固定患者的绑带。The upper surfaces of the head-
牵引装置包括用于控制成角单元、拉伸单元、摆角单元以及旋转单元开闭的PLC控制器,通过PLC控制器控制成角的角度、拉伸的力、旋转的角度以及摆角的角度,更加自动化,且可根据患者病情的不同,个性化设置不同的参数,治疗效果更好。The traction device includes a PLC controller for controlling the opening and closing of the angled unit, the stretching unit, the swing angle unit and the rotation unit, and the angled angle, the stretching force, the rotation angle and the swing angle are controlled by the PLC controller. , more automatic, and different parameters can be personalized according to the different conditions of the patient, and the treatment effect is better.
Claims (7)
Priority Applications (1)
| Application Number | Priority Date | Filing Date | Title |
|---|---|---|---|
| CN201711132947.8A CN107961106B (en) | 2017-11-15 | 2017-11-15 | A lumbar multidimensional traction device |
Applications Claiming Priority (1)
| Application Number | Priority Date | Filing Date | Title |
|---|---|---|---|
| CN201711132947.8A CN107961106B (en) | 2017-11-15 | 2017-11-15 | A lumbar multidimensional traction device |
Publications (2)
| Publication Number | Publication Date |
|---|---|
| CN107961106A CN107961106A (en) | 2018-04-27 |
| CN107961106B true CN107961106B (en) | 2020-02-18 |
Family
ID=62001006
Family Applications (1)
| Application Number | Title | Priority Date | Filing Date |
|---|---|---|---|
| CN201711132947.8A Active CN107961106B (en) | 2017-11-15 | 2017-11-15 | A lumbar multidimensional traction device |
Country Status (1)
| Country | Link |
|---|---|
| CN (1) | CN107961106B (en) |
Families Citing this family (7)
| Publication number | Priority date | Publication date | Assignee | Title |
|---|---|---|---|---|
| CN109350331B (en) * | 2018-08-24 | 2024-07-02 | 江苏兴鑫医用设备有限公司 | Combined multifunctional traction bed |
| CN109394405B (en) * | 2018-08-24 | 2024-09-06 | 江苏兴鑫医用设备有限公司 | Multifunctional traction bed |
| WO2021109995A1 (en) * | 2019-12-05 | 2021-06-10 | 张益� | Spine three-dimensional linkage health care instrument |
| CN111281634A (en) * | 2019-12-24 | 2020-06-16 | 苏州好博医疗器械有限公司 | Conjugate traction bed and use method thereof |
| CN111839865A (en) * | 2020-08-27 | 2020-10-30 | 上海中医药大学附属岳阳中西医结合医院 | A lumbar multi-dimensional fixed-point traction device |
| CN111956381A (en) * | 2020-08-27 | 2020-11-20 | 上海中医药大学附属岳阳中西医结合医院 | Medical hydraulic traction equipment and hydraulic control system thereof |
| CN112237503B (en) * | 2020-09-22 | 2022-08-02 | 河北省骨科生物材料与技术创新研究院 | Lumbar disc herniation treatment bed |
Citations (3)
| Publication number | Priority date | Publication date | Assignee | Title |
|---|---|---|---|---|
| CN2324993Y (en) * | 1998-01-07 | 1999-06-23 | 李连山 | Stretching bed for treatment |
| CN2356658Y (en) * | 1999-03-08 | 2000-01-05 | 李连山 | Rocking device for treating bed |
| KR20160037147A (en) * | 2016-03-21 | 2016-04-05 | 이도영 | a |
Family Cites Families (12)
| Publication number | Priority date | Publication date | Assignee | Title |
|---|---|---|---|---|
| CN2305968Y (en) * | 1997-07-04 | 1999-02-03 | 济南华飞产业公司 | Intelligent therapeutic apparatus for spine bone injury |
| CN2339182Y (en) * | 1997-07-10 | 1999-09-22 | 于涛 | Bionic traction therapeutic bed |
| CN2346405Y (en) * | 1998-10-23 | 1999-11-03 | 王德伟 | Fast-slow three-dimensional traction bed |
| CN2626460Y (en) * | 2003-06-12 | 2004-07-21 | 吕相喜 | Side-swinging three-dimensional multifunctional bed for healing |
| US8257285B2 (en) * | 2008-04-09 | 2012-09-04 | Gerry Cook | Traction bed with vibrator assembly |
| CN201186006Y (en) * | 2008-05-15 | 2009-01-28 | 山东省医疗器械研究所 | Double-center coincidence type vertebral column therapeutic machine |
| CN201379728Y (en) * | 2009-02-16 | 2010-01-13 | 河南省腾远医疗器械有限公司 | Multi-functional traction bed with bed surface capable of relatively rotating |
| CN201899655U (en) * | 2010-10-19 | 2011-07-20 | 安徽鑫诺医疗设备有限公司 | Multifunctional four-corner inclined traction device newly added for traction bed |
| CN203226935U (en) * | 2013-05-21 | 2013-10-09 | 王俊望 | Traction swing bed |
| KR101809627B1 (en) * | 2016-02-18 | 2017-12-15 | 주식회사신화의료기 | Apparatus for curing the spine |
| CN206548660U (en) * | 2016-11-10 | 2017-10-13 | 吉林省亮达医疗器械有限公司 | Three-dimensional multi-functional lumbar vertebra therapeutic machine |
| CN106691819B (en) * | 2016-12-19 | 2017-12-01 | 新乡市华西卫材有限公司 | Fumigation traction bed |
-
2017
- 2017-11-15 CN CN201711132947.8A patent/CN107961106B/en active Active
Patent Citations (3)
| Publication number | Priority date | Publication date | Assignee | Title |
|---|---|---|---|---|
| CN2324993Y (en) * | 1998-01-07 | 1999-06-23 | 李连山 | Stretching bed for treatment |
| CN2356658Y (en) * | 1999-03-08 | 2000-01-05 | 李连山 | Rocking device for treating bed |
| KR20160037147A (en) * | 2016-03-21 | 2016-04-05 | 이도영 | a |
Also Published As
| Publication number | Publication date |
|---|---|
| CN107961106A (en) | 2018-04-27 |
Similar Documents
| Publication | Publication Date | Title |
|---|---|---|
| CN107961106B (en) | A lumbar multidimensional traction device | |
| CN109330856B (en) | Daily cervical spondylosis prevention device | |
| CN108836600A (en) | Spine traction therapeutic equipment | |
| CN103211694A (en) | Cervical vertebra recovery robot based on head self-weight traction principle | |
| CN106618943B (en) | A medical neck and shoulder massage rest device | |
| CN210044214U (en) | Horizontal lying type neck and waist traction device | |
| KR102166009B1 (en) | Neck Stretching Apparatus | |
| CN110420085B (en) | Traction device for cervical spondylosis rehabilitation therapy | |
| CN208287201U (en) | A kind of spine stretching bed | |
| CN201175397Y (en) | Cervical vertebra remedy physiotherapy device | |
| CN108721055B (en) | A medical neck rehabilitation nursing device | |
| CN218652159U (en) | A traction device for the spine | |
| CN113952165B (en) | Nursing stretching rehabilitation equipment | |
| CN115887190A (en) | Spinal column rehabilitation physiotherapy device for neurosurgery | |
| CN206252599U (en) | a recovery bed | |
| CN108078741A (en) | A kind of Medical health-care massage bed | |
| CN211325958U (en) | Cervical and lumbar vertebra traction treatment device | |
| CN212817058U (en) | Spinal patient rehabilitation nursing device | |
| CN209827498U (en) | Gastroenterology is with massage device of treatment flatulence | |
| CN210750186U (en) | Gastroenterology is with promoting intestines and stomach wriggling device | |
| CN209075375U (en) | A kind of severe comatose patient limbs care device | |
| CN207785328U (en) | Cervical vertebra bonesetting traction recovering instrument | |
| CN223541724U (en) | Heatable cervical vertebra compound Kang Zhentou | |
| CN207755440U (en) | A kind of orthopedic rehabilitation is convenient for the neck brace of adjusting | |
| CN220988990U (en) | Traction device for spinal column operation |
Legal Events
| Date | Code | Title | Description |
|---|---|---|---|
| PB01 | Publication | ||
| PB01 | Publication | ||
| SE01 | Entry into force of request for substantive examination | ||
| SE01 | Entry into force of request for substantive examination | ||
| GR01 | Patent grant | ||
| GR01 | Patent grant |
