CN107802271B - Indwelling needle for blood collection and how to use it - Google Patents

Indwelling needle for blood collection and how to use it Download PDF

Info

Publication number
CN107802271B
CN107802271B CN201711035276.3A CN201711035276A CN107802271B CN 107802271 B CN107802271 B CN 107802271B CN 201711035276 A CN201711035276 A CN 201711035276A CN 107802271 B CN107802271 B CN 107802271B
Authority
CN
China
Prior art keywords
needle
blood collection
pipe
blood
tube
Prior art date
Legal status (The legal status is an assumption and is not a legal conclusion. Google has not performed a legal analysis and makes no representation as to the accuracy of the status listed.)
Expired - Fee Related
Application number
CN201711035276.3A
Other languages
Chinese (zh)
Other versions
CN107802271A (en
Inventor
陈丽勤
廖素英
陶菊
Current Assignee (The listed assignees may be inaccurate. Google has not performed a legal analysis and makes no representation or warranty as to the accuracy of the list.)
First Affiliated Hospital of TMMU
Original Assignee
First Affiliated Hospital of TMMU
Priority date (The priority date is an assumption and is not a legal conclusion. Google has not performed a legal analysis and makes no representation as to the accuracy of the date listed.)
Filing date
Publication date
Application filed by First Affiliated Hospital of TMMU filed Critical First Affiliated Hospital of TMMU
Priority to CN201711035276.3A priority Critical patent/CN107802271B/en
Publication of CN107802271A publication Critical patent/CN107802271A/en
Application granted granted Critical
Publication of CN107802271B publication Critical patent/CN107802271B/en
Expired - Fee Related legal-status Critical Current
Anticipated expiration legal-status Critical

Links

Images

Classifications

    • AHUMAN NECESSITIES
    • A61MEDICAL OR VETERINARY SCIENCE; HYGIENE
    • A61BDIAGNOSIS; SURGERY; IDENTIFICATION
    • A61B5/00Measuring for diagnostic purposes; Identification of persons
    • A61B5/15Devices for taking samples of blood
    • A61B5/153Devices specially adapted for taking samples of venous or arterial blood, e.g. with syringes
    • A61B5/154Devices using pre-evacuated means
    • AHUMAN NECESSITIES
    • A61MEDICAL OR VETERINARY SCIENCE; HYGIENE
    • A61BDIAGNOSIS; SURGERY; IDENTIFICATION
    • A61B5/00Measuring for diagnostic purposes; Identification of persons
    • A61B5/15Devices for taking samples of blood
    • A61B5/150007Details
    • A61B5/150015Source of blood
    • A61B5/15003Source of blood for venous or arterial blood
    • AHUMAN NECESSITIES
    • A61MEDICAL OR VETERINARY SCIENCE; HYGIENE
    • A61BDIAGNOSIS; SURGERY; IDENTIFICATION
    • A61B5/00Measuring for diagnostic purposes; Identification of persons
    • A61B5/15Devices for taking samples of blood
    • A61B5/155Devices specially adapted for continuous or multiple sampling, e.g. at predetermined intervals

Landscapes

  • Health & Medical Sciences (AREA)
  • Life Sciences & Earth Sciences (AREA)
  • Heart & Thoracic Surgery (AREA)
  • Medical Informatics (AREA)
  • Biophysics (AREA)
  • Pathology (AREA)
  • Engineering & Computer Science (AREA)
  • Biomedical Technology (AREA)
  • Hematology (AREA)
  • Physics & Mathematics (AREA)
  • Molecular Biology (AREA)
  • Surgery (AREA)
  • Animal Behavior & Ethology (AREA)
  • General Health & Medical Sciences (AREA)
  • Public Health (AREA)
  • Veterinary Medicine (AREA)
  • Measurement Of The Respiration, Hearing Ability, Form, And Blood Characteristics Of Living Organisms (AREA)
  • Infusion, Injection, And Reservoir Apparatuses (AREA)

Abstract

本发明申请公开了一种采血用留置针,包括采血组件、三通管和钢针架,采血组件包括采血针座,采血针座一侧设有采血针,采血针座另一侧设有用于插入隔离塞的刺针,采血针与刺针连通,采血针座与主管的后端滑动可拆卸连接;三通管包括主管和侧管,主管的前端连通有穿刺软管;主管的后端内设有隔离塞,侧管连接有封液管,封液管外部设有封液夹;钢针架上设有钢针;穿刺软管远内部设有阻断穿刺软管的瓣膜,瓣膜上设有用于在压力下疏通穿刺软管的开口,钢针依次穿过隔离塞、三通管的主管、穿刺软管和开口。本发还公开了上述采血用留置针的使用方法。与现有技术相比,本采血用留置针大大减少了医护人员的工作量,也减轻了病人的痛苦。

Figure 201711035276

The application of the present invention discloses an indwelling needle for blood collection, comprising a blood collection assembly, a tee tube and a steel needle holder. The blood collection assembly includes a blood collection needle seat, one side of the blood collection needle seat is provided with a blood collection needle, and the other side of the blood collection needle seat is provided with a The puncture needle inserted into the isolation plug, the blood collection needle is connected with the puncture needle, and the blood collection needle seat is slidably and detachably connected with the rear end of the main pipe; the three-way pipe includes the main pipe and the side pipe, and the front end of the main pipe is connected with a puncture hose; the rear end of the main pipe is provided with Isolation plug, the side tube is connected with a liquid sealing tube, and the liquid sealing tube is provided with a liquid sealing clip outside; the steel needle holder is provided with a steel needle; the far inner part of the puncture hose is provided with a valve for blocking the puncture tube, and the valve is provided with a valve for blocking the puncture tube. The opening of the puncture hose is unclogged under pressure, and the steel needle is passed through the isolation plug, the main pipe of the three-way pipe, the puncture hose and the opening in sequence. The present invention also discloses a method of using the above-mentioned indwelling needle for blood collection. Compared with the prior art, the indwelling needle for blood collection greatly reduces the workload of medical staff and relieves the pain of patients.

Figure 201711035276

Description

Indwelling needle for blood collection and method of use
Technical Field
The invention belongs to the technical field of medical instruments, and particularly discloses an indwelling needle for blood collection and a using method thereof.
Background
Physicians often resort to blood test results when diagnosing a patient's disease. Therefore, in general, patients go to hospitals to examine or see a doctor, blood sampling tests are required to be carried out firstly, and doctors can carry out scientific diagnosis on the conditions according to the test results and the symptoms of the patients. Blood sampling is needed in the process of examination or medical visit of a patient, and two main blood sampling modes are adopted at present, wherein one mode is that a syringe is adopted to puncture blood vessels of the patient for blood sampling, and then the blood which is manually pumped is injected into a test tube for assay; another method is that the blood vessel of the patient is punctured by blood sampling, the other side of the blood sampling needle is inserted into the blood sampling tube, and the blood is extracted from the body of the patient by using the negative pressure in the blood sampling tube. The blood sampling by the two modes is disposable, and the blood sampling needle or the needle cylinder is abandoned after the primary blood sampling is finished.
For general physical examination or simple disease diagnosis, only blood sampling is needed once, and the two blood sampling methods are adopted. For some complex physical examinations, such as multiple physical examinations, or diagnosis of a serious disease, multiple blood samples are required at different time intervals during the examination. If the blood is collected by adopting the two methods, the patient needs to be punctured for many times; the operation is more complicated for medical staff, and the workload is greatly increased; for the patient, the blood vessel is excessively damaged by puncturing for many times, and the patient is also painful. Meanwhile, multiple punctures easily cause infection, which is very unfavorable for the health of patients; if infection occurs, the blood detection result may be affected, and the doctor is misled to diagnose the patient. In addition, the blood taking needle or the needle cylinder is discarded every time blood is taken, so that resource waste is caused and the environment is polluted.
Therefore, in the actual blood sampling of a hospital, when the blood sampling of a patient needs to be carried out for multiple times in different time periods, the blood sampling is carried out by adopting the remaining needle for intravenous infusion so as to avoid the multiple puncture of the patient. When the indwelling needle is used for blood sampling, the needle cylinder needs to be used for puncturing the indwelling needle for each blood sampling, then blood is manually pumped out and injected into the test tube for testing, and the operation steps are not reduced for medical workers, or the workload is larger. Meanwhile, the needle cylinder still needs to be discarded after each blood drawing, and the condition of resource waste is not improved. In the actual use process, the indwelling needle needs to be sealed by the liquid for transfusion when not in use; the continuous liquid and the liquid of the patient can be contacted, part of the blood can be remained in the three-way tube, and the discomfort of the patient can be caused. In addition, in the blood collected by the patient each time, most of the liquid is extracted along with the blood, and the liquid influences the detection result of the blood.
Disclosure of Invention
The invention aims to provide an indwelling needle for blood sampling, which solves the problems of complicated operation and large workload of medical care personnel when a patient needs to take blood for multiple times in different time periods.
In order to achieve the purpose, the basic scheme of the invention is as follows: the indwelling needle for blood collection comprises a blood collection assembly, a three-way pipe and a steel needle frame, wherein the blood collection assembly comprises a blood collection needle base, a blood collection needle is arranged on one side of the blood collection needle base, and a blood collection needle sleeve is sleeved outside the blood collection needle; the three-way pipe comprises a main pipe and a side pipe, the front end of the main pipe is communicated with a puncture hose, and a pipe sleeve is sleeved outside the puncture hose; an isolation plug is arranged in the rear end of the main pipe, the side pipe is connected with a liquid sealing pipe, and a liquid sealing clamp is arranged outside the liquid sealing pipe; the steel needle frame is provided with a steel needle, a valve for blocking the puncture hose is arranged in one end, away from the main pipe, of the puncture hose, an opening for dredging the puncture hose under pressure is formed in the valve, and the steel needle sequentially penetrates through the isolation plug, the main pipe, the puncture hose and the opening; one side that the blood sampling needle file kept away from the blood sampling needle is equipped with the felting needle that is used for inserting the isolation stopper, blood sampling needle and felting needle intercommunication, one side that the blood sampling needle file was equipped with the felting needle can be dismantled with the rear end of being responsible for and be connected.
The front end and the rear end of the main pipe in the scheme indicate the relationship between one end and the other end of the main pipe.
The working principle of the basic scheme is as follows: for a patient needing puncture blood collection for many times, the blood collection indwelling needle can be used during primary blood collection. The specific operation process is that the pipe sleeve of the puncture hose is pulled out, the steel needle is used for carrying out venipuncture on a patient, and the puncture hose enters the vein of the patient along with the steel needle. After the venipuncture is completed, the steel needle is pulled out, the steel needle frame and the steel needle are discarded, and the three-way pipe is fixed on the body of a patient. Then injecting liquid for sealing liquid through the end part of the liquid sealing pipe, and cutting off the liquid sealing pipe by using a liquid sealing clamp after the three-way pipe is filled with the liquid; the liquid and blood no longer present a pressure differential across the valve, which closes the valve. Then the pricking pin is pricked into the isolating plug, and the blood sampling assembly is connected to the rear end of the main pipe in a sliding mode.
When the blood of a patient is collected, the blood collecting component is slid to be close to the three-way pipe, the tip end of the puncture needle penetrates through the isolation plug to enter the three-way pipe, and the blood collecting needle is inserted into the vacuum blood collecting pipe. The three-way pipe and the vacuum blood collection pipe are communicated by the puncture needle and the blood collection needle, the opening of the valve is opened under the negative pressure action of the vacuum blood collection pipe, and blood enters the vacuum blood collection pipe. When the blood in the vacuum blood collection tube reaches the required amount, the blood collection needle is pulled out of the vacuum blood collection tube. After the blood sampling is finished once, the liquid sealing liquid is filled into the three-way pipe again through the liquid sealing pipe, so that the blood and the liquid on the two sides of the valve have no pressure difference, and the opening is closed. And meanwhile, the blood sampling assembly is slid to be far away from the three-way pipe, the sharp end of the puncture needle enters the isolating plug, and the three-way pipe is sealed under the action of the isolating plug.
After a period of time, when the patient needs to take blood again, the blood taking operation is repeated without venipuncture again. When the blood taking needle is inserted into the vacuum blood taking tube, the blood taking needle sleeve does not need to be taken off, and the tip end of the blood taking needle directly penetrates through the top end of the blood taking needle sleeve and penetrates into the collection tube to take blood. When pulling out the vacuum test tube, the pointed end of blood taking needle withdraws in the blood taking needle cover, and the blood taking needle cover seals the pointed end of blood taking needle, prevents that the blood taking needle from pricking patient or medical personnel, also can prevent that the blood taking needle from being contaminated.
The beneficial effect of this basic scheme lies in: the blood sampling indwelling needle seals the opening through the pressure of the blood and the liquid on the two sides of the valve, so that the blood can not flow into the three-way pipe any more, and the blood is prevented from flowing into the three-way pipe to cause the body of a patient to be uncomfortable. The blood sampling indwelling needle aims at blood sampling for multiple times, particularly blood sampling for multiple times at different time intervals, and a patient who performs blood detection only needs to perform one-time vascular puncture, so that the pain of the patient is greatly relieved, and the infection caused in the blood sampling puncture process is effectively prevented, so that a doctor can diagnose the physical condition of the patient through a blood test result, and the physical health of the patient is facilitated. The blood sampling indwelling needle only needs one-time puncture for medical staff, particularly for clinical laboratories in which hospitals need to take blood for patients for a long time, and the workload of the medical staff is greatly reduced. After the blood sampling needle is used for sampling blood for many times, the remaining needle for sampling blood is only needed to be discarded once, other medical appliances are not needed to be discarded, resources are greatly solved, and the environment is protected. This blood sampling is with keeping somewhere use of needle, the shortcoming of current blood sampling in-process has been overcome very simply conveniently, has improved the efficiency and the security of blood sampling comprehensively. Compared with the prior art, the indwelling needle for blood sampling greatly reduces the workload of medical care personnel and relieves the pain of patients.
The air bag is characterized by further comprising an elastic pipe sleeve and an air bag, wherein one end of the elastic pipe sleeve is fixedly connected with the isolating plug, and the other end of the elastic pipe sleeve is provided with a baffle; the air bag is positioned in the main pipe, and the cavity is communicated with the air bag through the vent pipe.
When this blood sampling of needle is kept somewhere with taking a blood sample, will slide the blood sampling subassembly and make it be close to the three-way pipe, the blood sampling subassembly makes its compression to elasticity pipe box pipe extrusion this moment, and the air in the cavity is impressed in the gasbag that is located the three-way pipe through the trachea, and the liquid of gasbag volume increase in with the three-way pipe extrudees. The liquid sealing clamp can be opened before the blood sampling assembly is slid to be close to the three-way pipe, at the moment, liquid in the three-way pipe flows back into the liquid sealing pipe through the side pipe under the extrusion action of the air bag, and the liquid sealing clamp is closed after the liquid flows back into the liquid sealing pipe. The process can reduce the liquid used for sealing the liquid to be pumped into the vacuum blood sampling tube, and avoid the influence of the excessive liquid in the vacuum blood sampling tube on the blood detection.
Furthermore, the elastic pipe sleeve comprises a corrugated pipe and an expansion pipe for the steel needle or the puncture needle to penetrate through, one end of the corrugated pipe and one end of the expansion pipe are connected with the isolation plug in a sealing mode, the expansion pipe is located on the central line of the corrugated pipe, and the other end of the corrugated pipe and one end of the expansion pipe, far away from the isolation plug, are connected with the baffle in a sealing mode.
The arrangement of the telescopic pipe can ensure that the puncture needle passes through the elastic pipe sleeve and can not cause the air leakage of the elastic pipe, thereby leading the air in the elastic pipe sleeve to be pressed into the air bag and further reducing the liquid entering the vacuum blood collection pipe. The corrugated pipe has simple structure, is convenient to design and manufacture, and is more suitable for the elastic pipe sleeve in the indwelling needle for blood collection.
Furthermore, the corrugated pipe is made of elastic plastic, the baffle is connected with the rear end of the main pipe in a sliding mode, and a supporting elastic part is arranged in the corrugated pipe. The bellows is made for elastic plastic and can further make the bellows compression effect more, and baffle and the rear end sliding connection of being responsible for can make the compression process of baffle and elastic tube cover more stable. The supporting elastic piece can lead the elastic pipe sleeve to automatically recover the original position after being compressed, and the blood sampling assembly does not need to be manually slid to recover the position, so that the operation of the blood sampling remaining needle is simpler and more convenient.
Furthermore, two support plates are symmetrically arranged outside the rear end of the main pipe, clamping grooves are formed in the support plates, a support rod which is in sliding clamping with the clamping grooves is arranged on the blood sampling needle base, and a support block which is convenient for moving the blood sampling assembly is arranged on the blood sampling needle base. The supporting plate and the supporting block are convenient for sliding the blood sampling assembly, the clamping groove and the supporting rod are arranged to realize that the blood sampling assembly is detachably connected with the rear end of the main pipe, and the blood sampling assembly can be slidably connected with the rear end of the main pipe.
Furthermore, one end of the supporting rod, which is far away from the blood sampling needle seat, is provided with a spherical limiting plug, and the bottom of the clamping groove is provided with a circular groove which is in sliding connection with the supporting rod. The limiting plug and the circular groove prevent the blood sampling assembly from slipping when the rear end of the main pipe slides.
Furthermore, the relative department of the main pipe inner wall and side pipe is articulated to be equipped with and changes the board, it is intraductal that articulated one end is kept away from to change the board and is located the side. When the indwelling needle for blood collection is used for blood collection, the baffle can prevent liquid from flowing into the body of a patient through the front end of the main pipe to cause discomfort of the patient; the liquid enters the liquid sealing tube through the side tube basically, and the liquid entering the vacuum blood collection tube is further reduced.
Furthermore, a vertical groove is formed in the steel needle frame, a convex strip is arranged on the outer wall of the rear end of the main pipe, and the steel needle frame and the rear end of the main pipe are connected in a clamping mode through the vertical groove and the convex strip; the handle is arranged outside the steel needle frame, and the sheath is sleeved outside the blood sampling needle sleeve. The connection and the disassembly of the steel needle frame and the rear end of the main pipe are convenient.
Another object of the present invention is to provide a method for using the indwelling needle for blood collection, comprising the steps of:
(1) preparing: disinfecting the blood sampling part of a patient, and binding a tourniquet above the disinfection range; removing the sleeve on the blood-taking indwelling needle;
(2) puncturing: holding the steel needle frame by hand, tightly scraping the skin, and completing venipuncture by using a steel needle;
(3) removing the steel needle: the steel needle is withdrawn from the blood vessel of the patient, the convex strip on the main pipe slides out of the vertical groove, and the steel needle frame is detached from the three-way pipe and discarded;
(4) fixing the three-way pipe: fixing the three-way pipe on the body of the patient by using an adhesive tape, and taking down the tourniquet; then injecting liquid for sealing liquid from the end part of the liquid sealing pipe, wherein the three-way pipe is filled with the liquid;
(5) installing a blood sampling assembly: penetrating the pricking pin into the isolation plug through the telescopic pipe, and clamping the support rod into the circular groove through the clamping groove;
(6) blood collection preparation: the support block is forced to be close to the three-way pipe, the elastic pipe sleeve is extruded to enable gas in the cavity of the support block to be pressed into an air bag located in the three-way pipe through the air pipe, and the liquid in the three-way pipe is extruded by the increase of the volume of the air bag; the baffle can prevent liquid from entering a human body from the puncture hose through the front end of the main pipe, the liquid can enter the liquid sealing pipe through the side pipe after being extruded, and the liquid sealing clamp is used for clamping the liquid sealing pipe close to the side pipe at the moment to prevent the liquid from flowing;
(7) blood collection: when the elastic pipe sleeve is extruded, the tip end of the puncture needle penetrates through the isolation plug to enter the three-way pipe, the protective sleeve outside the blood collection needle sleeve is pulled out, the blood collection needle is inserted into the vacuum blood collection pipe, and blood is pumped into the vacuum blood collection pipe through the puncture hose, the main pipe, the puncture needle and the blood collection needle under the negative pressure action of the vacuum blood collection pipe;
(8) sealing the tube: when the blood in the vacuum blood collection tube reaches the required amount, the blood collection needle is pulled out of the vacuum blood collection tube, the liquid sealing clamp is opened to enable the liquid to flow into the three-way tube for tube sealing, and the sheath is sleeved outside the blood collection needle sleeve; meanwhile, acting force is not applied to the support block, the elastic pipe sleeve is not compressed under the action of the supporting elastic piece, air in the air bag flows into the cavity through the air pipe, the blood sampling assembly is far away from the three-way pipe under the action of the elastic pipe sleeve, and the tip of the puncture needle retracts into the isolation plug;
(9) blood is collected again: and (5) repeating the steps (6), (7) and (8) in sequence to finish blood collection again.
The use method of the indwelling needle for blood collection has the beneficial effects that: in the using method, in the process of pushing the tip of the puncture needle into the three-way tube during blood collection, the liquid used for sealing the liquid in the three-way tube flows back to the side tube, so that the liquid entering the vacuum blood collection tube is reduced, and the blood detection result is more accurate. The use method only generates waste materials of the remaining needle for blood sampling once in the process of blood sampling for many times, greatly reduces resource waste and protects the environment. The use method does not need puncture for patients, does not cause serious discomfort in the blood sampling process, and effectively protects the body health of the patients. The use method does not need to puncture for medical staff for multiple times, is simple to operate and greatly reduces the workload.
Further, in the step (6), the index finger and the middle finger are attached to one side, close to the three-way pipe, of the support plate, the thumb is attached to one side, far away from the three-way pipe, of the support block, and the thumb, the index finger and the middle finger apply force to enable the thumb to be close to the index finger and the middle finger to apply force to the support block, so that the support block is close to the three-way pipe. The method is simpler, more convenient and more labor-saving to operate.
Drawings
FIG. 1 is a schematic structural view of an indwelling needle for blood collection according to the present invention before use;
FIG. 2 is a schematic view showing the structure of the blood collection indwelling needle after puncture;
FIG. 3 is a cross-sectional view of the structure of FIG. C-C;
FIG. 4 is an enlarged view at A in FIG. 2;
FIG. 5 is a view of the rear side of the main tube in the direction B of FIG. 2;
FIG. 6 is a schematic view of the construction of the blood collection assembly.
Detailed Description
The present invention will be described in further detail below by way of specific embodiments:
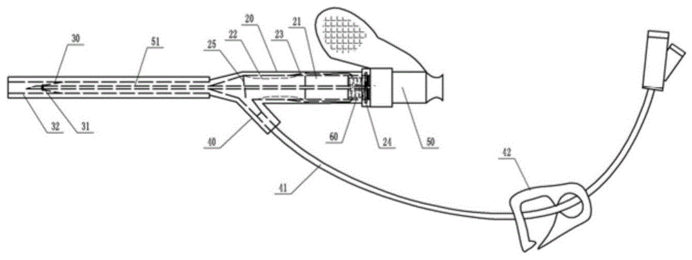
reference numerals in the drawings of the specification include: the blood collection needle comprises a blood collection needle holder 10, a support rod 101, a limiting plug 102, a blood collection needle 11, a blood collection needle sleeve 12, a protective sleeve 13, a puncture needle 14, a support block 15, a main pipe 20, an isolation plug 21, an air bag 22, an air vent pipe 23, a support plate 24, a clamping groove 241, a circular groove 242, a rotating plate 25, a puncture hose 30, a valve 31, an opening 311, a pipe sleeve 32, a side pipe 40, a liquid sealing pipe 41, a liquid sealing clamp 42, a steel needle frame 50, a steel needle 51, an elastic pipe sleeve 60, a cavity 61, a corrugated pipe 62, an extension pipe 63, a baffle plate 64 and a.
As shown in fig. 1 and 2, the indwelling needle for blood collection comprises a blood collection assembly, an elastic tube sleeve 60, a balloon 22, a three-way tube and a steel needle 51 frame 50; the three-way pipe comprises a main pipe 20 and a side pipe 40, the front end of the main pipe 20 is communicated with a puncture hose 30, and a pipe sleeve 32 is sleeved outside the puncture hose 30; the rear end of the main pipe 20 is provided with an isolation plug 21, the side pipe 40 is connected with a liquid sealing pipe 41, and the outside of the liquid sealing pipe 41 is provided with a liquid sealing clamp 42. As shown in fig. 3, a valve 31 for blocking the puncture hose 30 is arranged in the left end of the puncture hose 30, and an opening 311 for dredging the puncture hose 30 under pressure is arranged on the valve 31; that is, when there is a pressure difference between the left and right sides of the valve 31, the opening 311 opens the puncture tube 30, and when there is no pressure difference between the left and right sides of the valve 31, the opening 311 closes the puncture tube 30. As shown in fig. 6, the blood collection assembly comprises a blood collection needle holder 10, a blood collection needle 11 is fixed on the right side of the blood collection needle holder 10, a puncture needle 14 is fixed on the left side of the blood collection needle holder 10, and the blood collection needle 11 is communicated with the puncture needle 14; the blood collection needle 11 is externally sleeved with a sealed blood collection needle sleeve 12 made of rubber, and the blood collection needle sleeve 12 is externally sleeved with a protective sleeve 13 for protecting the blood collection needle sleeve 12 from being polluted. The steel needle 51 is arranged on the steel needle 51 frame 50, and the steel needle 51 sequentially passes through the elastic pipe sleeve 60, the isolating plug 21, the main pipe 20 of the three-way pipe, the puncture hose 30 and the opening 311.
As shown in FIG. 4, the flexible tube sleeve 60 includes a bellows 62, a shield 64, and a bellows 63 for the penetration of the lancet 51 or 14, wherein the bellows 62 is made of a flexible plastic. The bellows 63 is located on the center line of the bellows 62, the left ends of the bellows 62 and the bellows 63 are hermetically connected with the isolating plug 21, and the right ends of the bellows 62 and the bellows 63 are hermetically connected with the baffle 64. The baffle 64 is slidably connected to the rear end of the main tube 20 such that the flexible tube sleeve 60 is slidable within the rear end of the main tube 20, and the bellows 62 defines a sealed cavity 61 therein. The bellows 62 is provided with a support elastic member 67 therein, in this embodiment, the support elastic member 67 takes a support spring, the diameter of the support spring is smaller than the diameter of the bellows 62 and larger than the diameter of the bellows 63, and the support spring is sleeved in the bellows 62 and located in the cavity 61. The number of the air bags 22 is two, one side of each air bag 22 is fixedly attached to the inner wall of the main pipe 20, the vent pipe 23 is embedded in the inner wall of the main pipe 20, and the air bags 22 are communicated with the cavity 61 of the corrugated pipe 62 through the vent pipe 23. The inner wall of the main pipe 20 is hinged with a rotating plate 25 at the position opposite to the side pipe 40, one end of the rotating plate 25 far away from the hinge joint is positioned in the side pipe 40, and the rotating plate 25 is mainly used for relieving the pressure in the puncture hose 30 when the pressure is generated in the tee pipe.
As shown in fig. 5, two support plates 24 are symmetrically arranged outside the rear end of the main tube 20, a locking groove 241 is arranged on each support plate 24, a circular groove 242 is arranged at the bottom of the locking groove 241, and the width of the opening 311 of the locking groove 241 is first reduced and then increased from bottom to bottom. The lancet holder 10 is provided with a rod 101 slidably engaged with the engaging groove 241, and the left end of the rod 101 is provided with a spherical stopper 102, so that the stopper 102 prevents the rod 101 from slipping out of the circular groove 242 when the rod 101 is slidably coupled with the circular groove 242. The blood sampling assembly is detachably mounted at the rear end of the main pipe 20 through the supporting rod 101, and the blood sampling assembly can slide left and right after being connected with the rear end of the main pipe 20 through the sliding of the supporting rod 101 in the circular groove 242. A support block 15 is fixed at the lower end of the outer part of the blood collecting needle holder 10, and the support block 15 is convenient for sliding the blood collecting component along the main pipe 20 when the remaining needle for blood collection is used. The frame 50 of the steel needle 51 is provided with a vertical groove, the outer wall of the rear end of the main pipe 20 is provided with a convex strip, and the frame 50 of the steel needle 51 is connected with the rear end of the main pipe 20 through the vertical groove and the convex strip in a clamping way; the handle is arranged outside the steel needle 51 frame 50, and the sheath 13 is sleeved outside the blood collecting needle sleeve 12.
The use method of the indwelling needle for blood collection comprises the following steps:
(1) preparing: selecting a blood vessel for sampling blood of a patient, disinfecting the blood sampling part of the patient, and binding a tourniquet above the disinfection range; preparing an indwelling needle for blood collection, an adhesive tape, a vacuum blood collection tube and other blood collection tools, and removing a pipe sleeve 32 on the indwelling needle for blood collection;
(2) puncturing: the handle part of the indwelling needle for blood collection is held by hand, the skin is tightly taken off, the steel needle 51 is used for directly puncturing the vein of a patient, the needle is slowly inserted between the steel needle 51 and the skin at an angle of 25 degrees, the needle is inserted for 0.2cm after blood return, the puncture hose 30 enters the blood vessel of the patient along with the steel needle 51, and the vein puncture of the blood vessel of the patient is completed;
(3) withdrawing the steel needle 51: the steel needle 51 frame 50 is held by hand, the steel needle 51 is withdrawn from the blood vessel of the patient, the convex strips on the main pipe 20 slide out of the vertical grooves, and the steel needle 51 frame 50 is detached from the three-way pipe and discarded;
(4) fixing the three-way pipe: fixing the three-way pipe on the body of the patient by using an adhesive tape, and taking down the tourniquet; then, injecting liquid for sealing liquid from the end part of the liquid sealing pipe 41, and filling the three-way pipe with the liquid;
(5) installing a blood sampling assembly: the puncture needle 14 passes through the extension tube 63 and penetrates into the isolating plug 21, and the support rod 101 is clamped into the circular groove 242 through the clamping groove 241;
(6) blood collection preparation: the index finger and the middle finger are attached to one side, close to the three-way pipe, of the support plate 24, the thumb is attached to one side, far away from the three-way pipe, of the support block 15, and force is applied to the thumb, the index finger and the middle finger, so that the thumb is close to the index finger and the middle finger to apply acting force to the support block 15, and the support block 15 is close to the three-way pipe; the elastic pipe sleeve 60 is extruded to ensure that the gas in the cavity 61 is pressed into the air bag 22 of the three-way pipe through the air pipe 23, and the liquid in the three-way pipe is extruded by the volume increase of the air bag 22; the baffle plate 64 will prevent the liquid from entering the human body from the puncture hose 30 through the front end of the main pipe 20, the liquid will enter the liquid sealing pipe 41 through the side pipe 40 after being extruded, and at this time, the liquid sealing clamp 42 is used to clamp the liquid sealing pipe 41 close to the side pipe 40, so that the liquid cannot flow;
(7) blood collection: while the elastic pipe sleeve 60 is extruded, the tip end of the puncture needle 14 passes through the isolation plug 21 to enter the three-way pipe, the sheath 13 outside the blood taking needle sleeve 12 is pulled out, and the blood taking needle 11 is inserted into the vacuum blood taking pipe; the interior of the vacuum blood collection tube is in a vacuum state, the vacuum blood collection needle 11 is communicated with the interior of the three-way tube through the puncture needle 14 and the blood collection needle 11, negative pressure is generated in the three-way tube, an opening 311 on the valve 31 is opened under the action of the negative pressure, and blood is pumped into the vacuum blood collection tube through the puncture hose 30, the main tube 20, the puncture needle 14 and the blood collection needle 11;
(8) sealing the tube: when the blood in the vacuum blood collection tube reaches the required amount, the blood collection needle 11 is pulled out of the vacuum blood collection tube, the liquid sealing clamp 42 is opened to enable the liquid to flow into the three-way tube for tube sealing, and the protective sleeve 13 is sleeved outside the blood collection needle sleeve 12 to protect the blood collection needle sleeve 12 from being polluted; at the same time, no force is applied to the supporting block 15, the elastic tube sleeve 60 is not compressed under the action of the supporting elastic member 67, the air in the air sac 22 flows into the cavity 61 through the air tube 23, and the blood collection assembly is operated on the elastic tube sleeve 60
With the lower distal to the tee, the tip of the spike 14 is retracted within the septum 21;
(9) blood is collected again: and (5) repeating the steps (6), (7) and (8) in sequence to finish blood collection again.
The blood-taking indwelling needle seals the opening 311 through the pressure of blood and liquid on two sides of the valve 31, so that the blood can not flow into the three-way tube any more, and the discomfort of a patient caused by the blood flowing into the three-way tube is avoided. The blood sampling indwelling needle aims at blood sampling for multiple times, particularly blood sampling for multiple times at different time intervals, and a patient who performs blood detection only needs to perform one-time vascular puncture, so that the pain of the patient is greatly relieved, and the infection caused in the blood sampling puncture process is effectively prevented, so that a doctor can diagnose the physical condition of the patient through a blood test result, and the physical health of the patient is facilitated. The blood sampling indwelling needle only needs one-time puncture for medical staff, particularly for clinical laboratories in which hospitals need to take blood for patients for a long time, and the workload of the medical staff is greatly reduced. After the blood sampling needle is used for sampling blood for many times, the remaining needle for sampling blood is only needed to be discarded once, other medical appliances are not needed to be discarded, resources are greatly solved, and the environment is protected. This blood sampling is with keeping somewhere use of needle, the shortcoming of current blood sampling in-process has been overcome very simply conveniently, has improved the efficiency and the security of blood sampling comprehensively. This needle is kept somewhere in blood sampling is at the blood sampling in-process, through the slip that utilizes blood sampling subassembly, makes the air between elasticity pipe box 60 and the gasbag 22 flow to the realization returns the intraductal liquid extrusion that fills of tee bend to the side pipe 40 in, thereby reduce the liquid that seals liquid usefulness and in by the suction vacuum blood sampling pipe, avoid the intraductal liquid of vacuum blood sampling too much to influence blood detection.
In the use method of the indwelling needle for blood collection, the liquid used for sealing the liquid in the three-way tube flows back to the side tube 40 in the process of pushing the tip of the puncture needle 14 into the three-way tube during blood collection, so that the liquid entering the vacuum blood collection tube is reduced, and the blood detection result is more accurate. The use method of the indwelling needle for blood collection does not need puncture for patients, does not cause serious discomfort in the blood collection process, and effectively protects the body health of the patients. The use method does not need to puncture for medical staff for multiple times, is simple to operate and greatly reduces the workload.
The above description is only an example of the present invention, and the common general knowledge of the known specific schemes and characteristics in the schemes is not described herein too much. It should be noted that, for those skilled in the art, without departing from the structure and method of the present invention, several changes and modifications can be made, which should also be regarded as the protection scope of the present invention, and these will not affect the effect of the implementation of the present invention and the practicability of the patent.

Claims (7)

1. The indwelling needle for blood collection comprises a blood collection assembly, a three-way pipe and a steel needle frame, wherein the blood collection assembly comprises a blood collection needle base, a blood collection needle is arranged on one side of the blood collection needle base, and a blood collection needle sleeve is sleeved outside the blood collection needle; the three-way pipe comprises a main pipe and a side pipe, the front end of the main pipe is communicated with a puncture hose, and a pipe sleeve is sleeved outside the puncture hose; an isolation plug is arranged in the rear end of the main pipe, the side pipe is connected with a liquid sealing pipe, and a liquid sealing clamp is arranged outside the liquid sealing pipe; the three-way puncture needle is characterized in that a valve for blocking the puncture hose is arranged in one end, away from the main pipe, of the puncture hose, an opening for dredging the puncture hose under pressure is formed in the valve, and the steel needle sequentially penetrates through the isolation plug, the main pipe of the three-way pipe, the puncture hose and the opening; a pricking pin for inserting the isolation plug is arranged on one side of the blood taking needle seat, which is far away from the blood taking needle, the blood taking needle is communicated with the pricking pin, and one side of the blood taking needle seat, which is provided with the pricking pin, is in sliding detachable connection with the rear end of the main tube; the air bag is characterized by also comprising an elastic pipe sleeve and an air bag, wherein one end of the elastic pipe sleeve is fixedly connected with the isolating plug, and the other end of the elastic pipe sleeve is provided with a baffle plate; the air bag is positioned in the main pipe, and the cavity is communicated with the air bag through the vent pipe.
2. The indwelling needle for blood collection according to claim 1, wherein the elastic tube housing comprises a bellows and a telescopic tube for the steel needle or the puncture needle to pass through, one end of the bellows and the telescopic tube is connected with the isolation plug in a sealing way, the telescopic tube is located on the center line of the bellows, and one end of the bellows and the telescopic tube far away from the isolation plug is connected with the baffle in a sealing way.
3. The indwelling needle for blood collection according to claim 2, wherein the bellows is made of elastic plastic, the baffle is slidably connected to the rear end of the main tube, and a support elastic member is provided in the bellows.
4. The indwelling needle for blood collection according to any one of claims 1 to 3, wherein two support plates are symmetrically provided on the outside of the rear end of the main tube, the support plates are provided with notches, the blood collection hub is provided with a support rod which is slidably engaged with the notches, and the blood collection hub is provided with a support block which facilitates movement of the blood collection assembly.
5. The indwelling needle for blood collection according to claim 4, wherein the end of the supporting rod remote from the blood collection needle holder is provided with a spherical limiting plug, and the bottom of the clamping groove is a circular groove in sliding connection with the supporting rod.
6. The indwelling needle for blood collection according to claim 5, wherein a rotating plate is hinged to the inner wall of the main tube opposite to the side tube, and the end of the rotating plate remote from the hinge is located in the side tube.
7. The indwelling needle for blood collection according to claim 6, wherein the steel needle carrier is provided with a vertical groove, the outer wall of the rear end of the main tube is provided with a convex strip, and the steel needle carrier and the rear end of the main tube are connected by the vertical groove and the convex strip in a snap-fit manner; the handle is arranged outside the steel needle frame, and the sheath is sleeved outside the blood sampling needle sleeve.
CN201711035276.3A 2017-10-30 2017-10-30 Indwelling needle for blood collection and how to use it Expired - Fee Related CN107802271B (en)

Priority Applications (1)

Application Number Priority Date Filing Date Title
CN201711035276.3A CN107802271B (en) 2017-10-30 2017-10-30 Indwelling needle for blood collection and how to use it

Applications Claiming Priority (1)

Application Number Priority Date Filing Date Title
CN201711035276.3A CN107802271B (en) 2017-10-30 2017-10-30 Indwelling needle for blood collection and how to use it

Publications (2)

Publication Number Publication Date
CN107802271A CN107802271A (en) 2018-03-16
CN107802271B true CN107802271B (en) 2020-05-15

Family

ID=61582979

Family Applications (1)

Application Number Title Priority Date Filing Date
CN201711035276.3A Expired - Fee Related CN107802271B (en) 2017-10-30 2017-10-30 Indwelling needle for blood collection and how to use it

Country Status (1)

Country Link
CN (1) CN107802271B (en)

Families Citing this family (8)

* Cited by examiner, † Cited by third party
Publication number Priority date Publication date Assignee Title
CN108272460B (en) * 2018-03-20 2023-05-12 中国人民解放军总医院 Finger cots for vacuum blood collection tubes
CN109009162B (en) * 2018-07-30 2023-08-08 佛山科学技术学院 Disposable safety blood taking needle
CN110585522A (en) * 2019-10-22 2019-12-20 程基才 Multifunctional indwelling needle with blood sample collection function
CN110954372A (en) * 2020-01-03 2020-04-03 华中科技大学同济医学院附属协和医院 A blood drawing device for a blood cell analyzer
CN113180658B (en) * 2021-04-26 2022-07-01 山西医科大学 A large animal percutaneous femoral artery cannulation blood collection device
CN114404730A (en) * 2022-01-29 2022-04-29 新乡医学院第一附属医院 Abdominocentesis catheter anti-seepage device
CN115486841B (en) * 2022-09-08 2023-05-05 丹阳市金晟医用橡塑制品有限公司 Rubber sheath for blood taking needle capable of improving puncture performance and production device thereof
CN117122318B (en) * 2023-10-26 2023-12-22 中国人民解放军总医院第六医学中心 Venous hemostix capable of preventing blood leakage

Citations (7)

* Cited by examiner, † Cited by third party
Publication number Priority date Publication date Assignee Title
CN201602777U (en) * 2010-01-11 2010-10-13 吴林元 Valve type spacer for remaining needle
CN201609367U (en) * 2010-01-11 2010-10-20 吴林元 Non-puncture type hemostix
CN101862499A (en) * 2010-06-23 2010-10-20 邹最 Puncture structure assembly with medical blood returning observation function
CN102048546A (en) * 2010-12-30 2011-05-11 中国人民解放军第三军医大学第一附属医院 System for monitoring, collecting and detecting biological information of human blood in real time
CN203506724U (en) * 2013-10-29 2014-04-02 江西富尔康实业集团有限公司 Anti-reflux soft connection blood taking needle
CN106510729A (en) * 2016-10-31 2017-03-22 中国人民解放军第三军医大学第附属医院 Repeatedly blood-sampling indwelling needle and application method thereof
CN106974663A (en) * 2017-04-12 2017-07-25 侯颖萍 Multi-functional remaining needle

Patent Citations (7)

* Cited by examiner, † Cited by third party
Publication number Priority date Publication date Assignee Title
CN201602777U (en) * 2010-01-11 2010-10-13 吴林元 Valve type spacer for remaining needle
CN201609367U (en) * 2010-01-11 2010-10-20 吴林元 Non-puncture type hemostix
CN101862499A (en) * 2010-06-23 2010-10-20 邹最 Puncture structure assembly with medical blood returning observation function
CN102048546A (en) * 2010-12-30 2011-05-11 中国人民解放军第三军医大学第一附属医院 System for monitoring, collecting and detecting biological information of human blood in real time
CN203506724U (en) * 2013-10-29 2014-04-02 江西富尔康实业集团有限公司 Anti-reflux soft connection blood taking needle
CN106510729A (en) * 2016-10-31 2017-03-22 中国人民解放军第三军医大学第附属医院 Repeatedly blood-sampling indwelling needle and application method thereof
CN106974663A (en) * 2017-04-12 2017-07-25 侯颖萍 Multi-functional remaining needle

Also Published As

Publication number Publication date
CN107802271A (en) 2018-03-16

Similar Documents

Publication Publication Date Title
CN107802271B (en) Indwelling needle for blood collection and how to use it
US7662110B2 (en) Devices for collecting blood and administering medical fluids
US20180361122A1 (en) Extraction device for collecting blood samples, including a catheter and a safety system
CN106510729B (en) Repeatedly blood sampling remaining needle
CN102232834A (en) Disposable automatic blood sampling device
CN202751647U (en) Novel disposable and safe dual-purpose needle head device for transfusion and blood collection
CN209826744U (en) Anti-needle disposable blood collection needle
CN206687719U (en) A kind of Novel blood taking needle
CN211066658U (en) Negative pressure syringe
CN215017574U (en) A blood collection device for hematology
CN205181912U (en) Multi -functional needle of keeping somewhere of clinical usefulness
CN208677410U (en) Disposable safety type blood-taking needle
CN104470438B (en) Syringe type vacuum blood collector
CN215129156U (en) Convenient plugging type biopsy needle
CN215128734U (en) Anti-puncture and leak-proof arterial hemostix
US8454534B2 (en) Blood collector device and blood analysis procedure
CN210095744U (en) Venous blood sampling device
CN201153985Y (en) Disposable blood collection and infusion multi-purpose needle
CN208355474U (en) Safety type blood-taking needle
CN208741747U (en) Multi-joint multiple-way valve
CN215305932U (en) Five-side puncture blood taking needle
US20130018278A1 (en) Blood Draw Catheter Top
CN215227670U (en) Peripheral blood sample collection container for clinical examination
CN211534443U (en) Clinical dedicated device of drawing blood of liver disease branch of academic or vocational study
CN219208098U (en) Blood taking test tube for blood bag

Legal Events

Date Code Title Description
PB01 Publication
PB01 Publication
SE01 Entry into force of request for substantive examination
SE01 Entry into force of request for substantive examination
GR01 Patent grant
GR01 Patent grant
CF01 Termination of patent right due to non-payment of annual fee
CF01 Termination of patent right due to non-payment of annual fee

Granted publication date: 20200515

Termination date: 20211030