CN107671580B - Golf head clamping jig - Google Patents
Golf head clamping jig Download PDFInfo
- Publication number
- CN107671580B CN107671580B CN201711126559.9A CN201711126559A CN107671580B CN 107671580 B CN107671580 B CN 107671580B CN 201711126559 A CN201711126559 A CN 201711126559A CN 107671580 B CN107671580 B CN 107671580B
- Authority
- CN
- China
- Prior art keywords
- main body
- positioning
- ball head
- jig main
- jig
- Prior art date
- Legal status (The legal status is an assumption and is not a legal conclusion. Google has not performed a legal analysis and makes no representation as to the accuracy of the status listed.)
- Expired - Fee Related
Links
- 238000000034 method Methods 0.000 claims description 5
- 238000004519 manufacturing process Methods 0.000 description 9
- 238000010586 diagram Methods 0.000 description 2
- 230000009286 beneficial effect Effects 0.000 description 1
- 230000007812 deficiency Effects 0.000 description 1
- 238000003466 welding Methods 0.000 description 1
Images
Classifications
-
- B—PERFORMING OPERATIONS; TRANSPORTING
- B23—MACHINE TOOLS; METAL-WORKING NOT OTHERWISE PROVIDED FOR
- B23Q—DETAILS, COMPONENTS, OR ACCESSORIES FOR MACHINE TOOLS, e.g. ARRANGEMENTS FOR COPYING OR CONTROLLING; MACHINE TOOLS IN GENERAL CHARACTERISED BY THE CONSTRUCTION OF PARTICULAR DETAILS OR COMPONENTS; COMBINATIONS OR ASSOCIATIONS OF METAL-WORKING MACHINES, NOT DIRECTED TO A PARTICULAR RESULT
- B23Q3/00—Devices holding, supporting, or positioning work or tools, of a kind normally removable from the machine
- B23Q3/02—Devices holding, supporting, or positioning work or tools, of a kind normally removable from the machine for mounting on a work-table, tool-slide, or analogous part
- B23Q3/06—Work-clamping means
- B23Q3/08—Work-clamping means other than mechanically-actuated
-
- B—PERFORMING OPERATIONS; TRANSPORTING
- B23—MACHINE TOOLS; METAL-WORKING NOT OTHERWISE PROVIDED FOR
- B23Q—DETAILS, COMPONENTS, OR ACCESSORIES FOR MACHINE TOOLS, e.g. ARRANGEMENTS FOR COPYING OR CONTROLLING; MACHINE TOOLS IN GENERAL CHARACTERISED BY THE CONSTRUCTION OF PARTICULAR DETAILS OR COMPONENTS; COMBINATIONS OR ASSOCIATIONS OF METAL-WORKING MACHINES, NOT DIRECTED TO A PARTICULAR RESULT
- B23Q2703/00—Work clamping
- B23Q2703/02—Work clamping means
- B23Q2703/04—Work clamping means using fluid means or a vacuum
Landscapes
- Engineering & Computer Science (AREA)
- Mechanical Engineering (AREA)
- Jigs For Machine Tools (AREA)
Abstract
一种高尔夫球头夹持治具,包括待加工球头、治具主体和固定底座,待加工球头放置在治具主体上,治具主体设置在固定底座上,固定底座上还设置有粗定位机构和推紧气缸;其中,粗定位机构置于治具主体的侧部、且与治具主体相互配合,以实现待加工球头的粗定位,推紧气缸置于治具主体的正下方、且与治具主体驱动连接,以实现待加工球头的夹紧定位。本发明通过上述结构的改良,首先通过机器人将待加工球头放置在治具主体上,再利用粗定位机构实现待加工球头的粗定位,随后采用推紧气缸、弹簧夹头和滑块的相互驱动配合,同时模仿机床刀柄夹持的原理,实现待加工球头的夹紧定位,实用性强。
A golf head clamping jig, comprising a ball head to be processed, a jig main body and a fixed base, the to-be-processed ball head is placed on the jig main body, the jig main body is arranged on the fixed base, and the fixed base is further provided with a rough Positioning mechanism and pushing cylinder; wherein, the rough positioning mechanism is placed on the side of the fixture body and cooperates with the fixture body to realize the rough positioning of the ball head to be processed, and the pushing cylinder is placed directly under the fixture body , and is drivingly connected with the main body of the fixture to realize the clamping and positioning of the ball head to be processed. Through the improvement of the above structure, the present invention firstly uses the robot to place the ball head to be processed on the main body of the jig, and then uses the rough positioning mechanism to realize the rough positioning of the ball head to be processed, and then adopts the tightening cylinder, the spring chuck and the slider. They drive and cooperate with each other, and at the same time imitate the clamping principle of the tool holder of the machine tool to realize the clamping and positioning of the ball head to be processed, which is highly practical.
Description
技术领域technical field
本发明涉及一种高尔夫球头夹持治具。The invention relates to a golf head clamping fixture.
背景技术Background technique
工业上制作高尔夫球头时,有一步加工工艺为车削柄内孔,目前传统的加工技术是依靠人工进行上料,然而该方式由于上料全程是由人工手动进行,人工手动进行上料时稳定性较差,而且容易出错,加工出来的成品质量差且不统一,同时加工效率慢,生产成本高,而且工人加工的环境恶劣,存在着一定的安全隐患,无法满足生产加工需求。因此,有必要进一步改进。When manufacturing golf heads in industry, one step is to turn the inner hole of the shank. At present, the traditional processing technology relies on manual feeding. However, this method is manually carried out due to the whole process of feeding, and it is stable when manually feeding. The quality of the finished products is poor and inconsistent, and the processing efficiency is slow, the production cost is high, and the processing environment of the workers is harsh, there are certain safety hazards, and the production and processing needs cannot be met. Therefore, further improvement is necessary.
发明内容SUMMARY OF THE INVENTION
本发明的目的旨在提供一种结构简单合理,性能优异,操作方便,制造成本低,易生产,易实现,全自动化、智能化,生产效率高且安全可靠的高尔夫球头夹持治具,以克服现有技术中的不足之处。The purpose of the present invention is to provide a golf head clamping jig with simple and reasonable structure, excellent performance, convenient operation, low manufacturing cost, easy production, easy realization, full automation, intelligence, high production efficiency, safety and reliability, to overcome the deficiencies in the prior art.
按此目的设计的一种高尔夫球头夹持治具,包括待加工球头、治具主体和固定底座,待加工球头放置在治具主体上,治具主体设置在固定底座上,其特征在于:固定底座上还设置有粗定位机构和推紧气缸;其中,粗定位机构置于治具主体的侧部、且与治具主体相互配合,以实现待加工球头的粗定位,推紧气缸置于治具主体的正下方、且与治具主体驱动连接,以实现待加工球头的夹紧定位。A golf head clamping fixture designed according to this purpose includes a ball head to be processed, a fixture body and a fixed base. The to-be-processed ball head is placed on the fixture body, and the fixture body is set on the fixed base. It is: the fixed base is also provided with a coarse positioning mechanism and a pushing cylinder; wherein, the coarse positioning mechanism is placed on the side of the fixture body, and cooperates with the fixture body to realize the rough positioning of the ball head to be processed, and push and tighten it. The cylinder is placed directly below the fixture body and is drivingly connected with the fixture body to realize the clamping and positioning of the ball head to be processed.
所述治具主体内部设置有弹簧夹头和滑块,其中,滑块一端与推紧气缸驱动连接,另一端设置有倾斜夹紧部,弹簧夹头内部设置有连接孔,外侧设置有倾斜夹紧配合部与倾斜夹紧部配合连接。The fixture main body is provided with a spring collet and a sliding block, wherein one end of the sliding block is drivingly connected with the pushing cylinder, and the other end is provided with an inclined clamping portion. The tight fitting portion is fitted and connected with the inclined clamping portion.
所述连接孔内设置有支承块,待加工球头插设在连接孔上、且支承在支承块上;所述的滑块通过推紧气缸的驱动纵向滑动在治具主体内部、且在滑动时通过倾斜夹紧部和倾斜夹紧配合部的配合驱动弹簧夹头夹紧支承块,以实现待加工球头的夹紧定位。A support block is arranged in the connecting hole, and the ball head to be processed is inserted in the connecting hole and supported on the support block; At the same time, through the cooperation of the inclined clamping part and the inclined clamping matching part, the spring collet is driven to clamp the support block, so as to realize the clamping and positioning of the ball head to be processed.
所述弹簧夹头上定位部,治具主体上设置有定位配合部,弹簧夹头通过定位部定位设置在治具主体的定位配合部上。The positioning part of the spring clip is provided with a positioning matching part on the main body of the jig, and the spring clip is positioned and arranged on the positioning matching part of the main body of the jig through the positioning part.
所述粗定位机构包括定位支架和定位杆;其中,定位支架一端固定设置在固定底座上、且置于治具主体的侧部,另一端与定位杆配合连接。The rough positioning mechanism includes a positioning bracket and a positioning rod; wherein, one end of the positioning bracket is fixedly arranged on the fixed base and placed on the side of the fixture main body, and the other end is matched and connected with the positioning rod.
所述粗定位机构的高度高于治具主体的高度。The height of the rough positioning mechanism is higher than the height of the jig main body.
所述治具主体和粗定位机构固定设置在固定底座的上部,推紧气缸固定设置在固定底座的下部。The fixture main body and the rough positioning mechanism are fixedly arranged on the upper part of the fixed base, and the pushing cylinder is fixedly arranged on the lower part of the fixed base.
本发明通过上述结构的改良,首先通过机器人将待加工球头放置在治具主体上,再利用粗定位机构实现待加工球头的粗定位,随后采用推紧气缸、弹簧夹头和滑块的相互驱动配合,同时模仿机床刀柄夹持的原理,实现待加工球头的夹紧定位。与现有技术相比,具有以下有益效果:Through the improvement of the above structure, the present invention firstly uses the robot to place the ball head to be processed on the main body of the fixture, and then uses the rough positioning mechanism to realize the rough positioning of the ball head to be processed. They drive and cooperate with each other, and at the same time imitate the clamping principle of the tool holder of the machine tool to realize the clamping and positioning of the ball head to be processed. Compared with the prior art, it has the following beneficial effects:
(1)上料定位全程自动化、智能化进行,有效地代替传统的人工上料定位操作,极大的提高了上料定位效率和精度,减少人力成本和出错率,避免工人在焊接上料定位时发生的危险问题。(1) The whole process of feeding and positioning is automated and intelligent, which effectively replaces the traditional manual feeding and positioning operation, which greatly improves the efficiency and accuracy of feeding and positioning, reduces labor costs and error rates, and avoids workers from welding feeding and positioning. dangerous problems that occur.
(2)支承块用于支承待加工球头,其尺寸可以随意更换,实现不同尺寸大小的待加工球头上料定位需求,从而提高设备的使用范围。(2) The support block is used to support the ball head to be processed, and its size can be replaced at will, so as to realize the feeding and positioning requirements of the ball head to be processed of different sizes, thereby improving the use range of the equipment.
(3)弹簧夹头和滑块通过倾斜式驱动配合,同时二者通过推紧气缸提供动力,其动力输出恒定、且稳定,从而提高待加工球头定位的准确性的精度。(3) The spring collet and the slider are matched by an inclined drive, and at the same time, the two provide power by pushing the cylinder, and their power output is constant and stable, thereby improving the accuracy of the positioning accuracy of the ball head to be processed.
综合而言,其具有结构简单合理,性能优异,操作方便,制造成本低,易生产,易实现,全自动化、智能化,生产效率高且安全可靠等特点,实用性强。In general, it has the characteristics of simple and reasonable structure, excellent performance, convenient operation, low manufacturing cost, easy production, easy realization, full automation, intelligence, high production efficiency, safety and reliability, and strong practicability.
附图说明Description of drawings
图1为本发明第一实施例的装配结构示意图。FIG. 1 is a schematic diagram of the assembly structure of the first embodiment of the present invention.
图2为本发明第一实施例的装配结构示意图(剖视)。FIG. 2 is a schematic diagram (sectional view) of the assembly structure of the first embodiment of the present invention.
具体实施方式Detailed ways
下面结合附图及实施例对本发明作进一步描述。The present invention will be further described below with reference to the accompanying drawings and embodiments.
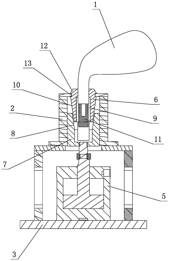
参见图1、图2,本高尔夫球头夹持治具,包括待加工球头1、治具主体2和固定底座3,待加工球头1放置在治具主体2上,治具主体2设置在固定底座3上,固定底座3上还设置有粗定位机构和推紧气缸5;其中,粗定位机构置于治具主体2的侧部、且与治具主体2相互配合,以实现待加工球头1的粗定位,推紧气缸5置于治具主体2的正下方、且与治具主体2驱动连接,以实现待加工球头1的夹紧定位。Referring to Figures 1 and 2, the golf head clamping fixture includes a ball head to be processed 1, a
进一步地讲,治具主体2内部设置有弹簧夹头6和滑块7,其中,滑块7一端与推紧气缸5驱动连接,另一端设置有倾斜夹紧部8,弹簧夹头6内部设置有连接孔9,外侧设置有倾斜夹紧配合部10与倾斜夹紧部8配合连接。Further, the jig
进一步地讲,连接孔9内设置有支承块11,待加工球头1插设在连接孔9上、且支承在支承块11上;所述的滑块7通过推紧气缸5的驱动纵向滑动在治具主体2内部、且在滑动时通过倾斜夹紧部8和倾斜夹紧配合部10的配合驱动弹簧夹头6夹紧支承块11,以实现待加工球头1的夹紧定位。Further, a
进一步地讲,弹簧夹头6上定位部12,治具主体2上设置有定位配合部13,弹簧夹头6通过定位部12定位设置在治具主体2的定位配合部13上。Further, the
进一步地讲,粗定位机构包括定位支架14和定位杆15;其中,定位支架14一端固定设置在固定底座3上、且置于治具主体2的侧部,另一端与定位杆15配合连接。Further, the coarse positioning mechanism includes a
进一步地讲,粗定位机构的高度高于治具主体2的高度。Further, the height of the rough positioning mechanism is higher than the height of the jig
进一步地讲,治具主体2和粗定位机构固定设置在固定底座3的上部,推紧气缸5固定设置在固定底座3的下部。Further, the jig
以上显示和描述了本发明的基本原理、主要特征和本发明的优点。本领域的技术人员应该了解本发明不受上述实施例的限制,上述实施例和说明书中描述的只是说明本发明的原理,在不脱离本发明精神和范围的前提下本发明还会有各种变化和改进,这些变化和改进都落入要求保护的本发明范围内。本发明要求保护范围由所附的权利要求书及其等同物界定。The foregoing has shown and described the basic principles, main features and advantages of the present invention. Those skilled in the art should understand that the present invention is not limited by the above-mentioned embodiments. The above-mentioned embodiments and descriptions only illustrate the principle of the present invention. Without departing from the spirit and scope of the present invention, the present invention will have various Variations and improvements are intended to fall within the scope of the claimed invention. The claimed scope of the present invention is defined by the appended claims and their equivalents.
Claims (4)
Priority Applications (1)
| Application Number | Priority Date | Filing Date | Title |
|---|---|---|---|
| CN201711126559.9A CN107671580B (en) | 2017-11-15 | 2017-11-15 | Golf head clamping jig |
Applications Claiming Priority (1)
| Application Number | Priority Date | Filing Date | Title |
|---|---|---|---|
| CN201711126559.9A CN107671580B (en) | 2017-11-15 | 2017-11-15 | Golf head clamping jig |
Publications (2)
| Publication Number | Publication Date |
|---|---|
| CN107671580A CN107671580A (en) | 2018-02-09 |
| CN107671580B true CN107671580B (en) | 2020-02-07 |
Family
ID=61149020
Family Applications (1)
| Application Number | Title | Priority Date | Filing Date |
|---|---|---|---|
| CN201711126559.9A Expired - Fee Related CN107671580B (en) | 2017-11-15 | 2017-11-15 | Golf head clamping jig |
Country Status (1)
| Country | Link |
|---|---|
| CN (1) | CN107671580B (en) |
Families Citing this family (1)
| Publication number | Priority date | Publication date | Assignee | Title |
|---|---|---|---|---|
| CN113245980A (en) * | 2020-02-10 | 2021-08-13 | 复盛应用科技股份有限公司 | Grinding method for golf club head |
Family Cites Families (10)
| Publication number | Priority date | Publication date | Assignee | Title |
|---|---|---|---|---|
| GB1400261A (en) * | 1972-10-05 | 1975-07-16 | Murdoch M L | Golf clubs |
| JPH0889606A (en) * | 1994-09-27 | 1996-04-09 | Pia Kk | Golf things |
| CN2686671Y (en) * | 2004-01-21 | 2005-03-23 | 叶重凯 | Golf club head laser sighting device clamping seat |
| DE102010013430A1 (en) * | 2010-01-14 | 2011-07-21 | Bilz Werkzeugfabrik GmbH & Co. KG, 73760 | Chuck for tools |
| CN202763104U (en) * | 2012-07-28 | 2013-03-06 | 湖北省缸套厂 | Gapless clamping device |
| CN203636479U (en) * | 2013-11-14 | 2014-06-11 | 重庆迈兴机电有限责任公司 | Clamping tooling for motor casing |
| CN203918543U (en) * | 2014-03-24 | 2014-11-05 | 广东科技学院 | golf ball fixture |
| CN105215756A (en) * | 2015-10-26 | 2016-01-06 | 浙江双环传动机械股份有限公司 | Multistage high accuracy clamping device |
| CN205968312U (en) * | 2016-05-26 | 2017-02-22 | 东莞市建臻精密金属有限公司 | A jig for a golf head |
| CN207431816U (en) * | 2017-11-15 | 2018-06-01 | 广东利迅达机器人系统股份有限公司 | A kind of golf club head clamping fixture |
-
2017
- 2017-11-15 CN CN201711126559.9A patent/CN107671580B/en not_active Expired - Fee Related
Also Published As
| Publication number | Publication date |
|---|---|
| CN107671580A (en) | 2018-02-09 |
Similar Documents
| Publication | Publication Date | Title |
|---|---|---|
| CN107671580B (en) | Golf head clamping jig | |
| CN104308326B (en) | A kind of automatic welding device and its welding process | |
| CN203875588U (en) | Screw tightening mechanism | |
| CN202461869U (en) | Workpiece positioning device for repair welding operation | |
| CN207431816U (en) | A kind of golf club head clamping fixture | |
| CN205733643U (en) | A kind of laser cutting machine and its pipe fitting cutting jig | |
| CN204975411U (en) | Anchor clamps in radial hole of processing end cover | |
| CN106425543A (en) | A machine tool fixture with a clamping detector | |
| CN201579611U (en) | Motorcycle shock absorber drill jig | |
| CN207682007U (en) | Clamp device for rim turning machine and rim turning machine | |
| CN206010475U (en) | A kind of special milling clamper of check valve | |
| CN205497335U (en) | Fiber connector dismouting frock | |
| CN214024289U (en) | Positioning platform with welding jig | |
| CN203918531U (en) | A kind of bracket frame modular fixture | |
| CN203557156U (en) | Automatic clamping device | |
| CN207431817U (en) | A kind of clamping fixture for golf club head | |
| CN207681855U (en) | A kind of pliers installs rubber covering device automatically | |
| CN209380354U (en) | Special fixture for round bars | |
| CN207447972U (en) | A kind of fixture for the processing of monocrystal thermal-field exhaust elbow | |
| CN209304400U (en) | A kind of positioning fixture for caliper | |
| CN105855785A (en) | Welding positioning fixture | |
| CN219822870U (en) | Automatic frame carrying tool for electric bicycle production | |
| CN221891065U (en) | Continuous tapping tool for workpiece through hole tapping | |
| CN205571829U (en) | Natural gas line incessantly defeated area presses welding set that relocates | |
| CN220480755U (en) | Industrial robot adds clamping apparatus device |
Legal Events
| Date | Code | Title | Description |
|---|---|---|---|
| PB01 | Publication | ||
| PB01 | Publication | ||
| SE01 | Entry into force of request for substantive examination | ||
| SE01 | Entry into force of request for substantive examination | ||
| GR01 | Patent grant | ||
| GR01 | Patent grant | ||
| CF01 | Termination of patent right due to non-payment of annual fee | ||
| CF01 | Termination of patent right due to non-payment of annual fee |
Granted publication date: 20200207 |
