CN107434301B - Vegetation filters slot - Google Patents
Vegetation filters slot Download PDFInfo
- Publication number
- CN107434301B CN107434301B CN201710739322.1A CN201710739322A CN107434301B CN 107434301 B CN107434301 B CN 107434301B CN 201710739322 A CN201710739322 A CN 201710739322A CN 107434301 B CN107434301 B CN 107434301B
- Authority
- CN
- China
- Prior art keywords
- area
- drainage
- water
- vegetation
- filter material
- Prior art date
- Legal status (The legal status is an assumption and is not a legal conclusion. Google has not performed a legal analysis and makes no representation as to the accuracy of the status listed.)
- Active
Links
- XLYOFNOQVPJJNP-UHFFFAOYSA-N water Substances O XLYOFNOQVPJJNP-UHFFFAOYSA-N 0.000 claims abstract description 65
- 238000000746 purification Methods 0.000 claims abstract description 43
- 239000000463 material Substances 0.000 claims abstract description 23
- 235000014653 Carica parviflora Nutrition 0.000 claims description 8
- 241000243321 Cnidaria Species 0.000 claims description 8
- 229960000892 attapulgite Drugs 0.000 claims description 8
- 229910052625 palygorskite Inorganic materials 0.000 claims description 8
- 239000004576 sand Substances 0.000 claims description 8
- 239000004575 stone Substances 0.000 claims description 7
- 229920000742 Cotton Polymers 0.000 claims description 3
- 229910000831 Steel Inorganic materials 0.000 claims description 3
- 239000010959 steel Substances 0.000 claims description 3
- 239000002253 acid Substances 0.000 claims 2
- 238000001914 filtration Methods 0.000 abstract description 17
- 230000000694 effects Effects 0.000 abstract description 10
- 239000010802 sludge Substances 0.000 abstract description 7
- 238000004140 cleaning Methods 0.000 abstract description 3
- 239000002245 particle Substances 0.000 description 5
- 125000006850 spacer group Chemical group 0.000 description 5
- 241000272814 Anser sp. Species 0.000 description 2
- 230000007423 decrease Effects 0.000 description 2
- 238000010586 diagram Methods 0.000 description 2
- 238000000034 method Methods 0.000 description 2
- 239000008213 purified water Substances 0.000 description 2
- 239000010865 sewage Substances 0.000 description 2
- XEEYBQQBJWHFJM-UHFFFAOYSA-N Iron Chemical group [Fe] XEEYBQQBJWHFJM-UHFFFAOYSA-N 0.000 description 1
- 238000009825 accumulation Methods 0.000 description 1
- 230000009286 beneficial effect Effects 0.000 description 1
- 230000003139 buffering effect Effects 0.000 description 1
- 239000004744 fabric Substances 0.000 description 1
- 238000012986 modification Methods 0.000 description 1
- 230000004048 modification Effects 0.000 description 1
- 230000001681 protective effect Effects 0.000 description 1
- 239000002689 soil Substances 0.000 description 1
- 238000003911 water pollution Methods 0.000 description 1
Images
Classifications
-
- C—CHEMISTRY; METALLURGY
- C02—TREATMENT OF WATER, WASTE WATER, SEWAGE, OR SLUDGE
- C02F—TREATMENT OF WATER, WASTE WATER, SEWAGE, OR SLUDGE
- C02F3/00—Biological treatment of water, waste water, or sewage
- C02F3/32—Biological treatment of water, waste water, or sewage characterised by the animals or plants used, e.g. algae
-
- E—FIXED CONSTRUCTIONS
- E03—WATER SUPPLY; SEWERAGE
- E03F—SEWERS; CESSPOOLS
- E03F3/00—Sewer pipe-line systems
- E03F3/04—Pipes or fittings specially adapted to sewers
-
- E—FIXED CONSTRUCTIONS
- E03—WATER SUPPLY; SEWERAGE
- E03F—SEWERS; CESSPOOLS
- E03F3/00—Sewer pipe-line systems
- E03F3/04—Pipes or fittings specially adapted to sewers
- E03F3/043—Partitioned to allow more than one medium to flow through
-
- E—FIXED CONSTRUCTIONS
- E03—WATER SUPPLY; SEWERAGE
- E03F—SEWERS; CESSPOOLS
- E03F3/00—Sewer pipe-line systems
- E03F3/04—Pipes or fittings specially adapted to sewers
- E03F3/046—Open sewage channels
-
- E—FIXED CONSTRUCTIONS
- E03—WATER SUPPLY; SEWERAGE
- E03F—SEWERS; CESSPOOLS
- E03F5/00—Sewerage structures
- E03F5/14—Devices for separating liquid or solid substances from sewage, e.g. sand or sludge traps, rakes or grates
Landscapes
- Life Sciences & Earth Sciences (AREA)
- Engineering & Computer Science (AREA)
- Hydrology & Water Resources (AREA)
- Water Supply & Treatment (AREA)
- Health & Medical Sciences (AREA)
- Public Health (AREA)
- Biotechnology (AREA)
- Botany (AREA)
- Biodiversity & Conservation Biology (AREA)
- Microbiology (AREA)
- Environmental & Geological Engineering (AREA)
- Chemical & Material Sciences (AREA)
- Organic Chemistry (AREA)
- Purification Treatments By Anaerobic Or Anaerobic And Aerobic Bacteria Or Animals (AREA)
- Revetment (AREA)
Abstract
本发明公开了一种植被过滤沟槽,包括沟槽主体,所述沟槽主体由相互连通的集水区和排水区组成;所述集水区顶端架设有植被种植区,所述植被种植区下方为水质净化区,所述水质净化区上表面安装有多根虹吸管,虹吸管与排水管连通,排水管出口伸入排水区内;排水区顶部设有盖板。本发明植被过滤沟槽通过多层结构连接除去非点源污染,安装在水质净化滤材上表面的虹吸管一方面可在暴雨时期水量剧增的时候提高沟槽的排水效果,进而提高沟槽排水的稳定性;另一方面还可利用虹吸作用的吸力清除净化滤材表面的淤泥,达到自清理的效果,提高滤材的过滤能力。
The invention discloses a vegetation filtering trench, comprising a trench main body, wherein the trench main body is composed of a water collecting area and a drainage area which are connected with each other; Below is a water purification area, a plurality of siphon pipes are installed on the upper surface of the water purification area, the siphon pipes are connected with the drainage pipe, and the outlet of the drainage pipe extends into the drainage area; the top of the drainage area is provided with a cover plate. The vegetation filtering groove of the invention removes non-point source pollution through multi-layer structure connection, and the siphon pipe installed on the upper surface of the water purification filter material can improve the drainage effect of the groove when the water volume increases sharply during the rainstorm period, thereby improving the drainage of the groove. On the other hand, the suction of the siphon action can be used to remove the sludge on the surface of the purification filter material, so as to achieve the effect of self-cleaning and improve the filtration capacity of the filter material.
Description
技术领域technical field
本发明涉及一种植被过滤沟槽,属于雨污分流技术领域。The invention relates to a vegetation filtering groove, which belongs to the technical field of rain and sewage diversion.
背景技术Background technique
目前,针对水资源的污染日趋严重的问题,在河道污水净化以及雨水收集方面的处理设施越来越多,要求也越来越多。在以防洪治理为主的同时,跟上时代步伐,结合生态工程及绿化景观布设需要,美化城市环境,建设现代河道,使河道沿岸形成小区域滨河景观带,营造舒适新环境。现有的植被过滤沟槽只有一个腔体,腔体底部连有排水管,植被过滤沟槽内的雨水经滤料过滤后直接通过腔体底部排水口排水,随着过滤时间的增长,滤料中会淤积很多淤泥,从而导致其过滤性能下降,另外,当雨量很大时该沟槽内会出现水大量堆积在过滤层处来不及过滤的同时排水也不及时。At present, in response to the increasingly serious problem of water pollution, there are more and more treatment facilities and more and more requirements for river sewage purification and rainwater collection. While focusing on flood control and management, keep up with the pace of the times, beautify the urban environment, build modern river courses, and form a small area riverside landscape belt along the river course in combination with the needs of ecological engineering and green landscape layout to create a comfortable new environment. The existing vegetation filter groove has only one cavity, and the bottom of the cavity is connected with a drainage pipe. After the rainwater in the vegetation filter groove is filtered by the filter material, it directly drains through the drainage port at the bottom of the cavity. A lot of silt will accumulate in the tank, which will lead to the decline of its filtration performance. In addition, when the rainfall is heavy, a large amount of water will accumulate in the groove and the filter layer will not have time to filter and drain water in time.
发明内容SUMMARY OF THE INVENTION
发明目的:本发明所要解决的技术问题是提供一种新型植被过滤沟槽,该沟槽设置了两个独立的腔体,同时还设有虹吸装置,虹吸装置能够及时自清理掉净化滤材上的淤泥,有效提高了装置净化排水的效率,雨量很大时也不会出现水量堆积导致排水不及时的问题。Purpose of the invention: The technical problem to be solved by the present invention is to provide a new type of vegetation filtering groove. The groove is provided with two independent cavities and a siphon device. The siphon device can self-clean the purification filter material in time. It can effectively improve the efficiency of purification and drainage of the device, and there will be no problem of water accumulation leading to untimely drainage when the rainfall is heavy.
为解决上述技术问题,本发明所采用的技术方案为:In order to solve the above-mentioned technical problems, the technical scheme adopted in the present invention is:
一种植被过滤沟槽,包括沟槽主体,所述沟槽主体由相互连通的集水区和排水区组成;所述集水区顶端架设有植被种植区,所述植被种植区下方为水质净化区,所述水质净化区上表面安装有多根虹吸管,虹吸管与排水管连通,排水管出口伸入排水区内;排水区顶部设有盖板。A vegetation filtering groove, comprising a groove main body, the groove main body is composed of a water collecting area and a drainage area that are connected to each other; A plurality of siphon pipes are installed on the upper surface of the water purification area, the siphon pipes are connected with the drainage pipe, and the outlet of the drainage pipe extends into the drainage area; the top of the drainage area is provided with a cover plate.
其中,所述集水区和排水区之间设有间隔部,间隔部底部设有出水口,集水区和排水区通过出水口连通。Wherein, a spacer is arranged between the water collection area and the drainage area, a water outlet is arranged at the bottom of the spacer, and the water collection area and the drainage area are communicated through the water outlet.
其中,所述水质净化区的净化滤材由质量百分含量为20%的鹅卵石、50%的碎石、15%的酸改性凹凸棒土以及15%的珊瑚沙组成。Wherein, the purification filter material in the water purification zone is composed of 20% by mass of pebbles, 50% of crushed stones, 15% of acid-modified attapulgite and 15% of coral sand.
其中,所述排水管出口处套设有拦截网罩。Wherein, an intercepting mesh cover is sleeved at the outlet of the drainage pipe.
其中,所述水质净化区的净化滤材的排布方式为:纵向上依次为鹅卵石层、碎石层、酸改性凹凸棒土层以及珊瑚沙层。鹅暖石较为圆滑,置于最上层工作时覆着的淤泥易被虹吸管吸出,颗粒大的碎石置于水质净化区中间可防止颗粒小的酸改性凹凸棒土和珊瑚沙受水流作用上浮。Wherein, the arrangement of the purification filter material in the water purification zone is as follows: in the longitudinal direction, the layers are cobblestone layer, gravel layer, acid-modified attapulgite soil layer and coral sand layer. The goose warm stone is relatively smooth, and the silt covered by the top layer is easily sucked out by the siphon. The crushed stone with large particles is placed in the middle of the water purification area to prevent the acid-modified attapulgite and coral sand with small particles from floating up under the action of water flow. .
其中,所述拦截网罩为中间填充有棉纱布的双层钢丝网。Wherein, the intercepting mesh cover is a double-layer steel mesh filled with cotton gauze in the middle.
与现有技术相比,本发明技术方案具有的有益效果是:Compared with the prior art, the beneficial effects of the technical solution of the present invention are:
本发明植被过滤沟槽通过多层结构连接除去非点源污染,安装在水质净化滤材上表面的虹吸管一方面可提高沟槽的排水效果,进而提高沟槽排水的稳定性;另一方面还可利用虹吸作用的吸力清除净化滤材表面的淤泥,达到自清理的效果,提高滤材的过滤能力。The vegetation filtering groove of the invention removes non-point source pollution through multi-layer structure connection, and the siphon installed on the upper surface of the water purification filter material can improve the drainage effect of the groove on the one hand, thereby improving the drainage stability of the groove; The suction of the siphon action can be used to remove the sludge on the surface of the purification filter material, so as to achieve the effect of self-cleaning and improve the filtration capacity of the filter material.
附图说明Description of drawings
图1为本发明植被过滤沟槽的结构示意图。FIG. 1 is a schematic structural diagram of a vegetation filtering groove of the present invention.
图2为本发明水质净化区结构示意图。Figure 2 is a schematic diagram of the structure of the water purification zone of the present invention.
具体实施方式Detailed ways
以下结合附图对本发明的技术方案做进一步说明,但是本发明要求保护的范围并不局限于此。The technical solutions of the present invention will be further described below with reference to the accompanying drawings, but the claimed scope of the present invention is not limited thereto.
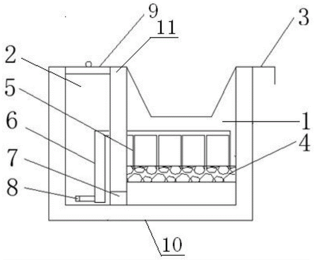
如图1所示,本发明的植被过滤沟槽,包括由混凝土制成的沟槽主体10,沟槽主体10由相互连通的集水区1和排水区2组成;集水区1顶端架设有植被种植区3,植被种植区3下方为水质净化区4,水质净化区4位于集水区1内,水质净化区4的净化滤材由质量百分含量为20%的鹅卵石、50%的碎石、15%的酸改性凹凸棒土以及15%的珊瑚沙14组成,水质净化区4上表面安装有多根虹吸管5,虹吸管5插入净化滤材上表面,虹吸管5通过干管与排水管6连通,排水管6出口伸入排水区2内,排水管6出口的高度低于虹吸管5进口的高度,排水管6出口处套设有拦截网罩8,拦截网罩8为中间填充有棉纱布的双层钢丝网,拦截网罩8扣在排水管6出口上;排水区2顶部设有盖板9,盖板9上嵌有铁环以便于盖板9的启闭;集水区1和排水区2之间设有间隔部11,间隔部11底部设有出水口7,集水区1和排水区2通过出水口7相互连通。本发明植被过滤沟槽通过设置的虹吸管5能够及时清除堵塞净化滤材的淤泥,从而保证净化滤材长时间高效工作,及时收集处理初期雨水,达到控制面源污染的效果。As shown in FIG. 1 , the vegetation filtering trench of the present invention includes a trench
如图2所示,水质净化区4的净化滤材纵向上依次为鹅卵石层12、碎石层13、酸改性凹凸棒土层14以及珊瑚沙层15,净化滤材按颗粒大小顺序排列。鹅暖石较为圆滑,置于最上层工作时覆着的淤泥易被虹吸管5吸出,颗粒大的碎石置于水质净化区4中间可防止颗粒小的酸改性凹凸棒土和珊瑚沙受水流作用上浮,按这样的排序可保证水质净化区4的过滤效果,提高系统稳定性。As shown in FIG. 2 , the purification filter materials in the
本发明植被过滤沟槽安装在河流堤坝的位置,起到高水护岸和堤坝的保护带作用,确保水质净化处理的稳定性。本发明植被过滤沟槽通过多层结构连接除去非点源污染,本发明采用水质净化滤材进行过滤,安装的虹吸管5一方面可在暴雨时期水量剧增的时候提高沟槽的排水效果,提高系统的稳定性;另一方面还可利用虹吸作用的吸力清除净化滤材表面的淤泥,达到自清理的效果,提高滤材的过滤能力;排水区2上的盖板9工作时处于关闭状态,当天晴时,将盖板9打开,取出排水管6出口的拦截网罩8,将拦截网罩8内带污泥的纱布取出,再更换新的纱布置于双层铁丝网中即可。The vegetation filtering groove of the present invention is installed at the position of the river dam, plays the role of high-water bank protection and the protective belt of the dam, and ensures the stability of water purification treatment. The vegetation filtering groove of the present invention removes non-point source pollution through multi-layer structure connection, and the present invention adopts water purification filter material for filtering. The stability of the system; on the other hand, the suction force of the siphon action can be used to remove the sludge on the surface of the purification filter material to achieve the effect of self-cleaning and improve the filtration capacity of the filter material; the
当雨量不大时,雨水经过植被种植区3落入集水区1内,经水质净化区4净化过滤后,从出水口7进入排水区2内,排水区2将处理后的净化水直接排入河流中,只要排水区2中的水量淹没过排水管6出口时,由于排水区2内的水在流动,压强降低,此时会使虹吸管5产生虹吸现象,虹吸产生后一方面能快速排出掉集水区1内的积水,一方面能带走净化滤材表面的淤泥;当雨量很大时(集水区1内的雨水同时通过虹吸管5和出水口7排入排水区2内),雨水进入集水区1内,雨水通过虹吸管5的虹吸作用排入排水区2内,未经净化滤材过滤的雨水中的污泥能被排水管6出口处的拦截网罩8拦截住,经水质净化区4净化过滤后的雨水从出水口7进入排水区2内,在集水区1内积雨量低于虹吸作用的水位时(同时排水区2中的水量也低于排水管6出口时),经水质净化区4净化过滤后的雨水通过出水口7进入排水区2内,排水区2将净化后的水直接排入河流中。When the rainfall is not large, the rainwater passes through the
现有U字型或凹字型的沟槽,水质净化区与排水区位于同一腔体内,当暴雨来临雨水量激增时,由于沟槽排水管排水能力不足,会导致雨水淤积在水质净化区内无法及时排出,从而使净化区失去净化效果;本发明沟槽将沟槽主体10设置成“山”字型,将水质净化区和排水区分开,在增加空间的同时可提高装置的工作效率,对于大雨及暴雨天气水量急剧增加时起到缓冲作用,增强装置的蓄水能力。将植被种植区3伸入沟槽内能够防止水量过大时冲刷破坏植被。In the existing U-shaped or concave-shaped grooves, the water purification area and the drainage area are located in the same cavity. When the rainwater volume surges when the rainstorm comes, the drainage capacity of the groove drainage pipe is insufficient, which will cause the rainwater to accumulate in the water purification area. Can not be discharged in time, so that the purification area loses the purification effect; the groove of the present invention sets the groove
显然,上述实施例仅仅是为清楚地说明本发明所作的举例,而并非是对本发明的实施方式的限定。对于所属领域的普通技术人员来说,在上述说明的基础上还可以做出其它不同形式的变化或变动。这里无需也无法对所有的实施方式予以穷举。而这些属于本发明的精神所引伸出的显而易见的变化或变动仍处于本发明的保护范围之中。Obviously, the above-mentioned embodiments are only examples for clearly illustrating the present invention, and are not intended to limit the embodiments of the present invention. For those of ordinary skill in the art, changes or modifications in other different forms can also be made on the basis of the above description. There is no need and cannot be exhaustive of all implementations here. However, these obvious changes or changes derived from the spirit of the present invention are still within the protection scope of the present invention.
Claims (3)
Priority Applications (1)
| Application Number | Priority Date | Filing Date | Title |
|---|---|---|---|
| CN201710739322.1A CN107434301B (en) | 2017-08-24 | 2017-08-24 | Vegetation filters slot |
Applications Claiming Priority (1)
| Application Number | Priority Date | Filing Date | Title |
|---|---|---|---|
| CN201710739322.1A CN107434301B (en) | 2017-08-24 | 2017-08-24 | Vegetation filters slot |
Publications (2)
| Publication Number | Publication Date |
|---|---|
| CN107434301A CN107434301A (en) | 2017-12-05 |
| CN107434301B true CN107434301B (en) | 2020-09-18 |
Family
ID=60460684
Family Applications (1)
| Application Number | Title | Priority Date | Filing Date |
|---|---|---|---|
| CN201710739322.1A Active CN107434301B (en) | 2017-08-24 | 2017-08-24 | Vegetation filters slot |
Country Status (1)
| Country | Link |
|---|---|
| CN (1) | CN107434301B (en) |
Families Citing this family (2)
| Publication number | Priority date | Publication date | Assignee | Title |
|---|---|---|---|---|
| CN111982593B (en) * | 2020-08-07 | 2022-09-16 | 西华师范大学 | Water sample anti-interference split charging device |
| IT202300004089A1 (en) | 2023-03-06 | 2024-09-06 | Giuseppe Chidichimo | FILTER FOR PURIFICATION OF POLLUTED WATER |
Citations (8)
| Publication number | Priority date | Publication date | Assignee | Title |
|---|---|---|---|---|
| CN202156956U (en) * | 2011-06-10 | 2012-03-07 | 武汉理工大学 | Ecological purification and storage system for rainwater |
| CN104140182A (en) * | 2014-07-23 | 2014-11-12 | 湖南富利来环保科技工程有限公司 | Organic sewage treatment system based on siphonage principle |
| CN204981350U (en) * | 2015-09-23 | 2016-01-20 | 南京吉佳新材料科技实业有限公司 | Detachable constructed wetland filler module |
| CN205088632U (en) * | 2015-09-23 | 2016-03-16 | 南京吉佳新材料科技实业有限公司 | Vegetation drainage ditch structure |
| CN205171636U (en) * | 2015-11-25 | 2016-04-20 | 浙江荣林环境工程有限公司 | Urban road rainwater collection utilization system |
| KR20160148950A (en) * | 2015-06-17 | 2016-12-27 | 케이에스테크 주식회사 | First rainwater treatment aparatus |
| CN106351307A (en) * | 2016-08-24 | 2017-01-25 | 北京星河园林景观工程有限公司 | Multifunctional rainwater ecological utilization system and rainwater ecological utilization method |
| CN107012942A (en) * | 2017-04-18 | 2017-08-04 | 湖南文理学院 | A kind of sponge urban construction ecological ditch structure and its building method |
-
2017
- 2017-08-24 CN CN201710739322.1A patent/CN107434301B/en active Active
Patent Citations (8)
| Publication number | Priority date | Publication date | Assignee | Title |
|---|---|---|---|---|
| CN202156956U (en) * | 2011-06-10 | 2012-03-07 | 武汉理工大学 | Ecological purification and storage system for rainwater |
| CN104140182A (en) * | 2014-07-23 | 2014-11-12 | 湖南富利来环保科技工程有限公司 | Organic sewage treatment system based on siphonage principle |
| KR20160148950A (en) * | 2015-06-17 | 2016-12-27 | 케이에스테크 주식회사 | First rainwater treatment aparatus |
| CN204981350U (en) * | 2015-09-23 | 2016-01-20 | 南京吉佳新材料科技实业有限公司 | Detachable constructed wetland filler module |
| CN205088632U (en) * | 2015-09-23 | 2016-03-16 | 南京吉佳新材料科技实业有限公司 | Vegetation drainage ditch structure |
| CN205171636U (en) * | 2015-11-25 | 2016-04-20 | 浙江荣林环境工程有限公司 | Urban road rainwater collection utilization system |
| CN106351307A (en) * | 2016-08-24 | 2017-01-25 | 北京星河园林景观工程有限公司 | Multifunctional rainwater ecological utilization system and rainwater ecological utilization method |
| CN107012942A (en) * | 2017-04-18 | 2017-08-04 | 湖南文理学院 | A kind of sponge urban construction ecological ditch structure and its building method |
Also Published As
| Publication number | Publication date |
|---|---|
| CN107434301A (en) | 2017-12-05 |
Similar Documents
| Publication | Publication Date | Title |
|---|---|---|
| CN202730934U (en) | System for intercepting, shunting, regulating, storing and treating initial rainwater | |
| CN103548601B (en) | Tree pool and method for filtering runoff rainwater through tree pool | |
| CN103821218B (en) | A kind of early-stage rainwater and rain dirt mixing overflow water retain seepage flow facility | |
| CN103758201B (en) | Band floods the clean integrated apparatus of surface flow rain-water accumulating and the method for culvert pipe | |
| CN207727714U (en) | Sponge urban ecology filtration system | |
| CN106284588A (en) | A kind of rainwater treatment that can be used for sponge city and stocking system | |
| CN102995701B (en) | A water source system device for slope runoff collection, storage, filtration and irrigation | |
| CN103306360A (en) | Multidimensional ecological drainage system for intercepting and controlling separate system rainwater pollutants into river | |
| CN102926452A (en) | Offline rainwater control system for road | |
| CN108797756A (en) | Rain penetration purifies savings system in a kind of landscape planting | |
| CN210712423U (en) | A pedestrian road for sponge city rainwater utilizes | |
| CN106638917B (en) | Split type rainwater recycling, storing and adjusting system and construction method thereof | |
| CN105297645B (en) | A kind of stagnant storage of sponge urban rainwater oozes uses heat-extraction system pipe fitting and its construction method only | |
| CN107434301B (en) | Vegetation filters slot | |
| CN202689172U (en) | Combined system pipe network dry weather sewage and initial rainwater multifunctional intercepting well | |
| CN109958099B (en) | An urban river rainwater resource control system | |
| CN216515387U (en) | Ecological bank protection of hydraulic engineering | |
| CN110714436A (en) | Retaining system of check dam | |
| CN208072566U (en) | A kind of both sides of the road rainwater gaseous-waste holdup system | |
| CN211714132U (en) | Urban rainwater treatment system | |
| CN211057970U (en) | Rainwater collection and utilization system for municipal engineering | |
| CN205662974U (en) | Environmental rainwater branch matter collection in hillock district holds system | |
| CN211897679U (en) | Novel sponge urban road system | |
| CN211057721U (en) | River dike system combining purification of initial rainwater | |
| CN206337480U (en) | Ecological side drain |
Legal Events
| Date | Code | Title | Description |
|---|---|---|---|
| PB01 | Publication | ||
| PB01 | Publication | ||
| SE01 | Entry into force of request for substantive examination | ||
| SE01 | Entry into force of request for substantive examination | ||
| GR01 | Patent grant | ||
| GR01 | Patent grant | ||
| TR01 | Transfer of patent right |
Effective date of registration: 20210223 Address after: 450100 3rd floor, office building, East sewage treatment station, Jianshe Road garbage power plant, Xingyang City, Zhengzhou City, Henan Province Patentee after: Xingyang Qingyuan Water Co.,Ltd. Address before: Xikang Road, Gulou District of Nanjing city of Jiangsu Province, No. 1 210024 Patentee before: HOHAI University |
|
| TR01 | Transfer of patent right |
