CN107397369B - Seat tool - Google Patents
Seat tool Download PDFInfo
- Publication number
- CN107397369B CN107397369B CN201610364764.8A CN201610364764A CN107397369B CN 107397369 B CN107397369 B CN 107397369B CN 201610364764 A CN201610364764 A CN 201610364764A CN 107397369 B CN107397369 B CN 107397369B
- Authority
- CN
- China
- Prior art keywords
- clamping block
- backrest
- seat frame
- seat
- frame
- Prior art date
- Legal status (The legal status is an assumption and is not a legal conclusion. Google has not performed a legal analysis and makes no representation as to the accuracy of the status listed.)
- Active
Links
- 230000007246 mechanism Effects 0.000 claims abstract description 41
- 230000033001 locomotion Effects 0.000 claims abstract description 12
- 238000013016 damping Methods 0.000 claims description 24
- 230000005540 biological transmission Effects 0.000 claims description 16
- 230000000149 penetrating effect Effects 0.000 claims description 4
- 210000005239 tubule Anatomy 0.000 claims 3
- 238000006243 chemical reaction Methods 0.000 description 10
- 238000000034 method Methods 0.000 description 7
- 230000008569 process Effects 0.000 description 7
- 238000006073 displacement reaction Methods 0.000 description 3
- 210000002414 leg Anatomy 0.000 description 3
- 230000009471 action Effects 0.000 description 2
- 239000011248 coating agent Substances 0.000 description 2
- 238000000576 coating method Methods 0.000 description 2
- 230000036541 health Effects 0.000 description 2
- 230000001360 synchronised effect Effects 0.000 description 2
- 238000007792 addition Methods 0.000 description 1
- 230000009286 beneficial effect Effects 0.000 description 1
- 210000001217 buttock Anatomy 0.000 description 1
- 238000010586 diagram Methods 0.000 description 1
- 230000000694 effects Effects 0.000 description 1
- 230000005802 health problem Effects 0.000 description 1
- 238000009434 installation Methods 0.000 description 1
- 238000010030 laminating Methods 0.000 description 1
- 230000013011 mating Effects 0.000 description 1
- 229910052751 metal Inorganic materials 0.000 description 1
- 239000002184 metal Substances 0.000 description 1
- 150000002739 metals Chemical class 0.000 description 1
- 238000012986 modification Methods 0.000 description 1
- 230000004048 modification Effects 0.000 description 1
- 230000000276 sedentary effect Effects 0.000 description 1
- 238000006467 substitution reaction Methods 0.000 description 1
- 239000000725 suspension Substances 0.000 description 1
Images
Classifications
-
- A—HUMAN NECESSITIES
- A47—FURNITURE; DOMESTIC ARTICLES OR APPLIANCES; COFFEE MILLS; SPICE MILLS; SUCTION CLEANERS IN GENERAL
- A47C—CHAIRS; SOFAS; BEDS
- A47C7/00—Parts, details, or accessories of chairs or stools
- A47C7/02—Seat parts
-
- A—HUMAN NECESSITIES
- A47—FURNITURE; DOMESTIC ARTICLES OR APPLIANCES; COFFEE MILLS; SPICE MILLS; SUCTION CLEANERS IN GENERAL
- A47C—CHAIRS; SOFAS; BEDS
- A47C7/00—Parts, details, or accessories of chairs or stools
-
- A—HUMAN NECESSITIES
- A47—FURNITURE; DOMESTIC ARTICLES OR APPLIANCES; COFFEE MILLS; SPICE MILLS; SUCTION CLEANERS IN GENERAL
- A47C—CHAIRS; SOFAS; BEDS
- A47C7/00—Parts, details, or accessories of chairs or stools
- A47C7/36—Supports for the head or the back
- A47C7/40—Supports for the head or the back for the back
- A47C7/48—Supports for the head or the back for the back of freely-rotatable type
-
- Y—GENERAL TAGGING OF NEW TECHNOLOGICAL DEVELOPMENTS; GENERAL TAGGING OF CROSS-SECTIONAL TECHNOLOGIES SPANNING OVER SEVERAL SECTIONS OF THE IPC; TECHNICAL SUBJECTS COVERED BY FORMER USPC CROSS-REFERENCE ART COLLECTIONS [XRACs] AND DIGESTS
- Y02—TECHNOLOGIES OR APPLICATIONS FOR MITIGATION OR ADAPTATION AGAINST CLIMATE CHANGE
- Y02T—CLIMATE CHANGE MITIGATION TECHNOLOGIES RELATED TO TRANSPORTATION
- Y02T50/00—Aeronautics or air transport
- Y02T50/40—Weight reduction
Landscapes
- Chairs For Special Purposes, Such As Reclining Chairs (AREA)
Abstract
The invention relates to a seat, which comprises a backrest, a seat frame and armrest frames on two sides of the seat frame, wherein the left side and the right side of the backrest are respectively hinged with the two armrest frames, the two sides of the rear end of the seat frame are respectively hinged with the left side and the right side of the backrest, the positions of the hinging points of the backrest and the armrest frames and the hinging points of the seat frame and the backrest are different, the front end of the seat frame is rotationally connected with the armrest frames and is simultaneously in sliding connection, the seat frame is driven to move back and forth when the backrest rotates, and an elastic reset mechanism is arranged at the position of the hinging point of the backrest and the armrest frames or at the position of the hinging point of the seat frame and the backrest; the elastic reset mechanism is arranged at the hinge point position of the backrest and the armrest frame or the hinge point position of the seat frame and the backrest, adopts a hidden design, provides restoring force for the movement of the backrest and the seat frame on the premise of not occupying extra space, and enables the backrest to be reset even in an idle state when the backrest is turned over, so that the whole design is simpler, and the volume is saved.
Description
Technical Field
The invention relates to a seat, in particular to a leisure chair.
Background
When people are in indoor and outdoor leisure and entertainment, leisure chairs are frequently used; the back rest of a typical leisure chair may be inclined rearward to provide an optimal relaxed posture.
At present, the matching relation between the sizes of the human and machine of the backrest and the seat surface is not studied, and in the process of tilting, the backrest, particularly the waist rest, of the seat is separated from the waist of a human body, and a suspension gap is directly formed between the backrest and the waist rest, so that the seat loses the support on the waist of the human body in a tilting state, namely the 'waist running' which is commonly called by people, the human spine cannot be effectively supported, the health problem of sedentary sitting is caused, and the rest cannot be well relaxed; meanwhile, in the tilting process, the buttocks and the seat surface are relatively fixed, and the backrest is rubbed upwards relative to the back of a human body, so that discomfort of rubbing back and pulling clothes is caused, and an elegant feeling is also caused.
Therefore, to the above problem, a leisure chair with synchronous movement of the seat back needs to be designed to solve the above problem, but an elastic reset mechanism needs to be added to help the leisure chair to reset, and the leisure chair is generally wide in design, and the volume of the seat frame part can be increased to a great extent by resetting the tension spring, so that the space is not saved enough, and the whole is not attractive, therefore, the leisure chair with synchronous movement of the seat back and space saving is designed to be the problem which needs to be solved currently.
Disclosure of Invention
In order to solve the technical problems, the invention aims to provide a healthy seat with a backrest and a cushion capable of being linked, through the linkage design of the backrest and a seat frame, when a human body sits on a chair for leaning up, the relative rotation centers of the backrest and the seat frame are close to the relative rotation centers of the back and legs of the human body, and the backrest and the seat frame form concentric circle motions in the process of tilting up the backrest; namely, the backrest and the seat surface of the chair are always attached to the human body, and no relative displacement is generated. The waist support of the chair always fits the waist of the human body, so that the occurrence of the 'waist running' condition is effectively avoided, and the health of the human body is facilitated; meanwhile, the elastic reset mechanism is arranged at the hinge point position of the backrest and the armrest frame or the hinge point position of the seat frame and the backrest, the hidden design is adopted, the restoring force is provided for the movement of the backrest and the seat frame on the premise of not occupying extra space, and even in an idle state, the backrest can be reset by overturning, so that the whole design is simpler, and the volume is saved.
In order to achieve the above purpose, the present invention adopts the following technical scheme:
the utility model provides a seat utensil, includes the handrail frame of back, seat frame and seat frame both sides, the back left and right sides is articulated with two handrail frames respectively, and seat frame rear end both sides are articulated with the back left and right sides respectively, and the hinge point of back and handrail frame is different with the hinge point position of seat frame and back, and sliding connection drives the seat frame back-and-forth movement when the seat frame front end rotates with handrail frame to be connected again, is equipped with elastic reset mechanism in the hinge point position of back and handrail frame or the hinge point position department of seat frame and back.
Preferably, the elastic reset mechanism comprises a coil spring, a fixing pin arranged at the position of the corresponding hinge point and a convex column connected with the backrest, one end of the coil spring is connected with the fixing pin, the other end of the coil spring is abutted with the convex column, and the backrest drives the convex column to enable the coil spring to deform and generate elastic force when rotating. The elastic reset mechanism adopts a coil spring, is concentrically arranged at the position of the hinge point, is of hidden design, is ingenious in design, does not occupy extra space, and can promote the coil spring to deform and generate a restoring force when the backrest rotates.
Preferably, the back rest is characterized by further comprising L-shaped connecting plates symmetrically arranged on the left side and the right side of the back rest, two brackets are symmetrically arranged on the two sides of the rear end of the seat frame, one arm of the L-shaped connecting plate is fixedly connected with the back rest, the other arm of the L-shaped connecting plate is hinged with the brackets, and the intersection of the two arms of the L-shaped connecting plate is hinged with the armrest frame. The backrest is connected with the armrest frame and the seat frame in a transit way through the L-shaped connecting plate, so that the optimal design of parameters such as angles, force arms and the like is facilitated, the relative rotation centers of the backrest and the seat frame are close to the relative rotation centers of the back and the legs of a human body, and the backrest and the seat frame form concentric circle motions in the tilting process of the backrest.
Preferably, the fixing pin is arranged at the hinge position of the other arm of the L-shaped connecting plate and the bracket as a rotating fulcrum, the convex column is arranged on the other arm of the L-shaped connecting plate, the fixing pin is provided with a slot, one end of the coil spring is inserted into the slot, the other end of the coil spring forms a hook, and the hook is hooked on the convex column. The fixing pin means that the fixing pin does not rotate, so that one end of the coil spring can be kept fixed and does not rotate; one end of the coil spring is directly clamped in the slot, and the installation is more convenient.
Preferably, the seat frame is obliquely arranged relative to the horizontal plane, a sliding rod which is obliquely arranged relative to the horizontal plane is respectively arranged below two sides of the seat frame, and the armrest frame is connected with a damping adjusting mechanism for supporting the sliding rod and adjusting the sliding friction force of the sliding rod. The seat frame is connected with the armrest frame in a sliding way through the sliding rod, so that the sliding is smoother; the slide bar is arranged obliquely, and the slide bar is also arranged in a sliding manner, so that the back rest can be tilted to a larger angle.
The seat frame is inclined relative to the horizontal plane, and the rear end of the seat frame is low and the front end is high, so that the rear end of the seat frame can be lifted when the backrest is inclined, meanwhile, the weight of a person is applied to the sliding rod through the seat frame, and the sliding rod has an inclined slope to divide the weight of the person into a downward pressure and a backward reaction force. Downward pressure is applied to the damping adjustment mechanism, and the backward reaction force is conducted to the rebound force of the backrest; the force components exerted on the damping adjustment mechanism by people with different weights are different, so that the friction force and the backward reaction force of the damping adjustment mechanism are also different; the tightness of the damping adjusting mechanism can also adjust the friction force; the backward reaction force is transmitted to the backrest, and the feedback thrust of the backrest is different when people with different weights recline the backrest; meanwhile, the force of the back to be reversed and the backward reaction force on the sliding rod are balanced relatively through the cooperation of the elastic reset mechanism and the damping adjusting mechanism, so that the back can be stopped at any angle, and the back is supported by a proper force, and the comfort is improved.
Preferably, the damping adjusting mechanism comprises an adjusting transmission rod, a first clamping block, a second clamping block and a fixed support which plays a supporting role on the damping adjusting mechanism and a sliding rod, the fixed support is connected with the handrail frame, the first clamping block and the second clamping block are sleeved on the fixed support, the sliding rod is arranged between the first clamping block and the second clamping block in a penetrating mode, a sliding groove matched with the sliding rod is formed in the inner side face, opposite to the first clamping block and the second clamping block, of the sliding rod, an adjusting head is connected with the adjusting transmission rod after penetrating through the fixed support, the first clamping block and the second clamping block, the adjusting head rotates synchronously with the adjusting transmission rod, the adjusting head rotates in a direction to press the second clamping block to enable the first clamping block and the second clamping block to clamp the sliding rod, and the adjusting head rotates in a reverse direction to enable the first clamping block and the second clamping block to be loosened. The interval between the first clamping block and the second clamping block, namely the tightness degree, determines the friction force of the sliding rod, and when the friction force is large enough, the sliding rod is locked, so that the sliding rod does not slide any more.
Preferably, the outer side surface of the second clamping block is provided with a positioning block matched with the adjusting head, the surface of the positioning block opposite to the adjusting head is provided with a plurality of positioning steps which are spirally distributed from shallow to deep, the adjusting head is provided with a spiral end surface, the spiral end surface is provided with a boss matched with the positioning steps, and the adjusting head rotates to enable the boss to be clamped into the corresponding positioning step. The boss is clamped into different positioning steps when the adjusting head rotates, so that the distance between the first clamping block and the second clamping block is changed, the clamping force of the first clamping block and the second clamping block on the sliding rod is changed, the positioning steps have a positioning effect, and the boss can be kept at the corresponding positions; in addition, the cooperation of boss and location step can increase and adjust the feel for form the auto-lock when two helicoids laminating.
Preferably, the fixing support and the sliding rod are vertically arranged, the fixing support is a hollow sleeve, the sleeve is divided into a thick pipe and a thin pipe, a step is formed at the junction of the thick pipe and the thin pipe, the first clamping block and the second clamping block are sleeved on the thin pipe, and the first clamping block is propped against the step. The fixed support and the sliding rod are vertically arranged, so that the first clamping block and the second clamping block are kept fixed in the circumferential direction of the fixed support, and the adjusting head can be clamped into different gears in an arbitrary rotation mode; the fixed support is divided into two sections of thickness, so that the first clamping block and the second clamping block are clamped at the step, and are fixed in the length direction of the fixed support.
Preferably, one ends of the first clamping block and the second clamping block are connected through screws, and a pressure spring is arranged between the other ends of the first clamping block and the second clamping block. The positioning block is clamped into the deeper positioning step under the rotation action of the adjusting head to inwards extrude the second clamping block, the second clamping block further extrudes the sliding rod, and when the adjusting head is loosened, namely the boss is clamped into the shallower positioning step, the second clamping block is reset under the elastic action of the pressure spring.
Preferably, the sliding rod is sleeved with a bushing, the bushing is clamped between the first clamping block and the second clamping block, and a notch which is arranged along the length direction of the bushing and penetrates through the whole bushing is formed in the outer wall of the bushing. The contact surface with the slide bar can be increased by the arrangement of the bushing, and the bushing is provided with a notch which can deform when being extruded, so that the coating force on the slide bar is increased.
Preferably, the bracket is provided with a limiting waist slot for limiting the rotation angle of the backrest or the movement stroke of the seat frame, and the convex column is simultaneously inserted in the limiting waist slot.
Preferably, the hinge point of the backrest and the armrest frame is positioned at a position 10-15 cm in front of the waist point of the backrest, and the linear distance between the hinge point of the backrest and the armrest frame and the seat frame is 15-20 cm. The waist point is the place where the back of the human body is contacted with the backrest, the position is arranged in such a way that the hinging point of the backrest and the armrest frame is close to the spine of the human body, when the human body sits on the chair for leaning upwards, the relative rotation center of the backrest and the seat frame is the hinging point of the backrest and the armrest frame is close to the relative rotation center of the back and the legs of the human body, and the backrest and the armrest frame form concentric circle motions in the process of lifting the backrest; namely, the backrest and the seat surface of the chair are always attached to the human body, and no relative displacement is generated.
Compared with the prior art, the design concept and beneficial effects of the invention are as follows:
according to the invention, through the linkage design of the backrest and the seat frame, the seat frame moves synchronously with the backrest in the tilting process of a user, and the seat can always play a role in supporting the waist of a human body, so that the occurrence of the waist running condition is effectively avoided, and the human body health is facilitated; meanwhile, due to the design that the cushion and the backrest synchronously move, the backrest is always clung to the back of a human body to avoid displacement in the tilting process of a user, and the comfort is ensured.
Meanwhile, the seat frame is inclined, so that the tilting angle of the backrest is increased, and a person can rest more relaxed; meanwhile, the elastic reset mechanism is arranged at the hinge point position of the backrest and the armrest frame or the hinge point position of the seat frame and the backrest, the hidden design is adopted, the restoring force is provided for the movement of the backrest and the seat frame on the premise of not occupying extra space, and even in an idle state, the backrest can be reset by overturning, so that the whole design is simpler, and the volume is saved.
Still further, a slide bar is provided below the seat frame in an inclined arrangement, and the weight of the person is applied to the slide bar through the seat frame, and the slide bar divides the weight of the person into a downward pressure and a rearward reaction force. Downward pressure is applied to the damping adjustment mechanism, and the backward reaction force is conducted to the rebound force of the backrest; the force components exerted on the damping adjustment mechanism by people with different weights are different, so that the friction force and the backward reaction force of the damping adjustment mechanism are also different; the tightness of the damping adjusting mechanism can also adjust the friction force; the backward reaction force is transmitted to the backrest, and the feedback thrust of the backrest is different when people with different weights recline the backrest; meanwhile, the force of the back rest which is reversed and the backward reaction force on the slide bar are relatively balanced through the cooperation of the elastic reset mechanism and the damping adjustment mechanism, so that the back rest can be stopped at any angle, and the back rest is supported by a proper force, thereby improving the comfort; the damping adjusting mechanism adjusts the friction force of the seat when the seat is turned up so as to be suitable for people with different weights.
Drawings
FIG. 1 is a schematic view of the seat of the present invention in an initial state;
FIG. 2 is a schematic view of the seat of the present invention in a reclined position of the back;
FIG. 3 is a schematic perspective view of the seat of the present invention in an initial state;
fig. 4 is an enlarged view of a portion a of fig. 3;
FIG. 5 is a schematic perspective view of the seat in the reclined state of the backrest according to the present invention;
FIG. 6 is an exploded view of the seat assembly of the present invention;
FIG. 7 is an exploded view of the elastic return mechanism;
FIG. 8 is a partial cross-sectional view of the resilient return mechanism;
FIG. 9 is a schematic diagram of the mating structure of the damping adjustment mechanism and the slide bar;
FIG. 10 is a partial cross-sectional view of the damping adjustment mechanism mated with the slide bar;
FIG. 11 is an exploded view of the damping adjustment mechanism and slide bar;
FIG. 12 is an exploded view of the damping adjustment mechanism at an alternative angle to the slide bar.
Detailed Description
The following describes the embodiments of the present invention in detail with reference to the drawings.
The invention firstly defines the reference orientation of each component, the front of the seat is the front end when the seat is used normally, the rear of the seat comprises the rear end of the area where the backrest is positioned, and when a person sits on the seat and leans backwards, the backrest rotates to drive the seat frame to move forwards.
In the present invention, unless explicitly specified and limited otherwise, the terms "mounted," "connected," "secured," and the like are to be construed broadly and may be, for example, fixedly connected, detachably connected, or integrally connected; can be directly connected or indirectly connected through an intermediate medium. The specific meaning of the above terms in the present invention can be understood by those of ordinary skill in the art according to the specific circumstances.
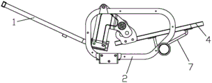
The seat as shown in fig. 1 to 8 may also be called a leisure chair, comprising a backrest 1, a seat frame 4 and armrest frames 2 on two sides of the seat frame 4, wherein the two armrest frames 2 are connected through a seat body supporting frame 3, the left and right sides of the backrest 1 are respectively hinged with the two armrest frames 2, the two sides of the rear end of the seat frame 4 are respectively hinged with the left and right sides of the backrest 1, the positions of the hinging points of the backrest 1 and the armrest frames 2 and the hinging points of the seat frame 4 and the backrest 1 are different, the seat frame 4 is obliquely arranged relative to the horizontal plane, the front end of the seat frame 4 is connected with the armrest frames 2 in a rotating way and is also connected in a sliding way, the seat frame 4 is driven to move back and forth when the backrest 1 rotates, and an elastic reset mechanism 6 is arranged at the position of the hinging point of the backrest 1 and the armrest frames 2 or the hinging point of the seat frame 4 and the backrest 1.
Specifically, the back rest further comprises L-shaped connecting plates 10 symmetrically arranged on the left side and the right side of the back rest 1, two brackets 8 are symmetrically arranged on the two sides of the rear end of the seat frame 4, one arm 16 of each L-shaped connecting plate 10 is fixedly connected with the back rest 1, the other arm 17 of each L-shaped connecting plate 10 is hinged with the corresponding bracket 8, and an intersection 18 of the two arms of each L-shaped connecting plate 10 is hinged with the rear end of the corresponding armrest frame 2.
As shown in fig. 6, 7 and 8, the elastic restoring mechanism 6 is arranged at the position of the hinge point of the seat frame 4 and the backrest 1, that is, at the position where the other arm 17 of the L-shaped connecting plate 10 is hinged with the bracket 8, and as shown in fig. 7 and 8, the elastic restoring mechanism 6 comprises a coil spring 12, a fixing pin 19 which is arranged at the position where the other arm 17 of the L-shaped connecting plate 10 is hinged with the bracket 8 and is used as a pivot, and a convex column 20 connected with the backrest 1, in particular, the convex column 20 is fixedly arranged on the other arm 17 of the L-shaped connecting plate 10; one end of the coil spring 12 is connected with the fixed pin 19, the other end of the coil spring 12 is abutted with the convex column 20, and the convex column 20 is driven to deform to generate elasticity when the backrest 1 rotates; still further, a slot 21 is formed on the fixing pin 19, one end of the coil spring 12 is inserted into the slot, the other end of the coil spring 12 forms a hook 22, and the hook 22 is hooked on the convex column 20; the end of the fixing pin 19 is locked by the nut 13 and the R pin 14; in order to avoid the friction between metals, a plastic gasket 9 is respectively arranged at two sides of the coil spring 12; the bracket 8 is provided with a limiting waist groove 23 for limiting the rotation angle of the backrest 1 or the movement travel of the seat frame 4, and the convex column 20 is simultaneously inserted into the limiting waist groove 23.
As shown in fig. 2, 3 and 5, a slide bar 7 which is obliquely arranged relative to the horizontal plane is respectively arranged below two sides of the seat frame 4, and a damping adjusting mechanism 5 for supporting the slide bar 7 and adjusting the sliding friction force of the slide bar 7 is connected to the armrest frame 2. The front end of the sliding rod 7 is fixedly connected with the seat frame 4, and the rear end of the sliding rod 7 is fixedly connected with the seat frame 4 after being bent.
As shown in fig. 9 to 12, the damping adjustment mechanism 5 includes an adjustment transmission rod 24, a first clamping block 26, a second clamping block 27, and a fixing bracket 28 for supporting the damping adjustment mechanism 5 and the slide rod 7, one end of the adjustment transmission rod 24 is provided with an adjustment handle 25, the fixing bracket 28 is connected with the armrest frame 2, the first clamping block 26 and the second clamping block 27 are sleeved on the fixing bracket 28, the slide rod 7 is arranged between the first clamping block 26 and the second clamping block 27 in a penetrating manner, sliding grooves 29 matched with the slide rod 7 are formed in the inner side surfaces of the first clamping block 26 and the second clamping block 27, the other end of the adjustment transmission rod 24 passes through the fixing bracket 28, the first clamping block 26 and the second clamping block 27, an adjustment head 30 is connected with the second clamping block 27, the adjustment head 30 rotates synchronously with the adjustment transmission rod 24, the other end of the adjustment transmission rod 24 is flat, the other end of the adjustment transmission rod 24 is correspondingly provided with a mounting groove 31 matched with the other end of the adjustment transmission rod 24 in shape and size, the other end of the adjustment transmission rod 24 is inserted into the mounting groove 31 and fixed by screws, and the adjustment head 30 rotates towards one direction to press the second clamping block 26, the second clamping block 26 and the second clamping block 27 is opposite to the first clamping block 27 and the second clamping block 27 rotates towards the first clamping block 27, and the second clamping block 27 is released towards the first clamping direction, and the second clamping block is released.
Specifically, the fixing support 28 and the sliding rod 7 are vertically arranged, the fixing support 28 is a hollow sleeve, the sleeve is divided into a thick pipe 32 and a thin pipe 33, a step 34 is formed at the junction of the thick pipe 32 and the thin pipe 33, the first clamping block 26 and the second clamping block 27 are sleeved on the thin pipe 33, and the first clamping block 26 abuts against the step 34.
Still further, the outer side surface of the second clamping block 27 is provided with a positioning block 35 matched with the adjusting head 30, the surface of the positioning block 35 opposite to the adjusting head 30 is provided with a plurality of positioning steps 36 which are spirally distributed from shallow to deep, the adjusting head 30 is provided with a spiral end surface 37, the spiral end surface 37 is provided with a boss 38 matched with the positioning steps 36, and the adjusting head 30 rotates to enable the boss 38 to be clamped into the corresponding positioning steps 36.
One ends of the first and second clamping blocks 26 and 27 are connected through screws, and a pressure spring 39 is arranged between the other ends of the first and second clamping blocks 26 and 27.
The slide bar 7 is sleeved with a bushing 40, the bushing 40 is clamped between the first clamping block 26 and the second clamping block 27, and a notch 41 which is arranged along the length direction of the bushing 40 and penetrates through the whole bushing 40 is arranged on the outer wall of the bushing 40; when the bushing 40 is pressed by the second clamping block 27, shrinkage occurs, and the coating force on the sliding rod 7 is increased.
When the backrest 1 leans backwards, the seat frame 4 and the slide rod 7 move forwards, and meanwhile, the rear end of the seat frame 4 is lifted upwards, so that the front ends of the seat frame 4 and the slide rod 7 rotate at a small angle to drive the first clamping blocks 26 and the second clamping blocks 27, the adjusting head 30 and the adjusting transmission rod 24 to synchronously rotate, and therefore the rotation angle is small, and the positioning of the boss 38 by the positioning step 36 is not influenced.
The foregoing description of the invention is merely exemplary of the invention. Those skilled in the art may make various modifications or additions to the described embodiments or substitutions, without departing from the scope of the invention as defined in the accompanying claims.
Claims (8)
1. The utility model provides a seat utensil, includes back, seat frame and handrail frame of seat frame both sides, its characterized in that: the back rest is hinged with the two armrest frames respectively, the two sides of the rear end of the seat frame are hinged with the left side and the right side of the back rest respectively, the positions of the hinge points of the back rest and the armrest frames are different from the positions of the hinge points of the seat frame and the back rest, the front end of the seat frame is connected with the armrest frames in a rotating way and is also connected in a sliding way, the seat frame is driven to move back and forth when the back rest rotates, and an elastic reset mechanism is arranged at the position of the hinge point of the back rest and the armrest frames or the position of the hinge point of the seat frame and the back rest; the elastic reset mechanism comprises a coil spring, a fixed pin arranged at the position of a corresponding hinge point and a convex column connected with the backrest, one end of the coil spring is connected with the fixed pin, the other end of the coil spring is abutted with the convex column, and the backrest drives the convex column to promote the coil spring to deform so as to generate elasticity when rotating; the back rest is characterized by also comprising L-shaped connecting plates symmetrically arranged on the left side and the right side of the back rest, wherein two brackets are symmetrically arranged on the two sides of the rear end of the seat frame, one arm of the L-shaped connecting plate is fixedly connected with the back rest, the other arm of the L-shaped connecting plate is hinged with the brackets, and the intersection of the two arms of the L-shaped connecting plate is hinged with the armrest frame; the fixed pin is used as a rotating fulcrum and is arranged at the hinge position of the other arm of the L-shaped connecting plate and the bracket, the convex column is arranged on the other arm of the L-shaped connecting plate, the fixed pin is provided with a slot, one end of the coil spring is inserted into the slot, the other end of the coil spring forms a hook, and the hook is hooked on the convex column; the hinge point of the backrest and the armrest frame is positioned at the position 10-15 cm in front of the waist point of the backrest, and the linear distance between the hinge point of the backrest and the armrest frame and the seat frame is 15-20 cm.
2. A seat as claimed in claim 1, wherein: the seat frame is obliquely arranged relative to the horizontal plane, a sliding rod which is obliquely arranged relative to the horizontal plane is respectively arranged below two sides of the seat frame, and the armrest frame is connected with a damping adjusting mechanism which is used for supporting the sliding rod and adjusting the sliding friction force of the sliding rod.
3. A seat as claimed in claim 2, wherein: the damping adjusting mechanism comprises an adjusting transmission rod, a first clamping block, a second clamping block and a fixed support which plays a supporting role on the damping adjusting mechanism and a sliding rod, the fixed support is connected with the handrail frame, the first clamping block and the second clamping block are sleeved on the fixed support, the sliding rod is arranged between the first clamping block and the second clamping block in a penetrating mode, a sliding groove matched with the sliding rod is formed in the inner side face, opposite to the first clamping block and the second clamping block, of the adjusting transmission rod, an adjusting head is connected with the adjusting transmission rod after the adjusting transmission rod passes through the fixed support, the first clamping block and the second clamping block, the adjusting head rotates in a direction to further press the second clamping block to enable the first clamping block and the second clamping block to clamp the sliding rod, and the adjusting head rotates in a reverse direction to enable the first clamping block and the second clamping block to be loosened.
4. A seat according to claim 3, wherein: the outer side surface of the second clamping block is provided with a positioning block matched with the adjusting head, the surface of the positioning block opposite to the adjusting head is provided with a plurality of positioning steps which are spirally distributed from shallow to deep, the adjusting head is provided with a spiral end surface, a boss matched with the positioning steps is arranged on the spiral end surface, and the adjusting head rotates to enable the boss to be clamped into the corresponding positioning step.
5. A seat according to claim 3, wherein: the fixed bolster and slide bar are perpendicular setting, the fixed bolster be hollow sleeve pipe, and the sleeve pipe divide into thick pipe and tubule two sections, thick pipe and the juncture of tubule form the step, first clamp splice, second clamp splice cover are established on the tubule, and first clamp splice offsets with the step.
6. A seat according to claim 3, wherein: one ends of the first clamping block and the second clamping block are connected through screws, and a pressure spring is arranged between the other ends of the first clamping block and the second clamping block.
7. A seat according to claim 3, wherein: the sliding rod is sleeved with a bushing, the bushing is clamped between the first clamping block and the second clamping block, and a notch which is arranged along the length direction of the bushing and penetrates through the whole bushing is formed in the outer wall of the bushing.
8. A seat as claimed in claim 1, wherein: the support is provided with a limiting waist slot for limiting the rotation angle of the backrest or the movement stroke of the seat frame, and the convex column is simultaneously inserted in the limiting waist slot.
Priority Applications (1)
| Application Number | Priority Date | Filing Date | Title |
|---|---|---|---|
| CN201610364764.8A CN107397369B (en) | 2016-05-20 | 2016-05-20 | Seat tool |
Applications Claiming Priority (1)
| Application Number | Priority Date | Filing Date | Title |
|---|---|---|---|
| CN201610364764.8A CN107397369B (en) | 2016-05-20 | 2016-05-20 | Seat tool |
Publications (2)
| Publication Number | Publication Date |
|---|---|
| CN107397369A CN107397369A (en) | 2017-11-28 |
| CN107397369B true CN107397369B (en) | 2023-06-02 |
Family
ID=60389620
Family Applications (1)
| Application Number | Title | Priority Date | Filing Date |
|---|---|---|---|
| CN201610364764.8A Active CN107397369B (en) | 2016-05-20 | 2016-05-20 | Seat tool |
Country Status (1)
| Country | Link |
|---|---|
| CN (1) | CN107397369B (en) |
Families Citing this family (5)
| Publication number | Priority date | Publication date | Assignee | Title |
|---|---|---|---|---|
| CN109907569B (en) * | 2017-12-12 | 2024-08-09 | 永艺家具股份有限公司 | Self-adaptive chair back |
| CN109124121B (en) * | 2018-09-10 | 2024-11-12 | 恒林家居股份有限公司 | Leisure chair and leisure chair frame |
| CN109864480B (en) * | 2019-03-08 | 2023-12-22 | 浙江粤强家具科技有限公司 | Swivel chair and linkage mechanism of backrest and seat plate thereof |
| CN113180953B (en) * | 2021-06-15 | 2022-09-13 | 宁波欣雷医疗设备有限公司 | Back lifting mechanism of nursing bed |
| CN115886477B (en) * | 2022-11-09 | 2023-11-28 | 佛山市精一家具有限公司 | Synchronous swinging seat |
Citations (11)
| Publication number | Priority date | Publication date | Assignee | Title |
|---|---|---|---|---|
| US6203101B1 (en) * | 1999-10-05 | 2001-03-20 | Ding-Guo Chou | Office chair armrest device |
| EP1247478A1 (en) * | 2001-04-04 | 2002-10-09 | Günter Veith | Seating and/or lying furniture |
| JP2004248980A (en) * | 2003-02-21 | 2004-09-09 | Kokuyo Co Ltd | Chair |
| CN2894446Y (en) * | 2006-01-25 | 2007-05-02 | 洪玉卿 | Chair structure |
| CN101296636A (en) * | 2004-07-08 | 2008-10-29 | 诺尔公司 | office chair |
| CN101912205A (en) * | 2010-07-30 | 2010-12-15 | 林长贞 | Leisure rocking chair |
| CN202641431U (en) * | 2012-06-28 | 2013-01-02 | 上海延锋江森座椅有限公司 | Adjustable mechanism for upper part of chair backrest |
| CN104840030A (en) * | 2015-03-26 | 2015-08-19 | 浙江永艺家具股份有限公司 | Seat and backrest linkage chair |
| CN104856488A (en) * | 2015-03-26 | 2015-08-26 | 浙江永艺家具股份有限公司 | Seat-backrest linkage mechanism |
| CN204635611U (en) * | 2015-03-26 | 2015-09-16 | 浙江永艺家具股份有限公司 | A kind of overturning-preventing seat back of the body interlock chair |
| CN205831513U (en) * | 2016-05-20 | 2016-12-28 | 安吉上工永艺五金制造有限公司 | Seat tool |
-
2016
- 2016-05-20 CN CN201610364764.8A patent/CN107397369B/en active Active
Patent Citations (11)
| Publication number | Priority date | Publication date | Assignee | Title |
|---|---|---|---|---|
| US6203101B1 (en) * | 1999-10-05 | 2001-03-20 | Ding-Guo Chou | Office chair armrest device |
| EP1247478A1 (en) * | 2001-04-04 | 2002-10-09 | Günter Veith | Seating and/or lying furniture |
| JP2004248980A (en) * | 2003-02-21 | 2004-09-09 | Kokuyo Co Ltd | Chair |
| CN101296636A (en) * | 2004-07-08 | 2008-10-29 | 诺尔公司 | office chair |
| CN2894446Y (en) * | 2006-01-25 | 2007-05-02 | 洪玉卿 | Chair structure |
| CN101912205A (en) * | 2010-07-30 | 2010-12-15 | 林长贞 | Leisure rocking chair |
| CN202641431U (en) * | 2012-06-28 | 2013-01-02 | 上海延锋江森座椅有限公司 | Adjustable mechanism for upper part of chair backrest |
| CN104840030A (en) * | 2015-03-26 | 2015-08-19 | 浙江永艺家具股份有限公司 | Seat and backrest linkage chair |
| CN104856488A (en) * | 2015-03-26 | 2015-08-26 | 浙江永艺家具股份有限公司 | Seat-backrest linkage mechanism |
| CN204635611U (en) * | 2015-03-26 | 2015-09-16 | 浙江永艺家具股份有限公司 | A kind of overturning-preventing seat back of the body interlock chair |
| CN205831513U (en) * | 2016-05-20 | 2016-12-28 | 安吉上工永艺五金制造有限公司 | Seat tool |
Also Published As
| Publication number | Publication date |
|---|---|
| CN107397369A (en) | 2017-11-28 |
Similar Documents
| Publication | Publication Date | Title |
|---|---|---|
| JP6641000B2 (en) | Chair structure and chair | |
| CN107397369B (en) | Seat tool | |
| EP2717742B1 (en) | Forward sliding reclining chair | |
| CN211559451U (en) | Waist support seat capable of improving comfort | |
| JP2024031988A (en) | Function single chair with self-adaptive interlocking control | |
| CN105902003B (en) | A kind of leisure chaise longue | |
| CN115413901A (en) | Chassis device of chair conforming to ergonomics | |
| CN210810058U (en) | Rocking chair and linkage type rocking chair framework thereof | |
| CN219803518U (en) | A lumbar support and a seat | |
| US9095218B1 (en) | Bottom plate structure of a chair | |
| CN216316672U (en) | Gravity self-adaptation sofa | |
| CN209106676U (en) | It is a kind of with the sliding armrest system of back-rest linked and with the leisure chaise longue of the device | |
| CN217592410U (en) | Extension device of functional seat | |
| CN113331620B (en) | Adjustable office chair for working on table | |
| CN216627955U (en) | Four-back waist-supporting learning chair | |
| CN107397364B (en) | Damping adjusting mechanism for leisure chair | |
| CN116268847A (en) | A waist support and a seat | |
| CN217524357U (en) | Elastic supporting structure of seat | |
| CN223380280U (en) | Lumbar and back support assembly and seat | |
| CN221153548U (en) | Leisure chair | |
| CN223111298U (en) | Cushion assembly and seat | |
| CN223111308U (en) | Chair seat | |
| CN223529158U (en) | A locking mechanism for lumbar support | |
| CN221997390U (en) | Adjustable chair back and chair with adjustable chair back | |
| CN223503917U (en) | Chair component and chair |
Legal Events
| Date | Code | Title | Description |
|---|---|---|---|
| PB01 | Publication | ||
| PB01 | Publication | ||
| SE01 | Entry into force of request for substantive examination | ||
| SE01 | Entry into force of request for substantive examination | ||
| GR01 | Patent grant | ||
| GR01 | Patent grant |