CN106959515B - Head-mounted display equipment - Google Patents
Head-mounted display equipment Download PDFInfo
- Publication number
- CN106959515B CN106959515B CN201710266679.2A CN201710266679A CN106959515B CN 106959515 B CN106959515 B CN 106959515B CN 201710266679 A CN201710266679 A CN 201710266679A CN 106959515 B CN106959515 B CN 106959515B
- Authority
- CN
- China
- Prior art keywords
- guide
- screw rod
- piece
- head
- guide rail
- Prior art date
- Legal status (The legal status is an assumption and is not a legal conclusion. Google has not performed a legal analysis and makes no representation as to the accuracy of the status listed.)
- Active
Links
- 230000005540 biological transmission Effects 0.000 claims abstract description 124
- 230000007246 mechanism Effects 0.000 claims abstract description 72
- 230000000712 assembly Effects 0.000 claims abstract description 8
- 238000000429 assembly Methods 0.000 claims abstract description 8
- 238000009434 installation Methods 0.000 claims description 36
- 210000001747 pupil Anatomy 0.000 claims description 5
- 238000000034 method Methods 0.000 description 25
- 230000033001 locomotion Effects 0.000 description 17
- 230000001179 pupillary effect Effects 0.000 description 15
- 230000008569 process Effects 0.000 description 13
- 230000000007 visual effect Effects 0.000 description 11
- 239000000428 dust Substances 0.000 description 4
- 238000010586 diagram Methods 0.000 description 3
- 230000006872 improvement Effects 0.000 description 2
- 238000004519 manufacturing process Methods 0.000 description 2
- 230000009286 beneficial effect Effects 0.000 description 1
- 230000008859 change Effects 0.000 description 1
- 238000005094 computer simulation Methods 0.000 description 1
- 238000006073 displacement reaction Methods 0.000 description 1
- 239000012943 hotmelt Substances 0.000 description 1
- 238000011900 installation process Methods 0.000 description 1
- 239000002184 metal Substances 0.000 description 1
- 238000012986 modification Methods 0.000 description 1
- 230000004048 modification Effects 0.000 description 1
- 230000002093 peripheral effect Effects 0.000 description 1
- 230000002441 reversible effect Effects 0.000 description 1
- 238000005096 rolling process Methods 0.000 description 1
- 230000001360 synchronised effect Effects 0.000 description 1
Images
Classifications
-
- G—PHYSICS
- G02—OPTICS
- G02B—OPTICAL ELEMENTS, SYSTEMS OR APPARATUS
- G02B27/00—Optical systems or apparatus not provided for by any of the groups G02B1/00 - G02B26/00, G02B30/00
- G02B27/01—Head-up displays
- G02B27/017—Head mounted
- G02B27/0172—Head mounted characterised by optical features
-
- G—PHYSICS
- G02—OPTICS
- G02B—OPTICAL ELEMENTS, SYSTEMS OR APPARATUS
- G02B27/00—Optical systems or apparatus not provided for by any of the groups G02B1/00 - G02B26/00, G02B30/00
- G02B27/01—Head-up displays
- G02B27/017—Head mounted
- G02B27/0176—Head mounted characterised by mechanical features
Landscapes
- Physics & Mathematics (AREA)
- General Physics & Mathematics (AREA)
- Optics & Photonics (AREA)
Abstract
本发明公开了一种头戴式显示设备,包括:并排设置且结构相同的两个镜筒组件;每个镜筒组件包括对应设置的镜片单元和显示屏单元,镜筒组件上还分别安装有第一导向传动机构和第二导向传动机构;第一导向传动机构与第一螺杆螺纹连接,第一螺杆旋转能使第一导向传动机构移动并带动镜筒组件相对另一镜筒组件移动;第二导向传动机构与第二螺杆螺纹连接,第二螺杆旋转能使第二导向传动机构移动并调节镜片单元和显示屏单元的间距。本发明实施例的头戴式显示设备通过在每个镜筒组件上安装第一导向传动机构和第二导向传动机构,实现了每个镜筒组件能够单独调节瞳距和视距,提高了调节精度及使用稳定性。
The invention discloses a head-mounted display device, comprising: two lens barrel assemblies arranged side by side with the same structure; each lens barrel assembly includes a corresponding lens unit and a display screen unit, and the lens barrel assemblies are respectively installed with The first guide transmission mechanism and the second guide transmission mechanism; the first guide transmission mechanism is threadedly connected with the first screw rod, and the rotation of the first screw rod can make the first guide transmission mechanism move and drive the lens barrel assembly to move relative to the other lens barrel assembly; The two guide transmission mechanisms are threadedly connected with the second screw rod, and the rotation of the second screw rod can move the second guide transmission mechanism and adjust the distance between the lens unit and the display screen unit. The head-mounted display device in the embodiment of the present invention realizes that each lens barrel assembly can adjust the interpupillary distance and the viewing distance independently by installing the first guide transmission mechanism and the second guide transmission mechanism on each lens barrel assembly, which improves the adjustment Accuracy and stability in use.
Description
技术领域technical field
本发明涉及显示设备技术领域,具体涉及一种头戴式显示设备。The present invention relates to the technical field of display devices, in particular to a head-mounted display device.
背景技术Background technique
虚拟现实技术是一种可以创建和体验虚拟世界的计算机仿真系统,它利用计算机生成一种模拟环境,是一种多源信息融合的交互式的三维动态视景和实体行为的系统仿真,使用户沉浸到该环境中。头戴式显示设备利用双眼的视差原理,通过透镜将左右画面分别投入到双眼,继而产生有空间感的立体视觉效果。由于不同用户瞳距的中心点位置相对头戴式显示设备不固定,并且同一用户双眼的视距可能不一致,而目前市场上的头戴式显示设备产品在实现用户的个性化的瞳距和视距调节方面只能左右镜筒调节同等距离,现有技术在瞳距调节时是两镜筒同步反向运动,每次调节的位移相等,例如,左镜筒向左移动3毫米,则右镜筒同步反向地向右移动3毫米,现有技术在视距调节时两镜筒中镜片与显示屏距离同步移动,例如,左镜片向左显示屏靠近或远离3毫米,则右镜片也向右显示屏同步靠近或远离3毫米,这样的调节方式会导致精度低,灵活性差等不足,不能满足某些用户的使用需求,用户体验不佳。Virtual reality technology is a computer simulation system that can create and experience a virtual world. It uses a computer to generate a simulated environment. Immerse yourself in that environment. The head-mounted display device utilizes the parallax principle of the two eyes, puts the left and right images into the two eyes respectively through the lens, and then produces a three-dimensional visual effect with a sense of space. Since the position of the center point of the interpupillary distance of different users is not fixed relative to the head-mounted display device, and the viewing distance of the eyes of the same user may be inconsistent, the current head-mounted display device products on the market are in the process of realizing the user's personalized interpupillary distance and viewing distance. In terms of distance adjustment, only the left and right lens barrels can be adjusted to the same distance. In the prior art, when the pupillary distance is adjusted, the two lens barrels move in reverse synchronously, and the displacement of each adjustment is equal. For example, if the left lens barrel moves 3 mm to the left, the right mirror The tubes move 3 mm to the right synchronously and reversely. In the prior art, when the viewing distance is adjusted, the lenses in the two lens tubes move synchronously with the distance from the display screen. The display is synchronously moved closer or farther away by 3 mm. This adjustment method will result in low precision, poor flexibility, etc., which cannot meet the needs of some users, and the user experience is not good.
发明内容Contents of the invention
本发明提供了一种操作使用灵活、调节精度高、结构稳定性强的头戴式显示设备。The invention provides a head-mounted display device with flexible operation and use, high adjustment precision and strong structural stability.
为了达到上述目的,本发明的技术方案是这样实现的:In order to achieve the above object, the technical solution of the present invention is achieved in that:
本发明提供了一种头戴式显示设备,包括:并排设置且结构相同的两个镜筒组件;The present invention provides a head-mounted display device, comprising: two lens barrel assemblies arranged side by side and having the same structure;
每个镜筒组件包括对应设置的镜片单元和显示屏单元,镜筒组件上还分别安装有第一导向传动机构和第二导向传动机构;Each lens barrel assembly includes a corresponding lens unit and a display screen unit, and a first guide transmission mechanism and a second guide transmission mechanism are respectively installed on the lens barrel assembly;
第一导向传动机构螺纹连接一第一螺杆,第一螺杆旋转能使第一导向传动机构移动沿第一螺杆轴向并带动镜筒组件相对另一镜筒组件移动,实现瞳距调节;The first guide transmission mechanism is threadedly connected to a first screw rod, and the rotation of the first screw rod can make the first guide transmission mechanism move along the axial direction of the first screw rod and drive the lens barrel assembly to move relative to the other lens barrel assembly, thereby realizing interpupillary distance adjustment;
第二导向传动机构螺纹连接一第二螺杆,第二螺杆旋转能使第二导向传动机构沿第二螺杆轴向移动进而带动显示屏单元移动,以调节镜片单元和显示屏单元的间距。The second guide transmission mechanism is threadedly connected with a second screw rod, and the rotation of the second screw rod can make the second guide transmission mechanism move axially along the second screw rod to drive the display screen unit to move, so as to adjust the distance between the lens unit and the display screen unit.
本发明的有益效果是:本发明提供的头戴式显示设备内针对每个镜筒组件对应安装第一导向传动机构和第二导向传动机构,第一导向传动机构连接第一螺杆,当第一螺杆旋转时带动第一导向传动机构沿第一螺杆轴向移动进而带动镜筒组件相对于另一镜筒组件移动,不仅实现了每个镜筒组件瞳距的单独调节而且左右镜筒组件的调节距离可以不一致,提高了调节的灵活性和调节精度。第二导向传动机构连接有第二螺杆,当第二螺杆旋转时带动第二导向传动机构沿第二螺杆轴向移动进而带动显示屏单元移动调节显示屏单元和镜片单元间的距离,不仅实现了每个镜筒组件单独的瞳距、视距调节,而且实现了左右镜筒不同的瞳距、视距调节,满足了双眼瞳距不同以及双眼屈光度不同的用户的调节需求,提高了调节灵活性,优化了用户体验。同时本实施例的这种头戴式显示设备结构简单,提高了使用稳定性。The beneficial effects of the present invention are: in the head-mounted display device provided by the present invention, a first guide transmission mechanism and a second guide transmission mechanism are correspondingly installed for each lens barrel assembly, and the first guide transmission mechanism is connected to the first screw rod. When the screw rotates, it drives the first guide transmission mechanism to move axially along the first screw and then drives the lens barrel assembly to move relative to the other lens barrel assembly, which not only realizes the individual adjustment of the interpupillary distance of each lens barrel assembly but also the adjustment of the left and right lens barrel assemblies The distance can be inconsistent, which improves the adjustment flexibility and adjustment accuracy. The second guide transmission mechanism is connected with a second screw rod, and when the second screw rod rotates, it drives the second guide transmission mechanism to move axially along the second screw rod, and then drives the display screen unit to move to adjust the distance between the display screen unit and the lens unit, which not only realizes Each lens barrel assembly has separate pupillary distance and visual distance adjustment, and realizes different pupillary distance and visual distance adjustments for the left and right lens barrels, which meets the adjustment needs of users with different interpupillary distances and diopters of both eyes, and improves adjustment flexibility. , to optimize the user experience. At the same time, the head-mounted display device of this embodiment has a simple structure and improves the stability of use.
附图说明Description of drawings
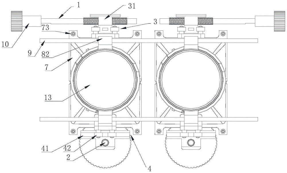
图1是本发明实施例一的局部结构的主视图;Fig. 1 is the front view of the local structure of
图2是本发明实施例一的局部结构的后视图;Fig. 2 is the rear view of the partial structure of
图3是本发明实施例一的局部结构的侧视图;Fig. 3 is a side view of a partial structure of
图4是本发明实施例一的结构分解示意图;FIG. 4 is a schematic diagram of an exploded structure of
图5是本发明实施例二的局部结构示意图。Fig. 5 is a partial structural schematic diagram of
具体实施方式Detailed ways
本发明的设计构思在于:针对现有技术中头戴式显示设备的瞳距和视距调节时双眼只能调节同等距离以及调节灵活性差等问题,本发明实施例提供了一种头戴式显示设备,该头戴式显示设备的每个镜筒组件都单独连接安装第一导向传动机构和第二导向传动机构,每个镜筒组件可单独调节视距和瞳距,从而满足了双眼瞳距不同或屈光度不相同用户的调节需求,优化了用户体验。同时设备结构简单,保证了使用稳定性。The design concept of the present invention is: to solve the problems that both eyes can only adjust the same distance and poor adjustment flexibility when adjusting the pupillary distance and viewing distance of the head-mounted display device in the prior art, the embodiment of the present invention provides a head-mounted display device. equipment, each lens barrel assembly of the head-mounted display device is individually connected and installed with the first guide transmission mechanism and the second guide transmission mechanism, and each lens barrel assembly can independently adjust the viewing distance and interpupillary distance, thus satisfying the The adjustment needs of users with different or different diopters optimize the user experience. At the same time, the structure of the device is simple, which ensures the stability of use.
目前的头戴式显示设备中也有一些针对屈光度和瞳距设置单独调节机构的方案。例如,基于推动齿条与滑动齿条配合并依靠调节推钮左右推动实现双眼瞳距或视距调节。但是这种现有技术缺点是:双眼瞳距调节时,依靠调节推钮,操作方式不灵活,利用推动齿条与滑动齿条配合调节精度低,并且操作时调节推钮跟随齿条上下波动,影响用户观看体验。此外,瞳距调节机构推钮设计,需要在外壳上开较大的孔以方便推钮左右移动,这不但影响产品外观的美观程度,而且容易进灰尘。由此,现有技术在手动调节瞳距或视距过程中,调节精度低,操作灵活性差,零件众多,结构复杂,组装困难,成本高。The current head-mounted display devices also have some solutions for setting separate adjustment mechanisms for diopter and interpupillary distance. For example, based on the cooperation of the push rack and the slide rack, and relying on the left and right push of the adjustment push button, the interpupillary distance or the sight distance can be adjusted. But the shortcoming of this existing technology is: when adjusting the interpupillary distance, rely on the adjustment push button, the operation mode is inflexible, and the adjustment accuracy is low by using the push rack and the sliding rack, and the adjustment push button fluctuates up and down following the rack during operation. affect the viewing experience of users. In addition, the design of the push button of the interpupillary distance adjustment mechanism requires a large hole in the casing to facilitate the left and right movement of the push button, which not only affects the appearance of the product, but also easily enters dust. Therefore, in the process of manually adjusting the pupillary distance or visual distance in the prior art, the adjustment accuracy is low, the operation flexibility is poor, there are many parts, the structure is complicated, the assembly is difficult, and the cost is high.
以下介绍本发明实施例的头戴式显示设备,并具体说明本实施例采用的解决现有技术问题的技术手段。The head-mounted display device according to the embodiment of the present invention will be introduced below, and the technical means adopted in this embodiment to solve the problems in the prior art will be described in detail.
这里,首先对瞳距和视距的含义进行解释,在没有特别说明的情况下,瞳距是指两眼瞳孔之间的距离,视距是指用户佩戴头戴式显示设备后镜片到显示屏的距离。Here, we first explain the meanings of pupillary distance and visual distance. Unless otherwise specified, pupillary distance refers to the distance between the pupils of the two eyes, and visual distance refers to the distance from the lens to the display screen after the user wears the head-mounted display device. distance.
实施例一Embodiment one
结合图1至图4,对本实施例的头戴式显示设备的结构进行具体说明。本实施例仅对于头戴显示设备中与本发明的改进密切关联的器件进行说明,可以理解,头戴显示设备中还包括有其他器件如主体支架、外壳,线缆,电路板等,这些器件的细节设计和工作原理等内容可以参见现有技术,在此不再赘述。The structure of the head-mounted display device of this embodiment will be described in detail with reference to FIGS. 1 to 4 . This embodiment only describes the devices in the head-mounted display device that are closely related to the improvement of the present invention. It can be understood that the head-mounted display device also includes other devices such as main body brackets, casings, cables, circuit boards, etc. These devices The details of the design and working principle can be referred to the prior art, and will not be repeated here.
参见图1,本实施例的头戴式显示设备包括并排设置且结构相同的两个镜筒组件(使用时,两个镜筒组件分别对应用户的左眼和右眼);Referring to FIG. 1, the head-mounted display device of this embodiment includes two lens barrel assemblies arranged side by side and having the same structure (when in use, the two lens barrel assemblies correspond to the user's left eye and right eye respectively);
结合图1和图2,本实施例一提供的设备中,每个镜筒组件包括对应设置的镜片单元13和显示屏单元12,镜筒组件上还分别安装有第一导向传动机构3和第二导向传动机构4;1 and 2, in the device provided by the first embodiment, each lens barrel assembly includes a
第一导向传动机构3与第一螺杆1螺纹连接,第一螺杆1旋转能使第一导向传动机构3沿着第一螺杆1轴向移动并带动镜筒组件相对另一镜筒组件移动,例如,在另一镜筒组件保持静止的状态下,当前被调节的镜筒组件移动以靠近或者远离另一镜筒组件,以实现瞳距调节;The first
第二导向传动机构4与第二螺杆2螺纹连接,第二螺杆2旋转能使第二导向传动机构4沿着第二螺杆2的轴向移动并带动显示屏单元12移动,例如,在安装有镜片单元的镜片支架保持静止的状态下,安装有显示屏单元的显示屏支架移动以靠近或者远离镜片单元,进而调节镜片单元13和显示屏单元12的间距(即,视距)。The second guide transmission mechanism 4 is threadedly connected with the
需要说明的是,本实施例的头戴式显示设备每个镜筒组件都包括有瞳距调节机构和视距调节机构,实际应用中,用户可以根据自己的需求选择进行瞳距或视距的调节。例如,在使用时用户想要调节瞳距而不想调节视距,则,可以单独转动第一螺杆,进而第一螺杆旋转使第一导向传动机构沿着第一螺杆轴向移动并带动镜筒组件相对另一镜筒组件移动实现瞳距调节。或者,在使用时用户想要调节视距而不想调节瞳距,用户可以转动第二螺杆,第二螺杆旋转使第二导向传动机构沿着第二螺杆的轴向移动并带动显示屏单元移动完成视距调节。It should be noted that each lens barrel assembly of the head-mounted display device in this embodiment includes an interpupillary distance adjustment mechanism and a viewing distance adjustment mechanism. In practical applications, users can choose to adjust the interpupillary distance or the viewing distance adjust. For example, if the user wants to adjust the interpupillary distance but does not want to adjust the viewing distance during use, the first screw can be rotated independently, and then the first screw rotates to make the first guide transmission mechanism move axially along the first screw and drive the lens barrel assembly The interpupillary distance can be adjusted by moving relative to another lens barrel assembly. Or, if the user wants to adjust the viewing distance but does not want to adjust the interpupillary distance during use, the user can rotate the second screw rod, and the rotation of the second screw rod will make the second guide transmission mechanism move along the axial direction of the second screw rod and drive the display unit to move to complete Sight adjustment.
参见图1和图2,在本实施例中,第一导向传动机构3包括:与第一螺杆1螺纹连接的第一导向件31和与第一导向件31配合安装的第一传动件32;第二导向传动机构4包括:与第二螺杆2螺纹连接的第二导向件41和与第二导向件41配合安装的第二传动件42;第一螺杆1旋转能使第一导向件31沿着第一螺杆1轴向移动并能带动第二传动件42相对第二导向件41同步移动,第二螺杆2旋转能使第二导向件41沿着第二螺杆2轴向移动并能带动第一传动件32相对第一导向件31同步移动。两组导向传动机构动作灵活可靠,不仅提高了调节精度,同时保证了操作过程的稳定性。Referring to Fig. 1 and Fig. 2, in this embodiment, the first
参见图4,在本实施例中,第一导向件31为第一导轨,第一导轨上设置有与第一螺杆1配合的第一内螺纹孔310,与头戴式显示设备壳体上的第一安装框架5配合安装的第一限位部311以及位于第一导轨的两侧且与第一传动件32配合安装的第一凹槽312(参见图3);Referring to Fig. 4, in this embodiment, the
第二导向件41为第二导轨,第二导轨上设置有与第二螺杆2配合的第二内螺纹孔410,与头戴式显示设备壳体上的第二安装框架6配合安装的第二限位部411以及位于第二导轨的两侧且与第二传动件42配合安装的第二凹槽412;安装后,第一导轨与第二导轨相对垂直,由此第一导向件和第二导向件的导向方向不同,参见图1,第一导向件的导向方向为左右方向,第二导向件的导向方向为前后方向。导轨上设置限位部,限位部与安装框架上的限位槽(槽的侧面上设置多个三角形的筋板,提高了限位槽的强度和承受力)配合共同发挥作用,对导轨的运动行程进行限位,保证了瞳距或视距调节时的行程可控以及调节稳定性。另外,导轨上设置凹槽,既方便与传动件(如滚轮或滑块)安装,供传动件在凹槽内滑动或滚动,又减小了摩擦力,提高调节的灵活性。需要说明的是,本实施例中,第一导向传动机构3和第二导向传动机构4的结构是完全相同的,只是两者在安装时的安装方向和位置不同。具体的,第一导向传动机构安装在镜筒组件的上方,第二导向传动机构安装在镜筒组件的下方,并且第一导向传动机构的导向方向和第二导向传动机构的导向方向相互垂直。如图4所示,第一导向传动机构的导向方向为前后方向,第二导向传动机构的导向方向为左右方向,导向方向相互垂直。The
本实施例之所以采用结构相同的第一导向传动机构和第二导向机构,一是为了便于安装,因为两者结构相同所以安装时不需要区分,降低了安装的难度。二是节省产品的成本,与生产或采购结构不同的两种零件相比,本实施例的这种方式明显成本更低。最后,导向传动机构采用结构相同的设计,也方便了零件损坏之后的替换。The reason why this embodiment adopts the first guide transmission mechanism and the second guide mechanism with the same structure is to facilitate installation. Because the two structures are the same, there is no need to distinguish them during installation, which reduces the difficulty of installation. The second is to save the cost of the product. Compared with two parts with different production or procurement structures, the cost of this method in this embodiment is obviously lower. Finally, the guide transmission mechanism adopts the same structure design, which also facilitates the replacement of parts after damage.
如图2和图4所示,第一传动件32为滚轮结构,包括:多个滚轮320和第一连接件321,As shown in Figure 2 and Figure 4, the
第一连接件321上设置有第一连接柱;滚轮320通过螺钉锁紧在第一连接柱上;具体的连接方式可以是,滚轮的中心开孔,螺钉穿过滚轮中心的孔旋进第一连接柱上的螺纹孔中,滚轮可相对螺钉转动。或者,滚轮通过螺栓与螺母配合固定在第一连接柱上,或者,滚轮通过卡簧固定在第一连接柱上;需要说明的是,滚轮和第一连接柱的连接方式可以根据实际需求进行选择,对此不作限制,而且,除了本实施例的连接方式外也可以采用其它的连接方式只要保证滚轮固定在连接柱上即可。The first connecting
第二传动件42与第一传动件32的结构相同。也就是说,如图3所示,第二传动件42也采用滚轮结构,滚轮结构包括:多个第二滚轮420和第二连接件421。The structure of the
需要说明的是,本实施例中每个导向传动机构包括的滚轮数量为四个,四个滚轮均匀分布在导轨的两个侧面上,以此提高瞳距和视距调节时的灵活性。具体的,如图1和图2所示,第一导向传动机构3包括的四个滚轮320中的两个与第一导轨左侧的第一凹槽312配合,另外两个滚轮320与第一导轨右侧的第一凹槽312配合,第二导向传动机构4包括的四个滚轮420中的两个与第一导轨前侧的第二凹槽412配合,另外两个滚轮420与第一导轨后侧的第二凹槽412配合。It should be noted that in this embodiment, each guide transmission mechanism includes four rollers, and the four rollers are evenly distributed on the two sides of the guide rail, so as to improve the flexibility in adjusting the interpupillary distance and the viewing distance. Specifically, as shown in Figures 1 and 2, two of the four
如图3所示,第一传动件的滚轮320与第一导轨上的第一凹槽312相配合;如图4所示,第二传动件的滚轮420与第二导轨上的第二凹槽412相配合。采用滚轮与凹槽配合,基于滚动摩擦实现视距或瞳距调节,提高了调节的灵活度,在使用时节省力气。As shown in Figure 3, the
镜筒组件的显示屏支架7上设置有第一凸台74和第二凸台71,第一传动件32和第二传动件42分别通过螺钉连接到第一凸台74和第二凸台71上的安装孔中。具体的,第一传动件32是通过第一连接件321连接到第一凸台74上,第二传动件42是通过第二连接件421连接到第二凸台71上,以实现第一传动件或第二传动件与镜筒组件的显示屏支架7上的连接。The
需要说明的是,第一凸台设置在显示屏支架的上面,第二凸台设置在显示屏支架的下面,第一凸台和第二凸台的结构可以相同或不同,凸台的结构可以根据第一连接件上的螺钉孔位置和第二连接件上的螺钉孔位置进行设计和调整。参见图3,连接滚轮320的第一连接件321以及连接滚轮420的第二连接件421分别连接到显示屏支架7的第一凸台74和第二凸台71上,实现第一传动件32和第二传动件42的同步运动,提高瞳距或视距调节时的灵活性。It should be noted that the first boss is arranged above the display screen bracket, and the second boss is arranged under the display screen bracket. The structures of the first boss and the second boss can be the same or different, and the structure of the boss can be Design and adjust according to the position of the screw hole on the first connecting piece and the position of the screw hole on the second connecting piece. Referring to FIG. 3 , the first connecting
参见图4,第一螺杆1的一端套接第一固定件53,穿过第一导轨上的第一内螺纹孔310后插入第一安装框架5上的第一固定环52中,进而限位安装第一螺杆1;第一安装框架5上设置有第一限位槽51,第一导轨上的第一限位部311与第一限位槽51相配合;通过第一限位部和第一限位槽的配合,实现第一导向传动机构的限位,使得第一导轨在第一安装框架上保持左右直线运动。保证了运动的稳定性。Referring to Fig. 4, one end of the
类似的,第二螺杆2的一端套接第二固定件63后,穿过第二导轨上的第二内螺纹孔410后插入第二安装框架6上的第二固定环62中,进而限位安装第二螺杆2;第二安装框架6上设置有第二限位槽61,第二导轨上的第二限位部411与第二限位槽61相配合,使得第二导轨在第二安装框架上保持前后直线运动。Similarly, after one end of the
第一螺杆1的另一端连接第一调节旋钮10,第二螺杆2的另一端连接第二调节旋钮11。如图2所示,本实施例中第一调节旋钮10设置在头戴式显示设备的左右方向的一侧,第二调节旋钮11设置在头戴式显示设备的上下方向的一侧,这样的设计可以实现在头戴式显示设备上开比较小的让位孔,保证了产品的美观度,同时,也减少了产品通过调节旋钮的让位孔进灰尘等可能影响产品使用的情况发生。The other end of the
第一固定件53和第二固定件63分别通过螺钉固定在第一安装框架5上和第二安装框架6上。The first fixing
如图4所示,每个镜筒组件都包括:显示屏支架7和镜片支架8,镜片支架8的圆周面上设有多个第三连接件81,图4中示意了三个第三连接件81,这三个第三连接件81相互之间的夹角均为120度。本发明实施例对第三连接件的数量不作限制,可以根据实际应用需求进行选择和设置。另外,本实施例中,第三连接件采用的是销钉,本发明其它实施例中第三连接件也可以采用其它可行的零件,只要能够保证通过第三连接件将镜片支架和显示屏支架连接起来即可。As shown in Figure 4, each lens barrel assembly includes:
参见图3和图4,显示屏支架7上开有与第三连接件81相配合的滑动限位孔72,镜片支架8通过第三连接件81安装到显示屏支架7上。Referring to FIG. 3 and FIG. 4 , the
参见图4,滑动限位孔72包括两段,分别是用于安装第三连接件81的倾斜的导引部720,与导引部720连接并供调节镜片单元和显示屏单元的间距的限位部721。Referring to FIG. 4 , the sliding
这里需要说明的是,导引部的倾斜设计方便了将第三连接件81(如安装到镜片支架上的销钉或与镜片支架一体形成的连接柱)滑进限位孔中。安装时,先将镜片支架旋进导引部,再旋入限位部中。限位部是沿显示屏支架前后方向延伸的一段孔,限位部的作用是调节镜头单元和显示屏单元之间的距离,即,限定视距调节时的运动行程。It should be noted here that the inclined design of the guide portion facilitates sliding the third connecting member 81 (such as a pin mounted on the lens holder or a connecting column integrally formed with the lens holder) into the limiting hole. During installation, the lens holder is first screwed into the guide part, and then screwed into the limit part. The limiting part is a section of hole extending along the front and back direction of the display screen bracket, and the function of the limiting part is to adjust the distance between the lens unit and the display screen unit, that is, to limit the movement stroke when the viewing distance is adjusted.
另外,前述是对镜片支架和显示屏支架的一种连接方式的说明,在本发明的其它实施例中,镜片支架和显示屏支架之间还可以通过下列方式实现连接:In addition, the foregoing is an illustration of a connection method between the lens holder and the display screen holder. In other embodiments of the present invention, the connection between the lens holder and the display screen holder can also be realized in the following manner:
在镜片支架上开有多个连接孔,在显示屏支架上开有与连接孔相配合的滑动限位孔,镜片支架经穿过滑动限位孔并伸入镜片支架上的一个连接孔中的第四连接件(例如销钉)安装到显示屏支架上。A plurality of connecting holes are opened on the lens holder, and a sliding limiting hole matched with the connecting hole is opened on the display screen holder, and the lens holder passes through the sliding limiting hole and extends into a connecting hole on the lens holder. A fourth connecting member (such as a pin) is installed on the display screen bracket.
这种连接方式下的滑动限位孔,与前述连接方式下的滑动限位孔的不同之处在于:不需要设置倾斜的导引部,只需要设置供调节镜片单元和显示屏单元的间距的限位部即可。The difference between the sliding limit hole in this connection method and the sliding limit hole in the aforementioned connection method is that there is no need to set an inclined guide part, and only a hole for adjusting the distance between the lens unit and the display screen unit is required. The limit part is enough.
如图1和图4所示,头戴式显示设备,还包括:与头戴式显示设备的壳体连接的一对导向轴9,镜片支架8上还包括对应设置的导向轴连接部82;As shown in FIGS. 1 and 4 , the head-mounted display device further includes: a pair of
镜片支架8与显示屏支架7安装后,导向轴9分别安装到导向轴连接部82上。优选地,螺杆和导向轴均采用金属材质,以保证结构强度。After the
需要说明的是,本实施例中通过设置两个相互平行且位置对应的导向轴,能够保证瞳距调节时,左右镜筒组件在同一平面内运动,提高了瞳距调节时的稳定性,优化了用户体验。It should be noted that in this embodiment, by setting two guide shafts that are parallel to each other and corresponding in position, it can ensure that the left and right lens barrel assemblies move in the same plane when the pupillary distance is adjusted, which improves the stability of the pupillary distance adjustment and optimizes the user experience.
参见图1和图2,显示屏支架7的四周设置有用于热熔安装螺母的安装孔73,螺母安装到安装孔73中后与显示屏单元12上的紧固件(图中未示出)连接。Referring to Fig. 1 and Fig. 2, mounting
在本实施例中,第一安装框架和第二安装框架分别与头戴式显示设备的壳体固定连接,也就是说,在进行瞳距和视距调节时,第一安装框架5和第二安装框架6都是固定不动的。固定连接方式可以采用下述的一种或多种:In this embodiment, the first installation frame and the second installation frame are respectively fixedly connected to the casing of the head-mounted display device, that is to say, when adjusting the interpupillary distance and the viewing distance, the
第一种方式,第一安装框架和第二安装框架分别通过螺钉连接固定在头戴式显示设备的壳体上;In the first way, the first installation frame and the second installation frame are respectively fixed on the shell of the head-mounted display device through screw connection;
第二种方式,第一安装框架和第二安装框架分别通过卡扣扣合在头戴式显示设备壳体上;In the second way, the first installation frame and the second installation frame are fastened to the housing of the head-mounted display device through buckles respectively;
第三种方式,第一安装框架和第二安装框架与头戴式显示设备壳体一体成型。In a third manner, the first installation frame and the second installation frame are integrally formed with the casing of the head-mounted display device.
实际应用过程中,可以根据产品需求以及头戴式显示设备壳体的设计要求选择具体的连接方式,对此不作限制。In the actual application process, a specific connection method can be selected according to the product requirements and the design requirements of the housing of the head-mounted display device, without limitation.
需要说明的是,前述主要是以一个镜筒组件(即,左侧的镜筒组件)的结构进行的说明,由于另一个镜筒组件的结构和该一个镜筒组件的结构相同,所以这里不再赘述,可以参见前述的相关说明。It should be noted that the above description is mainly based on the structure of one lens barrel assembly (that is, the left lens barrel assembly). For further details, refer to the relevant description above.
本实施例的这种头戴式显示设备的安装过程大致如下:The installation process of the head-mounted display device in this embodiment is roughly as follows:
1)首先,将两个显示屏单元12分别组装到左右显示屏支架7上;1) First, assemble the two
2)然后,将左右镜片单元分别组装到相应的镜片支架8上;2) Then, the left and right lens units are respectively assembled on the corresponding
3)接着,将第一传动件的滚轮结构,第二传动件的滚轮结构分别通过螺钉和连接件的配合分别安装到左右显示屏支架7的两个凸台上;3) Next, install the roller structure of the first transmission part and the roller structure of the second transmission part on the two bosses of the left and right
4)将一对导向轴9安装到左右镜片支架8上的导向轴安装部82内;4) Install a pair of
5)将第一导轨组装到左侧的滚轮结构上,安装时第一导轨端部滑入两排滚轮320之间;同样的,再将第一导轨组装到右侧的滚轮机构32上;5) Assemble the first guide rail to the roller structure on the left side, the end of the first guide rail slides between the two rows of
6)将第一螺杆1旋入第一导轨的螺纹孔310中,再通过第一固定件53和第一固定环52将第一螺杆1安装到第一安装框架5上固定;同样的,将右侧的第一螺杆旋入右侧的导轨的第一内螺纹孔中,再将右侧的第一螺杆安装到第一安装框架上;6) screw the
7)将第二导轨组装到滚轮机构42上,再将右侧的第二导轨组装到右侧的滚轮机构42上;7) Assemble the second guide rail onto the
8)最后,将第二螺杆2旋入第二导轨的第二内螺纹孔410中;通过第二固定环62和第二固定件63将第二螺杆2安装到第二安装框架6上固定。同样的,将右侧的第二螺杆旋入右侧的导轨的第二内螺纹孔中,再将第二螺杆安装到第二安装框架6上。8) Finally, screw the
由上可知,本实施例中头戴式显示设备组装过程可以按照先上后下,先左后右的顺序进行组装。可以理解上述的组装过程仅仅是示意性的,实际应用过程中可对一些组装步骤进行调整,不限于此。It can be seen from the above that the assembly process of the head-mounted display device in this embodiment can be assembled in the order of first up, then down, and first left, then right. It can be understood that the above-mentioned assembly process is only illustrative, and some assembly steps can be adjusted in the actual application process, which is not limited thereto.
本实施例的这种头戴式显示设备的工作过程是:The working process of this head-mounted display device of the present embodiment is:
首先介绍左镜筒组件的瞳距调节过程。用户拨动第一调节旋钮10,带动第一螺杆1转动,通过螺旋传动,与第一螺杆1固定连接在一起的第一导向传动机构3沿着第一螺杆1轴向左右移动,第一导向传动机构3移动带动左显示屏支架7左右移动,左显示屏支架7移动带动第二传动件42移动,即,带动滚轮结构在第二导轨的第二凹槽412中左右滑动,使得左镜筒组件沿着导向轴9左右移动,实现了左镜筒组件相对于右镜筒组件的调节,即,瞳距的调节。可以理解,瞳距调节时,第一导轨上的限位部,第一安装框架上固定件,固定环的配合共同限定了运动行程。Firstly, the interpupillary distance adjustment process of the left lens barrel assembly is introduced. The user turns the
另外,需要强调的是,本实施例中通过旋钮控制螺杆旋转,螺杆每转动一个螺距都对应调节一定的距离,从而提高了瞳距或视距调节时的调节精度。In addition, it should be emphasized that in this embodiment, the rotation of the screw is controlled by the knob, and each pitch of the screw is adjusted by a certain distance, thereby improving the adjustment accuracy of the interpupillary distance or the viewing distance.
接下来介绍左镜筒组件的视距调节工作过程。用户拨动第二调节旋钮11,带动第二螺杆2转动,通过螺旋传动,与第二螺杆2固定连接在一起的第二导向传动机构4沿着第二螺杆2轴向前后移动,第二导向传动机构4移动带动左显示屏支架7前后移动,左显示屏支架7移动带动第一传动件32移动,即,带动滚轮结构在第一导轨的第一凹槽312中前后滑动,实现了左显示屏单元相对于左镜片单元的调节,即,视距的调节。可以理解,视距调节时,由第二导轨上的限位部,第二安装框架上的固定件和固定环来共同限定运动行程,即视距调节的范围。Next, the working process of the sight distance adjustment of the left lens barrel assembly will be introduced. The user toggles the
本发明实施例头戴式显示设备的瞳距视距调节通过螺杆的螺旋传动实现,调节旋钮旋转一圈,导轨移动一个螺纹间距,因此可实现较精密的调节。The eye-pupillary and viewing distance adjustments of the head-mounted display device in the embodiment of the present invention are realized through the helical transmission of the screw. The adjustment knob rotates one turn, and the guide rail moves one thread pitch, so a more precise adjustment can be realized.
需要说明的是,前述主要是对一个镜筒组件(即,左侧的镜筒组件)的视距和瞳距调节工作过程进行的说明,由于另一个镜筒组件的结构和该一个镜筒组件的结构相同,所以工作过程也是相同的,这里不再赘述,可以参见前述对左侧的镜筒组件工作过程的说明。It should be noted that the foregoing is mainly an explanation of the sight distance and pupillary distance adjustment work process of a lens barrel assembly (that is, the left lens barrel assembly). The structures are the same, so the working process is also the same, so I won’t go into details here, and you can refer to the above description of the working process of the lens barrel assembly on the left.
由上可知,本发明实施例的头戴式显示设备在瞳距视距调节的功能上,能实现双眼相互独立的瞳距和视距调节,满足了两眼视力不同,佩戴时双眼瞳孔相对中心轴不对称的用户的调节需求。瞳距和视距的调节采用螺旋传动,调节精度高。调节旋钮每旋转一圈,导轨移动一个螺距的距离,滚轮结构带动镜筒组件移动一个螺距的距离,因此可实现精确调节。调节时镜筒在产品壳体内部进行,不需带动壳体。瞳距和视距调节的传动设计和调节旋钮设计,使得调节旋钮不需在壳体上开较大的孔,只需开一个与旋钮的轴配合的圆孔,不影响产品的外观设计,且不容易进灰尘。视距和瞳距的调节都是通过旋钮,操作灵活、方便,用户体验好。整体瞳距和视距调节,结构简单,紧凑,零件少,使得产品的重量可以减轻,组装容易,制造和组装成本较低,提高了产品的市场竞争力。It can be seen from the above that the head-mounted display device of the embodiment of the present invention can realize the adjustment of the pupillary distance and the visual distance independently of each other in terms of the adjustment function of the pupillary distance and the visual distance of the two eyes. Adjustment needs of users with asymmetric axes. The adjustment of pupil distance and visual distance adopts screw transmission, which has high adjustment accuracy. Every time the adjustment knob rotates one circle, the guide rail moves a distance of one pitch, and the roller structure drives the lens barrel assembly to move a distance of one pitch, so precise adjustment can be realized. When adjusting, the lens barrel is carried out inside the product shell, without driving the shell. The transmission design and the adjustment knob design for pupil distance and sight distance adjustment make it unnecessary to open a large hole on the housing for the adjustment knob, but only need to open a round hole that matches the axis of the knob, which does not affect the appearance design of the product, and It is not easy to get in dust. Both the viewing distance and the interpupillary distance are adjusted through the knob, which is flexible and convenient to operate, and the user experience is good. The overall pupillary distance and viewing distance are adjusted, the structure is simple and compact, and there are few parts, so that the weight of the product can be reduced, the assembly is easy, the manufacturing and assembly costs are low, and the market competitiveness of the product is improved.
实施例二Embodiment two
和前述实施例一不同的是,本实施例中传动件采用滑块,相应的导轨上凹槽的设计进行了改造,将导轨上的凹槽的形状与滑块的形状相适配。具体的,本实施例中,第一导向件为第一导轨,第一导轨上设置有与第一螺杆配合的第一内螺纹孔,与第一安装框架配合的第一限位部以及与第一传动件配合的第一凹槽;The difference from the first embodiment is that the transmission part in this embodiment adopts a slider, and the design of the groove on the corresponding guide rail is modified so that the shape of the groove on the guide rail matches the shape of the slider. Specifically, in this embodiment, the first guide member is a first guide rail, and the first guide rail is provided with a first internal thread hole that cooperates with the first screw rod, a first stopper that cooperates with the first installation frame, and a first stopper that cooperates with the first mounting frame. a first groove for the transmission part;
第二导向件为第二导轨,第二导轨上设置有与第二螺杆配合的第二内螺纹孔,与第二安装框架配合的第二限位部以及与第二传动件配合的第二凹槽;即,这里的导向件的结构除第一凹槽和第二凹槽的形状与前述实施例中凹槽的形状不同之外,其它结构与前述实施例相同。The second guide member is a second guide rail, and the second guide rail is provided with a second internal thread hole that cooperates with the second screw rod, a second stopper that cooperates with the second installation frame, and a second recess that cooperates with the second transmission member. Groove; that is, the structure of the guide here is the same as that of the foregoing embodiment except that the shapes of the first groove and the second groove are different from those of the foregoing embodiment.
第一传动件为第一T形滑块,第一T形滑块上下两面上设置有第一圆弧形凸起,The first transmission member is a first T-shaped slider, and the upper and lower sides of the first T-shaped slider are provided with first arc-shaped protrusions,
第二传动件为第二T形滑块,如图5所示,T形滑块上下两面上设置有第二圆弧形凸起;The second transmission member is a second T-shaped slider, as shown in Figure 5, the upper and lower sides of the T-shaped slider are provided with a second arc-shaped protrusion;
如图5所示,示意了左镜筒组件上方安装的第一导向传动机构的示意图,在图5中,第一导向件31的第一凹槽与第一传动件32相配合。第一凹槽和第二传动件的第二凹槽均为T形槽,从而能够与T形滑块的形状相适配。As shown in FIG. 5 , a schematic diagram of the first guide transmission mechanism installed above the left lens barrel assembly is shown. In FIG. 5 , the first groove of the
第一圆弧形凸起与第一凹槽的表面接触;第二圆弧形凸起与第二凹槽的表面接触,镜筒组件通过T形滑块与导轨T形槽的表面的线摩擦实现相对运动。The first arc-shaped protrusion is in contact with the surface of the first groove; the second arc-shaped protrusion is in contact with the surface of the second groove, and the lens barrel assembly passes the line friction between the T-shaped slider and the surface of the T-shaped groove of the guide rail achieve relative motion.
本实施例中通过在T形滑块的上下表面设置圆弧形的凸起,减小了与导轨上的凹槽的接触面积(即将T形滑块与导轨凹槽的面接触改为线接触),从而减小摩擦力,提高瞳距或视距调节的灵活性。在本发明的其它实施例中,还可以在T形滑块的上下表面设置多个凸点,将T形滑块与导轨凹槽表面的线接触改为点接触,以进一步的减小摩擦力。In this embodiment, by setting arc-shaped protrusions on the upper and lower surfaces of the T-shaped slider, the contact area with the groove on the guide rail is reduced (that is, the surface contact between the T-shaped slider and the groove of the guide rail is changed into a line contact. ), thereby reducing friction and improving the flexibility of interpupillary distance or viewing distance adjustment. In other embodiments of the present invention, a plurality of convex points can also be set on the upper and lower surfaces of the T-shaped slider, and the line contact between the T-shaped slider and the groove surface of the guide rail can be changed to a point contact, so as to further reduce friction .
另外,第一T形滑块以及第二T形滑块分别固定连接在镜筒组件的显示屏支架7的第一凸台74上。这是为了保证在进行瞳距调节时,第一导向传动机构和第二传动件同步运动,或视距调节时,保证第二导向传动件和第一传动件同步运动,提高调节的灵活性。In addition, the first T-shaped slider and the second T-shaped slider are respectively fixedly connected to the
另外,在本实施例中,第一导向件也与第一螺杆连接,第一螺杆与第一调节旋钮连接,第二导向件也与第二螺杆连接,第二螺杆与第二调节旋钮连接,头戴式显示设备的壳体上设置有第一让位孔和第二让位孔,第一调节旋钮和第二调节旋钮分别通过第一让位孔和第二让位孔露出壳体表面。In addition, in this embodiment, the first guide is also connected to the first screw, the first screw is connected to the first adjustment knob, the second guide is also connected to the second screw, and the second screw is connected to the second adjustment knob, The casing of the head-mounted display device is provided with a first relief hole and a second relief hole, and the first adjustment knob and the second adjustment knob respectively expose the surface of the casing through the first relief hole and the second relief hole.
优选地,第一让位孔设置在头戴式显示设备的壳体的左右两侧,第二让位孔设置在头戴式显示设备的壳体的下方,降低了产品内部进灰尘的概率。或者,第二让位孔也可以设置在壳体的左右两侧,以符合用户的操作习惯。当第二让位孔设置在壳体的左右两侧时,第二螺杆的另一端连接第一锥齿轮,第一锥齿轮与第三螺杆上的第二锥齿轮相啮合,第二调节旋钮与第三螺杆连接,从而利用两个锥齿轮啮合传动,实现视距的调节。即,通过增加锥齿轮改变传动的角度,这样本实施例的头戴式显示设备的第二调节旋钮的安装位置可有多种选择,满足了用户需求。Preferably, the first relief hole is arranged on the left and right sides of the casing of the head-mounted display device, and the second relief hole is arranged under the casing of the head-mounted display device, which reduces the probability of dust entering the product. Alternatively, the second relief holes may also be provided on the left and right sides of the housing to conform to the user's operating habits. When the second relief hole is arranged on the left and right sides of the housing, the other end of the second screw rod is connected to the first bevel gear, and the first bevel gear meshes with the second bevel gear on the third screw rod, and the second adjusting knob is connected to the second bevel gear on the third screw rod. The third screw is connected, so that two bevel gears are used for meshing transmission to realize the adjustment of the viewing distance. That is, by adding bevel gears to change the transmission angle, the installation position of the second adjustment knob of the head-mounted display device in this embodiment can have multiple options, which meets user needs.
综上所述,本发明实施例的头戴式显示设备,实现瞳距和视距调节的传动机构,不同于现有技术。结构上:本发明视距调节结构主要利用螺杆的外螺纹和与之配合的导轨上的内螺纹,通过螺旋传动实现单个导轨的前后直线运动;利用两组相互垂直的导轨与滚轮结构的配合,实现单个镜筒组件的前后运动,完成视距调节。瞳距调节结构主要利用螺杆上的外螺纹和与之配合的导轨上的内螺纹,利用螺旋传动实现单个导轨的左右直线运动;利用两组相互垂直的导轨与滚轮机构的配合,实现单个镜筒的左右运动,完成瞳距调节。功能上:实现了左右两个镜筒组件的瞳距和视距完全独立的调节,且调节精度高,可实现根据用户提供的双眼的屈光度和瞳距数据,在佩戴头戴设备之前就可调节好,不需要用户戴上设备根据双眼的适用状况慢慢调节双眼的瞳距和视距,用户体验更好。同时,结构简单,提高了使用稳定性。To sum up, the head-mounted display device according to the embodiment of the present invention is different from the prior art in the transmission mechanism for adjusting the interpupillary distance and the viewing distance. Structurally: the sight distance adjustment structure of the present invention mainly utilizes the external thread of the screw rod and the internal thread on the guide rail matched with it, and realizes the forward and backward linear motion of a single guide rail through screw transmission; the cooperation between two sets of mutually perpendicular guide rails and the roller structure, Realize the forward and backward movement of a single lens barrel assembly to complete the adjustment of the viewing distance. The interpupillary distance adjustment structure mainly uses the external thread on the screw and the internal thread on the matching guide rail, and uses the screw drive to realize the left and right linear motion of a single guide rail; uses the cooperation of two sets of mutually perpendicular guide rails and the roller mechanism to realize a single lens barrel. left and right movement to complete the interpupillary distance adjustment. In terms of function: the pupillary distance and visual distance of the left and right lens barrel components can be adjusted completely independently, and the adjustment accuracy is high. According to the diopter and pupillary distance data of the eyes provided by the user, it can be adjusted before wearing the headset Well, there is no need for the user to wear the device to slowly adjust the interpupillary distance and visual distance of the eyes according to the applicable conditions of the eyes, and the user experience is better. At the same time, the structure is simple, which improves the stability of use.
以上所述,仅为本发明的具体实施方式,在本发明的上述教导下,本领域技术人员可以在上述实施例的基础上进行其他的改进或变形。本领域技术人员应该明白,上述的具体描述只是更好的解释本发明的目的,本发明的保护范围以权利要求的保护范围为准。The above descriptions are only specific implementations of the present invention. Under the above teaching of the present invention, those skilled in the art can make other improvements or modifications on the basis of the above embodiments. Those skilled in the art should understand that the above specific description is only to better explain the object of the present invention, and the protection scope of the present invention shall be determined by the protection scope of the claims.
Claims (11)
Priority Applications (1)
| Application Number | Priority Date | Filing Date | Title |
|---|---|---|---|
| CN201710266679.2A CN106959515B (en) | 2017-04-21 | 2017-04-21 | Head-mounted display equipment |
Applications Claiming Priority (1)
| Application Number | Priority Date | Filing Date | Title |
|---|---|---|---|
| CN201710266679.2A CN106959515B (en) | 2017-04-21 | 2017-04-21 | Head-mounted display equipment |
Publications (2)
| Publication Number | Publication Date |
|---|---|
| CN106959515A CN106959515A (en) | 2017-07-18 |
| CN106959515B true CN106959515B (en) | 2023-03-21 |
Family
ID=59484732
Family Applications (1)
| Application Number | Title | Priority Date | Filing Date |
|---|---|---|---|
| CN201710266679.2A Active CN106959515B (en) | 2017-04-21 | 2017-04-21 | Head-mounted display equipment |
Country Status (1)
| Country | Link |
|---|---|
| CN (1) | CN106959515B (en) |
Families Citing this family (19)
| Publication number | Priority date | Publication date | Assignee | Title |
|---|---|---|---|---|
| CN107577052B (en) * | 2017-09-30 | 2023-11-10 | 深圳市冠旭电子股份有限公司 | Interpupillary distance adjustment structure and virtual reality display device |
| WO2019071518A1 (en) * | 2017-10-12 | 2019-04-18 | 深圳市柔宇科技有限公司 | Display device and electronic device |
| CN108379043A (en) * | 2018-05-04 | 2018-08-10 | 长春市眼动力科技有限公司 | A kind of vision restoration therapeutic device |
| CN108803038B (en) * | 2018-06-21 | 2021-06-01 | 山东欧联创意设计有限公司 | Adjustable VR helmet comfortable to wear |
| CN108721072B (en) * | 2018-07-02 | 2024-04-09 | 常州快来信息科技有限公司 | Component of HMD device and sight distance adjusting mechanism thereof |
| CN110908110A (en) * | 2018-09-18 | 2020-03-24 | 上海盛育信息技术有限公司 | AR glasses |
| CN109143585A (en) * | 2018-09-29 | 2019-01-04 | 安徽英冉信息咨询有限公司 | A kind of adjustable apparatus worn convenient for VR equipment |
| CN109143588B (en) * | 2018-10-26 | 2023-09-22 | 歌尔科技有限公司 | A head-mounted display device and its focus adjustment device |
| CN110007467B (en) * | 2019-05-17 | 2021-09-10 | 北京七鑫易维科技有限公司 | Lens selection mechanism and head-mounted display device |
| CN113267891A (en) * | 2020-02-14 | 2021-08-17 | 双莹科技股份有限公司 | Pupil distance and diopter adjusting mechanism |
| CN111929903B (en) * | 2020-09-22 | 2021-01-26 | 歌尔光学科技有限公司 | A head-mounted display device |
| CN113204120A (en) * | 2021-05-26 | 2021-08-03 | 怀智悦 | Intelligent glasses of multi-functional rehabilitation training |
| CN114326122B (en) * | 2021-12-24 | 2024-06-14 | 深圳纳德光学有限公司 | Head-mounted display device |
| CN114442329B (en) * | 2022-03-25 | 2023-12-22 | 歌尔科技有限公司 | Pupil distance adjusting mechanism and head-mounted equipment |
| CN114740623A (en) * | 2022-04-13 | 2022-07-12 | 歌尔股份有限公司 | Lens Modules and Head Mounted Display Devices |
| CN114886741A (en) * | 2022-04-18 | 2022-08-12 | 杭州宝尔科技有限公司 | 3D (three-dimensional) stereoscopic myopia and amblyopia fusion vision therapeutic apparatus and detection method |
| CN116540409A (en) * | 2023-04-23 | 2023-08-04 | 歌尔光学科技有限公司 | a headset |
| CN117706791B (en) * | 2024-02-06 | 2024-05-14 | 玩出梦想(上海)科技有限公司 | Head-mounted display device |
| CN118033907A (en) * | 2024-02-20 | 2024-05-14 | 江苏北方湖光光电有限公司 | Head-mounted large-view-field near-to-eye display system for day and night binocular observation |
Family Cites Families (2)
| Publication number | Priority date | Publication date | Assignee | Title |
|---|---|---|---|---|
| CN106019600B (en) * | 2016-08-03 | 2018-10-09 | 深圳酷酷科技有限公司 | Optics module and head-mounted display apparatus |
| CN206848588U (en) * | 2017-04-21 | 2018-01-05 | 歌尔股份有限公司 | A kind of head-mounted display apparatus |
-
2017
- 2017-04-21 CN CN201710266679.2A patent/CN106959515B/en active Active
Also Published As
| Publication number | Publication date |
|---|---|
| CN106959515A (en) | 2017-07-18 |
Similar Documents
| Publication | Publication Date | Title |
|---|---|---|
| CN106959515B (en) | Head-mounted display equipment | |
| CN206848588U (en) | A kind of head-mounted display apparatus | |
| CN206848589U (en) | A kind of head-mounted display apparatus | |
| US11092772B2 (en) | Optical module and head-mounted display apparatus | |
| US10419745B2 (en) | Mechanism for head mounted display that simultaneously adjusts diopter and interpupillary distances using a single knob assembly | |
| CN104932103B (en) | A kind of adjustable head-worn display | |
| CN104317054B (en) | head-mounted display | |
| CN206224053U (en) | A kind of virtual reality device | |
| CN106569338B (en) | A kind of Worn type display | |
| CN207216158U (en) | Interpupillary adjustment mechanism and VR all-in-ones | |
| CN205067867U (en) | A stadia regulation structure for wear -type vision equipment | |
| CN107577052B (en) | Interpupillary distance adjustment structure and virtual reality display device | |
| CN204101817U (en) | Head mounted display | |
| WO2017206926A1 (en) | Glasses and adjusting mechanism therefor | |
| CN112987308B (en) | Intelligent head-mounted equipment | |
| CN205003364U (en) | Display device is worn to interpupillary distance regulation formula | |
| CN104570355A (en) | Adjustable head-mounted displayer | |
| CN213987032U (en) | Wear and show glasses interpupillary distance and diopter adjustment mechanism | |
| EP3290988B1 (en) | Electronic apparatus and display module thereof | |
| CN207557583U (en) | A kind of regulating device and head show equipment | |
| CN204855940U (en) | Wear display | |
| CN106338833B (en) | virtual reality headset | |
| CN207336939U (en) | Interpupillary distance adjustment structure and virtual reality display device | |
| CN205003362U (en) | Display device is worn to focal length setting formula | |
| CN105425359A (en) | Lens barrel adjusting structure and 3D glasses device formed by same |
Legal Events
| Date | Code | Title | Description |
|---|---|---|---|
| PB01 | Publication | ||
| PB01 | Publication | ||
| SE01 | Entry into force of request for substantive examination | ||
| SE01 | Entry into force of request for substantive examination | ||
| TA01 | Transfer of patent application right |
Effective date of registration: 20201013 Address after: 261031 north of Yuqing East Street, east of Dongming Road, Weifang High tech Zone, Weifang City, Shandong Province (Room 502, Geer electronic office building) Applicant after: GoerTek Optical Technology Co.,Ltd. Address before: 261031 Dongfang Road, Weifang high tech Industrial Development Zone, Shandong, China, No. 268 Applicant before: GOERTEK Inc. |
|
| TA01 | Transfer of patent application right | ||
| TA01 | Transfer of patent application right |
Effective date of registration: 20221125 Address after: 266104 No. 500, Songling Road, Laoshan District, Qingdao, Shandong Applicant after: GOERTEK TECHNOLOGY Co.,Ltd. Address before: 261031 east of Dongming Road, north of Yuqing East Street, Weifang High tech Zone, Weifang City, Shandong Province (Room 502, Geer electronics office building) Applicant before: GoerTek Optical Technology Co.,Ltd. |
|
| TA01 | Transfer of patent application right | ||
| GR01 | Patent grant | ||
| GR01 | Patent grant |
