CN106719282B - An automatic water adding device for a medical leech incubator - Google Patents
An automatic water adding device for a medical leech incubator Download PDFInfo
- Publication number
- CN106719282B CN106719282B CN201710043223.XA CN201710043223A CN106719282B CN 106719282 B CN106719282 B CN 106719282B CN 201710043223 A CN201710043223 A CN 201710043223A CN 106719282 B CN106719282 B CN 106719282B
- Authority
- CN
- China
- Prior art keywords
- water
- sealing
- support rod
- plate
- sides
- Prior art date
- Legal status (The legal status is an assumption and is not a legal conclusion. Google has not performed a legal analysis and makes no representation as to the accuracy of the status listed.)
- Expired - Fee Related
Links
- XLYOFNOQVPJJNP-UHFFFAOYSA-N water Substances O XLYOFNOQVPJJNP-UHFFFAOYSA-N 0.000 title claims abstract description 86
- 241000545744 Hirudinea Species 0.000 title claims abstract description 29
- 238000007789 sealing Methods 0.000 claims abstract description 67
- 238000003860 storage Methods 0.000 claims description 21
- 238000009395 breeding Methods 0.000 claims description 13
- 230000001488 breeding effect Effects 0.000 claims description 13
- 238000009434 installation Methods 0.000 claims description 3
- 230000003014 reinforcing effect Effects 0.000 claims description 3
- 238000010521 absorption reaction Methods 0.000 claims description 2
- 239000002699 waste material Substances 0.000 abstract description 5
- 230000009286 beneficial effect Effects 0.000 description 2
- 230000000694 effects Effects 0.000 description 2
- 238000012986 modification Methods 0.000 description 2
- 230000004048 modification Effects 0.000 description 2
- 201000000736 Amenorrhea Diseases 0.000 description 1
- 206010001928 Amenorrhoea Diseases 0.000 description 1
- 208000024172 Cardiovascular disease Diseases 0.000 description 1
- 206010020772 Hypertension Diseases 0.000 description 1
- 241001465754 Metazoa Species 0.000 description 1
- 206010028980 Neoplasm Diseases 0.000 description 1
- 231100000540 amenorrhea Toxicity 0.000 description 1
- 239000008280 blood Substances 0.000 description 1
- 210000004369 blood Anatomy 0.000 description 1
- 201000011510 cancer Diseases 0.000 description 1
- 208000026106 cerebrovascular disease Diseases 0.000 description 1
- 238000010586 diagram Methods 0.000 description 1
- 239000003814 drug Substances 0.000 description 1
- 230000002526 effect on cardiovascular system Effects 0.000 description 1
- 238000005516 engineering process Methods 0.000 description 1
- 238000004880 explosion Methods 0.000 description 1
- 238000009313 farming Methods 0.000 description 1
- 239000003337 fertilizer Substances 0.000 description 1
- 239000013505 freshwater Substances 0.000 description 1
- 208000014674 injury Diseases 0.000 description 1
- 239000002398 materia medica Substances 0.000 description 1
- 239000000463 material Substances 0.000 description 1
- 238000000034 method Methods 0.000 description 1
- 239000000575 pesticide Substances 0.000 description 1
- 238000002360 preparation method Methods 0.000 description 1
- 230000002265 prevention Effects 0.000 description 1
- 239000000126 substance Substances 0.000 description 1
- 238000006467 substitution reaction Methods 0.000 description 1
- 230000008736 traumatic injury Effects 0.000 description 1
- 239000003643 water by type Substances 0.000 description 1
Images
Classifications
-
- A—HUMAN NECESSITIES
- A01—AGRICULTURE; FORESTRY; ANIMAL HUSBANDRY; HUNTING; TRAPPING; FISHING
- A01K—ANIMAL HUSBANDRY; AVICULTURE; APICULTURE; PISCICULTURE; FISHING; REARING OR BREEDING ANIMALS, NOT OTHERWISE PROVIDED FOR; NEW BREEDS OF ANIMALS
- A01K63/00—Receptacles for live fish, e.g. aquaria; Terraria
- A01K63/04—Arrangements for treating water specially adapted to receptacles for live fish
-
- Y—GENERAL TAGGING OF NEW TECHNOLOGICAL DEVELOPMENTS; GENERAL TAGGING OF CROSS-SECTIONAL TECHNOLOGIES SPANNING OVER SEVERAL SECTIONS OF THE IPC; TECHNICAL SUBJECTS COVERED BY FORMER USPC CROSS-REFERENCE ART COLLECTIONS [XRACs] AND DIGESTS
- Y02—TECHNOLOGIES OR APPLICATIONS FOR MITIGATION OR ADAPTATION AGAINST CLIMATE CHANGE
- Y02A—TECHNOLOGIES FOR ADAPTATION TO CLIMATE CHANGE
- Y02A40/00—Adaptation technologies in agriculture, forestry, livestock or agroalimentary production
- Y02A40/80—Adaptation technologies in agriculture, forestry, livestock or agroalimentary production in fisheries management
- Y02A40/81—Aquaculture, e.g. of fish
Landscapes
- Life Sciences & Earth Sciences (AREA)
- Environmental Sciences (AREA)
- Marine Sciences & Fisheries (AREA)
- Animal Husbandry (AREA)
- Biodiversity & Conservation Biology (AREA)
- Farming Of Fish And Shellfish (AREA)
- Cultivation Receptacles Or Flower-Pots, Or Pots For Seedlings (AREA)
Abstract
本发明公开了一种医用水蛭培养箱自动加水装置,包括支撑板、水蛭养殖箱和储水箱,自动加水装置包括有透明桶、伸缩气泵、密封环、密封法兰、轴承、扇形板、握把、密封球体和限位管,所述限位管设置在扇形板的外侧拐角处,所述密封环套接在密封球体上,所述密封法兰设置在密封环的两侧并配合密封盘安装固定,所述密封球体的两侧分别贯穿设置进水口与出水口,所述进水口与通水孔通过管道相连,本发明相比传统的加水结构,具有高效、省时省力的特点,能够合理的控制加水量,达到自动加水的目的并且避免了水资源的大量使用,避免了资源的浪费,很大程度上提高了水蛭的生活环境质量,具有广泛的市场应用前景,利于推广。
The invention discloses an automatic water adding device for a medical leech incubator. , a sealing sphere and a limit tube, the limit tube is arranged at the outer corner of the fan-shaped plate, the sealing ring is sleeved on the sealing sphere, and the sealing flange is arranged on both sides of the sealing ring and is installed with the sealing disc The two sides of the sealing sphere are respectively provided with a water inlet and a water outlet, and the water inlet and the water passage are connected by pipes. Compared with the traditional water adding structure, the present invention has the characteristics of high efficiency, time saving and labor saving, and can be reasonably It can control the amount of water to be added automatically, achieve the purpose of automatic water addition and avoid the massive use of water resources, avoid the waste of resources, and greatly improve the living environment quality of leeches. It has a wide range of market application prospects and is conducive to promotion.
Description
技术领域technical field
本发明涉及养殖技术领域,具体为一种医用水蛭培养箱自动加水装置。The invention relates to the technical field of breeding, in particular to an automatic watering device for a medical leech incubator.
背景技术Background technique
水蛭,俗名蚂蟥,在《神农本草经》中已有记载,具有很高的药用价值;在内陆淡水水域内生长繁殖,是中国传统的特种药用水生动物,其干制品泡制后中医入药,具有治疗中风、高血压、清瘀、闭经、跌打损伤等功效。近年新发现水蛭制剂在防治心脑血管疾病和抗癌方面具有特效。它在历史上以自然捕捞为主,因近年农药、化肥等滥用,及工农业“三废”对环境的污染,野生自然资源锐减,随着水蛭药用价值的深度开发,其市场需求潜力巨大,水蛭养殖带来的效益与日俱增。Leeches, commonly known as leeches, have been recorded in "Shen Nong's Materia Medica", and have high medicinal value; they grow and reproduce in inland freshwater waters, and are traditional Chinese special medicinal aquatic animals. Used as medicine, it has the effects of treating stroke, high blood pressure, clearing blood stasis, amenorrhea, and traumatic injuries. In recent years, it has been newly discovered that leech preparations have special effects in the prevention and treatment of cardiovascular and cerebrovascular diseases and cancer. Historically, it was mainly caught by natural fishing. Due to the abuse of pesticides and chemical fertilizers in recent years, and the pollution of the environment by the "three wastes" of industry and agriculture, the wild natural resources have declined sharply. With the in-depth development of the medicinal value of leeches, its market demand potential is huge. , The benefits brought by leech farming are increasing day by day.
医用水蛭在养殖时经常是在养殖箱中进行,由于需要控制水蛭的合理生长环境,需要时刻控制养殖箱中的水量,并且还要达到定时更换的目的,传统的养殖箱是通过人工拿取水管进行水量的补充,这种补充方式不能合理控制水量造成严重的资源浪费,并且浪费了大量的人力物力,影响了水蛭的正常生长。The breeding of medical leeches is often carried out in breeding boxes. Due to the need to control the reasonable growth environment of leeches, it is necessary to control the amount of water in the breeding box at all times, and to achieve the purpose of regular replacement. The traditional breeding box is manually taken out of the water pipe. Carry out the replenishment of water quantity, this replenishment mode can not reasonably control water quantity and causes serious waste of resources, and wasted a large amount of manpower and material resources, has influenced the normal growth of leeches.
发明内容SUMMARY OF THE INVENTION
本发明的目的在于提供一种医用水蛭培养箱自动加水装置,以解决上述背景技术中提出的问题。The object of the present invention is to provide a kind of automatic water adding device of medical leech incubator, to solve the problems raised in the above-mentioned background technology.
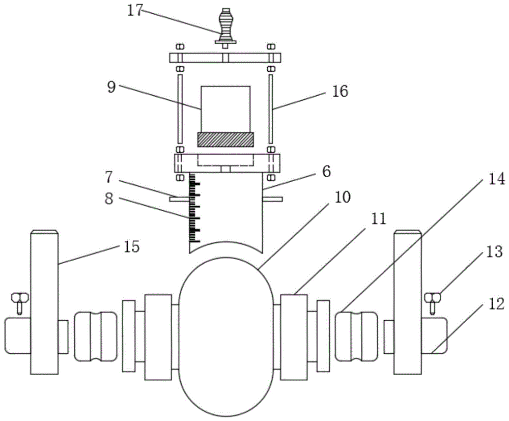
为实现上述目的,本发明提供如下技术方案:一种医用水蛭培养箱自动加水装置,包括支撑板、水蛭养殖箱和储水箱,所述储水箱的底端面通过三角支架放置于地面上,所述支撑板的下端通过安装支杆放置在地面上,所述水蛭养殖箱位于支撑板的上端内侧,且储水箱的外侧上端设置加水口,储水箱的外侧下端设置通水孔,所述支撑板的两侧均固定有固定板,所述固定板的内侧设置有支撑杆,支撑杆的两端与固定板的内侧面接触并通过贯穿设置的螺钉相互连接,所述支撑杆的横截面为正多边形,且支撑杆上设置自动加水装置,自动加水装置包括有透明桶、伸缩气泵、密封环、密封法兰、轴承、扇形板、握把、密封球体和限位管,所述限位管设置在扇形板的外侧拐角处,且限位管对应支撑杆贯穿设置通孔,支撑杆穿插在通孔中,所述限位管的上端中部贯穿设置限位螺钉,限位螺钉的底端与支撑杆的上表面接触,所述扇形板内侧壁拐角处设置内轴承座,所述密封球体的两侧依次对称有密封盘和外轴承座,外轴承座固定在密封环上,所述轴承远离密封球体的一端套接在内轴承座上,且轴承靠近密封球体的一端插接在外轴承座中,所述密封环套接在密封球体上,所述密封法兰设置在密封环的两侧并配合密封盘安装固定,所述密封球体的两侧分别贯穿设置进水口与出水口,所述进水口与通水孔通过管道相连,所述密封环在进水口与出水口的底端两侧预留开槽,所述透明桶设置在密封环的汲水口上端,且透明桶中设置活塞,透明桶的上端设置安装座,所述安装座的上端中部设置螺纹槽,且伸缩气泵的下端设置连接块,所述连接块插接在螺纹槽中,伸缩气泵的动力杆贯穿螺纹槽的底端并与活塞固定连接,所述透明桶的两侧连接支柱,所述扇形板上设置弧形滑槽,且弧形滑槽的内侧两端均设置启动开关,所述弧形滑槽中嵌接有滑块,所述滑块上设置插孔,对应的支柱插接在插孔中,且滑块的底端通过复位弹簧 连接弧形滑槽的底端,所述滑块的上端和下端分别与启动开关接触,所述启动开关分别电性连接伸缩气泵。In order to achieve the above object, the present invention provides the following technical solutions: a medical leech incubator automatic watering device, comprising a support plate, a leech breeding box and a water storage tank, the bottom end surface of the water storage tank is placed on the ground through a triangular bracket, the The lower end of the support plate is placed on the ground by installing a pole, and the leech breeding box is positioned at the upper inner side of the support plate, and the outer upper end of the water storage tank is provided with a water inlet, and the outer lower end of the water storage tank is provided with a water hole, and the outer lower end of the water storage tank is provided with a water hole. Both sides are fixed with a fixed plate, the inner side of the fixed plate is provided with a support rod, the two ends of the support rod are in contact with the inner surface of the fixed plate and connected to each other by the screws set through, the cross section of the support rod is a regular polygon , and an automatic water adding device is set on the support rod, the automatic water adding device includes a transparent bucket, a telescopic air pump, a sealing ring, a sealing flange, a bearing, a fan-shaped plate, a handle, a sealing sphere and a limit tube, and the limit tube is set at At the outer corner of the fan-shaped plate, a through hole is set through the corresponding support rod of the limit tube, and the support rod is inserted in the through hole. The upper surface of the fan-shaped plate is in contact with the upper surface of the fan-shaped plate. The inner bearing seat is installed at the corner of the inner wall. The two sides of the sealing sphere are symmetrically arranged with a sealing disc and an outer bearing seat in sequence. The outer bearing seat is fixed on the sealing ring, and the bearing is far away from the sealing sphere. One end of the bearing is sleeved on the inner bearing seat, and the end of the bearing close to the sealing sphere is inserted into the outer bearing seat, the sealing ring is sleeved on the sealing sphere, and the sealing flange is arranged on both sides of the sealing ring and cooperates with the sealing The disk is installed and fixed, and the two sides of the sealing sphere are respectively provided with a water inlet and a water outlet. groove, the transparent barrel is set at the upper end of the water intake of the sealing ring, and a piston is set in the transparent barrel, a mounting seat is set at the upper end of the transparent barrel, a threaded groove is set in the middle of the upper end of the mounting seat, and a connecting block is set at the lower end of the telescopic air pump, The connecting block is inserted into the threaded groove, the power rod of the telescopic air pump runs through the bottom end of the threaded groove and is fixedly connected with the piston, the two sides of the transparent barrel are connected to the pillars, and the arc-shaped chute is arranged on the fan-shaped plate, and Both ends of the inner side of the arc-shaped chute are provided with a start switch, and a slider is embedded in the arc-shaped chute, and a jack is arranged on the slider, and the corresponding pillar is inserted into the jack, and the bottom of the slider The end is connected to the bottom end of the arc-shaped chute through the return spring, and the upper end and the lower end of the slider are respectively in contact with the start switch, and the start switch is electrically connected to the telescopic air pump.
优选的,所述储水箱的水平高度大于支撑杆的水平高度,且储水箱与支撑杆的高度差不少于2m。Preferably, the horizontal height of the water storage tank is greater than that of the support rod, and the height difference between the water storage tank and the support rod is not less than 2m.
优选的,所述透明桶的外侧壁上设置刻度,所述透明桶的外侧壁设置与支柱连接的加强杆。Preferably, scales are provided on the outer wall of the transparent barrel, and reinforcing rods connected to the pillars are arranged on the outer wall of the transparent barrel.
优选的,所述安装座的上方设置安全板,所述安全板与安装座外侧穿插螺纹杆并通过螺母固定。Preferably, a safety plate is provided above the mounting base, and the safety plate and the outside of the mounting base are threaded through threaded rods and fixed by nuts.
优选的,所述安全板的上端固定设置握把,所述握把表面设置防滑槽。Preferably, a handle is fixedly provided on the upper end of the safety plate, and an anti-slip groove is provided on the surface of the handle.
优选的,所述伸缩气泵下端设置的连接块与螺纹槽之间设置弹性密封层。Preferably, an elastic sealing layer is provided between the connection block provided at the lower end of the telescopic air pump and the thread groove.
与现有技术相比,本发明的有益效果是:本发明相比传统的加水结构,具有高效、省时省力的特点,能够合理的控制加水量,达到自动加水的目的并且避免了水资源的大量使用,避免了资源的浪费,很大程度上提高了水蛭的生活环境质量,具有广泛的市场应用前景,利于推广。Compared with the prior art, the beneficial effect of the present invention is: compared with the traditional water adding structure, the present invention has the characteristics of high efficiency, time saving and labor saving, can reasonably control the amount of water added, achieves the purpose of automatic water addition and avoids the loss of water resources. A large amount of use avoids the waste of resources, improves the living environment quality of leeches to a large extent, has wide market application prospects, and is beneficial to popularization.
附图说明Description of drawings
图1为本发明的正视图;Fig. 1 is the front view of the present invention;
图2为本发明的透明桶、伸缩气泵、密封环、轴承、扇形板、握把和限位爆炸结构示意图;Fig. 2 is a schematic diagram of the transparent barrel, telescopic air pump, sealing ring, bearing, fan-shaped plate, handle and limit explosion structure of the present invention;
图3为本发明的密封环和密封球体剖面图;Fig. 3 is a cross-sectional view of a sealing ring and a sealing sphere of the present invention;
图4为本发明的密封环和密封球体侧视图;Fig. 4 is a side view of a sealing ring and a sealing sphere of the present invention;
图5为本发明的扇形板侧视图。Fig. 5 is a side view of the sector plate of the present invention.
图中:支撑板1、水蛭养殖箱2、固定板3、支撑杆4、储水箱5、透明桶6、支柱7、刻度8、伸缩气泵9、密封环10、密封法兰11、限位管12、限位螺钉13、轴承14、扇形板15、螺纹杆16、握把17、密封球体18、密封盘19、活塞20、进水口21、出水口22、滑块23、复位弹簧 24、启动开关25、弧形滑槽26。In the figure: support plate 1,
具体实施方式Detailed ways
下面将结合本发明实施例中的附图,对本发明实施例中的技术方案进行清楚、完整地描述,显然,所描述的实施例仅仅是本发明一部分实施例,而不是全部的实施例。基于本发明中的实施例,本领域普通技术人员在没有做出创造性劳动前提下所获得的所有其他实施例,都属于本发明保护的范围。The technical solutions in the embodiments of the present invention will be clearly and completely described below with reference to the accompanying drawings in the embodiments of the present invention. Obviously, the described embodiments are only a part of the embodiments of the present invention, but not all of the embodiments. Based on the embodiments of the present invention, all other embodiments obtained by those of ordinary skill in the art without creative efforts shall fall within the protection scope of the present invention.
请参阅图1-5,本发明提供一种技术方案:一种医用水蛭培养箱自动加水装置,包括支撑板1、水蛭养殖箱2和储水箱5,储水箱5的底端面通过三角支架放置于地面上,通过储水箱5提供水资源,避免传统的方式中需要通过加压供水的缺点,方便使用,支撑板1的下端通过安装支杆放置在地面上,支撑板1与固定板3对应分别设置切口和安装块,通过对应的螺钉固定,保证了支撑杆4的工作稳定,水蛭养殖箱2位于支撑板1的上端内侧,且储水箱5的外侧上端设置加水口,储水箱5的外侧下端设置通水孔,支撑板1的两侧均固定有固定板3,固定板3的内侧设置有支撑杆4,支撑杆4的两端与固定板3的内侧面接触并通过贯穿设置的螺钉相互连接,储水箱5的水平高度大于支撑杆4的水平高度,且储水箱5与支撑杆4的高度差不少于2m。Please refer to Fig. 1-5, the present invention provides a kind of technical scheme: a kind of automatic watering device of medical leech incubator, comprises support plate 1,
支撑杆4的横截面为正多边形,且支撑杆4上设置自动加水装置,自动加水装置包括有透明桶6、伸缩气泵9、密封环10、密封法兰11、轴承14、扇形板15、握把17、密封球体18和限位管12,限位管12设置在扇形板15的外侧拐角处,且限位管12对应支撑杆4贯穿设置通孔,支撑杆4穿插在通孔中,限位管12的上端中部贯穿设置限位螺钉13,限位螺钉13的底端与支撑杆4的上表面接触,扇形板15内侧壁拐角处设置内轴承座,密封球体18的两侧依次对称有密封盘19和外轴承座,外轴承座固定在密封环10上,轴承14远离密封球体18的一端套接在内轴承座上,且轴承14靠近密封球体18的一端插接在外轴承座中,密封环10套接在密封球体18上,在轴承14的作用下,可以实现密封环10的合理、稳定的转动,进一步的提高了整体的装置的结构完整性。The cross-section of the
密封法兰11设置在密封环10的两侧并配合密封盘19安装固定,密封球体18的两侧分别贯穿设置进水口21与出水口22,进水口21与通水孔通过管道相连,密封环10在进水口21与出水口22的底端两侧预留开槽,透明桶设置在密封环的汲水口上端,且透明桶6中设置活塞20,透明桶6的上端设置安装座,安装座的上方设置安全板,安全板与安装座外侧穿插螺纹杆16并通过螺母固定,安全板的上端固定设置握把17,握把17表面设置防滑槽,使用握把17可以实现方便、快捷、简便的操作。The sealing
安装座的上端中部设置螺纹槽,且伸缩气泵9的下端设置连接块,连接块插接在螺纹槽中,伸缩气泵9的动力杆贯穿螺纹槽的底端并与活塞20固定连接,透明桶6的两侧连接支柱7,透明桶6的外侧壁上设置刻度8,透明桶6的外侧壁设置与支柱7连接的加强杆,伸缩气泵9下端设置的连接块与螺纹槽之间设置弹性密封层,通过伸缩气泵9配合活塞20使用,能够实现自动加水和排水,避免水资源的停留和不必要的储存,避免浪费,实现节约。The middle part of the upper end of the mounting seat is provided with a threaded groove, and the lower end of the
扇形板15上设置弧形滑槽26,且弧形滑槽26的内侧两端均设置启动开关25,弧形滑槽26中嵌接有滑块23,滑块23上设置插孔,对应的支柱7插接在插孔中,且滑块23的底端通过复位弹簧 24连接弧形滑槽26的底端,滑块23的上端和下端分别与启动开关25接触,所述启动开关25分别电性连接伸缩气泵9,设置两个启动开关25,两个启动开关分别电性连接伸缩气泵9并分别控制伸缩气泵9的工作。Arc-
工作原理:进行合理的结构安装,当需要进行加水操作时,手动扳动握把17,将滑块23下移并触碰按压位于下方的启动开关25,此刻汲水口与进水口21相通,并且气泵工作,将活塞20上移,实现吸水工作,松开握把17后,在复位弹簧 24的作用下,滑块23接触并按压位于上方的启动开关25实现排水工作,此刻水从出水口22流出并流入到水蛭养殖箱2中,实现加水操作,通过拆卸限位螺钉13可以实现扇形板15的固定和拆卸,实现工作位置的改变,更方便了使用。Working principle: carry out reasonable structural installation, when it is necessary to add water, manually pull the
尽管已经示出和描述了本发明的实施例,对于本领域的普通技术人员而言,可以理解在不脱离本发明的原理和精神的情况下可以对这些实施例进行多种变化、修改、替换和变型,本发明的范围由所附权利要求及其等同物限定。Although embodiments of the present invention have been shown and described, it will be understood by those skilled in the art that various changes, modifications, and substitutions can be made in these embodiments without departing from the principle and spirit of the invention and modifications, the scope of the invention is defined by the appended claims and their equivalents.
Claims (4)
Priority Applications (1)
| Application Number | Priority Date | Filing Date | Title |
|---|---|---|---|
| CN201710043223.XA CN106719282B (en) | 2017-01-19 | 2017-01-19 | An automatic water adding device for a medical leech incubator |
Applications Claiming Priority (1)
| Application Number | Priority Date | Filing Date | Title |
|---|---|---|---|
| CN201710043223.XA CN106719282B (en) | 2017-01-19 | 2017-01-19 | An automatic water adding device for a medical leech incubator |
Publications (2)
| Publication Number | Publication Date |
|---|---|
| CN106719282A CN106719282A (en) | 2017-05-31 |
| CN106719282B true CN106719282B (en) | 2022-10-28 |
Family
ID=58943453
Family Applications (1)
| Application Number | Title | Priority Date | Filing Date |
|---|---|---|---|
| CN201710043223.XA Expired - Fee Related CN106719282B (en) | 2017-01-19 | 2017-01-19 | An automatic water adding device for a medical leech incubator |
Country Status (1)
| Country | Link |
|---|---|
| CN (1) | CN106719282B (en) |
Families Citing this family (2)
| Publication number | Priority date | Publication date | Assignee | Title |
|---|---|---|---|---|
| US10631526B2 (en) * | 2018-03-02 | 2020-04-28 | Petsmart Home Office Inc. | System and method for aquarium water removal |
| CN109254132B (en) * | 2018-10-12 | 2023-11-21 | 中国环境科学研究院 | A microcosm experimental device simulating a pond ecosystem |
Family Cites Families (5)
| Publication number | Priority date | Publication date | Assignee | Title |
|---|---|---|---|---|
| JPH11197040A (en) * | 1998-01-06 | 1999-07-27 | Rado Kikaku:Kk | Water quality modifier container and water quality modifying method |
| CN103548749B (en) * | 2013-10-18 | 2015-09-16 | 成都智拓水族用品有限公司 | A kind of aquarium |
| CN204206925U (en) * | 2014-11-14 | 2015-03-18 | 齐齐哈尔齐三机床有限公司 | Automation fish jar |
| CN107950459A (en) * | 2015-12-23 | 2018-04-24 | 深圳市晟弘企业管理有限公司 | A kind of fish jar easy to clean |
| CN205695087U (en) * | 2016-06-27 | 2016-11-23 | 淮阴师范学院 | A kind of water supplement apparatus of culturing pool water level monitoring |
-
2017
- 2017-01-19 CN CN201710043223.XA patent/CN106719282B/en not_active Expired - Fee Related
Also Published As
| Publication number | Publication date |
|---|---|
| CN106719282A (en) | 2017-05-31 |
Similar Documents
| Publication | Publication Date | Title |
|---|---|---|
| CN208095530U (en) | A kind of treegarden irrigation control device | |
| CN106719282B (en) | An automatic water adding device for a medical leech incubator | |
| CN202664018U (en) | A fountain-type terraced giant salamander culture pond | |
| CN207066787U (en) | Water source sampler is used in a kind of water body environment detection | |
| CN202568525U (en) | Drencher for raising livestock | |
| CN202974715U (en) | Quantitative sampling water barrel | |
| CN206586176U (en) | Poultry feed groove is used in one kind cultivation | |
| CN202603406U (en) | Water circulation filtering cultivation device | |
| CN207235690U (en) | Agricultural automatic irrigation device | |
| CN218266443U (en) | Mosquito repelling fan convenient for adding mosquito repellent medicine | |
| CN205153029U (en) | Simply abandon a class device | |
| CN205423905U (en) | Agricultural irrigation is with water conservation bypass valve | |
| CN205284655U (en) | Pond oxygenation system breeds | |
| CN203407355U (en) | Large-scale culture pond | |
| CN210959601U (en) | Plant cultivation device for landscaping | |
| CN204930015U (en) | A fish pond structure for under normal running water state | |
| CN208089652U (en) | A kind of hand undisturbed soil drawing out soil equipment based on hydraulic principle | |
| CN208234703U (en) | A kind of non-maintaining rural domestic sewage treating device | |
| CN206333221U (en) | A kind of fishes and shrimps nursery pond sewage suction device | |
| CN221825178U (en) | A device for steadily improving the efficiency of pesticide formulation dispensers | |
| CN218146708U (en) | Microalgae culture device for regulating and controlling temperature by utilizing natural water body | |
| CN204459340U (en) | Tube exhaust valve | |
| CN211129085U (en) | An indoor leek planting device | |
| CN202865981U (en) | Floor drain for aquaculture pool | |
| CN211227178U (en) | A tissue culture dish for botanical experiments |
Legal Events
| Date | Code | Title | Description |
|---|---|---|---|
| PB01 | Publication | ||
| PB01 | Publication | ||
| SE01 | Entry into force of request for substantive examination | ||
| SE01 | Entry into force of request for substantive examination | ||
| TA01 | Transfer of patent application right | ||
| TA01 | Transfer of patent application right |
Effective date of registration: 20221010 Address after: 518000 No. 604, xincanghai 1, Shatian community, Kengzi street, Pingshan District, Shenzhen City, Guangdong Province Applicant after: Shenzhen Leech Love World Culture Communication Co.,Ltd. Address before: 312400 Shengzhou People's Hospital, Hospital Road, Yanhu Street, Shengzhou City, Shaoxing City, Zhejiang Province Applicant before: Wang Kewei |
|
| GR01 | Patent grant | ||
| GR01 | Patent grant | ||
| CF01 | Termination of patent right due to non-payment of annual fee | ||
| CF01 | Termination of patent right due to non-payment of annual fee |
Granted publication date: 20221028 |
