CN106359365B - A kind of electric standardized anti-rat baffle - Google Patents

A kind of electric standardized anti-rat baffle Download PDF

Info

Publication number
CN106359365B
CN106359365B CN201611005945.8A CN201611005945A CN106359365B CN 106359365 B CN106359365 B CN 106359365B CN 201611005945 A CN201611005945 A CN 201611005945A CN 106359365 B CN106359365 B CN 106359365B
Authority
CN
China
Prior art keywords
plate
door
locking mechanism
hole
clamping
Prior art date
Legal status (The legal status is an assumption and is not a legal conclusion. Google has not performed a legal analysis and makes no representation as to the accuracy of the status listed.)
Expired - Fee Related
Application number
CN201611005945.8A
Other languages
Chinese (zh)
Other versions
CN106359365A (en
Inventor
鲁杰
汤建华
常先连
白涧
戴先玉
沈兵
张俊东
刘朝亮
任敬
钱峰
张艳坤
贾莹莹
张松
许伟
Current Assignee (The listed assignees may be inaccurate. Google has not performed a legal analysis and makes no representation or warranty as to the accuracy of the list.)
Chuzhou Power Supply Co of State Grid Anhui Electric Power Co Ltd
State Grid Corp of China SGCC
Original Assignee
Chuzhou Power Supply Co of State Grid Anhui Electric Power Co Ltd
State Grid Corp of China SGCC
Priority date (The priority date is an assumption and is not a legal conclusion. Google has not performed a legal analysis and makes no representation as to the accuracy of the date listed.)
Filing date
Publication date
Application filed by Chuzhou Power Supply Co of State Grid Anhui Electric Power Co Ltd, State Grid Corp of China SGCC filed Critical Chuzhou Power Supply Co of State Grid Anhui Electric Power Co Ltd
Priority to CN201611005945.8A priority Critical patent/CN106359365B/en
Publication of CN106359365A publication Critical patent/CN106359365A/en
Application granted granted Critical
Publication of CN106359365B publication Critical patent/CN106359365B/en
Expired - Fee Related legal-status Critical Current
Anticipated expiration legal-status Critical

Links

Images

Classifications

    • AHUMAN NECESSITIES
    • A01AGRICULTURE; FORESTRY; ANIMAL HUSBANDRY; HUNTING; TRAPPING; FISHING
    • A01MCATCHING, TRAPPING OR SCARING OF ANIMALS; APPARATUS FOR THE DESTRUCTION OF NOXIOUS ANIMALS OR NOXIOUS PLANTS
    • A01M29/00Scaring or repelling devices, e.g. bird-scaring apparatus
    • A01M29/30Scaring or repelling devices, e.g. bird-scaring apparatus preventing or obstructing access or passage, e.g. by means of barriers, spikes, cords, obstacles or sprinkled water

Landscapes

  • Life Sciences & Earth Sciences (AREA)
  • Birds (AREA)
  • Engineering & Computer Science (AREA)
  • Insects & Arthropods (AREA)
  • Pest Control & Pesticides (AREA)
  • Wood Science & Technology (AREA)
  • Zoology (AREA)
  • Environmental Sciences (AREA)
  • Securing Of Glass Panes Or The Like (AREA)
  • Patch Boards (AREA)

Abstract

本发明涉及一种电力标准化防鼠挡板,包括设置在设备两侧门框的两个门板,门框的底部设置有固定第一锁紧机构的底座,第一锁紧机构与底座构成转动配合且转动轴线竖直,第一锁紧机构用于支撑门板的下边缘,位于门板的上端边缘设置有第二锁紧机构,第二锁紧机构与门框构成转动配合且转动轴线竖直,第二锁紧机构与门框构成可拆卸式连接,两门板之间设置有锁闭件,本发明的防鼠挡板能够杜绝现有的防鼠挡板易下坠变形的问题、安全可靠;其固定部位的力度大大减小,降低损坏的可能,延长使用寿命,降低生产成本;而且美观醒目,防止进出绊倒,提高安全性;本发明只需将相关沉杯螺栓及螺栓拆除即可,无须受技术因素的影响,降低操作条件和技术要求。

Figure 201611005945

The invention relates to an electric standardized anti-rat baffle, comprising two door panels arranged on the door frames on both sides of the equipment, the bottom of the door frame is provided with a base for fixing a first locking mechanism, and the first locking mechanism and the base form a rotatable fit and rotate The axis is vertical, the first locking mechanism is used to support the lower edge of the door panel, and a second locking mechanism is provided on the upper edge of the door panel. The mechanism and the door frame form a detachable connection, and a locking member is arranged between the two door panels. The anti-rat baffle of the present invention can eliminate the problem that the existing anti-rodent baffle is easy to fall and deform, and is safe and reliable; the strength of the fixed part is great. Reduce, reduce the possibility of damage, prolong the service life, and reduce the production cost; and it is beautiful and eye-catching, prevents tripping in and out, and improves safety; the present invention only needs to remove the relevant sinking cup bolts and bolts, and does not need to be affected by technical factors , reduce operating conditions and technical requirements.

Figure 201611005945

Description

Electric power standardized protection against rodents baffle
Technical Field
The invention relates to the technical field of substation protection, in particular to a power standardized ratproof baffle.
Background
According to the requirements of safety facility specifications related to power production, a switch room, a protection room, a storage battery room and the like of an operating transformer substation are additionally provided with rat-proof baffles. Because current protection against rodents baffle is frame structure, and the mounting means is two kinds, one kind is with the expansion screw fixation on the door frame for the frame, then the baffle inserts between the frame, another kind is the baffle open-type, has the drawback on these two kinds of baffle structural design, appears many problems when using at the scene, and the fortune dimension personnel are when daily operation or tour work, and the safety tool utensil and the instrument of carrying are very inconvenient when passing in and out, trip easily carelessly, have unsafe factor. Especially when carrying large-scale equipment, equipment business turn over in the improvement of technology maintenance work, must fix the protection against rodents baffle on the door frame and wholly demolish, because the improvement of technology work cycle is longer, needs professional to install simultaneously and debugs, the phenomenon that appears and can not in time resume, and the on-the-spot protection against rodents plays no effect, if the entering of mouse or other toy, will cause serious harm to electrical equipment, endangers safety in production. In addition, the structural damage of the rat-proof baffle caused by repeated disassembly and assembly affects the protection effect, and meanwhile, the operation and maintenance workload and the maintenance cost are increased.
Disclosure of Invention
The purpose of the invention is: the electric power standardized rat guard has the advantages of firm structure, quick assembly and disassembly, safety, reliability, attractive appearance, durability and strong protective performance.
In order to achieve the purpose, the invention adopts the technical scheme that:
the utility model provides a standardized protection against rodents baffle of electric power, is including setting up two door plants at equipment both sides door frame, and the bottom of door frame is provided with the base of fixed first locking mechanism, and first locking mechanism constitutes normal running fit and rotation axis vertical with the base, and first locking mechanism is used for supporting the lower limb of door plant, and the upper end edge that is located the door plant is provided with second locking mechanism, second locking mechanism constitutes normal running fit and rotation axis vertical with the door frame, second locking mechanism constitutes detachable the connection with the door frame, be provided with the locking piece between two door plants.
The invention also has the following features:
the fixed plates are arranged on the door frames on the two sides respectively and detachably connected with the door frames on the two sides, and the second locking mechanisms are arranged at the upper ends of the fixed plates.
The base includes the mounting panel fixed with the base face, and the mounting panel wholly is rectangle platelike structure, and the corner that is located the mounting panel is provided with the mounting hole, and the face center that is located the mounting panel is provided with the rectangular channel, is provided with the regulation core in the rectangular channel, be provided with on the regulation core be used for with the fixed rectangle through-hole of first locking mechanical system.
The first locking mechanism comprises a first clamping plate and a second clamping plate, the surfaces of the first clamping plate and the second clamping plate are attached to each other and provided with clamping grooves used for supporting the edge of the lower end of the door plate, a door closer core is arranged between the first clamping plate and the second clamping plate, a rotating shaft is arranged on the door closer core, and one end of the rotating shaft is arranged in a rectangular rod shape and forms a plug-in fit with the rectangular through hole.
The width and the length dimension of rectangular channel are greater than the width and the length dimension of adjusting the core respectively, the mounting panel board end all is provided with adjusting through hole all around at the rectangular channel place, is provided with adjusting bolt in the adjusting through hole, and adjusting bolt stretches into in the rectangular channel and supports or separate with adjusting the core edge all around.
The second locking mechanism comprises a first clamping plate and a second clamping plate, the surfaces of the first clamping plate and the second clamping plate are attached and fixedly connected through a fastening bolt, a clamping groove used for clamping the upper end edge of the door plate is arranged between the plate ends of the first clamping plate and the second clamping plate, a supporting chuck is arranged between the first clamping plate and the second clamping plate, the supporting chuck is fixed with one side plate surface of the first clamping plate through the fastening bolt, and a rotating through hole is further formed in the supporting chuck.
The second locking mechanism further comprises a top shaft plate arranged at the upper end of the fixing plate, a top shaft is arranged on the top shaft plate and forms rotating insertion fit with the rotating through hole, and the top shaft is vertically arranged on the lower plate surface of the fixing plate.
The fixed plate is wholly of a batten-shaped structure, a notch is formed in the upper end of the fixed plate and used for clamping a top shaft plate, two positioning holes are formed in the notch, a first mounting hole is formed between the two positioning holes, a positioning pin and the positioning holes are arranged on the top shaft plate and form a plug-in fit, a second mounting hole is further formed in the top shaft plate, and the first mounting hole is fixedly connected with the second mounting hole through a bolt.
The locking piece comprises a first fixing plate and a second fixing plate, the first fixing plate and the second fixing plate are respectively attached to two sides of the two door plates and fixed through fixing bolts, and a lock pin is further arranged between the first fixing plate and the second fixing plate.
Compared with the prior art, the invention has the technical effects that:
1. the invention has strong safety protection performance, can effectively prevent small animals from entering an electric room, is particularly suitable for places such as a high-voltage room, a storage battery room, a cable room, a protection room, a communication machine room and the like in a transformer substation, has obvious prevention effect and provides reliable guarantee for safety production.
2. The door frame is a frameless design and combined component, is suitable for various door frames, has strong universality, small occupied space and quick assembly and disassembly, is convenient for electrical equipment and equipment to get in and out of a factory building, and provides convenience for field maintenance.
3. The invention has flexible switch, is convenient for the working personnel to enter and exit, reduces the labor intensity and improves the working efficiency.
4. The invention is made of aluminum alloy or stainless steel, has high strength, is firm and durable, avoids the problem that the existing ratproof baffle is easy to fall and deform, and is safe and reliable.
5. The invention adopts a hidden damping door closing mode to ensure that the opening and closing of the ratproof baffle are flexible, the force of the fixed part is greatly reduced, the possibility of damage is reduced, the service life is prolonged, and the production cost is reduced.
6. The invention has obvious safety mark, beautiful and striking appearance, prevents tripping in and out and improves safety.
7. In addition, the invention is a combined structure and assembled construction, only the related sinking cup bolt and the bolt are needed to be dismantled, and the invention is not influenced by technical factors, thereby greatly reducing the operation conditions and the technical requirements.
Drawings
FIG. 1 is a schematic view of the electric standardized ratproof baffle of the present invention;
FIG. 2 is a schematic view of the electrical standardized ratproof baffle base of the present invention;
FIGS. 3a and 3b are schematic diagrams of the first locking mechanism of the standardized electrical ratproof barrier of the present invention from two different perspectives;
FIGS. 4a and 4b are schematic structural diagrams of the top shaft plate of the standardized electric ratproof barrier of the present invention from two viewing angles;
FIG. 5 is a schematic view of a fixing plate structure of the standardized electric mouse-proof baffle of the present invention;
FIGS. 6a and 6b are schematic structural diagrams of the second locking mechanism of the standardized electric ratproof barrier of the present invention from two viewing angles;
fig. 7 is a schematic structural view of a locking member of the standardized electric ratproof barrier of the present invention.
Detailed Description
The invention will be further explained with reference to fig. 1 to 7:
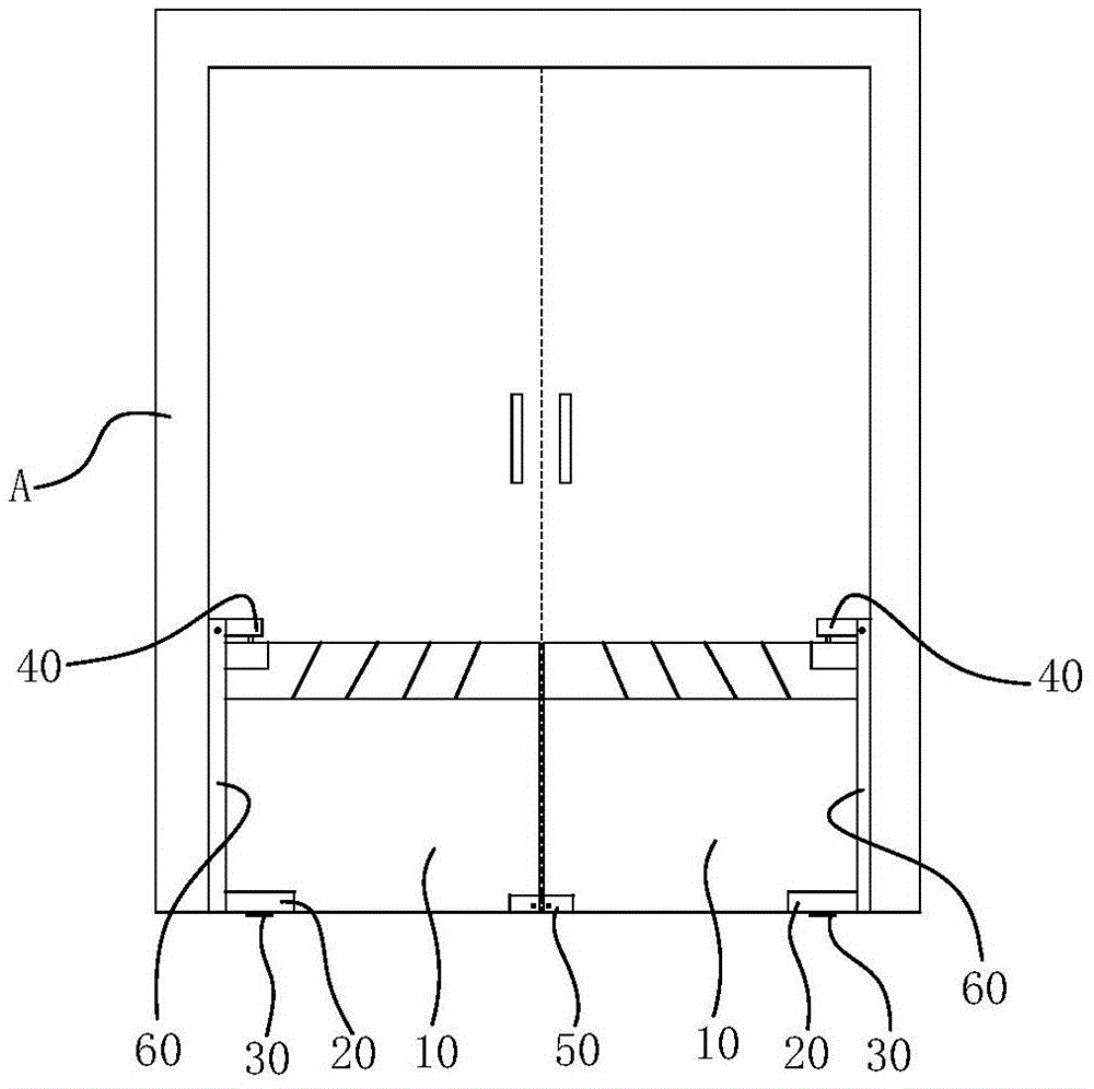
the utility model provides a standardized protection against rodents baffle of electric power, is including setting up two door plants 10 at equipment both sides door frame A, and door frame A's bottom is provided with the base 30 of fixed first locking mechanism 20, and first locking mechanism 20 constitutes normal running fit and rotation axis with base 30 is vertical, and first locking mechanism 20 is used for supporting the lower limb of door plant 10, and the upper end edge that is located door plant 10 is provided with second locking mechanism 40, second locking mechanism 40 constitutes normal running fit and rotation axis with door frame A and is vertical, second locking mechanism 40 constitutes detachable the connection with door frame A, be provided with locking piece 50 between two door plants 10.
The electric standardized rat-proof baffle has strong safety protection performance, can effectively prevent small animals from entering an electric room, is particularly suitable for places such as a high-voltage room, a storage battery room, a cable room, a protection room, a communication machine room and the like in a transformer substation, has obvious precaution effect, and provides reliable guarantee for safety production; the door frame is a frameless design and combined part, is suitable for various door frames, has strong universality, small occupied space and quick assembly and disassembly, is convenient for electrical equipment and equipment to enter and exit a workshop, and provides convenience for field maintenance; the switch is flexible, so that workers can conveniently enter and exit, the labor intensity is reduced, and the working efficiency is improved; the anti-rat baffle is made of aluminum alloy or stainless steel, has high strength, is firm and durable, avoids the problem that the existing anti-rat baffle is easy to fall and deform, and is safe and reliable; the hidden damping door closing mode is adopted to ensure that the opening and closing of the rat-proof baffle are flexible, the force of the fixed part is greatly reduced, the possibility of damage is reduced, the service life is prolonged, and the production cost is reduced; the safety mark is obvious, the appearance is attractive and striking, tripping in and out is prevented, and the safety is improved; in addition, the invention is a combined structure and assembled construction, only the related sinking cup bolt and the bolt are needed to be dismantled, and the invention is not influenced by technical factors, thereby greatly reducing the operation conditions and the technical requirements.
Further, fixing plates 60 are respectively arranged on the two side door frames a, the fixing plates 60 and the two side door frames a form a detachable connection, and the second locking mechanism 40 is arranged at the upper end of the fixing plates 60;
further, the base 30 includes a mounting plate 31 fixed to the base surface, the mounting plate 31 is integrally in a rectangular plate-shaped structure, mounting holes 311 are formed in corners of the mounting plate 31, a rectangular groove 312 is formed in the center of the plate surface of the mounting plate 31, an adjusting core plate 32 is arranged in the rectangular groove 312, and a rectangular through hole 321 for fixing the adjusting core plate 32 to the first locking mechanism 40 is formed in the adjusting core plate 32;
in the above embodiment, the mounting holes may be drilled in advance on the base surface, the mounting plate 31 may be disposed on the base surface, the mounting plate 31 may be fixed by expansion bolts or expansion pins, and the mounting plate 31 may be covered with the protective cover 33 to protect the mounting plate 31 and to achieve an aesthetic effect.
Furthermore, the first locking mechanism 20 includes a first locking plate 21 and a second locking plate 22, the first locking plate 21 and the second locking plate 22 are attached to each other and provided with a locking groove for supporting the edge of the lower end of the door panel 10, a door closer movement 23 is arranged between the first locking plate 21 and the second locking plate 22, a rotating shaft 24 is arranged on the door closer movement 23, and one end of the rotating shaft 24 is arranged in a rectangular rod shape and forms a plug-in fit with the rectangular through hole 321;
in the above embodiment, the door closer movement 23 includes a damper and the like, so that a certain damping exists in the rotation of the rotating shaft 24, an adjusting mechanism for adjusting the door closer movement 23 is disposed on the first locking plate 21 and the second locking plate 22, the door closer movement 23 is used for adjusting the door closing speed and the angle adjusting buffering speed of the door panel 10, and the first locking plate 21 and the second locking plate 22 are respectively provided with the protection plate 25 in a clamping manner, so as to prevent dust from entering the first locking mechanism 20.
Preferably, the width and length of the rectangular groove 312 are respectively greater than the width and length of the adjusting core plate 32, the plate ends of the periphery of the mounting plate 31 where the rectangular groove 312 is located are all provided with adjusting through holes 313, adjusting bolts 314 are arranged in the adjusting through holes 313, and the adjusting bolts 314 extend into the rectangular groove 312 and abut against or separate from the peripheral edge of the adjusting core plate 32;
in the above embodiment, when the door panel 10 and the door frame a, the door panel 10 are not sealed, the adjusting bolt 314 is used to enable the adjusting core plate 32 to be located in the rectangular groove 312 for movement, so as to adjust the height and the deflection angle of the door panel 10, and further ensure the sealing between the door panels 10 and the door frame a.
The second locking mechanism 40 comprises a first clamping plate 41 and a second clamping plate 42, the surfaces of the first clamping plate 41 and the second clamping plate 42 are attached and fixedly connected through a fastening bolt, a clamping groove for clamping the edge of the upper end of the door plate 10 is arranged between the plate ends of the first clamping plate 41 and the second clamping plate 42, a supporting chuck 43 is arranged between the first clamping plate 41 and the second clamping plate 42, the supporting chuck 43 is fixed with one side surface of the first clamping plate 41 through a fastening bolt 431, and the supporting chuck 43 is further provided with a rotating through hole 432;
in the above embodiment, the first and second clamp plates 41 and 42 are covered with the cover plate 45, and the function is the same as that of the cover plates of the other structures.
The second locking mechanism 40 further includes a top shaft plate 44 disposed at the upper end of the fixing plate 60, a top shaft 441 disposed on the top shaft plate 44 forms a rotating insertion fit with the rotating through hole 432, and the top shaft 441 is vertically disposed on the lower plate surface of the fixing plate 60.
The fixing plate 60 is integrally in a slat-shaped structure, a notch 61 is formed in the upper end of the fixing plate 60 and used for clamping the top shaft plate 44, two positioning holes 611 are formed in the notch 61, a first mounting hole 612 is formed between the two positioning holes 611, a positioning pin 444 is formed in the top shaft plate 44 and is in insertion fit with the positioning holes 611, a second mounting hole 442 is further formed in the top shaft plate 44, and the first mounting hole 612 and the second mounting hole 442 are fixedly connected through a bolt 443.
The locking element 50 comprises a first fixing plate 51 and a second fixing plate 52, the first fixing plate 51 and the second fixing plate 52 are respectively attached to two sides of the two door panels 10, the first fixing plate 51 and the second fixing plate 52 are fixed through a fixing bolt 53, and a locking pin 54 is further arranged between the first fixing plate 51 and the second fixing plate 52;
in the above embodiment, the locking pin 54 can firmly lock the first and second fixing plates 51, 52, thereby preventing a gap from being generated between the two door panels 10.
For convenience of description, the following definitions are made in this example, with reference to fig. 1: the extending direction of the long sides of the two door panels 10 is taken as the X-axis direction, the thickness direction of the two door panels 10 is taken as the Y-axis direction, the height direction of the two door panels 10 is taken as the H-axis direction, the X-axis is perpendicular to the Y-axis, and the H-axis is perpendicular to the plane formed by the X-axis and the Y-axis.
The implementation process of the invention is as follows:
when two door panels 10 are installed, a base 30 is installed in the door frame on one side or two sides in the X-axis direction, holes are drilled on the ground according to the positions of the installation holes 311 on the installation plate 31 of the base 30, matched expansion bolts or common bolts are inserted into the installation holes 311 on the installation plate 31, the installation plate 31 is fixed, a protective cover 33 is covered, and the installation of the base 30 is completed.
The fixing plate 60 is mounted by inserting the rotary shaft 24 of the first locking mechanism 20 into the rectangular through hole 321 of the base 30, punching the fixing plate 60 in the H-axis direction in the door frame a on one side or both sides, inserting bolts into the bolt holes of the fixing plate 60, and tightening the nuts.
Placing the lower corner of the corner plate of the door plate 10 in the clamping grooves of the first clamping plate 21 and the second clamping plate 22 in the first locking mechanism 20, and screwing the fastening bolt between the first clamping plate 21 and the second clamping plate 22, so as to fix the door plate 10; the upper corners of the corner plates of the door plate 10 are placed in the slots of the first clamping plate 41 and the second clamping plate 42 of the second locking mechanism 40, and the fastening bolts between the first clamping plate 41 and the second clamping plate 42 are screwed down, so that the upper corners of the fixed door plate 10 are fixed.
The top shaft 441 of the top shaft plate 44 is inserted downward into the rotation through hole 432 of the support clip 43, while the second mounting hole 442 and the positioning pin 444 are aligned with the first mounting hole 612 and the positioning hole 611 in the plane of the notch 61 of the fixing plate 60, the positioning pin 444 is inserted into the positioning hole 611, and the bolt 443 is inserted into and fastened to the second mounting hole 442 and the first mounting hole 612, thereby completing the mounting of the two door panels 10.
In the present invention, taking a single-leaf door as an example, when the door panel 10 is closed relative to the door frame a, the door panel 10 cooperates with the door frame a to form a sealing effect, if a side seam is generated, only 6 adjusting bolts 314 are arranged on the periphery of the mounting plate 31 of the adjusting base 30, and the height and the left-right distance of the adjusting core plate 32 in the mounting plate 31 are adjusted, so as to solve the problem that the sealing effect of the door panel 10 is not good.
In the invention, the fixing plate 60, the first and second locking mechanisms 20 and 40 and the base 30 are used in a matching way, the hidden damping door closer and the second locking mechanism 40 are matched to clamp the door panel 10, after the door panel 10 is erected, the door closer movement rotating shaft 24 is inserted into the rectangular through hole 321 of the base 30 to be fixed, the top shaft 441 of the top shaft plate 44 is inserted downwards into the rotating through hole 432 of the supporting chuck 43, then the bolt 443 is inserted into the second mounting hole 442 and the first mounting hole 612 and fastened to complete the mounting of the two door panels 10, when the door panel 10 needs to be dismounted, the bolt 443 is unscrewed to pull out the top shaft plate 44, the dismounting can be conveniently carried out, and the mounting and dismounting are more convenient and faster while the function of the set of rat-proof baffle is ensured to be perfect.
It will be evident to those skilled in the art that the invention is not limited to the details of the foregoing illustrative embodiments, and that the present invention may be embodied in other specific forms without departing from the spirit or essential attributes thereof. The present embodiments are therefore to be considered in all respects as illustrative and not restrictive, the scope of the invention being indicated by the appended claims rather than by the foregoing description, and all changes which come within the meaning and range of equivalency of the claims are therefore intended to be embraced therein. Any reference sign in a claim should not be construed as limiting the claim concerned.
Furthermore, it should be understood that although the present description refers to embodiments, not every embodiment may contain only a single embodiment, and such description is for clarity only, and those skilled in the art should integrate the description, and the embodiments may be combined as appropriate to form other embodiments understood by those skilled in the art.

Claims (3)

1.一种电力标准化防鼠挡板,其特征在于:包括设置在设备两侧门框(A)的两个门板(10),门框(A)的底部设置有固定第一锁紧机构(20)的底座(30),第一锁紧机构(20)与底座(30)构成转动配合且转动轴线竖直,第一锁紧机构(20)用于支撑门板(10)的下边缘,位于门板(10)的上端边缘设置有第二锁紧机构(40),所述第二锁紧机构(40)与门框(A)构成转动配合且转动轴线竖直,所述第二锁紧机构(40)与门框(A)构成可拆卸式连接,所述两门板(10)之间设置有锁闭件(50);1. An electric power standardized anti-rat baffle, characterized in that it comprises two door panels (10) arranged on the door frames (A) on both sides of the equipment, and the bottom of the door frame (A) is provided with a fixed first locking mechanism (20) the base (30), the first locking mechanism (20) and the base (30) constitute a rotational fit and the axis of rotation is vertical, the first locking mechanism (20) is used to support the lower edge of the door panel (10), located at the door panel ( 10) A second locking mechanism (40) is provided on the upper edge of the second locking mechanism (40), the second locking mechanism (40) and the door frame (A) constitute a rotational fit and the axis of rotation is vertical, and the second locking mechanism (40) A detachable connection is formed with the door frame (A), and a locking member (50) is arranged between the two door panels (10); 所述第一锁紧机构(20)包括第一卡板(21)和第二卡板(22),第一卡板(21)和第二卡板(22)板面贴合且设置有用于托撑门板(10)下端边缘的卡槽,第一卡板(21)和第二卡板(22)之间设置有闭门器机芯(23),闭门器机芯(23)上设置有旋转轴(24),旋转轴(24)的一端设置成矩形杆状且与矩形通孔(321)构成插接配合;The first locking mechanism (20) includes a first clamping plate (21) and a second clamping plate (22), the first clamping plate (21) and the second clamping plate (22) are surface-fitted and provided with a The card slot at the lower end edge of the door plate (10) is supported, a door closer movement (23) is arranged between the first card plate (21) and the second card plate (22), and a door closer movement (23) is arranged on the door closer movement There is a rotating shaft (24), one end of the rotating shaft (24) is arranged in a rectangular rod shape and forms a plug-fit with the rectangular through hole (321); 所述第二锁紧机构(40)包括第一、第二夹板(41、42),第一、第二夹板(41、42)板面贴合且通过紧固螺栓固连,第一、第二夹板(41、42)的板端之间设置有用于卡接门板(10)上端边缘的卡槽,第一、第二夹板(41、42)之间设置有支撑夹头(43),所述支撑夹头(43)通过紧固螺栓(431)与第一夹板(41)的一侧板面固定,支撑夹头(43)还设置有转动通孔(432);The second locking mechanism (40) includes first and second splints (41, 42), the first and second splints (41, 42) are in contact with each other and fixed by fastening bolts, and the first and second splints (41, 42) are A slot for clamping the upper edge of the door panel (10) is provided between the plate ends of the two clamping plates (41, 42), and a supporting chuck (43) is arranged between the first and second clamping plates (41, 42), so The support collet (43) is fixed to one side surface of the first clamping plate (41) by fastening bolts (431), and the support collet (43) is further provided with a rotating through hole (432); 所述第二锁紧机构(40)还包括设置在固定板(60)上端的顶轴板(44),所述顶轴板(44)上设置有顶轴(441)与转动通孔(432)构成转动插接配合,所述顶轴(441)竖直布置在固定板(60)的下板面;The second locking mechanism (40) further comprises a top shaft plate (44) arranged on the upper end of the fixed plate (60), the top shaft plate (44) is provided with a top shaft (441) and a rotating through hole (432) ) constitutes a rotary plug fit, and the top shaft (441) is vertically arranged on the lower surface of the fixing plate (60); 所述固定板(60)整体呈条板状结构,位于固定板(60)的上端设置有缺口(61)用于卡设顶轴板(44),所述缺口(61)上设置有两定位孔(611),两定位孔(611)之间设置有第一安装孔(612),所述顶轴板(44)上设置有定位销(444)与定位孔(611)构成插接配合,顶轴板(44)上还设置有第二安装孔(442),第一安装孔(612)与第二安装孔(442)通过螺栓(443)固连;The fixing plate (60) has a strip-shaped structure as a whole, and a notch (61) is provided at the upper end of the fixing plate (60) for clamping the top shaft plate (44). The notch (61) is provided with two positioning A hole (611), a first mounting hole (612) is provided between the two positioning holes (611), a positioning pin (444) is provided on the top shaft plate (44) and the positioning hole (611) forms a plug fit, The top shaft plate (44) is further provided with a second installation hole (442), and the first installation hole (612) and the second installation hole (442) are fixedly connected by bolts (443); 两侧门框(A)上分别设置有固定板(60),所述固定板(60)与两侧门框(A)构成可拆卸连接,所述第二锁紧机构(40)设置在固定板(60)的上端;The door frames (A) on both sides are respectively provided with fixing plates (60), the fixing plates (60) are detachably connected with the door frames (A) on both sides, and the second locking mechanism (40) is arranged on the fixing plates (A). 60) the upper end; 所述底座(30)包括与基面固定的安装板(31),安装板(31)整体呈矩形板状结构,位于安装板(31)的拐角处设置有安装孔(311),位于安装板(31)的板面中心设置有矩形槽(312),矩形槽(312)内设置有调节芯板(32),所述调节芯板(32)上设置有用于与第一锁紧机构(20)固定的矩形通孔(321)。The base (30) includes a mounting plate (31) fixed to the base surface, the mounting plate (31) has a rectangular plate-like structure as a whole, and mounting holes (311) are provided at the corners of the mounting plate (31), which are located on the mounting plate (31). The center of the plate surface of (31) is provided with a rectangular groove (312), and an adjustment core plate (32) is arranged in the rectangular groove (312), and the adjustment core plate (32) is provided with a first locking mechanism (20). ) fixed rectangular through hole (321). 2.根据权利要求1所述的电力标准化防鼠挡板,其特征在于:所述矩形槽(312)的宽度及长度尺寸分别大于调节芯板(32)的宽度及长度尺寸,所述矩形槽(312)所在的安装板(31)四周板端均设置有调节通孔(313),调节通孔(313)内设置有调节螺栓(314),调节螺栓(314)伸入矩形槽(312)内且与调节芯板(32)四周边缘抵靠或分离。2 . The electric power standardized anti-rat baffle according to claim 1 , wherein the width and length of the rectangular slot ( 312 ) are respectively larger than the width and length of the adjustment core plate ( 32 ). The rectangular slot ( 312 ) The mounting plate (31) where (312) is located is provided with adjustment through holes (313) around the plate ends, and adjustment bolts (314) are arranged in the adjustment through holes (313), and the adjustment bolts (314) extend into the rectangular groove (312) inside and against or separate from the surrounding edges of the adjustment core board (32). 3.根据权利要求1所述的电力标准化防鼠挡板,其特征在于:所述锁闭件(50)包括第一、第二固定板(51、52),第一、第二固定板(51、52)分别贴靠在两门板(10)的两侧,第一、第二固定板(51、52)通过固定螺栓(53)固定,第一、第二固定板(51、52)之间还设置有锁销(54)。3. The electric power standardized anti-rat baffle according to claim 1, characterized in that: the locking member (50) comprises first and second fixing plates (51, 52), the first and second fixing plates ( 51, 52) are respectively attached to both sides of the two door panels (10), the first and second fixing plates (51, 52) are fixed by fixing bolts (53), and the first and second fixing plates (51, 52) A lock pin (54) is also provided between.
CN201611005945.8A 2016-11-15 2016-11-15 A kind of electric standardized anti-rat baffle Expired - Fee Related CN106359365B (en)

Priority Applications (1)

Application Number Priority Date Filing Date Title
CN201611005945.8A CN106359365B (en) 2016-11-15 2016-11-15 A kind of electric standardized anti-rat baffle

Applications Claiming Priority (1)

Application Number Priority Date Filing Date Title
CN201611005945.8A CN106359365B (en) 2016-11-15 2016-11-15 A kind of electric standardized anti-rat baffle

Publications (2)

Publication Number Publication Date
CN106359365A CN106359365A (en) 2017-02-01
CN106359365B true CN106359365B (en) 2022-04-29

Family

ID=57894298

Family Applications (1)

Application Number Title Priority Date Filing Date
CN201611005945.8A Expired - Fee Related CN106359365B (en) 2016-11-15 2016-11-15 A kind of electric standardized anti-rat baffle

Country Status (1)

Country Link
CN (1) CN106359365B (en)

Families Citing this family (1)

* Cited by examiner, † Cited by third party
Publication number Priority date Publication date Assignee Title
CN111188560A (en) * 2019-06-04 2020-05-22 鹤山市恒保防火玻璃厂有限公司 Fireproof safety door with portable frame

Citations (4)

* Cited by examiner, † Cited by third party
Publication number Priority date Publication date Assignee Title
GB953674A (en) * 1962-01-18 1964-03-25 John Salmon A grid for preventing vermin entering open ended pipes
CN201087670Y (en) * 2007-09-11 2008-07-16 上海粮油仓储有限公司 Bulk grain airtight door
CN204292065U (en) * 2014-12-02 2015-04-29 国家电网公司 Novel sectional gear toy plate
CN205389064U (en) * 2016-03-21 2016-07-20 国网河南禹州市供电公司 Transformer substation has protection against rodents baffle of catching animal effect

Family Cites Families (9)

* Cited by examiner, † Cited by third party
Publication number Priority date Publication date Assignee Title
US4917047A (en) * 1988-06-07 1990-04-17 International Research And Development Corporation Modular component knock-down animal cage structure and assembly
TW572107U (en) * 2003-03-31 2004-01-11 Jr-Jung Jang Improved structure of electromagnetic lock
CN201262003Y (en) * 2008-09-02 2009-06-24 曹君 Rocking rod used for connecting door board and door frame of safe
CN103122742A (en) * 2011-11-21 2013-05-29 黄石供电公司变电运行中心 Detachable ratproof baffle
CN102996036B (en) * 2012-10-30 2015-02-04 湖州铁佛耐火材料有限公司 Production method for convenient assembled door
CN203661877U (en) * 2013-11-22 2014-06-25 国家电网公司 Folding type transformer substation rat proof baffle
CN204032171U (en) * 2014-09-23 2014-12-24 周紫荆 Emergency access mouse guard
TWM507961U (en) * 2015-06-09 2015-09-01 Shu-Hua Weng Door closing tool
CN206196775U (en) * 2016-11-15 2017-05-31 国家电网公司 A kind of electric power standardization mouse-proof baffle plate

Patent Citations (4)

* Cited by examiner, † Cited by third party
Publication number Priority date Publication date Assignee Title
GB953674A (en) * 1962-01-18 1964-03-25 John Salmon A grid for preventing vermin entering open ended pipes
CN201087670Y (en) * 2007-09-11 2008-07-16 上海粮油仓储有限公司 Bulk grain airtight door
CN204292065U (en) * 2014-12-02 2015-04-29 国家电网公司 Novel sectional gear toy plate
CN205389064U (en) * 2016-03-21 2016-07-20 国网河南禹州市供电公司 Transformer substation has protection against rodents baffle of catching animal effect

Also Published As

Publication number Publication date
CN106359365A (en) 2017-02-01

Similar Documents

Publication Publication Date Title
CN210608137U (en) Electric power cabinet convenient to installation
CN106359365B (en) A kind of electric standardized anti-rat baffle
CN206196775U (en) A kind of electric power standardization mouse-proof baffle plate
CN211352682U (en) Rainproof device for outdoor electrical equipment
CN216145994U (en) Alternating current low-voltage power distribution cabinet with safeguard function
CN207368560U (en) A kind of high ring main unit of installation effectiveness
CN213520954U (en) An electrical installation cabinet with good heat dissipation effect
CN212851339U (en) Server rack convenient to remove
CN202068688U (en) High-voltage electrical control machine cabinet
CN210055465U (en) Flower box mounting rack on guardrail
CN222775836U (en) A protection device for power distribution cabinet
CN110661185B (en) Power distribution cabinet convenient to mount and dismount
CN219960986U (en) Assembled regulator cubicle
CN208954523U (en) An electrical cabinet eyebrow sign fixing device
CN201438621U (en) Power distribution box convenient for installation of electrical appliance element
CN222851896U (en) A movable panel assembly for low voltage power distribution cabinet
CN215248893U (en) Light curtain fixing device for elevator
CN208142612U (en) A kind of distributed board outdoor being easily installed
CN207994387U (en) A kind of power distribution cabinet of easy access
CN220492473U (en) Install electrical installation mechanism in switch board
CN110856404A (en) Network rack mount
CN215111401U (en) Join in marriage electrical room intelligence auxiliary monitoring device based on big data
CN212211645U (en) Multifunctional safety network cabinet
CN212935182U (en) A low-voltage complete cabinet with protective structure for low-voltage and high-current production
CN218632971U (en) Assembled block terminal

Legal Events

Date Code Title Description
C06 Publication
PB01 Publication
SE01 Entry into force of request for substantive examination
SE01 Entry into force of request for substantive examination
CB02 Change of applicant information

Address after: 239000 No. 510 Fenghuang Road, Anhui, Chuzhou

Applicant after: STATE GRID ANHUI POWER CO., LTD. CHUZHOU POWER SUPPLY Co.

Applicant after: State Grid Corporation of China

Address before: 100031 No. 86 West Chang'an Avenue, Beijing, Xicheng District

Applicant before: State Grid Corporation of China

Applicant before: STATE GRID ANHUI POWER CO., LTD. CHUZHOU POWER SUPPLY Co.

Address after: 100031 No. 86 West Chang'an Avenue, Beijing, Xicheng District

Applicant after: State Grid Corporation of China

Applicant after: STATE GRID ANHUI POWER CO., LTD. CHUZHOU POWER SUPPLY Co.

Address before: 100031 No. 86 West Chang'an Avenue, Beijing, Xicheng District

Applicant before: State Grid Corporation of China

Applicant before: CHUZHOU POWER SUPPLY COMPANY OF STATE GRID ANHUI ELECTRIC POWER Corp.

CB02 Change of applicant information
GR01 Patent grant
GR01 Patent grant
CF01 Termination of patent right due to non-payment of annual fee

Granted publication date: 20220429

CF01 Termination of patent right due to non-payment of annual fee