CN104941725B - A double rotor hammer sand making machine with adjustment device - Google Patents
A double rotor hammer sand making machine with adjustment device Download PDFInfo
- Publication number
- CN104941725B CN104941725B CN201510278757.1A CN201510278757A CN104941725B CN 104941725 B CN104941725 B CN 104941725B CN 201510278757 A CN201510278757 A CN 201510278757A CN 104941725 B CN104941725 B CN 104941725B
- Authority
- CN
- China
- Prior art keywords
- crushing cavity
- frame
- chamber
- lining plate
- crushing
- Prior art date
- Legal status (The legal status is an assumption and is not a legal conclusion. Google has not performed a legal analysis and makes no representation as to the accuracy of the status listed.)
- Active
Links
Images
Classifications
-
- B—PERFORMING OPERATIONS; TRANSPORTING
- B02—CRUSHING, PULVERISING, OR DISINTEGRATING; PREPARATORY TREATMENT OF GRAIN FOR MILLING
- B02C—CRUSHING, PULVERISING, OR DISINTEGRATING IN GENERAL; MILLING GRAIN
- B02C13/00—Disintegrating by mills having rotary beater elements ; Hammer mills
- B02C13/02—Disintegrating by mills having rotary beater elements ; Hammer mills with horizontal rotor shaft
-
- B—PERFORMING OPERATIONS; TRANSPORTING
- B02—CRUSHING, PULVERISING, OR DISINTEGRATING; PREPARATORY TREATMENT OF GRAIN FOR MILLING
- B02C—CRUSHING, PULVERISING, OR DISINTEGRATING IN GENERAL; MILLING GRAIN
- B02C13/00—Disintegrating by mills having rotary beater elements ; Hammer mills
- B02C13/26—Details
-
- B—PERFORMING OPERATIONS; TRANSPORTING
- B02—CRUSHING, PULVERISING, OR DISINTEGRATING; PREPARATORY TREATMENT OF GRAIN FOR MILLING
- B02C—CRUSHING, PULVERISING, OR DISINTEGRATING IN GENERAL; MILLING GRAIN
- B02C13/00—Disintegrating by mills having rotary beater elements ; Hammer mills
- B02C13/26—Details
- B02C13/28—Shape or construction of beater elements
Landscapes
- Engineering & Computer Science (AREA)
- Food Science & Technology (AREA)
- Crushing And Pulverization Processes (AREA)
- Disintegrating Or Milling (AREA)
Abstract
本发明公开了一种带调整装置的双转子锤式制砂机,包括电机、机架、进料装置、破碎腔、破碎腔盖、液压缸、主衬板、第一辅衬板、第二辅衬板、调整丝杆、转子、除尘室和出料口,其中所述破碎腔包括左破碎腔和右破碎腔,其中所述出料口位于机架底部中间位置处,所述进料装置设置在机架顶部的中间位置处,所述除尘室设置在机架内部的中心位置,其中所述左破碎腔和右破碎腔设置在机架内部且关于进料装置和除尘室对称,所述转子设置于左破碎腔和右破碎腔内且通过电机驱动,该发明设计合理,使用安全方便,破碎出的产品粒形好,大多成接近立方体结构,针片状的颗粒含量极少,并且产品级配合理。
The invention discloses a double-rotor hammer-type sand making machine with an adjustment device, comprising a motor, a frame, a feeding device, a crushing cavity, a crushing cavity cover, a hydraulic cylinder, a main lining plate, a first auxiliary lining plate, a second Auxiliary lining plate, adjusting screw, rotor, dust chamber and discharge port, wherein the crushing cavity includes a left crushing cavity and a right crushing cavity, wherein the discharge port is located at the middle position of the bottom of the frame, and the feeding device It is arranged at the middle position of the top of the frame, the dust chamber is arranged at the center position inside the frame, wherein the left crushing chamber and the right crushing chamber are arranged inside the frame and are symmetrical with respect to the feeding device and the dust chamber, the The rotor is arranged in the left crushing cavity and the right crushing cavity and is driven by a motor. The invention has a reasonable design, is safe and convenient to use, and the crushed products have good grain shapes, most of which are close to cubic structures, and the content of needle-shaped particles is very small. The grading is reasonable.
Description
技术领域technical field
本发明属于一种石料、矿石等块状原料研磨破碎设备,特别涉及一种带调整装置的双转子锤式制砂机。The invention belongs to a grinding and crushing equipment for massive raw materials such as stones and ore, in particular to a double-rotor hammer-type sand making machine with an adjusting device.
背景技术Background technique
目前在碎石的整形与制砂领域,主要的制砂机种类有卧式细碎机,反击式破碎机,立轴式冲击制砂机等。卧式细碎机与反击式破碎机因其工作原理为打击与反击石料,产品的粒型差,多为“针片状”,实际使用效果非常差,无法应用于砂浆或混凝土。立轴式冲击制砂机采用了冲击和研磨的原理进行制砂,成品虽能够达到使用要求,但其结构复杂,成本高昂,使用户的前期投资成本大大增加,增加了用户的使用成本。At present, in the field of crushed stone shaping and sand making, the main types of sand making machines are horizontal fine crusher, impact crusher, vertical shaft impact sand making machine, etc. The horizontal fine crusher and the impact crusher work on the principle of striking and counterattacking the stone, and the grain shape of the products is poor, most of which are "needle-shaped", and the actual use effect is very poor, and cannot be applied to mortar or concrete. The vertical shaft impact sand making machine adopts the principle of impact and grinding to make sand. Although the finished product can meet the requirements of use, its structure is complex and the cost is high, which greatly increases the user's initial investment cost and increases the user's use cost.
发明内容SUMMARY OF THE INVENTION
本发明的技术任务是针对以上现有技术不足而提供了一种带调整装置的双转子锤式制砂机。The technical task of the present invention is to provide a double-rotor hammer-type sand making machine with an adjustment device in view of the above deficiencies in the prior art.
本发明解决其技术问题所采用的技术方案是:一种带调整装置的双转子锤式制砂机,包括电机、机架、进料装置、破碎腔、破碎腔盖、液压缸、主衬板、第一辅衬板、第二辅衬板、调整丝杆、转子、除尘室和出料口,其中所述破碎腔包括左破碎腔和右破碎腔,其中所述出料口位于机架底部中间位置处,所述进料装置设置在机架顶部的中间位置处,所述除尘室设置在机架内部的中心位置,其中所述左破碎腔和右破碎腔设置在机架内部且关于进料装置和除尘室对称,所述转子设置于左破碎腔和右破碎腔内且通过电机驱动。The technical scheme adopted by the present invention to solve the technical problem is: a double-rotor hammer sand making machine with an adjustment device, including a motor, a frame, a feeding device, a crushing cavity, a crushing cavity cover, a hydraulic cylinder, and a main lining plate , the first auxiliary lining plate, the second auxiliary lining plate, the adjusting screw, the rotor, the dust removal chamber and the discharge opening, wherein the crushing cavity includes a left crushing cavity and a right crushing cavity, wherein the discharge opening is located at the bottom of the frame At the middle position, the feeding device is arranged at the middle position of the top of the frame, the dust chamber is arranged at the central position inside the frame, wherein the left crushing chamber and the right crushing chamber are arranged inside the frame and are related to the feeder. The material device and the dust removal chamber are symmetrical, and the rotor is arranged in the left crushing chamber and the right crushing chamber and is driven by a motor.
进一步,所述主衬板一端通过销轴活动固定在破碎腔盖上、另一端通过调整丝杆固定在破碎腔盖底部。Further, one end of the main lining plate is movably fixed on the crushing cavity cover through a pin shaft, and the other end is fixed at the bottom of the crushing cavity cover through an adjusting screw rod.
进一步,所述第一辅衬板固定设置在破碎腔盖的内部的顶部,所述第二辅衬板固定设置在除尘室的两侧,且其中设置在除尘室两侧的第二辅衬板呈倒“八”字形。Further, the first auxiliary lining plate is fixedly arranged on the top of the interior of the crushing chamber cover, the second auxiliary lining plate is fixedly arranged on both sides of the dust chamber, and the second auxiliary lining plate is arranged on both sides of the dust chamber. Inverted "eight" shape.
进一步,所述破碎腔盖底部与机架铰接相连、顶部与设置在机架底部的液压缸活动相连。Further, the bottom of the crushing chamber cover is hingedly connected to the frame, and the top is movably connected to a hydraulic cylinder arranged at the bottom of the frame.
进一步,所述转子沿径向设置有至少两组锤头。Further, the rotor is provided with at least two groups of hammer heads along the radial direction.
进一步,所述除尘室底部设有斜向下的烟气通道。Further, the bottom of the dust chamber is provided with a flue gas channel which is inclined downward.
该发明有益效果是:石料经由中心进料口分流到左右破碎腔内,在高速旋转的锤头打击作用下,将石料进行初步破碎,然后撞击到反击装置使物料进行二次破碎并反弹,反弹石料之间高速摩擦得到整形,并且在反击装置后方设置有调整装置,可调整反击装置与锤头的间隙,起到弥补锤头磨损或调整产品级配的目的,同时在破碎腔下方形成有石料衬层,可形成石料之间的研磨破碎,这样经过多次撞击连续循环破碎与研磨,使石料得到充分的破碎,并且在研磨作用下,破碎出的产品粒形好,大多成接近立方体结构,针片状的颗粒含量极少,并且产品级配合理,可满足机制砂要求。The beneficial effects of the invention are as follows: the stone is divided into the left and right crushing chambers through the central feeding port, and under the action of the high-speed rotating hammer head, the stone is initially crushed, and then hits the counterattack device to make the material undergo secondary crushing and rebound. The high-speed friction between the stones is reshaped, and an adjustment device is arranged behind the counterattack device, which can adjust the gap between the counterattack device and the hammer head to compensate for the wear of the hammer head or adjust the product gradation. The lining layer can form the grinding and crushing between the stones. In this way, after many times of impact and continuous cycle crushing and grinding, the stones are fully crushed, and under the action of grinding, the crushed products have good particle shape, and most of them have a nearly cubic structure. The content of needle-like particles is very small, and the product gradation is reasonable, which can meet the requirements of machine-made sand.
因该设备整体的结构比较简单,设备的原材料与加工成本较立轴式冲击制砂机大大降低,有效节约了用户使用成本。Because the overall structure of the equipment is relatively simple, the raw material and processing costs of the equipment are greatly reduced compared with the vertical shaft impact sand making machine, which effectively saves the user's use cost.
除尘装置可以连接外部的除尘器,消除了制砂机在运行过程中产生的尘土飞扬的现象,达到绿色环保的要求。The dust removal device can be connected to an external dust collector, which eliminates the phenomenon of dust flying during the operation of the sand making machine and meets the requirements of green environmental protection.
液压开启装置可以在工作人员对设备进行检查与维修时打开,降低了工作人员的劳动强度,大大提高了效率。The hydraulic opening device can be opened when the staff inspects and maintains the equipment, which reduces the labor intensity of the staff and greatly improves the efficiency.
附图说明Description of drawings
图1为本发明正面透视结构示意图。FIG. 1 is a schematic diagram of the front perspective structure of the present invention.
图2为本发明正面结构示意图。FIG. 2 is a schematic view of the front structure of the present invention.
图3为本发明侧面结构示意图。FIG. 3 is a schematic view of the side structure of the present invention.
具体实施方式Detailed ways
参照说明书附图对本发明作以下详细说明:The present invention is described in detail below with reference to the accompanying drawings:
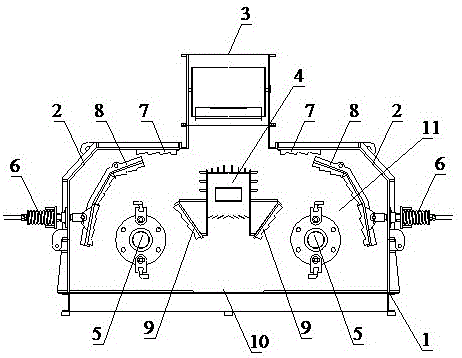
如图1、图2和图3所示,一种带调整装置的双转子锤式制砂机,包括电机13、机架1、进料装置3、破碎腔11、破碎腔盖2、液压缸12、主衬板8、第一辅衬板7、第二辅衬板9、调整丝杆6、转子5、除尘室4和出料口10,其中所述破碎腔11包括左破碎腔和右破碎腔,其中所述出料口10位于机架1底部中间位置处,所述进料装置3设置在机架1顶部的中间位置处,所述除尘室4设置在机架1内部的中心位置,其中所述左破碎腔和右破碎腔设置在机架1内部且关于进料装置3和除尘室4对称,所述转子5设置于左破碎腔和右破碎腔内且通过电机13驱动。As shown in Figure 1, Figure 2 and Figure 3, a double rotor hammer sand making machine with adjustment device includes a
进一步,所述主衬板8一端通过销轴活动固定在破碎腔盖2上、另一端通过调整丝杆6固定在破碎腔盖2底部。Further, one end of the
进一步,所述第一辅衬板7固定设置在破碎腔盖2的内部的顶部,所述第二辅衬板9固定设置在除尘室4的两侧,且其中设置在除尘室4两侧的第二辅衬板9呈倒“八”字形。Further, the first
进一步,所述破碎腔盖2底部与机架1铰接相连、顶部与设置在机架1底部的液压缸12活动相连。Further, the bottom of the
进一步,所述转子5沿径向设置有至少两组锤头。Further, the
进一步,所述除尘室底部设有斜向下的烟气通道。Further, the bottom of the dust chamber is provided with a flue gas channel which is inclined downward.
具体运行步骤如下:石料经进料装置3的分流作用下分别进入左破碎腔和右破碎腔,左破碎腔和右破碎腔内高速的转子5的作用下进行初步破碎,然后撞击到主衬板8、第一辅衬板7和第二辅衬板9上,使物料进行二次破碎,在破碎的过程中,左破碎腔和右破碎腔的下方会形成石料衬层,可造成石料之间的研磨破碎,这样经过多次撞击连续循环破碎与研磨,使石料得到充分的破碎,并且在石料互相研磨的作用下,破碎出的产品粒形好,大多成接近立方体结构,针片状的颗粒含量极少,并且产品级配合理,可满足机制砂要求。The specific operation steps are as follows: the stones enter the left crushing cavity and the right crushing cavity respectively under the diversion action of the
最后需要说明的是,以上实施例仅用以说明本发明的技术方案而非限制技术方案,尽管申请人参照较佳实施例对本发明进行了详细说明,本领域的普通技术人员应当理解,那些对本发明的技术方案进行修改或者等同替换,而不脱离本技术方案的宗旨和范围,均应涵盖在本发明的权利要求范围当中。Finally, it should be noted that the above embodiments are only used to illustrate the technical solutions of the present invention and not to limit the technical solutions. Although the applicant has described the present invention in detail with reference to the preferred embodiments, those of ordinary skill in the art should The technical solution of the invention is modified or equivalently replaced without departing from the spirit and scope of the technical solution, and should be included in the scope of the claims of the present invention.
Claims (3)
Priority Applications (1)
| Application Number | Priority Date | Filing Date | Title |
|---|---|---|---|
| CN201510278757.1A CN104941725B (en) | 2015-05-28 | 2015-05-28 | A double rotor hammer sand making machine with adjustment device |
Applications Claiming Priority (1)
| Application Number | Priority Date | Filing Date | Title |
|---|---|---|---|
| CN201510278757.1A CN104941725B (en) | 2015-05-28 | 2015-05-28 | A double rotor hammer sand making machine with adjustment device |
Publications (2)
| Publication Number | Publication Date |
|---|---|
| CN104941725A CN104941725A (en) | 2015-09-30 |
| CN104941725B true CN104941725B (en) | 2020-11-06 |
Family
ID=54157090
Family Applications (1)
| Application Number | Title | Priority Date | Filing Date |
|---|---|---|---|
| CN201510278757.1A Active CN104941725B (en) | 2015-05-28 | 2015-05-28 | A double rotor hammer sand making machine with adjustment device |
Country Status (1)
| Country | Link |
|---|---|
| CN (1) | CN104941725B (en) |
Families Citing this family (2)
| Publication number | Priority date | Publication date | Assignee | Title |
|---|---|---|---|---|
| CN109794324B (en) * | 2019-01-16 | 2024-08-16 | 潍坊正远粉体工程设备有限公司 | Powder crushing and shaping integrated machine and working head thereof |
| CN110090690B (en) * | 2019-05-31 | 2024-09-13 | 覃元庆 | High-efficient birotor system sand machine |
Family Cites Families (10)
| Publication number | Priority date | Publication date | Assignee | Title |
|---|---|---|---|---|
| GB992483A (en) * | 1964-04-29 | 1965-05-19 | Smidth & Co As F L | Improvements in impact crushers |
| CN2296767Y (en) * | 1997-08-29 | 1998-11-11 | 李朝建 | Superfine crusher |
| CN2451231Y (en) * | 2000-11-03 | 2001-10-03 | 山东肥城水泥股份有限公司西厂 | Comminutor |
| CN2564251Y (en) * | 2002-04-19 | 2003-08-06 | 殷登皋 | Opposite impact crusher |
| KR20060073873A (en) * | 2004-12-24 | 2006-06-29 | 주식회사 포스코 | Raw coal double sorting crusher |
| CN2759591Y (en) * | 2005-01-20 | 2006-02-22 | 李朝建 | Multi-channel ultrafine crushing machine |
| CN102319600B (en) * | 2011-08-16 | 2014-01-08 | 上海益道投资管理有限公司 | Multi-purpose double-rotor crushing machine |
| CN102941139A (en) * | 2012-12-08 | 2013-02-27 | 福建固尔特矿山机械有限公司 | Double-rotor collision-type crusher |
| CN203264790U (en) * | 2013-06-05 | 2013-11-06 | 上海申德机械有限公司 | Gate plate structure for dual-rotor crusher |
| CN204724235U (en) * | 2015-05-28 | 2015-10-28 | 山东联邦重工有限公司 | A kind of double-rotor hammer sand machine with adjusting device |
-
2015
- 2015-05-28 CN CN201510278757.1A patent/CN104941725B/en active Active
Also Published As
| Publication number | Publication date |
|---|---|
| CN104941725A (en) | 2015-09-30 |
Similar Documents
| Publication | Publication Date | Title |
|---|---|---|
| CN205868407U (en) | Ceramic manufacture is with hammer mill who has damping device | |
| CN205613480U (en) | Adjustable dustproof stone crusher of bar rotational speed | |
| CN207533374U (en) | It is a kind of that there is the ore crusher of multiple stage crushing | |
| CN101947478B (en) | Final screening mechanism movable single-stage hammer screening crusher | |
| CN204034789U (en) | Reversible without castor bar hammer mill | |
| CN104941720A (en) | Sawtooth crusher for ceramic production | |
| CN104941752A (en) | Efficient sawtooth pulverizer for ceramic production | |
| CN104941725B (en) | A double rotor hammer sand making machine with adjustment device | |
| CN104858005A (en) | Aggregated rock crusher with force increasing mechanism | |
| CN207655219U (en) | Novel numerical control impact sand making machine | |
| CN206613554U (en) | A kind of efficient reversible sand making machine | |
| CN103100464B (en) | Energy-saving and environment-friendly double-rotor crushing machine | |
| CN207025460U (en) | A kind of sand making machine | |
| CN101972682B (en) | Single-section hammer type screening crusher | |
| CN204469857U (en) | Efficient composite powder machine | |
| CN204724235U (en) | A kind of double-rotor hammer sand machine with adjusting device | |
| CN104014386B (en) | Two-way mill stripping formula spallar | |
| CN204523086U (en) | hammer mill | |
| CN209124030U (en) | A superfine powder pulverizer | |
| CN203990756U (en) | A kind of improved hammer-mill | |
| CN101947479B (en) | Structurally improved single-section hammer type screening crusher | |
| CN205462468U (en) | Stone crusher is used in mine | |
| CN205288957U (en) | Screening device for pulverizer | |
| CN204656612U (en) | Skin grinder | |
| CN204170773U (en) | Adjustable combination type sub-sieve disintegrating machine |
Legal Events
| Date | Code | Title | Description |
|---|---|---|---|
| C06 | Publication | ||
| PB01 | Publication | ||
| SE01 | Entry into force of request for substantive examination | ||
| SE01 | Entry into force of request for substantive examination | ||
| GR01 | Patent grant | ||
| GR01 | Patent grant | ||
| TR01 | Transfer of patent right |
Effective date of registration: 20250915 Address after: 276000 Shandong Province, Linyi City, Hedong District, Industrial Park, North Section of the Outer Ring Road Patentee after: SHANDONG CHENGMING CONSTRUCTION MACHINERY Co.,Ltd. Country or region after: China Address before: 276000 Shandong Province, Linyi City, Economic and Technological Development Zone, intersection of Federal Road and Xiamen Road, northeast corner (210 meters south-west of Weijia Guanzhuang Village) Patentee before: SHANDONG LIANBANG HEAVY INDUSTRY Co.,Ltd. Country or region before: China |
|
| TR01 | Transfer of patent right |
