CN103803762A - 一种有机复合土壤高效生态净水系统 - Google Patents
一种有机复合土壤高效生态净水系统 Download PDFInfo
- Publication number
- CN103803762A CN103803762A CN201410070924.9A CN201410070924A CN103803762A CN 103803762 A CN103803762 A CN 103803762A CN 201410070924 A CN201410070924 A CN 201410070924A CN 103803762 A CN103803762 A CN 103803762A
- Authority
- CN
- China
- Prior art keywords
- water
- soil
- infiltration layer
- layer
- stratum
- Prior art date
- Legal status (The legal status is an assumption and is not a legal conclusion. Google has not performed a legal analysis and makes no representation as to the accuracy of the status listed.)
- Granted
Links
- XLYOFNOQVPJJNP-UHFFFAOYSA-N water Substances O XLYOFNOQVPJJNP-UHFFFAOYSA-N 0.000 title claims abstract description 61
- 239000002689 soil Substances 0.000 title claims abstract description 50
- 239000002131 composite material Substances 0.000 title claims abstract description 12
- 238000000746 purification Methods 0.000 title claims abstract description 12
- 230000008595 infiltration Effects 0.000 claims abstract description 48
- 238000001764 infiltration Methods 0.000 claims abstract description 48
- 239000010865 sewage Substances 0.000 claims abstract description 25
- 239000004576 sand Substances 0.000 claims abstract description 24
- 230000008635 plant growth Effects 0.000 claims abstract description 6
- 241000196324 Embryophyta Species 0.000 claims description 24
- 238000000034 method Methods 0.000 claims description 22
- 244000005700 microbiome Species 0.000 claims description 13
- 230000000694 effects Effects 0.000 claims description 11
- 239000011159 matrix material Substances 0.000 claims description 9
- 238000004140 cleaning Methods 0.000 claims description 8
- 230000029058 respiratory gaseous exchange Effects 0.000 claims description 7
- 238000010521 absorption reaction Methods 0.000 claims description 6
- 230000006835 compression Effects 0.000 claims description 6
- 238000007906 compression Methods 0.000 claims description 6
- 239000005445 natural material Substances 0.000 claims description 6
- 230000005484 gravity Effects 0.000 claims description 5
- QVGXLLKOCUKJST-UHFFFAOYSA-N atomic oxygen Chemical compound [O] QVGXLLKOCUKJST-UHFFFAOYSA-N 0.000 claims description 4
- 238000001035 drying Methods 0.000 claims description 4
- 239000004744 fabric Substances 0.000 claims description 4
- 239000012528 membrane Substances 0.000 claims description 4
- 229910052760 oxygen Inorganic materials 0.000 claims description 4
- 239000001301 oxygen Substances 0.000 claims description 4
- 238000009736 wetting Methods 0.000 claims description 4
- 241000684239 Canna x generalis Species 0.000 claims description 3
- 241001672212 Cenchrus purpureus Species 0.000 claims description 3
- 235000007516 Chrysanthemum Nutrition 0.000 claims description 3
- 244000189548 Chrysanthemum x morifolium Species 0.000 claims description 3
- 241001423497 Himalayacalamus falconeri Species 0.000 claims description 3
- 239000007789 gas Substances 0.000 claims description 3
- 239000007788 liquid Substances 0.000 claims description 3
- 239000000463 material Substances 0.000 claims description 3
- 230000000241 respiratory effect Effects 0.000 claims description 3
- 239000000126 substance Substances 0.000 claims description 3
- 238000005275 alloying Methods 0.000 claims description 2
- 238000009287 sand filtration Methods 0.000 claims description 2
- 238000010276 construction Methods 0.000 abstract description 5
- 238000012423 maintenance Methods 0.000 abstract description 5
- 239000010802 sludge Substances 0.000 abstract description 3
- 238000003860 storage Methods 0.000 abstract 2
- 238000009826 distribution Methods 0.000 abstract 1
- 238000004519 manufacturing process Methods 0.000 abstract 1
- 238000011084 recovery Methods 0.000 abstract 1
- 238000005067 remediation Methods 0.000 abstract 1
- 239000002352 surface water Substances 0.000 abstract 1
- 238000005516 engineering process Methods 0.000 description 6
- CURLTUGMZLYLDI-UHFFFAOYSA-N Carbon dioxide Chemical compound O=C=O CURLTUGMZLYLDI-UHFFFAOYSA-N 0.000 description 4
- 230000003647 oxidation Effects 0.000 description 3
- 238000007254 oxidation reaction Methods 0.000 description 3
- 231100000572 poisoning Toxicity 0.000 description 3
- 230000000607 poisoning effect Effects 0.000 description 3
- IJGRMHOSHXDMSA-UHFFFAOYSA-N Atomic nitrogen Chemical compound N#N IJGRMHOSHXDMSA-UHFFFAOYSA-N 0.000 description 2
- 230000009286 beneficial effect Effects 0.000 description 2
- 229910002092 carbon dioxide Inorganic materials 0.000 description 2
- 239000001569 carbon dioxide Substances 0.000 description 2
- 238000007654 immersion Methods 0.000 description 2
- 238000007726 management method Methods 0.000 description 2
- 230000000050 nutritive effect Effects 0.000 description 2
- 239000007787 solid Substances 0.000 description 2
- 239000002351 wastewater Substances 0.000 description 2
- OAICVXFJPJFONN-UHFFFAOYSA-N Phosphorus Chemical compound [P] OAICVXFJPJFONN-UHFFFAOYSA-N 0.000 description 1
- 241001148470 aerobic bacillus Species 0.000 description 1
- XKMRRTOUMJRJIA-UHFFFAOYSA-N ammonia nh3 Chemical compound N.N XKMRRTOUMJRJIA-UHFFFAOYSA-N 0.000 description 1
- 238000002306 biochemical method Methods 0.000 description 1
- 238000005842 biochemical reaction Methods 0.000 description 1
- 230000015556 catabolic process Effects 0.000 description 1
- 238000011109 contamination Methods 0.000 description 1
- 238000000354 decomposition reaction Methods 0.000 description 1
- 230000007547 defect Effects 0.000 description 1
- 230000007812 deficiency Effects 0.000 description 1
- 238000006731 degradation reaction Methods 0.000 description 1
- 238000001914 filtration Methods 0.000 description 1
- 238000009336 multiple cropping Methods 0.000 description 1
- 229910052757 nitrogen Inorganic materials 0.000 description 1
- 235000015097 nutrients Nutrition 0.000 description 1
- 239000002957 persistent organic pollutant Substances 0.000 description 1
- 229910052698 phosphorus Inorganic materials 0.000 description 1
- 239000011574 phosphorus Substances 0.000 description 1
- 238000013138 pruning Methods 0.000 description 1
- 239000011150 reinforced concrete Substances 0.000 description 1
- 239000011435 rock Substances 0.000 description 1
- 230000002000 scavenging effect Effects 0.000 description 1
- 238000004065 wastewater treatment Methods 0.000 description 1
- 239000008207 working material Substances 0.000 description 1
Images
Landscapes
- Treatment Of Biological Wastes In General (AREA)
- Purification Treatments By Anaerobic Or Anaerobic And Aerobic Bacteria Or Animals (AREA)
Abstract
本发明公开了一种有机复合土壤高效生态净水系统,包括墙体和墙体内的滤床,所述的墙体上方设有表层布水管且墙体下方设有出水口,所述的滤床自上而下依次分为植物生长区、初级砂滤层、快渗层、蓄水层、慢渗层和出水层;本发明的净化过程采用干湿交替的方式,分成能循环进行的四个周期:进水快渗期、蓄水慢渗期、慢渗深度净化期和空置恢复期。本发明具有占地面积小、耐冲击负荷高、出水稳定、施工周期短、造价低、基建投资少、维护管理方便、运营成本低、二次污染低(污泥产生量极小)、生态景观效益良好,适合于农村和城郊地区的生活污水处理中进行大面积推广,亦适合于小型河流和湖泊等水体的有机污染修复和污染控制。
Description
技术领域
本发明属于低浓度有机污水的净化处理技术领域,尤其是一种适用于农村和城郊地区污水处理的有机复合土壤高效生态净水系统。
背景技术
目前农村和城郊地区水污染比较严峻,但由于规划滞后,其污水处理尚属起步阶段,存在许多困难和问题,原因在于:一是建设资金严重缺乏;二是人们重视程度不够;三是缺乏适合我国农村地区实际的污水处理技术。村镇污水处理工艺除了常规的传统活性污泥法,应用较多的技术有人工湿地(包括表流、垂直流和潜流)、快速渗滤处理系统、地下渗滤处理系统、净化槽技术、沼气池技术,其中人工湿地和氧化塘处理工艺应用较为普遍,氧化塘工艺适用于处理污染水平较低的污水,但存在耐冲击负荷性差、占地大、处理效率低的问题。人工湿地虽具有相对投资成本小、运行费用低、运行维护技术要求不高、能够结合景观进行建设等特点,但同样存在占地面积大、处理负荷低、耐冲击负荷差的缺陷,且维护和管理不太不便。
发明内容
针对现有技术的不足,本发明提供一种对农村污水和一般中低浓度有机污水处理技术适用性极强的新处理工艺,能够克服人工湿地、传统土壤处理工艺和氧化塘工艺占地面积大、经济效益低、维护困难、耐冲击负荷差、容易堵塞等问题。
本发明的技术方案为:一种有机复合土壤高效生态净水系统,包括墙体和墙体内的滤床,所述的墙体上方设有表层布水管且墙体下方设有出水口,其特征在于:所述的滤床自上而下依次分为植物生长区、初级砂滤层、快渗层、蓄水层、慢渗层和出水层。
所述的初级砂滤层高为4~6 cm,以细沙为主要材质;快渗层由原土和惰性有机天然材质构成,快渗层厚度为40~60cm;蓄水层以抗压透水管并配置粗砂为基质,蓄水层上设有伸出初级砂滤层表面的呼吸管,蓄水层厚度为15~30 cm;慢渗层由原土和惰性有机天然材质构成,层高为40~60cm;出水层以抗压透水管并配置粗砂和细沙为基质,并在基质的下方设置有防渗膜,出水层高15~25cm;滤床总高度为114~181cm,墙体高于初级砂滤层30~40 cm,滤池总高控制在144~221cm。
所述的植物可选择具有经济价值的陆生植物皇竹草、象草等非直接食用经济作物,或者具有良好观赏作用的菊花、美人蕉、富贵竹、鸢尾等观赏性植物。
本发明还提供了一种有机复合土壤高效净化系统的净化方法,其特征在于:采用干湿交替的方式,分成能循环进行的四个周期:进水快渗期、蓄水慢渗期、慢渗深度净化期和空置恢复期,具体过程为:
1、进水快渗期:原水通过重力或者泵提升流入处理区域,为避免因浸水对陆生植物呼吸中毒,进水高度一般控制在30cm以下,在重力作用下,污水自上往下在快渗层进行快速下渗,污水通过快渗层强大的吸附和截留能力把其中绝大部分的悬浮物和可溶性污染物进行吸附消解净化,同时在60分钟内完成表面干水,快渗层处理的水跌落至蓄水层;
2、蓄水慢渗期:由于蓄水层具有较大的空隙且渗透速率快,而慢渗层渗透速率较慢,蓄水层中的水慢渗层中进行垂直渗流,形成了主液位上方的负压,空气在负压条件下进入土壤,增加了土壤的氧含量,为土壤微生物的快速消解和植物根系的呼吸提供了良好条件;
3、慢渗深度净化期:水在慢渗层中缓慢地进行垂直渗流,从而在土壤和微生物的作用下充分去除水中的污染物并达到排放水平;
4、空置恢复期:水跌落至出水层后经出水口排出,排水完成后,土壤进入空置恢复期,土壤中所吸附的污染物通过微生物和植物根系的共同作用完成消解和吸收,这一过程土壤中空气环境和大气气压逐渐达到平衡。
一般来说,干湿交替的次数越多,系统的处理效果越好,处理效率越高。上述过程中,蓄水层的主要作用有:一是确保快渗层的下渗速度,以避免污水在土壤表层长时间停留而导致植物呼吸中毒,最大限度的保证陆生植物的良好的呼吸环境;二是起到缓冲调节作用,延长污水在土壤中的停留时间,以确保污水净化效果;三是增加土壤中含氧量,进一步丰富好氧细菌的种类和数量,进一步提高COD降解效率,同时也大大利于氨氮反硝化的进行。
本发明的工作原理为:污水投配到滤床后,沿土壤毛细管上升,通过土壤的物理阻留、土壤吸收吸附、微生物分解利用以及植物吸收等一系列作用,污水中的有机物被去除。其中土壤微生物的活性十分重要,在微生物的作用下,经生物化学反应被分解转化成无机物,这是去除有机污染物的关键过程。草本植物对营养元素的吸收也是污水净化的重要途径。污水中的氮、磷等作为植物生长所必需的养分,通过植物根系被吸收利用,当割草时被移出系统达到脱除的目的。经常的修剪植物可以使营养元素的去除量达到最大。同时植物的生长也极大地改变了污水处理过程的环境条件。由于植物根系深入土壤和增加土壤有机质,既提高了土壤的水力渗透速率,还有助于创造一个良好的植物根区的微环境,有利于微生物对污染的降解。
本发明的有益效果为:
1、占地面积小,耐冲击负荷高:高效的复氧效率带来了高处理效率,一平方米占地最大可处理两立方米的生活污水,且在进水COD浓度达到1500mg/L,仍能保持在80%的去除效率,这是人工湿地和一般好氧生化工艺所不能及的。
2、采用成熟的土工材料,无需像人工湿地工程那样进行大量石渣和砂砾清洗工作,也无大规模的钢筋混凝浇灌施工,施工周期短,造价低,基建投资少,且通过种植具有较高经济价值的作物,能够创造良好的经济效益。
3、对人员技术水平要求低,维护管理方便,运营成本低,除进水期的短时间外,地表为干态,卫生状况好,对于小型农村污水,即便地势较为低洼,也只需进行一次提升,动力消耗小,又因大量采用原土进行有机配置回填,占地的复种十分方便,保护了耕地。
4、二次污染低(污泥产生量极小)、生态景观效益良好,适合于农村和城郊地区的生活污水处理中进行大面积推广,亦适合于一般水体(如小型河流和湖泊)的有机污染修复和污染控制。
附图说明
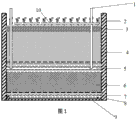
图1为本发明的结构示意图。
图中,1 -呼吸管,2--植物生长区,3--初级砂滤层, 4--快渗层,5-蓄水层,6-慢渗层,7-出水层,8-墙体,9-防渗膜,10-表层布水管。
具体实施方式
下面结合附图对本发明的具体实施方式作进一步说明:
如图1所示,本发明所提供的有机复合土壤高效生态净水系统,包括墙体8和墙体8内的滤床,防渗的墙体8上方设有表层布水管10且墙体8下方设有出水口,滤床自上而下依次分为植物生长区2、初级砂滤层3、快渗层4、蓄水层5、慢渗层6和出水层7。
其中初级砂滤层3高为5 cm,以细沙为主要材质;快渗层4由原土和惰性有机天然材质构成,快渗层4厚度为60cm;蓄水层5以抗压透水管并配置粗砂为基质,蓄水层5上设有伸出初级砂滤层3表面的呼吸管1,蓄水层5厚度为30 cm;慢渗层6由原土和惰性有机天然材质构成,层高为60cm;出水层7以抗压透水管并配置粗砂和细沙为基质,并在基质的下方设置有防渗膜9,出水层7高20 cm;滤床总高度为175cm,墙体8高于初级砂滤层35CM,滤池总高控制在210 cm;植物则可选择皇竹草、象草等牧草或菊花、美人蕉、富贵竹、鸢尾等植物花卉。
本发明的净化过程采用干湿交替的方式,分成能循环进行的四个周期:进水快渗期、蓄水慢渗期、慢渗深度净化期和空置恢复期,具体过程为:
1、进水快渗期:原水通过重力或者泵提升流入处理区域,为避免因浸水对陆生植物呼吸中毒,进水高度一般控制在30cm以下,在重力作用下,污水自上往下在快渗层进行快速下渗,污水通过快渗层强大的吸附和截留能力把其中绝大部分的悬浮物和可溶性污染物进行吸附消解净化,同时在60分钟内左右完成表面干水,快渗层处理的水跌落至蓄水层4;
2、蓄水慢渗期:由于蓄水层4具有较大的空隙且渗透速率快,而慢渗层6渗透速率相对较慢,蓄水层5中的水在慢渗层6中进行垂直渗流,这一过程形成主液位上方的负压,空气在负压条件下进入土壤,增加了土壤的氧含量,为土壤微生物的快速消解和植物根系的呼吸提供了良好条件;
3、慢渗深度净化期:水在慢渗层6中缓慢地进行垂直渗流,从而在土壤和微生物的作用下充分去除水中的污染物并达到排放水平;
4、空置恢复期:水跌落至出水层7后经出水口排出,排水完成后,土壤进入空置恢复期,土壤中所吸附的污染物通过微生物和植物根系的共同作用完成消解和吸收,这一过程土壤中空气环境和大气气压逐渐平衡,时间为三个小时左右。
在处理一般生活污水时,本发明的用地负荷约为在1 m3污水/1m2占地,滤层有效深度达到1m以上,日周期进水三到四次,反复测试表明,其进出水可以稳定在表1中的效果。
Claims (4)
1.一种有机复合土壤高效生态净水系统,包括墙体和墙体内的滤床,所述的墙体上方设有表层布水管且墙体下方设有出水口,其特征在于:所述的滤床自上而下依次分为植物生长区、初级砂滤层、快渗层、蓄水层、慢渗层和出水层。
2.根据权利要求1所述的有机复合土壤高效生态净水系统,其特征在于:所述的初级砂滤层高为4~6CM,以细沙为主要材质;快渗层由原土和惰性有机天然材质构成,快渗层厚度为40~60cm;蓄水层以抗压透水管并配置粗砂为基质,蓄水层上设有伸出初级砂滤层表面的呼吸管,蓄水层厚度为15~30 cm;慢渗层由原土和惰性有机天然材质构成,层高为40~60cm;出水层以抗压透水管并配置粗砂和细沙为基质,并在基质的下方设置有防渗膜,出水层高15~25CM;滤床总高度为114~181cm,墙体高于初级砂滤层30~40 cm,总高度控制在144~221cm。
3.根据权利要求1所述的有机复合土壤高效生态净水系统,其特征在于:所述的植物可选择具有经济价值的陆生植物皇竹草、象草等非直接食用经济作物,或者具有良好观赏作用的菊花、美人蕉、富贵竹、鸢尾等观赏性植物。
4.一种有机复合土壤高效净化系统的净化方法,其特征在于:采用干湿交替的方式,分成能循环进行的四个周期:进水快渗期、蓄水慢渗期、慢渗深度净化期和空置恢复期,具体过程为:
(1)进水快渗期:原水流入处理区域,进水高度一般控制在30cm以下,在重力作用下污水自上往下在快渗层进行快速下渗,污水通过快渗层强大的吸附和截留能力把其中绝大部分的悬浮物和可溶性污染物进行吸附消解净化,同时快渗层处理的水跌落至蓄水层;
(2)蓄水慢渗期:由于蓄水层具有较大的空隙且渗透速率快,而慢渗层渗透速率较慢,蓄水层中的水慢渗层中进行垂直渗流,形成了主液位上方的负压,空气在负压条件下进入土壤,增加了土壤的氧含量,为土壤微生物的快速消解和植物根系的呼吸提供了良好条件;
(3)慢渗深度净化期:水在慢渗层中缓慢地进行垂直渗流,从而在土壤和微生物的作用下充分去除水中的污染物并达到排放水平;
(4)空置恢复期:水跌落至出水层后经出水口排出,排水完成后,土壤进入空置恢复期,土壤中所吸附的污染物通过微生物和植物根系的共同作用完成消解和吸收,这一过程土壤中空气环境和大气气压逐渐达到平衡。
Priority Applications (1)
| Application Number | Priority Date | Filing Date | Title |
|---|---|---|---|
| CN201410070924.9A CN103803762B (zh) | 2014-02-28 | 2014-02-28 | 一种有机复合土壤高效生态净水系统 |
Applications Claiming Priority (1)
| Application Number | Priority Date | Filing Date | Title |
|---|---|---|---|
| CN201410070924.9A CN103803762B (zh) | 2014-02-28 | 2014-02-28 | 一种有机复合土壤高效生态净水系统 |
Publications (2)
| Publication Number | Publication Date |
|---|---|
| CN103803762A true CN103803762A (zh) | 2014-05-21 |
| CN103803762B CN103803762B (zh) | 2016-04-13 |
Family
ID=50701213
Family Applications (1)
| Application Number | Title | Priority Date | Filing Date |
|---|---|---|---|
| CN201410070924.9A Active CN103803762B (zh) | 2014-02-28 | 2014-02-28 | 一种有机复合土壤高效生态净水系统 |
Country Status (1)
| Country | Link |
|---|---|
| CN (1) | CN103803762B (zh) |
Cited By (10)
| Publication number | Priority date | Publication date | Assignee | Title |
|---|---|---|---|---|
| CN103981834A (zh) * | 2014-05-28 | 2014-08-13 | 常州大学 | 小流量河水净化和污染拦截系统 |
| CN104671424A (zh) * | 2015-03-16 | 2015-06-03 | 沈阳环境科学研究院 | 一种潜流人工湿地植物的选育驯化方法 |
| CN106034818A (zh) * | 2016-07-22 | 2016-10-26 | 辽宁工程技术大学 | 一种基于海绵城市理念的下凹式绿地铺装结构 |
| CN107047266A (zh) * | 2017-01-24 | 2017-08-18 | 河海大学 | 一种用于农灌区沟渠污染物削减的经济作物带 |
| CN109133494A (zh) * | 2018-07-06 | 2019-01-04 | 广州格淋环境保护技术有限公司 | 一种复合生态净水系统及其净水方法 |
| CN110498509A (zh) * | 2019-08-22 | 2019-11-26 | 广西师范大学 | 一种高氨氮污水处理装置及利用其进行污水处理的方法 |
| CN111574000A (zh) * | 2020-06-17 | 2020-08-25 | 广西金妙松环保工程有限公司 | 一种水力生态净化系统 |
| CN112759201A (zh) * | 2021-01-15 | 2021-05-07 | 西安建筑科技大学 | 一种自维护污水处理一体化设备及其污水处理方法 |
| CN113149209A (zh) * | 2021-04-15 | 2021-07-23 | 西北工业大学 | 一种串联立式好氧厌氧组合的地下土壤渗滤系统 |
| CN114656113A (zh) * | 2022-04-19 | 2022-06-24 | 海南南洋新鑫环保科技有限公司 | 一种新型的海水养殖尾水处理及循环利用工艺 |
Citations (2)
| Publication number | Priority date | Publication date | Assignee | Title |
|---|---|---|---|---|
| CN201686550U (zh) * | 2010-04-14 | 2010-12-29 | 重庆大学 | 一种人工土床快渗污水处理装置 |
| CN203904141U (zh) * | 2014-02-28 | 2014-10-29 | 广州格淋环境保护技术有限公司 | 一种有机复合土壤高效生态净水系统 |
-
2014
- 2014-02-28 CN CN201410070924.9A patent/CN103803762B/zh active Active
Patent Citations (2)
| Publication number | Priority date | Publication date | Assignee | Title |
|---|---|---|---|---|
| CN201686550U (zh) * | 2010-04-14 | 2010-12-29 | 重庆大学 | 一种人工土床快渗污水处理装置 |
| CN203904141U (zh) * | 2014-02-28 | 2014-10-29 | 广州格淋环境保护技术有限公司 | 一种有机复合土壤高效生态净水系统 |
Non-Patent Citations (1)
| Title |
|---|
| 李文华主编: "《生态农业-中国可持续农业的理论与实践》", 30 September 2003 * |
Cited By (13)
| Publication number | Priority date | Publication date | Assignee | Title |
|---|---|---|---|---|
| CN103981834A (zh) * | 2014-05-28 | 2014-08-13 | 常州大学 | 小流量河水净化和污染拦截系统 |
| CN103981834B (zh) * | 2014-05-28 | 2016-01-20 | 常州大学 | 小流量河水净化和污染拦截装置 |
| CN104671424A (zh) * | 2015-03-16 | 2015-06-03 | 沈阳环境科学研究院 | 一种潜流人工湿地植物的选育驯化方法 |
| CN104671424B (zh) * | 2015-03-16 | 2016-06-22 | 沈阳环境科学研究院 | 一种潜流人工湿地植物的选育驯化方法 |
| CN106034818A (zh) * | 2016-07-22 | 2016-10-26 | 辽宁工程技术大学 | 一种基于海绵城市理念的下凹式绿地铺装结构 |
| CN107047266A (zh) * | 2017-01-24 | 2017-08-18 | 河海大学 | 一种用于农灌区沟渠污染物削减的经济作物带 |
| CN109133494A (zh) * | 2018-07-06 | 2019-01-04 | 广州格淋环境保护技术有限公司 | 一种复合生态净水系统及其净水方法 |
| CN110498509A (zh) * | 2019-08-22 | 2019-11-26 | 广西师范大学 | 一种高氨氮污水处理装置及利用其进行污水处理的方法 |
| CN110498509B (zh) * | 2019-08-22 | 2023-09-22 | 广西师范大学 | 一种高氨氮污水处理装置及利用其进行污水处理的方法 |
| CN111574000A (zh) * | 2020-06-17 | 2020-08-25 | 广西金妙松环保工程有限公司 | 一种水力生态净化系统 |
| CN112759201A (zh) * | 2021-01-15 | 2021-05-07 | 西安建筑科技大学 | 一种自维护污水处理一体化设备及其污水处理方法 |
| CN113149209A (zh) * | 2021-04-15 | 2021-07-23 | 西北工业大学 | 一种串联立式好氧厌氧组合的地下土壤渗滤系统 |
| CN114656113A (zh) * | 2022-04-19 | 2022-06-24 | 海南南洋新鑫环保科技有限公司 | 一种新型的海水养殖尾水处理及循环利用工艺 |
Also Published As
| Publication number | Publication date |
|---|---|
| CN103803762B (zh) | 2016-04-13 |
Similar Documents
| Publication | Publication Date | Title |
|---|---|---|
| CN103803762B (zh) | 一种有机复合土壤高效生态净水系统 | |
| CN103880257B (zh) | 一种农村分散式污水的生态组合处理方法及装置 | |
| CN203451288U (zh) | 一种处理村落面源污水的复合生态沟渠 | |
| CN103819004B (zh) | 一种可移动组合的潜流式人工湿地处理方法 | |
| CN104098231A (zh) | 一种固定化微生物人工湿地系统 | |
| CN105461075B (zh) | 一种城市径流面源污染深度处理及回用工艺 | |
| CN101269900A (zh) | 一种水净化回用生态系统 | |
| CN103896458B (zh) | 一种适用于静水湖泊的雨淋式高效生态浮床 | |
| CN204097200U (zh) | 一种可移动组合的潜流式人工湿地装置 | |
| CN106006981A (zh) | 一种景观公园生态建设的水质处理方法 | |
| CN204474503U (zh) | 一种农村污水滴滤生态渠处理系统 | |
| CN110183037A (zh) | 一种农田灌溉排水净化处理循环系统 | |
| CN106938880A (zh) | 一种组合式农村生活污水处理系统 | |
| CN211339184U (zh) | 基于钢渣陶粒填料生物滤池的生活污水一体化处理设备 | |
| CN202148222U (zh) | 高负荷往复式潜流人工湿地脱氮除磷的处理装置 | |
| CN205368052U (zh) | 一种乡村聚居区污废水低能耗生态湿地处理系统 | |
| CN101759298B (zh) | 人工快速土地渗滤处理系统及应用其净化河水的方法 | |
| CN203904141U (zh) | 一种有机复合土壤高效生态净水系统 | |
| CN106587348A (zh) | 一种人工湿地水体净化系统的施工方法 | |
| CN105036450A (zh) | 一种三级环流式人工湿地处理农村生活污水的方法及装置 | |
| CN204661500U (zh) | 一种三级环流式人工湿地处理农村生活污水的装置 | |
| CN201240947Y (zh) | 畜禽污水末端多级人工地质快渗处理系统 | |
| CN204022566U (zh) | 一种强化复合型人工湿地污水处理系统 | |
| CN218478654U (zh) | 一种微污染河流人工湿地治理系统 | |
| CN104743735A (zh) | 一种单个农户杂排水的生态处理系统及方法 |
Legal Events
| Date | Code | Title | Description |
|---|---|---|---|
| C06 | Publication | ||
| PB01 | Publication | ||
| C10 | Entry into substantive examination | ||
| SE01 | Entry into force of request for substantive examination | ||
| C14 | Grant of patent or utility model | ||
| GR01 | Patent grant | ||
| C56 | Change in the name or address of the patentee | ||
| CP02 | Change in the address of a patent holder |
Address after: 510000, Guangdong science and Technology Development Zone, Guangzhou hi tech Development Zone, 33 science Avenue, four, 401, 416, 418 rooms Patentee after: GUANGZHOU GELIN ENVIRONMENTAL PROTECTION TECHNOLOGY CO., LTD. Address before: 510000, Qin Tian mansion, 238 West Zhongshan Road, Guangzhou, Guangdong, Tianhe District, 1502 Patentee before: GUANGZHOU GELIN ENVIRONMENTAL PROTECTION TECHNOLOGY CO., LTD. |