CN103754699A - A permanent magnet pay-off device - Google Patents

A permanent magnet pay-off device Download PDF

Info

Publication number
CN103754699A
CN103754699A CN201410011678.XA CN201410011678A CN103754699A CN 103754699 A CN103754699 A CN 103754699A CN 201410011678 A CN201410011678 A CN 201410011678A CN 103754699 A CN103754699 A CN 103754699A
Authority
CN
China
Prior art keywords
pay
tension
fixed
permanent magnet
paying
Prior art date
Legal status (The legal status is an assumption and is not a legal conclusion. Google has not performed a legal analysis and makes no representation as to the accuracy of the status listed.)
Pending
Application number
CN201410011678.XA
Other languages
Chinese (zh)
Inventor
徐明煃
Current Assignee (The listed assignees may be inaccurate. Google has not performed a legal analysis and makes no representation or warranty as to the accuracy of the list.)
Dongguan New Enshiang Machinery Enterprise Co ltd
Original Assignee
Dongguan New Enshiang Machinery Enterprise Co ltd
Priority date (The priority date is an assumption and is not a legal conclusion. Google has not performed a legal analysis and makes no representation as to the accuracy of the date listed.)
Filing date
Publication date
Application filed by Dongguan New Enshiang Machinery Enterprise Co ltd filed Critical Dongguan New Enshiang Machinery Enterprise Co ltd
Priority to CN201410011678.XA priority Critical patent/CN103754699A/en
Publication of CN103754699A publication Critical patent/CN103754699A/en
Pending legal-status Critical Current

Links

Images

Landscapes

  • Transmission Devices (AREA)

Abstract

The invention belongs to the technical field of pay-off equipment, and particularly relates to a permanent magnet pay-off device which comprises a rack, a plurality of pay-off shafts, a first guide wheel and a plurality of magnetic swing arm assemblies, wherein the first guide wheel is arranged on the rack, the pay-off shafts are fixed on the rack, the magnetic swing arm assemblies are placed on the pay-off shafts, and the magnetic swing arm assemblies and the pay-off shafts are in one-to-one correspondence. Compared with the prior art, the magnetic swing arm assembly is arranged above the paying-off shafts, so that the paying-off tension of each paying-off shaft can be effectively adjusted, the tension stability of each paying-off shaft during paying-off operation is ensured, the central line is always in a tightened state in the paying-off process, the phenomenon of disordered paying-off is avoided, the paying-off operation of each paying-off shaft is smoothly carried out, the production efficiency is improved, the tension adjustment is convenient, the operation is very convenient, and the magnetic swing arm assembly can be conveniently applied to various paying-off occasions.

Description

A kind of magneto actinobacillus device
Technical field
The invention belongs to pay-off equipment technical field, relate in particular to a kind of magneto actinobacillus device.
Background technology
At electric wire, prepare in enterprise, generally line continuously need to be put into wire twisting equipment, to carry out twisted wire operation.In prior art, there are many passive pay off racks, need machine to drive the equipment of ability unwrapping wire.But passive pay off rack of the prior art does not generally have actv. governing mechanism of tension, cause the tension force in unwrapping wire process unstable, sometimes even there is the phenomenon of unwrapping wire confusion, upset normal unwrapping wire order, reduced production efficiency.
In view of this, necessaryly provide a kind of magneto actinobacillus device, it includes the mechanism that can effectively regulate laying tension, make the unwrapping wire process center line state in tightening all the time, be unlikely to occur the phenomenon of unwrapping wire confusion, improved production efficiency, and its tension adjustment is convenient, can be applied to various unwrapping wire occasion.
Summary of the invention
The object of the invention is to: for the deficiencies in the prior art, and provide a kind of magneto actinobacillus device, it includes the mechanism that can effectively regulate laying tension, make the unwrapping wire process center line state in tightening all the time, be unlikely to occur the phenomenon of unwrapping wire confusion, improved production efficiency, and its tension adjustment is convenient, can be applied to various unwrapping wire occasion.
In order to realize foregoing invention object, the invention provides following technical scheme:
A kind of magneto actinobacillus device, comprise frame, several paying out reels, the first guide wheel and several magnetic force swing arm units, described the first guide wheel is arranged in described frame, described paying out reel is fixed in described frame, described magnetic force swing arm unit is positioned on described paying out reel, and described magnetic force swing arm unit and described paying out reel are corresponding one by one.
As a kind of improvement of magneto actinobacillus device of the present invention, described magnetic force swing arm unit comprises base, base plate, magnet, rotation iron, tension adjustment dish, fixed cover, swivel nut, mandrel, jam nut, jam nut handle and fork;
Described magnet is fixed on described base plate, and described base plate is fixed on described base, and described base is arranged in described paying out reel;
Described rotation iron is arranged at the top of described magnet, described tension adjustment dish is fixedly connected with described fixed cover with described rotation iron respectively, and described fixed cover is arranged at the top of described tension adjustment dish and the below of described jam nut, described tension adjustment dish is arranged at the top of described rotation iron, described jam nut is fixed on described swivel nut, and the periphery of described jam nut is provided with jam nut handle;
Described mandrel passes from described jam nut, described fixed cover, described tension adjustment dish, described rotation iron, described magnet, described base plate and described base central area separately respectively, described swivel nut is located in described mandrel, and the bottom of described swivel nut is arranged at described magnet top;
Described fork is fixed on described mandrel, and the top of described mandrel is provided with the second guide wheel.
As a kind of improvement of magneto actinobacillus device of the present invention, one end of described fork is provided with Balance Iron, and the other end is provided with the 3rd guide wheel and/or porcelain eye.
As a kind of improvement of magneto actinobacillus device of the present invention, described actinobacillus device is also provided with tension gun, and described tension gun inside is provided with adjusting extension spring, and the end of described adjusting extension spring is provided with wabbler screw.
As a kind of improvement of magneto actinobacillus device of the present invention, the top of described frame is provided with fixed link parallel to the ground, and the end of described fixed link is provided with porcelain eye and described the first guide wheel, and described porcelain eye be arranged at described mandrel directly over.
As a kind of improvement of magneto actinobacillus device of the present invention, one end of described frame is provided with cylinder.
As a kind of improvement of magneto actinobacillus device of the present invention, described cylinder is set to two.
As a kind of improvement of magneto actinobacillus device of the present invention, described base plate is bolted on described base, and described magnet is bolted on described base plate, and described tension adjustment valve snail is connected on described rotation iron, and described fixed cover is bolted on described tension adjustment dish.
With respect to prior art, with respect to prior art, the present invention arranges magnetic force swing arm unit above paying out reel, can effectively regulate the laying tension of each paying out reel, tension stability while guaranteeing each paying out reel unwrapping wire operation, make the unwrapping wire process center line state in tightening all the time, be unlikely to occur the phenomenon of unwrapping wire confusion, thereby the unwrapping wire operation of each paying out reel is carried out smoothly, improved production efficiency, and its tension adjustment is convenient, easy to operate, makes it can be conveniently used in various unwrapping wire occasion.
Accompanying drawing explanation
Fig. 1 is block diagram of the present invention.
Fig. 2 is the front elevation while adopting the present invention to carry out unwrapping wire.
Fig. 3 is at birds-eye view of the present invention.
Fig. 4 is the enlarged drawing of A part in Fig. 2.
Fig. 5 is the cutaway view of Fig. 4.
Fig. 6 is the enlarged drawing of B part in Fig. 5.。
Wherein, 1-frame, 2-paying out reel, 3-the first guide wheel, 4-magnetic force swing arm unit, 41-base, 42-base plate, 43-magnet, 44-rotate iron, 45-tension adjustment dish, 46-fixed cover, 47-swivel nut, 48-mandrel, 49-jam nut, 50-jam nut handle, 51-fork, 5-the second guide wheel, 6-Balance Iron, 7-the 3rd guide wheel, 8-tension gun, 9-wabbler screw, 10-four guide idler, 11-fixed link, 12-porcelain eye, 13-the first cylinder, 14-second tin roller, 15-line.
The specific embodiment
Below in conjunction with embodiment and Figure of description, the present invention is described in further detail, but embodiments of the present invention are not limited only to this.
As shown in Figures 1 to 6, the invention provides a kind of magneto actinobacillus device, comprise frame 1, several paying out reels 2, the first guide wheel 3 and several magnetic force swing arm units 4, the first guide wheel 3 is arranged in frame 1, paying out reel 2 is fixed in frame 1, magnetic force swing arm unit 4 is positioned on paying out reel 2, and magnetic force swing arm unit 4 and paying out reel 2 are corresponding one by one.
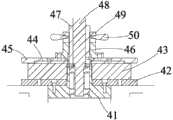
As illustrated in Figures 5 and 6, magnetic force swing arm unit 4 comprises base 41, base plate 42, magnet 43, rotates iron 44, tension adjustment dish 45, fixed cover 46, swivel nut 47, mandrel 48, jam nut 49, jam nut handle 50 and fork 51.
Magnet 43 is fixed on base plate 42, and base plate 42 is fixed on base 41, and base 41 is arranged in paying out reel 2.
Rotation iron 44 is arranged at the top of magnet 43, tension adjustment dish 45 is fixedly connected with fixed cover 46 with rotation iron 44 respectively, and fixed cover 46 is arranged at the top of tension adjustment dish 45 and the below of jam nut 49, tension adjustment dish 45 is arranged at the top of rotating iron 44, jam nut 49 is fixed on swivel nut 47, and the periphery of jam nut 49 is provided with jam nut handle 50.
Mandrel 48 passes from jam nut 49, fixed cover 46, tension adjustment dish 45, rotation iron 44, magnet 43, base plate 42 and base 41 central area separately respectively, and swivel nut 47 is located in mandrel 48, and the bottom of swivel nut 47 is arranged at magnet 43 tops.
Fork 51 is fixed on mandrel 48, and the top of mandrel 48 is provided with the second guide wheel 5.
Base plate 42 is bolted on base 41, and magnet 43 is bolted on base plate 42, and tension adjustment dish 45 is bolted in and rotates on iron 44, and fixed cover 46 is bolted on tension adjustment dish 45.
In the time of need to adjusting tension force, first use jam nut handle 50 left-hand revolution jam nuts 49, jam nut 49 is unclamped; Then, according to big or small left-hand revolution or the clickwise of needed tension force, make to rotate the motion up or down together with swivel nut 47 of iron 44, tension adjustment dish 45, fixed cover 46, the distance that makes to rotate between iron and magnet 43 increases or reduces; Adjust after tension force clickwise jam nut handle 50, thereby locking jam nut 49.Its tension adjustment principle is: by rotational lock nut handle 50, can adjust the distance of rotating between iron 44 and magnet 43, distance is less, and magnetic force is larger; Distance is larger, and magnetic force is less, and this magnetic force is transferred on mandrel 48 by swivel nut 47, and mandrel 48 is rotated, and forms a resistance, and when machine bracing wire 15, this resistance can stop the swing carelessly of fork 51, makes line 15 state in tightening all the time.
One end of fork 51 is provided with Balance Iron 6, and it can be also porcelain eye that the other end is provided with the 3rd guide wheel 7().The effect of Balance Iron 6 is balance wheel bar 51, avoids fork 51 to tilt.
Actinobacillus device is also provided with tension gun 8, and tension gun 8 inside are provided with adjusting extension spring, regulates the end of extension spring to be provided with wabbler screw 9, and tension gun 8 includes four guide idler 10.Tension gun 8 is mechanisms of an auxiliary adjustment tension force.Adjust wabbler screw 8 and can adjust the length that regulates extension spring, and then adjust the tension force of tension gun 8.
The top of frame 1 is provided with fixed link parallel to the ground 11, and the end of fixed link 11 is provided with porcelain eye 12 and the first guide wheel 3, and porcelain eye 12 be arranged at mandrel 48 directly over, the setting of porcelain eye 12 can well be fixed line 15.
One end of frame 1 is provided with cylinder, and cylinder is set to two, is respectively the first cylinder 13 and second tin roller 14, and the height of cylinder can arrange according to the height of the machines such as wire twisting machine.
In the present invention, paying out reel 2 is fixed, as shown in Figure 2, during unwrapping wire, first paying out reel 2 is put according to coil holder position, then magnetic force swing arm unit 4 is placed on paying out reel 2, line 15 is guided to the second guide wheel 5 that is positioned at mandrel 48 tops from paying out reel 2 through the 3rd guide wheel 7, again through porcelain eye 12, guide on the first guide wheel 3, through the first cylinder 13 and second tin roller 14, arrive on the machines such as wire twisting machine again, under the drive of machine, fork 51 pitch of the laps rotate, but under the effect of magnetic force swing arm unit 4, fork 51 can arbitrarily not rotate, but do regularly uniform circular motion, make line 15 constantly in tight state.
The announcement of book and enlightenment according to the above description, those skilled in the art in the invention can also change and revise above-mentioned embodiment.Therefore, the present invention is not limited to the specific embodiment disclosed and described above, to modifications and changes more of the present invention, also should be included in the protection domain of claim of the present invention.In addition,, although used some specific terms in this specification sheets, these terms just for convenience of description, do not form any restriction to the present invention.

Claims (8)

1.一种永磁式放线装置,其特征在于:包括机架、若干个放线轴、第一导轮和若干个磁力摆臂组件,所述第一导轮设置于所述机架上,所述放线轴固定在所述机架上,所述磁力摆臂组件放置于所述放线轴上,并且所述磁力摆臂组件和所述放线轴一一对应。 1. A permanent magnet pay-off device, characterized in that: it comprises a frame, several pay-off shafts, a first guide wheel and several magnetic swing arm assemblies, and the first guide wheel is arranged on the frame , the pay-off shaft is fixed on the frame, the magnetic swing arm assembly is placed on the pay-off shaft, and the magnetic swing arm assembly corresponds to the pay-off shaft one by one. 2.根据权利要求1所述的永磁式放线装置,其特征在于:所述磁力摆臂组件包括底座、底板、磁铁、转动铁、张力调整盘、固定套、螺套、芯轴、锁紧螺母、锁紧螺母手柄和摆杆; 2. The permanent magnet pay-off device according to claim 1, characterized in that: the magnetic swing arm assembly includes a base, a bottom plate, a magnet, a rotating iron, a tension adjustment disc, a fixed sleeve, a screw sleeve, a mandrel, a lock Lock nuts, lock nut handles and swing levers; 所述磁铁固定在所述底板上,所述底板固定在所述底座上,所述底座设置于所述放线轴内; The magnet is fixed on the base plate, the base plate is fixed on the base, and the base is arranged in the pay-off shaft; 所述转动铁设置于所述磁铁的上方,所述张力调整盘分别与所述转动铁和所述固定套固定连接,并且所述固定套设置于所述张力调整盘的上方和所述锁紧螺母的下方,所述张力调整盘设置于所述转动铁的上方,所述锁紧螺母固定在所述螺套上,所述锁紧螺母的外围设置有锁紧螺母手柄; The rotating iron is arranged above the magnet, the tension adjusting disk is fixedly connected with the rotating iron and the fixed sleeve respectively, and the fixing sleeve is arranged above the tension adjusting disk and the locking Below the nut, the tension adjustment disc is arranged above the rotating iron, the lock nut is fixed on the screw sleeve, and a lock nut handle is arranged on the periphery of the lock nut; 所述芯轴分别从所述锁紧螺母、所述固定套、所述张力调整盘、所述转动铁、所述磁铁、所述底板和所述底座各自的中央区穿过,所述螺套围设于所述芯轴,并且所述螺套的底部设置于所述磁铁上方; The mandrel respectively passes through the respective central areas of the lock nut, the fixed sleeve, the tension adjustment disc, the rotating iron, the magnet, the bottom plate and the base, and the screw sleeve surrounding the mandrel, and the bottom of the screw sleeve is disposed above the magnet; 所述摆杆固定于所述芯轴上,所述芯轴的顶部设置有第二导轮。 The swing rod is fixed on the mandrel, and the top of the mandrel is provided with a second guide wheel. 3.根据权利要求2所述的永磁式放线装置,其特征在于:所述摆杆的一端设置有平衡铁,另一端设置有第三导轮和/或瓷眼。 3. The permanent magnet pay-off device according to claim 2, characterized in that: one end of the swing rod is provided with a balance iron, and the other end is provided with a third guide wheel and/or a porcelain eye. 4.根据权利要求1所述的永磁式放线装置,其特征在于:所述放线装置还设置有张力枪,所述张力枪内部设置有调节拉簧,所述调节拉簧的末端设置有梅花头螺丝。 4. The permanent magnet type pay-off device according to claim 1, characterized in that: the pay-off device is also provided with a tension gun, the inside of the tension gun is provided with an adjustable tension spring, and the end of the adjustable tension spring is arranged There are Torx head screws. 5.根据权利要求2所述的永磁式放线装置,其特征在于:所述机架的顶端设置有与地面平行的固定杆,所述固定杆的端部设置有瓷眼和所述第一导轮,并且所述瓷眼设置于所述芯轴的正上方。 5. The permanent magnet pay-off device according to claim 2, characterized in that: the top of the frame is provided with a fixed rod parallel to the ground, and the end of the fixed rod is provided with a porcelain eye and the first A guide wheel, and the porcelain eye is arranged directly above the mandrel. 6.根据权利要求1所述的永磁式放线装置,其特征在于:所述机架的一端设置有滚筒。 6. The permanent magnet wire pay-off device according to claim 1, wherein a roller is arranged at one end of the frame. 7.根据权利要求6所述的永磁式放线装置,其特征在于:所述滚筒设置为两个。 7. The permanent magnet wire pay-off device according to claim 6, characterized in that: there are two rollers. 8.根据权利要求2所述的永磁式放线装置,其特征在于:所述底板螺接于所述底座上,所述磁铁螺接于所述底板上,所述张力调整盘螺接于所述转动铁上,所述固定套螺接于所述张力调整盘上。 8. The permanent magnet pay-off device according to claim 2, characterized in that: the bottom plate is screwed on the base, the magnet is screwed on the bottom plate, and the tension adjustment disc is screwed on On the rotating iron, the fixing sleeve is screwed on the tension adjusting disc.
CN201410011678.XA 2014-01-10 2014-01-10 A permanent magnet pay-off device Pending CN103754699A (en)

Priority Applications (1)

Application Number Priority Date Filing Date Title
CN201410011678.XA CN103754699A (en) 2014-01-10 2014-01-10 A permanent magnet pay-off device

Applications Claiming Priority (1)

Application Number Priority Date Filing Date Title
CN201410011678.XA CN103754699A (en) 2014-01-10 2014-01-10 A permanent magnet pay-off device

Publications (1)

Publication Number Publication Date
CN103754699A true CN103754699A (en) 2014-04-30

Family

ID=50522069

Family Applications (1)

Application Number Title Priority Date Filing Date
CN201410011678.XA Pending CN103754699A (en) 2014-01-10 2014-01-10 A permanent magnet pay-off device

Country Status (1)

Country Link
CN (1) CN103754699A (en)

Cited By (4)

* Cited by examiner, † Cited by third party
Publication number Priority date Publication date Assignee Title
CN104882227A (en) * 2015-04-20 2015-09-02 四川星达铜业有限公司 Rapid threading method of copper stranded wire
CN105118571A (en) * 2015-08-28 2015-12-02 芜湖顺成电子有限公司 Thick copper wire pay-off device with feeding and discharging functions
CN111056367A (en) * 2019-12-31 2020-04-24 太仓巨仁光伏材料有限公司 Automatic pay-off device
CN111850746A (en) * 2020-06-18 2020-10-30 江苏兴达钢帘线股份有限公司 Permanent magnet constant tension device for pay-off seat of DTS stranding machine

Citations (12)

* Cited by examiner, † Cited by third party
Publication number Priority date Publication date Assignee Title
US3424395A (en) * 1965-02-11 1969-01-28 Kalle Ag Method and apparatus for winding up tapes or filaments
DE3025765C1 (en) * 1980-07-08 1981-10-01 Karl Mayer Textil-Maschinen-Fabrik Gmbh, 6053 Obertshausen Damping device for a thread brake
JPH0262378A (en) * 1988-08-25 1990-03-02 Kooshin Rashin Kk Tension furnisher
CN2517712Y (en) * 2001-12-30 2002-10-23 袁嵘 Permanent magnet tension controller
CN2702979Y (en) * 2004-04-08 2005-06-01 武汉瑞通光电有限责任公司 Yarn-paying-out type constant tension aramid fibre paying-out apparatus
CN200978164Y (en) * 2006-07-12 2007-11-21 袁嵘 Overhead permanent magnetism tension stringing device
CN201305388Y (en) * 2008-10-10 2009-09-09 国营江北机械厂 Tensioning control mechanism in steel cord paying out device
CN201952061U (en) * 2010-11-05 2011-08-31 李志雄 Wire rope unreeling control device
CN102789844A (en) * 2012-08-08 2012-11-21 铜陵精迅特种漆包线有限责任公司 Pay-off unit of horizontal enamelling machine
CN102969078A (en) * 2011-08-31 2013-03-13 陈学明 Paying-off device for copper-clad aluminum wires
CN203311924U (en) * 2013-05-17 2013-11-27 广东华声电器股份有限公司 A wire bunching machine copper-wire-oxidation-resistance apparatus
CN203781512U (en) * 2014-01-10 2014-08-20 东莞新恩祥机械配件有限公司 A permanent magnet pay-off device

Patent Citations (12)

* Cited by examiner, † Cited by third party
Publication number Priority date Publication date Assignee Title
US3424395A (en) * 1965-02-11 1969-01-28 Kalle Ag Method and apparatus for winding up tapes or filaments
DE3025765C1 (en) * 1980-07-08 1981-10-01 Karl Mayer Textil-Maschinen-Fabrik Gmbh, 6053 Obertshausen Damping device for a thread brake
JPH0262378A (en) * 1988-08-25 1990-03-02 Kooshin Rashin Kk Tension furnisher
CN2517712Y (en) * 2001-12-30 2002-10-23 袁嵘 Permanent magnet tension controller
CN2702979Y (en) * 2004-04-08 2005-06-01 武汉瑞通光电有限责任公司 Yarn-paying-out type constant tension aramid fibre paying-out apparatus
CN200978164Y (en) * 2006-07-12 2007-11-21 袁嵘 Overhead permanent magnetism tension stringing device
CN201305388Y (en) * 2008-10-10 2009-09-09 国营江北机械厂 Tensioning control mechanism in steel cord paying out device
CN201952061U (en) * 2010-11-05 2011-08-31 李志雄 Wire rope unreeling control device
CN102969078A (en) * 2011-08-31 2013-03-13 陈学明 Paying-off device for copper-clad aluminum wires
CN102789844A (en) * 2012-08-08 2012-11-21 铜陵精迅特种漆包线有限责任公司 Pay-off unit of horizontal enamelling machine
CN203311924U (en) * 2013-05-17 2013-11-27 广东华声电器股份有限公司 A wire bunching machine copper-wire-oxidation-resistance apparatus
CN203781512U (en) * 2014-01-10 2014-08-20 东莞新恩祥机械配件有限公司 A permanent magnet pay-off device

Cited By (4)

* Cited by examiner, † Cited by third party
Publication number Priority date Publication date Assignee Title
CN104882227A (en) * 2015-04-20 2015-09-02 四川星达铜业有限公司 Rapid threading method of copper stranded wire
CN105118571A (en) * 2015-08-28 2015-12-02 芜湖顺成电子有限公司 Thick copper wire pay-off device with feeding and discharging functions
CN111056367A (en) * 2019-12-31 2020-04-24 太仓巨仁光伏材料有限公司 Automatic pay-off device
CN111850746A (en) * 2020-06-18 2020-10-30 江苏兴达钢帘线股份有限公司 Permanent magnet constant tension device for pay-off seat of DTS stranding machine

Similar Documents

Publication Publication Date Title
CN203781512U (en) A permanent magnet pay-off device
CN103754699A (en) A permanent magnet pay-off device
CN202796426U (en) Wire supplying device of coiling equipment
CN104392541B (en) Banknote sorting device and radial clearance adjusting method thereof
CN105883488B (en) A kind of Portable winding machine and method for winding adaptively straightening radial line
CN107618949A (en) A kind of application method of adjustable folding and unfolding coil holder
CN104332882A (en) Adjustable cable paying-off support
CN103489624A (en) Paying-off tensioning equipment for vertical winding of transformer coil
CN103754692A (en) Bilateral upper shaft feeder
CN204205397U (en) A kind of adjustable Cable holder for distribution
CN104464953A (en) Vertical type adjustable take-up reel
CN202936027U (en) Winding machine
CN202796430U (en) Pay-off tensioning device used for winding of transformer coil
CN203781486U (en) Bilateral upper shaft feeder
CN105060005B (en) Multi-functional unwrapping wire auxiliary tool
CN103337826B (en) A kind of wire dispenser
CN106743977A (en) A kind of adjustable pay-off stand
WO2021114487A1 (en) Coil winder
CN206486091U (en) A kind of adjustable pay-off stand
CN205397609U (en) Unwinding device of mica tape
CN105923463A (en) Winding machine
CN205534609U (en) Distribution rack business turn over line cable sleeve fixing device
CN106629233A (en) Adjustable disk partition wire wrapping device
CN208980031U (en) A kind of electric power cable take-up and pay-off device
CN207895916U (en) A New Type of Twisted Wire Distributor

Legal Events

Date Code Title Description
C06 Publication
PB01 Publication
C10 Entry into substantive examination
SE01 Entry into force of request for substantive examination
RJ01 Rejection of invention patent application after publication
RJ01 Rejection of invention patent application after publication

Application publication date: 20140430