CN103737804A - 组合式碳粉盒主构件的精密模具 - Google Patents
组合式碳粉盒主构件的精密模具 Download PDFInfo
- Publication number
- CN103737804A CN103737804A CN201310667857.4A CN201310667857A CN103737804A CN 103737804 A CN103737804 A CN 103737804A CN 201310667857 A CN201310667857 A CN 201310667857A CN 103737804 A CN103737804 A CN 103737804A
- Authority
- CN
- China
- Prior art keywords
- plate
- pull rod
- boss
- limit pull
- mould
- Prior art date
- Legal status (The legal status is an assumption and is not a legal conclusion. Google has not performed a legal analysis and makes no representation as to the accuracy of the status listed.)
- Granted
Links
- OKTJSMMVPCPJKN-UHFFFAOYSA-N Carbon Chemical compound [C] OKTJSMMVPCPJKN-UHFFFAOYSA-N 0.000 title abstract 2
- 229920003023 plastic Polymers 0.000 claims abstract description 22
- 239000004033 plastic Substances 0.000 claims abstract description 22
- 239000000463 material Substances 0.000 claims description 8
- 230000008602 contraction Effects 0.000 claims description 3
- 238000003780 insertion Methods 0.000 claims description 3
- 230000037431 insertion Effects 0.000 claims description 3
- 210000001364 upper extremity Anatomy 0.000 claims description 3
- 238000004519 manufacturing process Methods 0.000 abstract description 5
- 238000003723 Smelting Methods 0.000 abstract 1
- 238000000034 method Methods 0.000 description 10
- 238000002347 injection Methods 0.000 description 9
- 239000007924 injection Substances 0.000 description 9
- 238000005516 engineering process Methods 0.000 description 4
- 230000000903 blocking effect Effects 0.000 description 3
- 230000000694 effects Effects 0.000 description 3
- 238000010586 diagram Methods 0.000 description 2
- 230000009286 beneficial effect Effects 0.000 description 1
- 238000010276 construction Methods 0.000 description 1
- 238000005265 energy consumption Methods 0.000 description 1
- 230000007246 mechanism Effects 0.000 description 1
- 239000011148 porous material Substances 0.000 description 1
- 239000000243 solution Substances 0.000 description 1
- 230000003068 static effect Effects 0.000 description 1
Images
Classifications
-
- B—PERFORMING OPERATIONS; TRANSPORTING
- B29—WORKING OF PLASTICS; WORKING OF SUBSTANCES IN A PLASTIC STATE IN GENERAL
- B29C—SHAPING OR JOINING OF PLASTICS; SHAPING OF MATERIAL IN A PLASTIC STATE, NOT OTHERWISE PROVIDED FOR; AFTER-TREATMENT OF THE SHAPED PRODUCTS, e.g. REPAIRING
- B29C45/00—Injection moulding, i.e. forcing the required volume of moulding material through a nozzle into a closed mould; Apparatus therefor
- B29C45/17—Component parts, details or accessories; Auxiliary operations
- B29C45/26—Moulds
- B29C45/2602—Mould construction elements
- B29C45/2606—Guiding or centering means
-
- B—PERFORMING OPERATIONS; TRANSPORTING
- B29—WORKING OF PLASTICS; WORKING OF SUBSTANCES IN A PLASTIC STATE IN GENERAL
- B29C—SHAPING OR JOINING OF PLASTICS; SHAPING OF MATERIAL IN A PLASTIC STATE, NOT OTHERWISE PROVIDED FOR; AFTER-TREATMENT OF THE SHAPED PRODUCTS, e.g. REPAIRING
- B29C45/00—Injection moulding, i.e. forcing the required volume of moulding material through a nozzle into a closed mould; Apparatus therefor
- B29C45/17—Component parts, details or accessories; Auxiliary operations
- B29C45/26—Moulds
- B29C45/32—Moulds having several axially spaced mould cavities, i.e. for making several separated articles
-
- B—PERFORMING OPERATIONS; TRANSPORTING
- B29—WORKING OF PLASTICS; WORKING OF SUBSTANCES IN A PLASTIC STATE IN GENERAL
- B29C—SHAPING OR JOINING OF PLASTICS; SHAPING OF MATERIAL IN A PLASTIC STATE, NOT OTHERWISE PROVIDED FOR; AFTER-TREATMENT OF THE SHAPED PRODUCTS, e.g. REPAIRING
- B29C45/00—Injection moulding, i.e. forcing the required volume of moulding material through a nozzle into a closed mould; Apparatus therefor
- B29C45/17—Component parts, details or accessories; Auxiliary operations
- B29C45/40—Removing or ejecting moulded articles
- B29C45/4005—Ejector constructions; Ejector operating mechanisms
-
- B—PERFORMING OPERATIONS; TRANSPORTING
- B29—WORKING OF PLASTICS; WORKING OF SUBSTANCES IN A PLASTIC STATE IN GENERAL
- B29C—SHAPING OR JOINING OF PLASTICS; SHAPING OF MATERIAL IN A PLASTIC STATE, NOT OTHERWISE PROVIDED FOR; AFTER-TREATMENT OF THE SHAPED PRODUCTS, e.g. REPAIRING
- B29C45/00—Injection moulding, i.e. forcing the required volume of moulding material through a nozzle into a closed mould; Apparatus therefor
- B29C45/17—Component parts, details or accessories; Auxiliary operations
- B29C45/40—Removing or ejecting moulded articles
- B29C45/44—Removing or ejecting moulded articles for undercut articles
-
- B—PERFORMING OPERATIONS; TRANSPORTING
- B29—WORKING OF PLASTICS; WORKING OF SUBSTANCES IN A PLASTIC STATE IN GENERAL
- B29C—SHAPING OR JOINING OF PLASTICS; SHAPING OF MATERIAL IN A PLASTIC STATE, NOT OTHERWISE PROVIDED FOR; AFTER-TREATMENT OF THE SHAPED PRODUCTS, e.g. REPAIRING
- B29C45/00—Injection moulding, i.e. forcing the required volume of moulding material through a nozzle into a closed mould; Apparatus therefor
- B29C45/17—Component parts, details or accessories; Auxiliary operations
- B29C45/1761—Means for guiding movable mould supports or injection units on the machine base or frame; Machine bases or frames
- B29C2045/1764—Guiding means between the movable mould plate and tie rods
Landscapes
- Engineering & Computer Science (AREA)
- Manufacturing & Machinery (AREA)
- Mechanical Engineering (AREA)
- Moulds For Moulding Plastics Or The Like (AREA)
Abstract
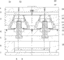
本发明涉及塑料产品加工治具技术领域,具体的说,是涉及一种组合式碳粉盒主构件的精密模具,包括前模与后模,所述前模从上往下依次包括前面板、脱料板、A板、前模仁,所述后模从上往下依次包括后模仁、B板、推板、模脚、底板,所述底板的上方设有下顶针板、上顶针板,还设有顶针,所述前面板的上部设有定位环,定位环下方设有浇口套,所述浇口套内设有流道,所述流道的下方与塑料件的型腔连通,所述塑料件型腔的两侧均设有滑块,两个滑块通过相对独立设置的两个斜导柱引导滑动,所述斜导柱的上部与A板固定连接,下部插入滑块中。本发明模具结构合理、分型简单,开模、合模顺序合理,通过模具精度容易控制,生产效率高。
Description
技术领域
本发明涉及塑料产品加工治具技术领域,具体的说,是涉及一种组合式碳粉盒主构件的精密模具。
背景技术
碳粉盒主构件模具的设计要点主要体现在浇口和分型面等技术处理方面,具体表现为模具的使用寿命长、精密度稳定,和碳粉盒产品和生产工艺简单,产品成型稳定、精密度高、能耗低等方面,由于碳粉盒产品内侧或外侧局部存在凹槽等非线性结构,要解决现有技术中产品的局部凹槽处难以实现脱模等实际问题,必须需要一些特殊结构设计使碳粉盒模具结构简化,从而实现产品分型面简单,脱模容易,使碳粉盒模具设计更加合理。
发明内容
本发明的目的在于适应现实需要,提供一种组合式碳粉盒主构件的精密模具。
为了实现本发明的目的,本发明采用的技术方案为:
一种组合式碳粉盒主构件的精密模具,包括前模与后模,所述前模从上往下依次包括前面板、脱料板、A板、前模仁,所述后模从上往下依次包括后模仁、B板、推板、模脚、底板,所述底板的上方设有下顶针板、上顶针板,还设有顶针,所述前面板的上部设有定位环,定位环下方设有浇口套,所述浇口套内设有流道,所述流道的下方与塑料件的型腔连通,所述塑料件型腔的两侧均设有滑块,两个滑块通过相对独立设置的两个斜导柱引导滑动,所述斜导柱的上部与A板固定连接,下部插入滑块中。
还设有拉杆,所述拉杆的上端与所述前面板紧固连接,下端依次穿过脱料板、A板、B板、支撑板后伸入模脚中,所述拉杆下端设有拉杆挡块,所述拉杆挡块在开模时将A板挡住,所述拉杆的外部套装有导套,所述导套固定于A板的内壁。
所述A板和B板通过外置拉板限位连接,所述外置拉板设有上下两个滑槽,所述A板和B板上分别设置有上限位销和下限位销,合模时,上限位销卡住上滑槽的下缘,下限位销卡住下滑槽的上缘。
所述滑块的内侧和外侧分别设有弹簧和限位螺钉。
还包括拉料针,所述拉料针的上端与前面板紧固连接,下端设有凸起的倒扣,所述倒扣插入流道内。
所述前面板与脱料板通过第一限位拉杆连接,所述脱料板与A板通过第二限位拉杆连接,所述第一限位拉杆的上端带有第一凸台,所述第一凸台位于前面板上的滑动槽内,所述第一凸台的高度小于所述滑动槽的高度,合模状态下,第一凸台的下表面与脱料板的上表面之间存在间隙;所述第一限位拉杆的下端与第二限位拉杆的上端紧固连接,所述第二限位拉杆的下端伸入所述B板的内部,所述第一限位拉杆与第二限位拉杆将前面板、脱料板、A板、B板依次贯穿且形成一个滑道,所述第二限位拉杆的下端带有第二凸台,所述滑道的上段为收缩段且与第二限位拉杆本体的杆部形状相匹配,所述滑道的下段为扩张段且与第二限位拉杆下端的第二凸台形状相匹配,所述滑道下段扩张段的高度大于第二凸台的高度;所述B板和推板通过第三限位拉杆连接,所述第三限位拉杆的上端与B板紧固连接,下端设有第三凸台,所述第三凸台位于推板的滑动槽内,合模状态时,第三凸台的上表面与滑动槽的上表面之间存在间隙。
在第二限位拉杆的上端外部套装有压缩弹簧,所述压缩弹簧设置于A板上部的空腔中,所述压缩弹簧由开闭器控制弹出开模。
还包括后模导柱,所述后模导柱的下端与推板固定连接,上端贯穿B板后伸入A板中进行导向。
所述上顶针板、下顶针板通过设置于上顶针板或下顶针板上的回位杆进行导向,所述回位杆的上端插入所述B板中,所述回位杆的外部套装有回位弹簧。
由前模仁、后模仁、后模镶件作为三个固定件,配合两个滑块,共同形成一个塑料件的型腔,所述模具中塑料件的型腔设置为四个,四个型腔共享一个流道。
本发明的有益效果在于:
1.本发明模具结构合理、分型简单,开模、合模顺序合理,通过模具精度容易控制,模具精密度可达到0.01mm,使用寿命是通用模具2—3倍;
2.由于存在多处导向,产品成型稳定、精密度高,产品精密度可达到0.05 mm;
3.同时采用产品与浇口在模具开模时直接分开的技术,不需要手工去除浇口,即减少人工,又提高了生产效率和产品质量;
4.可以一次成型四个产品,提高了劳动生产率,可达到通用模具生产效率的四倍以上,降低了产品的生产成本。
附图说明
图1为本发明模具合模状态的剖视结构示意图。
图2为图1中合模状态时另一剖切面的剖视结构示意图。
图3为图1中模具开模状态的结构示意图。
图4为图2中模具开模状态的结构示意图。
图5为图3中产品顶出时的结构示意图。
图6为图4中产品顶出时的结构示意图。
图中,1为前面板,2为脱料板,3为A板,4为B板,5为推板,6为模脚,7为底板,8为上顶针板,9为下顶针板,10为顶针,11为后模镶件,12为限位螺钉,13为后模仁,14为弹簧,15为滑块,16为斜导柱,17为前模仁,18为拉料针,19为浇口套,20为定位环,21为塑料件,22为第一限位拉杆,23为拉杆,24为导套,25为第二限位拉杆,26为第三限位拉杆,27为外置拉板,28为回位杆,29为后模导柱,30为卡伦式锁模块件,31为拉杆挡块,32为流道,33为第一凸台,34为第二凸台,35为第三凸台,36为滑道,37为压缩弹簧,38为回位弹簧。
具体实施方式
下面结合附图和实施例对本发明进一步说明:
实施例:参见图1——图6。
一种组合式碳粉盒主构件的精密模具,包括前模与后模,所述前模从上往下依次包括前面板1、脱料板2、A板3、前模仁17,所述后模从上往下依次包括后模仁13、B板4、推板5、模脚6、底板7,所述底板7的上方设有下顶针板9、上顶针板8,还设有顶针10,所述前面板1的上部设有定位环20,定位环20下方设有浇口套19,所述浇口套19内设有流道32,所述流道32的下方与塑料件21的型腔连通,所述塑料件21型腔的两侧均设有滑块15,两个滑块15通过相对独立设置的两个斜导柱16引导滑动,所述斜导柱16的上部与A板3固定连接,下部插入滑块15中。
还设有拉杆23,所述拉杆23的上端与所述前面板1紧固连接,下端依次穿过脱料板2、A板3、B板4、支撑板5后伸入模脚6中,所述拉杆23下端设有拉杆挡块31,所述拉杆挡块31在开模时将A板3挡住,所述拉杆23的外部套装有导套24,所述导套24固定于A板3的内壁。
所述A板3和B板4通过外置拉板27限位连接,所述外置拉板27设有上下两个滑槽,所述A板3和B板4上分别设置有上限位销和下限位销,合模时,上限位销卡住上滑槽的下缘,下限位销卡住下滑槽的上缘。
所述滑块15的内侧和外侧分别设有弹簧14和限位螺钉12。
还包括拉料针18,所述拉料针18的上端与前面板1紧固连接,下端设有凸起的倒扣,所述倒扣插入流道32内。
所述前面板1与脱料板2通过第一限位拉杆22连接,所述脱料板2与A板3通过第二限位拉杆25连接,所述第一限位拉杆22的上端带有第一凸台33,所述第一凸台33位于前面板1上的滑动槽内,所述第一凸台33的高度小于所述滑动槽的高度,合模状态下,第一凸台33的下表面与脱料板2的上表面之间存在间隙;所述第一限位拉杆22的下端与第二限位拉杆25的上端紧固连接,所述第二限位拉杆25的下端伸入所述B板4的内部,所述第一限位拉杆22与第二限位拉杆25将前面板1、脱料板2、A板3、B板4依次贯穿且形成一个滑道36,所述第二限位拉杆25的下端带有第二凸台34,所述滑道36的上段为收缩段且与第二限位拉杆25本体的杆部形状相匹配,所述滑道36的下段为扩张段且与第二限位拉杆25下端的第二凸台34形状相匹配,所述滑道36下段扩张段的高度大于第二凸台34的高度;所述B板4和推板5通过第三限位拉杆26连接,所述第三限位拉杆26的上端与B板4紧固连接,下端设有第三凸台35,所述第三凸台35位于推板5的滑动槽内,合模状态时,第三凸台35的上表面与滑动槽的上表面之间存在间隙。
在第二限位拉杆25的上端外部套装有压缩弹簧37,所述压缩弹簧37设置于A板3上部的空腔中,所述压缩弹簧37由开闭器控制弹出开模。
还包括后模导柱29,所述后模导柱29的下端与推板5固定连接,上端贯穿B板4后伸入A板3中进行导向。
所述上顶针板8、下顶针板9通过设置于上顶针板8或下顶针板9上的回位杆28进行导向,所述回位杆28的上端插入所述B板4中,所述回位杆28的外部套装有回位弹簧38。
本发明的工作原理简述如下:
本发明公开了一种组合式碳粉盒主构件的精密模具,包括前模与后模,前模的前面板1固定不动,前模仁17固定于A板3的内部,前面板1与脱料板2、A板3通过第一限位拉杆22、第二限位拉杆25连接,合模状态如图1、图2所示,开模时脱料板2与A板3先开模,第一凸台33、第二凸台34用于限制开模时前面板1、脱料板2、A板3之间的开模距离。拉杆挡块31是一种安全机构,是用来防止万一第二限位拉杆25被拉断裂后,A板3从模具上掉落,从而砸伤模具和人员的安全事故的出现。
碳粉盒成形是借助注塑机这样的工具成形,成形过程是借助注塑机的螺杆将熔融状态的塑料推入合模好的模具内,等熔融塑料凝固后开模,即形成碳粉盒等产品。模具固定在注塑机上,注塑机分为固定部分和活动部分,模具在合模状态时前模通过定位环20固定在注塑机固定部分,后模通过底板7固定在注塑机的活动部分。当熔融塑料在模具中凝固后,注塑机活动部分开始移动,使模具逐渐开模。
开模过程简述如下:
第一次开模,脱料板2与A板3由压缩弹簧37先打开,打开距离图中标记为A2,这次开模保证了作为产品的塑料件21与流道32分开,同时拉料针18倒扣部分拉动流道32,使之出模。
第二次开模,脱料板2与前面板1被拉开,打开距离图中标记为A1,通过拉杆25拉动第一限位拉杆22迫使流道32离开脱料板2;
第三次开模,B板4和推板5打开,打开距离由A3决定;
第四次开模,A板3与B板4不得不打开。
当模具开模时,卡轮式锁模块件30使A板3、B板4延迟开模,这个延迟开模的原理是通过卡轮式锁模上的卡扣作用实现A,B板延迟开模,合模时也是通过卡轮式锁模上的卡扣作用实现延迟合模,是为现有的公知技术。
全部开模后的状态如图3、4所示。
经过准确的计算得出以下关系式:
1.前面板1和脱料板2的开模距离定义为D1,开模过程中第一凸台33移动的距离为A1,二者是相等的,即A1=D1;
2.脱料板2和A板3的开模距离定义为D2,开模过程中第二凸台34移动的距离为A2,二者是相等的,即A2=D2;
3.A板3和B板4的开模距离定义为D3,开模过程中,上限位销滑动的距离定义为A4,下限位销滑动的距离定义为A5,则D3=A4+A5;
4.B板4和推板5的开模距离定义为D4,开模过程中,第三凸台35移动的距离定义为A3,则D4=A3。
开模过程中,由于本案中的碳粉盒主构件是一个凹槽型结构,因此,用前模仁17、后模仁13、后模镶件11作为三个固定件,配合两个滑块15,共同形成塑料件21的型腔,两个滑块15通过相对独立设置的两个斜导柱16在开模过程中引导滑动,斜导柱16的上部与A板3固定连接,下部插入滑块15中,开模过程中两个斜导柱16将两个滑块分别向塑料件21的两边拨开,顺利脱模。
脱模过程中,弹簧14帮助滑块15顺利滑动,而限位螺钉12则用来限制滑块15滑动的位置。
本发明的模具中,设有四个产品型腔,图中仅仅示出了两个,在与图1所示剖面垂直的剖面内,还设有两个相同的产品型腔,在此未示出,四个型腔共享一个流道32。
开模后,注塑机的推杆通过后面板7上的顶孔推动下顶针板9向上移动,顶针10可以把塑料件21顶出,这就是开模以及顶出一次的全部过程。
将产品顶出后,上顶针板8、下顶针板9通过回位杆28和回位弹簧38进行回位。
合模时,通过注塑机的作用,按照前述四次开模方式相反的步骤,依次合模,直至模具恢复至图1、图2所示的位置。
Claims (10)
1.一种组合式碳粉盒主构件的精密模具,包括前模与后模,所述前模从上往下依次包括前面板(1)、脱料板(2)、A板(3)、前模仁(17),所述后模从上往下依次包括后模仁(13)、B板(4)、推板(5)、模脚(6)、底板(7),所述底板(7)的上方设有下顶针板(9)、上顶针板(8),还设有顶针(10),所述前面板(1)的上部设有定位环(20),定位环(20)下方设有浇口套(19),所述浇口套(19)内设有流道(32),所述流道(32)的下方与塑料件(21)的型腔连通,其特征在于:所述塑料件(21)型腔的两侧均设有滑块(15),两个滑块(15)通过相对独立设置的两个斜导柱(16)引导滑动,所述斜导柱(16)的上部与A板(3)固定连接,下部插入滑块(15)中。
2.根据权利要求1所述的精密模具,其特征在于:还设有拉杆(23),所述拉杆(23)的上端与所述前面板(1)紧固连接,下端依次穿过脱料板(2)、A板(3)、B板(4)、支撑板(5)后伸入模脚(6)中,所述拉杆(23)下端设有拉杆挡块(31),所述拉杆挡块(31)在开模时将A板(3)挡住,所述拉杆(23)的外部套装有导套(24),所述导套(24)固定于A板(3)的内壁。
3.根据权利要求1所述的精密模具,其特征在于:所述A板(3)和B板(4)通过外置拉板(27)限位连接,所述外置拉板(27)设有上下两个滑槽,所述A板(3)和B板(4)上分别设置有上限位销和下限位销,合模时,上限位销卡住上滑槽的下缘,下限位销卡住下滑槽的上缘。
4.根据权利要求1所述的精密模具,其特征在于:所述滑块(15)的内侧和外侧分别设有弹簧(14)和限位螺钉(12)。
5.根据权利要求1所述的精密模具,其特征在于:还包括拉料针(18),所述拉料针(18)的上端与前面板(1)紧固连接,下端设有凸起的倒扣,所述倒扣插入流道(32)内。
6.根据权利要求1所述的精密模具,其特征在于:所述前面板(1)与脱料板(2)通过第一限位拉杆(22)连接,所述脱料板(2)与A板(3)通过第二限位拉杆(25)连接,所述第一限位拉杆(22)的上端带有第一凸台(33),所述第一凸台(33)位于前面板(1)上的滑动槽内,所述第一凸台(33)的高度小于所述滑动槽的高度,合模状态下,第一凸台(33)的下表面与脱料板(2)的上表面之间存在间隙;所述第一限位拉杆(22)的下端与第二限位拉杆(25)的上端紧固连接,所述第二限位拉杆(25)的下端伸入所述B板(4)的内部,所述第一限位拉杆(22)与第二限位拉杆(25)将前面板(1)、脱料板(2)、A板(3)、B板(4)依次贯穿且形成一个滑道(36),所述第二限位拉杆(25)的下端带有第二凸台(34),所述滑道(36)的上段为收缩段且与第二限位拉杆(25)本体的杆部形状相匹配,所述滑道(36)的下段为扩张段且与第二限位拉杆(25)下端的第二凸台(34)形状相匹配,所述滑道(36)下段扩张段的高度大于第二凸台(34)的高度;所述B板(4)和推板(5)通过第三限位拉杆(26)连接,所述第三限位拉杆(26)的上端与B板(4)紧固连接,下端设有第三凸台(35),所述第三凸台(35)位于推板(5)的滑动槽内,合模状态时,第三凸台(35)的上表面与滑动槽的上表面之间存在间隙。
7.根据权利要求1所述的精密模具,其特征在于:在第二限位拉杆(25)的上端外部套装有压缩弹簧(37),所述压缩弹簧(37)设置于A板(3)上部的空腔中,所述压缩弹簧(37)由开闭器控制弹出开模。
8.根据权利要求1所述的精密模具,其特征在于:还包括后模导柱(29),所述后模导柱(29)的下端与推板(5)固定连接,上端贯穿B板(4)后伸入A板(3)中进行导向。
9.根据权利要求1所述的精密模具,其特征在于:所述上顶针板(8)、下顶针板(9)通过设置于上顶针板(8)或下顶针板(9)上的回位杆(28)进行导向,所述回位杆(28)的上端插入所述B板(4)中,所述回位杆(28)的外部套装有回位弹簧(38)。
10.根据权利要求1所述的精密模具,其特征在于:由前模仁(17)、后模仁(13)、后模镶件(11)作为三个固定件,配合两个滑块(15),共同形成一个塑料件(21)的型腔,所述模具中塑料件(21)的型腔设置为四个,四个型腔共享一个流道(32)。
Priority Applications (1)
| Application Number | Priority Date | Filing Date | Title |
|---|---|---|---|
| CN201310667857.4A CN103737804B (zh) | 2013-12-11 | 2013-12-11 | 组合式碳粉盒主构件的精密模具 |
Applications Claiming Priority (1)
| Application Number | Priority Date | Filing Date | Title |
|---|---|---|---|
| CN201310667857.4A CN103737804B (zh) | 2013-12-11 | 2013-12-11 | 组合式碳粉盒主构件的精密模具 |
Publications (2)
| Publication Number | Publication Date |
|---|---|
| CN103737804A true CN103737804A (zh) | 2014-04-23 |
| CN103737804B CN103737804B (zh) | 2016-03-09 |
Family
ID=50494905
Family Applications (1)
| Application Number | Title | Priority Date | Filing Date |
|---|---|---|---|
| CN201310667857.4A Active CN103737804B (zh) | 2013-12-11 | 2013-12-11 | 组合式碳粉盒主构件的精密模具 |
Country Status (1)
| Country | Link |
|---|---|
| CN (1) | CN103737804B (zh) |
Cited By (14)
| Publication number | Priority date | Publication date | Assignee | Title |
|---|---|---|---|---|
| CN105216248A (zh) * | 2015-10-29 | 2016-01-06 | 勋龙精密模具(昆山)有限公司 | 一种模内切装置 |
| CN105415585A (zh) * | 2015-11-26 | 2016-03-23 | 洛阳市建园模具制造有限公司 | 一种防尘盖压板的浇注工艺 |
| CN105458218A (zh) * | 2015-12-31 | 2016-04-06 | 东莞市长长昶达金属制品有限公司 | 自动断水口的压铸成型模具 |
| CN106239843A (zh) * | 2016-08-31 | 2016-12-21 | 上海小糸车灯有限公司 | 一种车灯光导注塑模具结构 |
| CN106424192A (zh) * | 2016-12-09 | 2017-02-22 | 宁海县鑫鸿汽车部件有限公司 | 球头销冷挤压模具 |
| CN107139401A (zh) * | 2017-07-14 | 2017-09-08 | 南京益昌模具有限公司 | 单杯的注塑模具 |
| CN107775902A (zh) * | 2016-08-31 | 2018-03-09 | 宁波方正汽车模具股份有限公司 | 注塑模斜芯子自抽芯机构 |
| CN108527778A (zh) * | 2018-06-04 | 2018-09-14 | 安庆市洁达塑业有限公司 | 一种带法兰塑料喷管注射成型模具 |
| CN109109270A (zh) * | 2018-09-19 | 2019-01-01 | 肇庆理士电源技术有限公司 | 一种模具 |
| CN109435169A (zh) * | 2018-12-28 | 2019-03-08 | 大连銮艺精密模塑制造有限公司 | 设有多爪浇口的齿轮模具 |
| CN109591263A (zh) * | 2018-11-28 | 2019-04-09 | 贵州贵航汽车零部件股份有限公司华阳电器公司 | 一种注射模具的弹簧抽芯机构 |
| CN109719909A (zh) * | 2019-01-24 | 2019-05-07 | 莱芜市春雨滴灌技术有限公司 | 一种滴头成型用模具 |
| CN112829217A (zh) * | 2021-03-20 | 2021-05-25 | 东莞市绿科塑胶制品有限公司 | 一种改善产品外观纹面拖伤的模具及其应用方法 |
| CN113085103A (zh) * | 2021-03-23 | 2021-07-09 | 宁波均胜群英汽车系统股份有限公司 | 一种用于模具前模板的弹出式滑块结构 |
Citations (6)
| Publication number | Priority date | Publication date | Assignee | Title |
|---|---|---|---|---|
| JP2640612B2 (ja) * | 1993-06-07 | 1997-08-13 | アロン化成株式会社 | 射出成形用金型におけるゲ−ト切断方法 |
| CN101875228A (zh) * | 2010-06-30 | 2010-11-03 | 圣美精密工业(昆山)有限公司 | 顶出机构及具有该顶出机构的注塑模具 |
| CN102320108A (zh) * | 2011-08-11 | 2012-01-18 | 思柏精密模具注塑(无锡)有限公司 | 一种碳粉盒主构件的精密模具 |
| CN202213139U (zh) * | 2011-08-19 | 2012-05-09 | 大连皓麟精密模具有限公司 | 一种光圈模具装置 |
| CN202388704U (zh) * | 2011-10-27 | 2012-08-22 | 中山市恒滨塑胶模具有限公司 | 模具结构 |
| CN203317677U (zh) * | 2013-06-23 | 2013-12-04 | 苏州腾行精密模具有限公司 | 一种螺杆注塑模具 |
-
2013
- 2013-12-11 CN CN201310667857.4A patent/CN103737804B/zh active Active
Patent Citations (6)
| Publication number | Priority date | Publication date | Assignee | Title |
|---|---|---|---|---|
| JP2640612B2 (ja) * | 1993-06-07 | 1997-08-13 | アロン化成株式会社 | 射出成形用金型におけるゲ−ト切断方法 |
| CN101875228A (zh) * | 2010-06-30 | 2010-11-03 | 圣美精密工业(昆山)有限公司 | 顶出机构及具有该顶出机构的注塑模具 |
| CN102320108A (zh) * | 2011-08-11 | 2012-01-18 | 思柏精密模具注塑(无锡)有限公司 | 一种碳粉盒主构件的精密模具 |
| CN202213139U (zh) * | 2011-08-19 | 2012-05-09 | 大连皓麟精密模具有限公司 | 一种光圈模具装置 |
| CN202388704U (zh) * | 2011-10-27 | 2012-08-22 | 中山市恒滨塑胶模具有限公司 | 模具结构 |
| CN203317677U (zh) * | 2013-06-23 | 2013-12-04 | 苏州腾行精密模具有限公司 | 一种螺杆注塑模具 |
Cited By (17)
| Publication number | Priority date | Publication date | Assignee | Title |
|---|---|---|---|---|
| CN105216248A (zh) * | 2015-10-29 | 2016-01-06 | 勋龙精密模具(昆山)有限公司 | 一种模内切装置 |
| CN105415585A (zh) * | 2015-11-26 | 2016-03-23 | 洛阳市建园模具制造有限公司 | 一种防尘盖压板的浇注工艺 |
| CN105458218A (zh) * | 2015-12-31 | 2016-04-06 | 东莞市长长昶达金属制品有限公司 | 自动断水口的压铸成型模具 |
| CN106239843A (zh) * | 2016-08-31 | 2016-12-21 | 上海小糸车灯有限公司 | 一种车灯光导注塑模具结构 |
| CN107775902A (zh) * | 2016-08-31 | 2018-03-09 | 宁波方正汽车模具股份有限公司 | 注塑模斜芯子自抽芯机构 |
| CN106239843B (zh) * | 2016-08-31 | 2018-05-08 | 上海小糸车灯有限公司 | 一种车灯光导注塑模具结构 |
| CN107775902B (zh) * | 2016-08-31 | 2019-10-08 | 宁波方正汽车模具股份有限公司 | 注塑模斜芯子自抽芯机构 |
| CN106424192A (zh) * | 2016-12-09 | 2017-02-22 | 宁海县鑫鸿汽车部件有限公司 | 球头销冷挤压模具 |
| CN107139401B (zh) * | 2017-07-14 | 2019-07-02 | 南京益昌模具有限公司 | 单杯的注塑模具 |
| CN107139401A (zh) * | 2017-07-14 | 2017-09-08 | 南京益昌模具有限公司 | 单杯的注塑模具 |
| CN108527778A (zh) * | 2018-06-04 | 2018-09-14 | 安庆市洁达塑业有限公司 | 一种带法兰塑料喷管注射成型模具 |
| CN109109270A (zh) * | 2018-09-19 | 2019-01-01 | 肇庆理士电源技术有限公司 | 一种模具 |
| CN109591263A (zh) * | 2018-11-28 | 2019-04-09 | 贵州贵航汽车零部件股份有限公司华阳电器公司 | 一种注射模具的弹簧抽芯机构 |
| CN109435169A (zh) * | 2018-12-28 | 2019-03-08 | 大连銮艺精密模塑制造有限公司 | 设有多爪浇口的齿轮模具 |
| CN109719909A (zh) * | 2019-01-24 | 2019-05-07 | 莱芜市春雨滴灌技术有限公司 | 一种滴头成型用模具 |
| CN112829217A (zh) * | 2021-03-20 | 2021-05-25 | 东莞市绿科塑胶制品有限公司 | 一种改善产品外观纹面拖伤的模具及其应用方法 |
| CN113085103A (zh) * | 2021-03-23 | 2021-07-09 | 宁波均胜群英汽车系统股份有限公司 | 一种用于模具前模板的弹出式滑块结构 |
Also Published As
| Publication number | Publication date |
|---|---|
| CN103737804B (zh) | 2016-03-09 |
Similar Documents
| Publication | Publication Date | Title |
|---|---|---|
| CN103737804B (zh) | 组合式碳粉盒主构件的精密模具 | |
| CN103737857A (zh) | 复合抽芯式精密模具 | |
| CN209552334U (zh) | 双色注塑模的行位机构 | |
| CN105415597A (zh) | 相机电池外壳的精密模具 | |
| CN104249431A (zh) | 双射模母模滑块机构 | |
| CN104772874A (zh) | 一种注塑模具气缸浮动顶出油缸侧边顶出组合机构 | |
| CN104802370A (zh) | 一种前模顶出脱模结构模具 | |
| CN103737824B (zh) | 笔记本电脑电池盖的潜伏平移式精密模具 | |
| CN103909626A (zh) | 一种注塑模具内抽芯装置 | |
| CN203765941U (zh) | 制品内部进浇、定模推出的模具 | |
| CN203876156U (zh) | 一种侧抽芯塑料模具 | |
| CN216373217U (zh) | 一种二次滑块脱产品倒扣注塑模具 | |
| CN202388722U (zh) | 一种自动去除水口的注塑模具 | |
| CN207747351U (zh) | 一种输液瓶胚的注射成型模具 | |
| CN205889763U (zh) | 一种塑料模具的斜槽导板抽芯机构 | |
| CN210047016U (zh) | 一种注塑模具三级行位出模结构 | |
| CN203567112U (zh) | 自动剥料机构 | |
| CN203665857U (zh) | 母模斜滑块结构 | |
| CN203779801U (zh) | 注塑模具定模侧斜抽芯机构 | |
| CN210308891U (zh) | 一种倒扣抽芯注塑模具 | |
| CN201736420U (zh) | 一种多加强筋器件的注塑模的行位设计顶出机构 | |
| CN207120428U (zh) | 一种倒扣脱模机构 | |
| CN209718506U (zh) | 一种滑块内抽芯的精密注塑模具结构 | |
| CN208343357U (zh) | 一种前模行位无顶出注塑模具 | |
| CN105563759A (zh) | 内牛角进胶结构 |
Legal Events
| Date | Code | Title | Description |
|---|---|---|---|
| C06 | Publication | ||
| PB01 | Publication | ||
| C10 | Entry into substantive examination | ||
| SE01 | Entry into force of request for substantive examination | ||
| C14 | Grant of patent or utility model | ||
| GR01 | Patent grant | ||
| CP03 | Change of name, title or address | ||
| CP03 | Change of name, title or address |
Address after: 214028 No.3, Xinrong Road, Xinwu District, Wuxi City, Jiangsu Province Patentee after: SIPO Precision Technology Co., Ltd Address before: B national high tech Development Zone Wuxi city Jiangsu province 214028 No. B4-C (New Road) Patentee before: SZEPAK PRECISION (WUXI) Co.,Ltd. |