CN103707152A - Automatic burring machine of aluminum profile - Google Patents
Automatic burring machine of aluminum profile Download PDFInfo
- Publication number
- CN103707152A CN103707152A CN201310682634.5A CN201310682634A CN103707152A CN 103707152 A CN103707152 A CN 103707152A CN 201310682634 A CN201310682634 A CN 201310682634A CN 103707152 A CN103707152 A CN 103707152A
- Authority
- CN
- China
- Prior art keywords
- section bar
- aluminium section
- conveyer belt
- sprocket wheel
- deburring machine
- Prior art date
- Legal status (The legal status is an assumption and is not a legal conclusion. Google has not performed a legal analysis and makes no representation as to the accuracy of the status listed.)
- Granted
Links
- 229910052782 aluminium Inorganic materials 0.000 title claims abstract description 20
- XAGFODPZIPBFFR-UHFFFAOYSA-N aluminium Chemical compound [Al] XAGFODPZIPBFFR-UHFFFAOYSA-N 0.000 title claims abstract description 20
- 230000005540 biological transmission Effects 0.000 claims abstract description 18
- 229910001369 Brass Inorganic materials 0.000 claims description 16
- 239000004411 aluminium Substances 0.000 claims description 16
- 239000010951 brass Substances 0.000 claims description 16
- 239000000203 mixture Substances 0.000 claims description 2
- 230000009467 reduction Effects 0.000 claims description 2
- 230000000153 supplemental effect Effects 0.000 claims description 2
- 238000003825 pressing Methods 0.000 abstract description 3
- 238000004519 manufacturing process Methods 0.000 abstract description 2
- RYGMFSIKBFXOCR-UHFFFAOYSA-N Copper Chemical compound [Cu] RYGMFSIKBFXOCR-UHFFFAOYSA-N 0.000 abstract 3
- 239000000463 material Substances 0.000 abstract 2
- 238000010586 diagram Methods 0.000 description 4
- 230000009471 action Effects 0.000 description 2
- 230000015572 biosynthetic process Effects 0.000 description 2
- 238000005516 engineering process Methods 0.000 description 2
- 238000000034 method Methods 0.000 description 2
- 230000008569 process Effects 0.000 description 2
- 238000005520 cutting process Methods 0.000 description 1
- 238000013016 damping Methods 0.000 description 1
- 230000007246 mechanism Effects 0.000 description 1
- 238000005555 metalworking Methods 0.000 description 1
- 230000008439 repair process Effects 0.000 description 1
Images
Classifications
-
- B—PERFORMING OPERATIONS; TRANSPORTING
- B24—GRINDING; POLISHING
- B24B—MACHINES, DEVICES, OR PROCESSES FOR GRINDING OR POLISHING; DRESSING OR CONDITIONING OF ABRADING SURFACES; FEEDING OF GRINDING, POLISHING, OR LAPPING AGENTS
- B24B9/00—Machines or devices designed for grinding edges or bevels on work or for removing burrs; Accessories therefor
- B24B9/02—Machines or devices designed for grinding edges or bevels on work or for removing burrs; Accessories therefor characterised by a special design with respect to properties of materials specific to articles to be ground
- B24B9/04—Machines or devices designed for grinding edges or bevels on work or for removing burrs; Accessories therefor characterised by a special design with respect to properties of materials specific to articles to be ground of metal, e.g. skate blades
Landscapes
- Engineering & Computer Science (AREA)
- Mechanical Engineering (AREA)
- Grinding And Polishing Of Tertiary Curved Surfaces And Surfaces With Complex Shapes (AREA)
- Finish Polishing, Edge Sharpening, And Grinding By Specific Grinding Devices (AREA)
Abstract
The invention discloses an automatic burring machine of an aluminum profile. The automatic burring machine of the aluminum profile comprises a frame (1), a transmission belt (15), a clamp and copper wire brushes, wherein the transmission belt (15) is used for conveying workpieces into a processing station; the clamp is used for mounting the workpieces; the copper wire brushes are used for burring; the clamp for mounting the workpieces is vertically arranged side by side by two cylinders (2) and (3); a material pressing plate (4) is arranged at an end of a piston rod of each cylinder and matched with a material pressing plate on the frame; the transmission belt is mounted between two cylinders and provided with a moving and automatic positioning device; and each copper wire brush is arranged near the end of the workpiece and provided with a rotation device and a feeding device. Due to the adoption of the burring machine, burs at the end of a cut pipe can be removed with high efficiency; manual operation is replaced; and great convenience is brought to production.
Description
Technical field
The present invention relates generally to a kind of processing equipment, particularly a kind of aluminium section bar automatic deburring machine.
Background technology
In process of metal working, particularly a kind of industrial aluminum profile is after extruding sawing, and saw kerf more or less can residual burr, and this burr can have a strong impact on outward appearance and the quality of product, and following process is caused damage.Generally, need the artificial professional knife of using to repair the residual burr in the saw kerf of section bar two ends, but easily cause the scuffing of cutter to Surface of profile, and consuming time.Therefore the device that designs a mechanism replaces artificial deburring to be necessary.
Summary of the invention
The object of the present invention is to provide a kind ofly can overcome known technology shortcoming, can automatically complete the aluminium section bar automatic deburring machine to the sawing end face processing of workpiece.
For achieving the above object, technical scheme of the present invention is: a kind of aluminium section bar automatic deburring machine, by frame, transport the conveyer belt that workpiece enters processing stations, the fixture of workpiece is installed, remove the compositions such as brass wire brush of burr, its special feature is: the fixture that workpiece is installed is arranged vertically side by side by two cylinders, each cylinder with piston rod end with holding pad, coordinate with the holding pad being located in frame, conveyer belt is arranged between two cylinders, there are mobile and automatic positioning equipment, each brass wire brush is located near workpiece end, there are whirligig and feeder.
Adopt such scheme, the workpiece of being sent here by conveyer belt automatically stops after station, and fixture is fixed the two ends of workpiece, then by brass wire brush, is fed into Working position, and burr is removed in rotation, and this plant automation degree is high, and efficiency is high, has realized object of the present invention.
Below in conjunction with diagram and embodiment, scheme is described in more detail.
Accompanying drawing explanation
Fig. 1 is the front view of aluminium section bar automatic deburring machine;
Fig. 2 is the left view of Fig. 1;
Fig. 3 is the schematic diagram of aluminium section bar automatic deburring machine;
Fig. 4 is aluminium section bar automatic deburring machine conveyer schematic diagram;
Fig. 5 be in Fig. 4 A to view.
The specific embodiment
Aluminium section bar automatic deburring machine as shown in Figure 1, support by frame 1 as whole machine, two cylinders are installed in frame, 3, two cylinders of 2, one the second cylinders of first cylinder are vertical to be installed side by side, piston rod stretches downwards, cylinder with piston rod end with upper holding pad 4, described holding pad coordinates holding workpiece with a lower holding pad of opposite position in frame, the present embodiment workpiece to be processed is an aluminium damping tube on damper of motorcycle.The brass wire brush that has two machined burrs coordinating with two cylinders as fixture, first brass wire brush 5, second brass wire brush 6, be arranged on respectively the two ends of power transmission shaft 7, power transmission shaft is supported by bearing block 8, bearing block is fixed on the piston rod of the 3rd cylinder 9, the mobile feeding that forms brass wire brush of piston rod, on power transmission shaft 7, be also fixed with a driven pulley 11, by belt, be connected with drive pulley 12, belt drive unit and motor 13 are connected to form power set, in Fig. 1, be also provided with two infrared inductors 14, automatic positioning equipment for conveyer belt.
On power transmission shaft 7, also have two auxiliary bearings 10, bearing block is unfixing, can on a sliding seat, slide, to form the supplemental support of power transmission shaft 7.
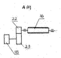
As shown in Figure 2, between two cylinders 2 and 3, be provided with conveyer belt 15, described conveyer belt is supported by one group of roller 16, rely on sprocket wheel chain gearing rotation roller 16 that conveyer belt is moved, described sprocket wheel chain gearing is comprised of chain 17 and sprocket wheel 18, sprocket wheel 18 is arranged on four angles of a rectangle being comprised of chain, one of them sprocket wheel by bevel-gear sett and a motor 19 with reduction box 20 be connected, accept the power of motor 19.
Described conveyer belt is comprised of antistatic plate.
For understanding better the design principle of this device, by Fig. 3 to Fig. 5 diagram, described in detail.
As shown in Figure 3, two vertical cylinders 2 of installing side by side, cylinder 3 be suspended at conveyer belt 15 above, the cylinder body of two cylinders is directly connected with frame 1, connects the frame 1 formation door type structure of cylinder body.Cylinder with piston rod with pressing plate 4, top board and two common clamping plate that form of lower platen 20 are clamped such as a tubular workpiece 21, the below of workpiece is provided with the brass wire brush 5 of machined burrs, 6, two brass wire brush divide and are located at power transmission shaft 7 two ends, the centre position of power transmission shaft 7 is provided with a bearing block 8, both sides are provided with asessory shaft bearing 10, bearing block 8 is fixed on the piston rod end of the 3rd cylinder 9, utilize the mobile formation feeding of piston rod, on power transmission shaft 7, also has a belt drive unit, by drive pulley 12, driven pulley 11 and belt form, the kinetic energy of motor 13 is passed to brass wire brush, after tubular workpiece 21 clampings put in place, infrared inductor 14 senses signal, control system is made action, the piston rod action of the 3rd cylinder, push power transmission shaft 7 to tubular workpiece 21, brass wire brush rotates the burr of workpiece end is removed, after completion of processing, power transmission shaft 7 retreats, wait for that next workpiece installs, enter again processing.
Fig. 4 is the related power set of conveyer belt 15, described conveyer belt is the flexible board of a cast, by one group of roller 16, supported and tensioning, the axle of roller is supported in frame, workpiece 21 is moved and is delivered to chucking position by conveyer belt, the rotation of roller drives conveyer belt to move, the rotation of roller provides power by a chain 17, chain is arranged on sprocket wheel 18 tensionings of four jiaos of a rectangle and passes through one of them sprocket wheel transmitting torque to roller 16 by one group, its structure as shown in Figure 5, sprocket wheel 18 by a coaxial gear 23, be delivered on the axle of roller with pinion 22, moment of torsion is passed on roller 16.
Adopt the flash trimmer of such scheme, can replace workman's operation with the burr of the Pipe Cutting end of efficiency removal faster, to production, bring very large facility.
Claims (7)
1. an aluminium section bar automatic deburring machine, by frame (1), transport the conveyer belt (15) that workpiece enters processing stations, the fixture of workpiece is installed, remove the compositions such as brass wire brush of burr, it is characterized in that: the fixture that workpiece is installed is arranged vertically side by side by two cylinders (2), (3), each cylinder with piston rod end with holding pad (4), coordinate with the holding pad being located in frame, conveyer belt is arranged between two cylinders, have mobile and automatic positioning equipment, each brass wire brush is located near workpiece end, has whirligig and feeder.
2. a kind of aluminium section bar automatic deburring machine according to claim 1, it is characterized in that: the brass wire brush of two machined burrs, first brass wire brush (5), second brass wire brush (6), be arranged on respectively the two ends of power transmission shaft (7), power transmission shaft is supported by bearing block (8), bearing block is fixed on the piston rod of the 3rd cylinder (9), on power transmission shaft (7), be also fixed with a driven pulley (11), by belt, be connected with drive pulley (12), belt drive unit and motor (13) are connected to form power set.
3. a kind of aluminium section bar automatic deburring machine according to claim 2, is characterized in that: power transmission shaft (7) is provided with two auxiliary bearings (10), and bearing block is unfixing, slides, to form the supplemental support of power transmission shaft (7) on a sliding seat.
4. a kind of aluminium section bar automatic deburring machine according to claim 1, it is characterized in that: described conveyer belt is supported by one group of roller (16), rely on sprocket wheel chain gearing rotation roller (16) that conveyer belt is moved, described sprocket wheel chain gearing is comprised of chain (17) and sprocket wheel (18), sprocket wheel is arranged on four angles of a rectangle being comprised of chain, one of them sprocket wheel by bevel-gear sett and a motor (19) with reduction box (20) be connected.
5. a kind of aluminium section bar automatic deburring machine according to claim 4, is characterized in that: sprocket wheel (18) by a coaxial gear (23), be delivered on the axle of roller with pinion (22), moment of torsion is passed on roller (16).
6. a kind of aluminium section bar automatic deburring machine according to claim 4, is characterized in that: being provided with two infrared inductors (14), is the automatic positioning equipment of conveyer belt.
7. a kind of aluminium section bar automatic deburring machine according to claim 1, it is characterized in that: two vertical cylinders (2) of installing side by side, cylinder (3) be suspended at conveyer belt (15) above, the cylinder body of two cylinders is directly connected with frame (1), and the frame that connects cylinder body forms door type structure.
Priority Applications (1)
| Application Number | Priority Date | Filing Date | Title |
|---|---|---|---|
| CN201310682634.5A CN103707152B (en) | 2013-12-16 | 2013-12-16 | Aluminium section bar automatic deburring machine |
Applications Claiming Priority (1)
| Application Number | Priority Date | Filing Date | Title |
|---|---|---|---|
| CN201310682634.5A CN103707152B (en) | 2013-12-16 | 2013-12-16 | Aluminium section bar automatic deburring machine |
Publications (2)
| Publication Number | Publication Date |
|---|---|
| CN103707152A true CN103707152A (en) | 2014-04-09 |
| CN103707152B CN103707152B (en) | 2016-11-09 |
Family
ID=50400694
Family Applications (1)
| Application Number | Title | Priority Date | Filing Date |
|---|---|---|---|
| CN201310682634.5A Active CN103707152B (en) | 2013-12-16 | 2013-12-16 | Aluminium section bar automatic deburring machine |
Country Status (1)
| Country | Link |
|---|---|
| CN (1) | CN103707152B (en) |
Cited By (7)
| Publication number | Priority date | Publication date | Assignee | Title |
|---|---|---|---|---|
| CN104289998A (en) * | 2014-09-19 | 2015-01-21 | 张家港市和恒精工机械有限公司 | Automatic deburring machine for aluminium profiles |
| CN106862937A (en) * | 2017-04-18 | 2017-06-20 | 江苏飞斯铝业有限公司 | The cutting difunctional formula aluminium alloy cutting machine of deburring |
| CN107457641A (en) * | 2017-08-30 | 2017-12-12 | 湖州德耀金属制品有限公司 | A kind of burr remover of metallic plate |
| CN108356098A (en) * | 2018-04-04 | 2018-08-03 | 佛山职业技术学院 | A kind of stainless steel tube end processing device |
| CN109465496A (en) * | 2018-11-15 | 2019-03-15 | 四川铭利达科技有限公司 | A kind of ultra-large type profile battery pack shell section material automatically removes burr device |
| CN109465704A (en) * | 2018-12-28 | 2019-03-15 | 重庆龙煜精密铜管有限公司 | Copper tube deburring equipment |
| CN110170845A (en) * | 2019-05-24 | 2019-08-27 | 浙江中达特钢股份有限公司 | A kind of Full-automatic cutting pipe device with flash removed function |
Citations (7)
| Publication number | Priority date | Publication date | Assignee | Title |
|---|---|---|---|---|
| EP0846525A1 (en) * | 1996-10-16 | 1998-06-10 | CASTELMEC S.a.s di ROSSO VALERIO & C. | Method for edge grinding of glass plates |
| CN101016116A (en) * | 2007-02-25 | 2007-08-15 | 常熟市诚达港务机械设备厂 | Orbit movable conveyor |
| CN200977621Y (en) * | 2006-10-31 | 2007-11-21 | 龙其瑞 | Abrading block polishing device |
| KR20110111614A (en) * | 2010-04-05 | 2011-10-12 | (주)디아이엠 | Deburring Machine |
| CN202517362U (en) * | 2011-11-21 | 2012-11-07 | 广东澳美铝业有限公司 | Aluminum profile polishing machine |
| CN202752968U (en) * | 2012-08-16 | 2013-02-27 | 宁波金田铜管有限公司 | Automatic deburring machine for copper pipes |
| CN202952296U (en) * | 2012-12-03 | 2013-05-29 | 安徽鑫煜门窗有限公司 | Edging grooving machine for glass fiber reinforced plastic door |
-
2013
- 2013-12-16 CN CN201310682634.5A patent/CN103707152B/en active Active
Patent Citations (7)
| Publication number | Priority date | Publication date | Assignee | Title |
|---|---|---|---|---|
| EP0846525A1 (en) * | 1996-10-16 | 1998-06-10 | CASTELMEC S.a.s di ROSSO VALERIO & C. | Method for edge grinding of glass plates |
| CN200977621Y (en) * | 2006-10-31 | 2007-11-21 | 龙其瑞 | Abrading block polishing device |
| CN101016116A (en) * | 2007-02-25 | 2007-08-15 | 常熟市诚达港务机械设备厂 | Orbit movable conveyor |
| KR20110111614A (en) * | 2010-04-05 | 2011-10-12 | (주)디아이엠 | Deburring Machine |
| CN202517362U (en) * | 2011-11-21 | 2012-11-07 | 广东澳美铝业有限公司 | Aluminum profile polishing machine |
| CN202752968U (en) * | 2012-08-16 | 2013-02-27 | 宁波金田铜管有限公司 | Automatic deburring machine for copper pipes |
| CN202952296U (en) * | 2012-12-03 | 2013-05-29 | 安徽鑫煜门窗有限公司 | Edging grooving machine for glass fiber reinforced plastic door |
Cited By (9)
| Publication number | Priority date | Publication date | Assignee | Title |
|---|---|---|---|---|
| CN104289998A (en) * | 2014-09-19 | 2015-01-21 | 张家港市和恒精工机械有限公司 | Automatic deburring machine for aluminium profiles |
| CN106862937A (en) * | 2017-04-18 | 2017-06-20 | 江苏飞斯铝业有限公司 | The cutting difunctional formula aluminium alloy cutting machine of deburring |
| CN107457641A (en) * | 2017-08-30 | 2017-12-12 | 湖州德耀金属制品有限公司 | A kind of burr remover of metallic plate |
| CN107457641B (en) * | 2017-08-30 | 2019-05-21 | 湖州德耀金属制品有限公司 | A kind of burr remover of metal plate |
| CN108356098A (en) * | 2018-04-04 | 2018-08-03 | 佛山职业技术学院 | A kind of stainless steel tube end processing device |
| CN108356098B (en) * | 2018-04-04 | 2024-04-02 | 佛山职业技术学院 | Stainless steel pipe end processing equipment |
| CN109465496A (en) * | 2018-11-15 | 2019-03-15 | 四川铭利达科技有限公司 | A kind of ultra-large type profile battery pack shell section material automatically removes burr device |
| CN109465704A (en) * | 2018-12-28 | 2019-03-15 | 重庆龙煜精密铜管有限公司 | Copper tube deburring equipment |
| CN110170845A (en) * | 2019-05-24 | 2019-08-27 | 浙江中达特钢股份有限公司 | A kind of Full-automatic cutting pipe device with flash removed function |
Also Published As
| Publication number | Publication date |
|---|---|
| CN103707152B (en) | 2016-11-09 |
Similar Documents
| Publication | Publication Date | Title |
|---|---|---|
| CN103707152B (en) | Aluminium section bar automatic deburring machine | |
| CN202555891U (en) | Full-automatic numerical control cutting machine for steel pipes | |
| CN102528136B (en) | Full-automatic numerical control steel tube cutting machine | |
| CN104759667A (en) | Double-surface numerical-control milling machine | |
| CN204657580U (en) | A kind of two-sided CNC milling machine | |
| CN104690756B (en) | Full automatic solar battery component chipping edger | |
| CN102756280A (en) | Elbow port cutting grinding machine | |
| CN202824872U (en) | Multistage bar cutting machine | |
| CN106425489A (en) | Automatic feeding and discharging edge cutting and rolling integrated equipment | |
| CN104999135A (en) | Double-blade expansion pipe grooving machine | |
| CN105563215A (en) | Bar feeding assisting device | |
| CN102909429B (en) | Numerical control saw cutting device with tensioning-and-lifting type feeding device | |
| CN116460232A (en) | Automatic equidistant linear cutting device and method for ball screw machining | |
| CN106863078A (en) | Opposed type sbrasive belt grinding machine people | |
| CN104511652A (en) | High-speed circular saw | |
| CN104384559A (en) | Numerical-control header pipe drilling machine | |
| CN105522217A (en) | Continuous type broaching machine for machining semicircle face | |
| CN110064936B (en) | Control method of section bar processing equipment | |
| CN102528135B (en) | Full-automatic numerical-control steel pipe cutter | |
| CN204277088U (en) | A kind of novel sawing machine | |
| CN202411505U (en) | Full automatic numerical control steel pipe cutting machine | |
| CN202317182U (en) | Elbow automatic flattening machine | |
| CN204800057U (en) | Double blade expansion pipe groover | |
| CN204545946U (en) | A kind of double column vertical lathes fine grinding device | |
| CN204353573U (en) | A kind of high speed circular saw |
Legal Events
| Date | Code | Title | Description |
|---|---|---|---|
| C06 | Publication | ||
| PB01 | Publication | ||
| C10 | Entry into substantive examination | ||
| SE01 | Entry into force of request for substantive examination | ||
| C14 | Grant of patent or utility model | ||
| GR01 | Patent grant | ||
| TR01 | Transfer of patent right | ||
| TR01 | Transfer of patent right |
Effective date of registration: 20221109 Address after: No. 169, Section 2, Yuanyuan Avenue, Jialing District, Nanchong City, Sichuan Province, 637500 Patentee after: Sichuan yuechuang Aluminum Co.,Ltd. Address before: No. 75, Industrial Street, Yingxi Industrial Park, Shunqing District, Nanchong, Sichuan 637000 Patentee before: NANCHONG CHANGYUAN ALUMINUM Co.,Ltd. |