CN103691343A - Concentric double-shaft gas-liquid stirring device - Google Patents
Concentric double-shaft gas-liquid stirring device Download PDFInfo
- Publication number
- CN103691343A CN103691343A CN201310620058.1A CN201310620058A CN103691343A CN 103691343 A CN103691343 A CN 103691343A CN 201310620058 A CN201310620058 A CN 201310620058A CN 103691343 A CN103691343 A CN 103691343A
- Authority
- CN
- China
- Prior art keywords
- paddle
- stirring
- gas
- frame
- stirring shaft
- Prior art date
- Legal status (The legal status is an assumption and is not a legal conclusion. Google has not performed a legal analysis and makes no representation as to the accuracy of the status listed.)
- Granted
Links
Images
Landscapes
- Mixers Of The Rotary Stirring Type (AREA)
Abstract
本发明公开了一种同心双轴气液搅拌装置。包括搅拌槽,外搅拌轴,内搅拌轴,框式外桨,内桨,气体分布器和进气装置;内搅拌轴分为上、下两段,通过法兰连接,内搅拌轴上段空套在外搅拌轴孔内,外搅拌轴两侧焊有对称的横梁,在搅拌槽内,同轴装有框式外桨,内桨和气体分布器,在搅拌槽底部外侧装有进气装置,搅拌槽底部一侧开有出料口。本发明产率高、副产物少;气液分散性能好;宽适应性;操作方便、灵活可调。内外桨的转速、转动模式、桨型组合等都可以根据不同的体系及气液搅拌目的等进行调节;另外,气体分布器的拆装也较容易。尤其适用于高粘及变粘体系下的气液搅拌。
The invention discloses a concentric biaxial gas-liquid stirring device. Including stirring tank, outer stirring shaft, inner stirring shaft, frame-type outer paddle, inner paddle, gas distributor and air intake device; the inner stirring shaft is divided into upper and lower sections, which are connected by flanges, and the upper section of the inner stirring shaft is empty In the hole of the outer stirring shaft, symmetrical beams are welded on both sides of the outer stirring shaft. In the stirring tank, a frame-type outer paddle, inner paddle and gas distributor are coaxially installed, and an air intake device is installed outside the bottom of the stirring tank. Stirring There is a discharge port on one side of the bottom of the tank. The invention has high yield, few by-products, good gas-liquid dispersion performance, wide adaptability, convenient operation, flexible adjustment. The speed, rotation mode, and paddle combination of the inner and outer paddles can all be adjusted according to different systems and gas-liquid mixing purposes; in addition, the disassembly and assembly of the gas distributor is also relatively easy. It is especially suitable for gas-liquid stirring in high-viscosity and variable-viscosity systems.
Description
技术领域 technical field
本发明涉及一种搅拌装置,具体地说是涉及适用于高粘及变粘体系下的一种同心双轴气液搅拌装置。 The invention relates to a stirring device, in particular to a concentric double-shaft gas-liquid stirring device suitable for high-viscosity and variable-viscosity systems.
背景技术 Background technique
气液搅拌反应器广泛应用于石油、化工、污水处理、生物发酵等过程工业中。现有气液搅拌反应器主要为单轴气液搅拌系统,它存在功能单一,只适用于特定的工艺流程等缺点,在水或低粘物系下搅拌混合、气液分散性能较好,但在高粘及变粘体系下的气液搅拌效果差、产率低、功率消耗大。而实际工业生产中,气液搅拌操作涉及的体系的物性大多较为复杂:粘度较高或者物料具有剪切变稀性等,如黄原胶的生产。因此,开发研究新型高效的气液搅拌装置具有十分显著的现实意义。 Gas-liquid stirred reactors are widely used in process industries such as petroleum, chemical industry, sewage treatment, and biological fermentation. The existing gas-liquid stirring reactor is mainly a uniaxial gas-liquid stirring system, which has the disadvantages of single function and is only suitable for specific technological processes. It has good stirring and mixing performance in water or low-viscosity system, and the gas-liquid dispersion performance is good, but In the high viscosity and variable viscosity system, the gas-liquid stirring effect is poor, the production rate is low, and the power consumption is large. In actual industrial production, the physical properties of the system involved in the gas-liquid mixing operation are mostly complex: high viscosity or shear thinning of the material, such as the production of xanthan gum. Therefore, the development and research of new and efficient gas-liquid stirring devices has very significant practical significance.
近年来,研制开发出的双轴搅拌器,已被广泛证明相对单轴搅拌器具有更宽的适应性,内外桨的转速、转动模式(同向、方向)、桨型组合灵活可调,尤其适用于高粘及变粘体系,具有搅拌混合效果好、功耗低的优点。但这些研究、应用主要是在单相体系下进行的,很少有人研究、开发气液两相体系下的双轴气液搅拌装置,尤其是带框式外桨的同心双轴气液搅拌装置。由于外桨的直径较大,一般为釜体直径的0.9-0.98倍,外桨与釜壁的间距相当小,又由于气液搅拌反应器中要安装进气装置(一般为气体分布器)。因此,如若想设计同心双轴气液搅拌装置,外桨和气体分布器之间如何布置是必须解决的问题。 In recent years, the research and development of the twin-shaft agitator has been widely proven to have wider adaptability than the single-shaft agitator. It is suitable for high-viscosity and variable-viscosity systems, and has the advantages of good mixing effect and low power consumption. However, these studies and applications are mainly carried out in single-phase systems, and few people have studied and developed biaxial gas-liquid stirring devices in gas-liquid two-phase systems, especially concentric biaxial gas-liquid stirring devices with frame-type outer paddles. . Due to the large diameter of the outer paddle, which is generally 0.9-0.98 times the diameter of the kettle body, the distance between the outer paddle and the kettle wall is quite small, and an air inlet device (usually a gas distributor) must be installed in the gas-liquid stirring reactor. Therefore, if one wants to design a concentric biaxial gas-liquid stirring device, how to arrange the outer paddle and the gas distributor must be solved.
发明内容 Contents of the invention
本发明的目的是通过创新设计框式外桨及气体分布器,提供一种适用于高粘及变粘体系下的同心双轴气液搅拌装置,实现气液搅拌操作节能、高效的目的。 The purpose of the present invention is to provide a concentric biaxial gas-liquid stirring device suitable for high-viscosity and variable-viscosity systems through the innovative design of frame-type outer paddles and gas distributors, so as to achieve energy-saving and high-efficiency gas-liquid stirring operations.
本发明的目的是通过如下的技术方案来实现的: The purpose of the present invention is achieved through the following technical solutions:
本发明包括搅拌槽,外搅拌轴,内搅拌轴,框式外桨,内桨,气体分布器;内搅拌轴分为上、下两段,通过法兰连接,内搅拌轴上段空套在外搅拌轴孔内,外搅拌轴两侧焊有对称的横梁,在搅拌槽内,装有框式外桨,框式外桨中同轴装有内桨和气体分布器,在搅拌槽底部外侧装有进气装置,搅拌槽底部一侧开有出料口。 The invention includes a stirring tank, an outer stirring shaft, an inner stirring shaft, a frame-type outer paddle, an inner paddle, and a gas distributor; the inner stirring shaft is divided into upper and lower sections, which are connected by flanges, and the upper section of the inner stirring shaft is empty and stirred outside In the shaft hole, symmetrical beams are welded on both sides of the outer stirring shaft. In the stirring tank, a frame-type outer paddle is installed. The frame-type outer paddle is coaxially equipped with an inner paddle and a gas distributor. The air inlet device has a discharge port on the bottom side of the stirring tank.
所述的框式外桨底部中间开口,框式外桨中间开口通过铁环焊连在一起,框式外桨两上端面分别与所述两横梁端面固定连接,框式外桨的桨径为搅拌槽内径的0.9~0.98倍,位于框式外桨中的内搅拌轴下段装有1个以上的内桨。 The middle opening at the bottom of the frame-type outer paddle, the middle opening of the frame-type outer paddle is welded together by iron rings, the two upper end faces of the frame-type outer paddle are respectively fixedly connected with the end faces of the two beams, and the diameter of the frame-type outer paddle is The inner diameter of the stirring tank is 0.9 to 0.98 times, and the lower part of the inner stirring shaft in the frame-type outer paddle is equipped with more than one inner paddle.
所述的气体分布器包括下部开有出气孔的环状管、水平管和竖直管,环状管内圈焊接有水平管,水平管焊接有竖直管,在竖直管中部焊有圆环,竖直管的下部分别开有内螺纹和外螺纹。 The gas distributor includes an annular tube with an air outlet in the lower part, a horizontal tube and a vertical tube, the inner ring of the annular tube is welded with a horizontal tube, the horizontal tube is welded with a vertical tube, and a ring is welded in the middle of the vertical tube , the lower part of the vertical pipe is respectively provided with internal threads and external threads.
所述的进气装置,从上至下依次由双头接头,两通阀,快速接头和进气管连接而成,双头接头上端与气体分布器的竖直管下部的内螺纹连接。 The air intake device is formed by connecting a double-head joint, a two-way valve, a quick joint and an air intake pipe from top to bottom, and the upper end of the double-head joint is connected with the internal thread at the lower part of the vertical pipe of the gas distributor.
所述的内桨为六直叶圆盘涡轮桨或六直叶开启涡轮桨或六斜叶开启涡轮桨。 The inner paddle is a six straight blade disc turbine blade or a six straight blade opening turbine blade or a six oblique blade opening turbine blade.
本发明具有的有益效果是: The beneficial effects that the present invention has are:
1)产率高、副产物少。由于框式外桨的存在,达到相同的搅拌混合效果,此同心双轴气液搅拌装置比传统单轴搅拌装置所需转速要低,因此剪切力相对较小,对气液搅拌反应器内原料和产物的剪切破坏均较小,因此可以提高产率,减少副产物的生成。 1) High yield and less by-products. Due to the existence of the frame-type outer paddles, the same stirring and mixing effect is achieved. The concentric two-axis gas-liquid stirring device requires a lower speed than the traditional single-shaft stirring device, so the shear force is relatively small, and the gas-liquid stirring reactor is relatively small. The shear damage of raw materials and products is small, so the yield can be increased and the formation of by-products can be reduced.
2)气液分散性能好。由于框式外桨的存在,近壁区气含率相对传统单轴气液搅拌装置更高,气液反应器内的整体分散效果更好。 2) Good gas-liquid dispersion performance. Due to the existence of the frame-type outer paddle, the gas holdup in the near-wall area is higher than that of the traditional uniaxial gas-liquid stirring device, and the overall dispersion effect in the gas-liquid reactor is better.
3)宽适应性。在中高粘及变粘体系下均有较好的搅拌混合及气液分散性能。 3) Wide adaptability. It has good stirring mixing and gas-liquid dispersion performance in medium-high viscosity and viscous systems.
4)操作方便、灵活可调。内外桨的转速、转动模式、桨型组合等都可以根据不同的体系及气液搅拌目的等进行调节;另外,气体分布器的拆装也较容易。 4) Easy to operate, flexible and adjustable. The speed, rotation mode, and combination of paddles of the inner and outer paddles can all be adjusted according to different systems and gas-liquid mixing purposes; in addition, the disassembly and assembly of the gas distributor is also relatively easy.
附图说明 Description of drawings
图1是本发明的结构原理图。 Fig. 1 is a schematic diagram of the structure of the present invention.
图2是本发明中进气装置部分的结构原理图。 Fig. 2 is a structural principle diagram of the air intake device part in the present invention.
图3是本发明中框式外桨的主视图。 Fig. 3 is a front view of the middle frame type outer propeller of the present invention.
图4是本发明中框式外桨的俯视图。 Fig. 4 is a top view of the middle frame type outer propeller of the present invention.
图5是本发明中气体分布器的主视图。 Fig. 5 is a front view of the gas distributor in the present invention.
图6是本发明中气体分布器的俯视图。 Fig. 6 is a top view of the gas distributor in the present invention.
图中:1、搅拌槽,2、外搅拌轴,3、内搅拌轴,4、框式外桨,5、内桨,6、气体分布器,7、垫片,8、螺母,9、双头接头,10、两通阀,11、快速接头,12、进气管,1.1、套管,1.2、排料口,2.1、横梁,2.2、固定板,4.1、铁环,4.2、加强筋,4.3、矩形平板,6.1、圆环,6.2、内螺纹,6.3、外螺纹。 In the figure: 1. Stirring tank, 2. Outer stirring shaft, 3. Inner stirring shaft, 4. Framed outer paddle, 5. Inner paddle, 6. Gas distributor, 7. Gasket, 8. Nut, 9. Double Head joint, 10, two-way valve, 11, quick connector, 12, intake pipe, 1.1, bushing, 1.2, discharge port, 2.1, beam, 2.2, fixed plate, 4.1, iron ring, 4.2, reinforcing rib, 4.3 , Rectangular plate, 6.1, ring, 6.2, internal thread, 6.3, external thread.
具体实施方式 Detailed ways
下面结合附图和实施例对本发明作进一步说明。 The present invention will be further described below in conjunction with drawings and embodiments.
如图1所示,本发明包括搅拌槽1,外搅拌轴2,内搅拌轴3,框式外桨4,内桨5,气体分布器6,垫片7,螺母8,双头接头9,两通阀10,快速接头11,进气管12;内搅拌轴3分为上、下两段,通过法兰连接,内搅拌轴3上段空套在外搅拌轴2孔内(即内搅拌轴3的转动不带动外搅拌轴2转动),内搅拌轴3下段可拆卸,且其可制成不同的长度,方便装拆、更换内桨5;外搅拌轴2两侧焊有对称的横梁2.1,,两横梁2.1端部均有固定板2.2,方便与框式外桨4进行固定连接,在搅拌槽1内,装有框式外桨4,框式外桨4中同轴装有内桨5、气体分布器6以及垫片7,垫片7从气体分布器6竖直管下端向上套入气体分布器6,气体分布器6从搅拌槽1内自上向下插入搅拌槽1封头正中位置的套管1.1内,通过垫片7压在搅拌槽1底部,在搅拌槽1底部外侧装有螺母8和进气装置,装螺母8是为了通过螺纹锁紧的方式固定气体分布器,搅拌槽1底部一侧开有出料口1.2,用于排料。
As shown in Figure 1, the present invention includes a
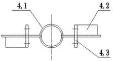
如图1、图3、图4所示,所述的框式外桨4底部开口,框式外桨4底部开口通过铁环4.1焊连在一起,以便气体分布器6可以从铁环4.1中插入,框式外桨4上部焊有加强筋4.2,使框式外桨4在转动过程中保持稳定,与外搅拌轴2连接的框式外桨4的端部为矩形平板4.3,框式外桨4的桨径为搅拌槽1内径的0.9~0.98倍,位于框式外桨4中的内搅拌轴3下段装有1个以上的内桨5,图1中内桨5的个数为1个,内桨5的个数依物料高度及物料的粘度等性质的变化而变化。
As shown in Fig. 1, Fig. 3 and Fig. 4, the bottom opening of the frame-type
如图1、图2、图5、图6所示,所述的气体分布器6包括下部开有出气孔的环状管、水平管和竖直管,环状管内圈焊接有水平管,水平管焊接有竖直管,在竖直管中部焊有圆环6.1,竖直管的下部分别开有内螺纹6.2和外螺纹6.3,开外螺纹6.3是为了安装螺母8,然后通过螺纹锁紧的方式固定气体分布器6,开内螺纹6.2是为了连接进气装置,且螺纹连接的方式使得进气装置及气体分布器6的拆装、更换较为方便、快捷。气体分布器6的环状管部分的环径,竖直管的直径,以及竖直管上圆环6.1的位置,气体分布器6的总高度及螺纹高度等参数都可以改变,以适应不同的工况及操作条件。
As shown in Fig. 1, Fig. 2, Fig. 5, and Fig. 6, the
如图1、图2所示,所述的进气装置,从上至下依次由双头接头9,两通阀10,快速接头11和进气管12连接而成,双头接头9上端与气体分布器6的竖直管下部的内螺纹6.2连接,两通阀10可以防止搅拌槽1中液体逆流,快速接头11可以快速拆装进气管12;此进气装置的结构,使得气体分布器6的更换和拆装也较方便。
As shown in Figures 1 and 2, the air intake device is formed by connecting a double-
如图1所示,所述的内桨5为六直叶圆盘涡轮桨或六直叶开启涡轮桨或六斜叶开启涡轮桨,内桨5可以是不同的结构形式、不同的层数,根据实际工况和操作条件进行调节。
As shown in Figure 1, the
本发明的工作原理:Working principle of the present invention:
首先,安装气体分布器,从搅拌槽内部由上向下把气体分布器插入到搅拌槽底部的套管内,通过垫片压紧搅拌槽底部,气体分布器下部外螺纹装有螺母,压紧搅拌槽底部的套管,通过螺纹锁紧的方式固定气体分布器。然后,安装进气装置,将双头接头拧进气体分布器下部的内螺纹中,双头接头下部连接两通阀,两通阀再连接快速接头,快速接头连接进气管。接下来安装外桨,然后安装装有内桨的内搅拌轴,至此装置安装完成。然后开始加料,加至一定高度,开启电机,调节内外桨的转速,转动一段时间后,打开两通阀向搅拌槽中通气,气体经进气管、两通阀、竖直管和水平管流入环状管,气体经环状管下部的出气孔从下向上流入搅拌槽,其目的使进入搅拌槽的气流均匀。外桨和内桨由不同的电机驱动、控制,可以有不同的转速和不同的转向。搅拌完成后,停止通气,并关闭两通阀,打开排料口进行排料,然后再拆卸内桨、外桨和气体分布器等。 First, install the gas distributor, insert the gas distributor into the casing at the bottom of the stirring tank from top to bottom from the inside of the stirring tank, press the bottom of the stirring tank through the gasket, and the outer thread of the lower part of the gas distributor is equipped with a nut, press and stir The sleeve at the bottom of the tank fixes the gas distributor by thread locking. Then, install the air intake device, screw the double-ended joint into the inner thread of the lower part of the gas distributor, connect the lower part of the double-ended joint to the two-way valve, and then connect the two-way valve to the quick connector, which is connected to the intake pipe. Next, the outer paddle is installed, and then the inner stirring shaft with the inner paddle is installed, so far the installation of the device is completed. Then start to feed, add to a certain height, turn on the motor, adjust the speed of the inner and outer paddles, after a period of rotation, open the two-way valve to ventilate into the stirring tank, the gas flows into the ring through the intake pipe, two-way valve, vertical pipe and horizontal pipe The gas flows into the stirring tank from bottom to top through the air outlet at the lower part of the ring tube, the purpose of which is to make the air flow into the stirring tank uniform. The outer paddle and the inner paddle are driven and controlled by different motors, and can have different rotation speeds and different steering directions. After the stirring is completed, stop the ventilation, close the two-way valve, open the discharge port for discharge, and then disassemble the inner paddle, outer paddle and gas distributor.
Claims (5)
Priority Applications (1)
| Application Number | Priority Date | Filing Date | Title |
|---|---|---|---|
| CN201310620058.1A CN103691343B (en) | 2013-11-29 | 2013-11-29 | Concentric double-shaft gas-liquid stirring device |
Applications Claiming Priority (1)
| Application Number | Priority Date | Filing Date | Title |
|---|---|---|---|
| CN201310620058.1A CN103691343B (en) | 2013-11-29 | 2013-11-29 | Concentric double-shaft gas-liquid stirring device |
Publications (2)
| Publication Number | Publication Date |
|---|---|
| CN103691343A true CN103691343A (en) | 2014-04-02 |
| CN103691343B CN103691343B (en) | 2015-08-26 |
Family
ID=50353103
Family Applications (1)
| Application Number | Title | Priority Date | Filing Date |
|---|---|---|---|
| CN201310620058.1A Expired - Fee Related CN103691343B (en) | 2013-11-29 | 2013-11-29 | Concentric double-shaft gas-liquid stirring device |
Country Status (1)
| Country | Link |
|---|---|
| CN (1) | CN103691343B (en) |
Cited By (5)
| Publication number | Priority date | Publication date | Assignee | Title |
|---|---|---|---|---|
| CN104324652A (en) * | 2014-10-31 | 2015-02-04 | 东莞市青麦田数码科技有限公司 | Blade structure of beating machine |
| CN109331770A (en) * | 2018-12-05 | 2019-02-15 | 威海天宇新材料科技有限公司 | A kind of chemical reaction kettle is pre-mixed device |
| CN109663523A (en) * | 2018-12-28 | 2019-04-23 | 南京工业大学 | A combined stirring paddle |
| CN114682195A (en) * | 2020-12-31 | 2022-07-01 | 中国石油化工集团公司 | Pre-polycondensation reaction kettle and application thereof |
| CN114832680A (en) * | 2022-05-16 | 2022-08-02 | 浙江大学 | High shear strengthening device suitable for depolymerization and dispersion of nano particles |
-
2013
- 2013-11-29 CN CN201310620058.1A patent/CN103691343B/en not_active Expired - Fee Related
Cited By (6)
| Publication number | Priority date | Publication date | Assignee | Title |
|---|---|---|---|---|
| CN104324652A (en) * | 2014-10-31 | 2015-02-04 | 东莞市青麦田数码科技有限公司 | Blade structure of beating machine |
| CN109331770A (en) * | 2018-12-05 | 2019-02-15 | 威海天宇新材料科技有限公司 | A kind of chemical reaction kettle is pre-mixed device |
| CN109663523A (en) * | 2018-12-28 | 2019-04-23 | 南京工业大学 | A combined stirring paddle |
| CN114682195A (en) * | 2020-12-31 | 2022-07-01 | 中国石油化工集团公司 | Pre-polycondensation reaction kettle and application thereof |
| CN114682195B (en) * | 2020-12-31 | 2024-05-28 | 中国石油化工集团公司 | Pre-polycondensation reaction kettle and application thereof |
| CN114832680A (en) * | 2022-05-16 | 2022-08-02 | 浙江大学 | High shear strengthening device suitable for depolymerization and dispersion of nano particles |
Also Published As
| Publication number | Publication date |
|---|---|
| CN103691343B (en) | 2015-08-26 |
Similar Documents
| Publication | Publication Date | Title |
|---|---|---|
| CN103691343B (en) | Concentric double-shaft gas-liquid stirring device | |
| CN102836665A (en) | Mixing stirrer with paddle with airflow driven by air pressure | |
| CN107537338A (en) | A kind of efficiently hybrid technology is equipped with energy-conservation | |
| CN202237840U (en) | Impeller type solvent stirring mixer | |
| CN204294224U (en) | A kind of self-suction stirrer | |
| CN205127846U (en) | Reaction water turbine line mixer | |
| CN204352597U (en) | A kind of flotation concentrate bucket froth breaker | |
| CN203620539U (en) | Concentric dual-shaft gas-liquid stirring device | |
| CN203620540U (en) | Concentric double-shaft stirrer adopting mixing outer paddle | |
| CN201799125U (en) | Multi-medium concentrator | |
| CN204724167U (en) | Enhanced plastic reactor | |
| CN204502893U (en) | A kind of agitator with planet vane | |
| CN207042318U (en) | Chemical machinery agitator | |
| CN202724746U (en) | Liquid-liquid extraction tower with multistage counterflow variable diameters | |
| CN202315788U (en) | Electric stirring type pipeline mixer | |
| CN207913616U (en) | A kind of coating stirring cooling device | |
| CN207307664U (en) | Spiral UTILIZATION OF VESIDUAL HEAT IN agitator tank | |
| CN206577638U (en) | A kind of agitator tank for being used to produce laundry sheet | |
| CN201244459Y (en) | Multistage countercurrent agitation valve | |
| CN205850756U (en) | A kind of analytical chemistry material-stirring device | |
| CN204017734U (en) | A kind of composite stirring equipment | |
| CN211514537U (en) | Reaction kettle for chemical industry | |
| CN212167163U (en) | A mixer for water treatment | |
| CN202951475U (en) | Hyperbolic bottom stirring reaction still | |
| CN115709046A (en) | Carbonizer for producing nano calcium, magnesium and strontium wires |
Legal Events
| Date | Code | Title | Description |
|---|---|---|---|
| C06 | Publication | ||
| PB01 | Publication | ||
| C10 | Entry into substantive examination | ||
| SE01 | Entry into force of request for substantive examination | ||
| C14 | Grant of patent or utility model | ||
| GR01 | Patent grant | ||
| CF01 | Termination of patent right due to non-payment of annual fee | ||
| CF01 | Termination of patent right due to non-payment of annual fee |
Granted publication date: 20150826 |
