CN103663235A - Hand-jack for rod - Google Patents

Hand-jack for rod Download PDF

Info

Publication number
CN103663235A
CN103663235A CN201310408748.0A CN201310408748A CN103663235A CN 103663235 A CN103663235 A CN 103663235A CN 201310408748 A CN201310408748 A CN 201310408748A CN 103663235 A CN103663235 A CN 103663235A
Authority
CN
China
Prior art keywords
crossbeams
jack
bar
hand
equipment
Prior art date
Legal status (The legal status is an assumption and is not a legal conclusion. Google has not performed a legal analysis and makes no representation as to the accuracy of the status listed.)
Pending
Application number
CN201310408748.0A
Other languages
Chinese (zh)
Inventor
阿不来提
杜宾
依玛木
张茂勇
Current Assignee (The listed assignees may be inaccurate. Google has not performed a legal analysis and makes no representation or warranty as to the accuracy of the list.)
State Grid Corp of China SGCC
Jiangnan Power Supply Co of State Grid Xinjiang Electric Power Co Ltd
Original Assignee
State Grid Corp of China SGCC
Jiangnan Power Supply Co of State Grid Xinjiang Electric Power Co Ltd
Priority date (The priority date is an assumption and is not a legal conclusion. Google has not performed a legal analysis and makes no representation as to the accuracy of the date listed.)
Filing date
Publication date
Application filed by State Grid Corp of China SGCC, Jiangnan Power Supply Co of State Grid Xinjiang Electric Power Co Ltd filed Critical State Grid Corp of China SGCC
Priority to CN201310408748.0A priority Critical patent/CN103663235A/en
Publication of CN103663235A publication Critical patent/CN103663235A/en
Pending legal-status Critical Current

Links

Images

Landscapes

  • Load-Engaging Elements For Cranes (AREA)

Abstract

本发明涉及一种杆用手动起重器其包括两根横梁,在两横梁上设置有支撑杆,支撑杆下端和抱箍相连,在两横梁前端设置有垂片,两垂片之间设置有定轴,定轴上套接绞盘。由于实施上述技术方案,本发明结构简单,其可快速固定在电杆上,其利用绞盘降低起重重量,可快速、稳定的将设备吊至工作面,即解决了高空设备不易起吊的难题,又保护了起吊人员和设备的安全。

Figure 201310408748

The invention relates to a manual jack for poles, which comprises two crossbeams, a support rod is arranged on the two crossbeams, the lower end of the support rod is connected with a hoop, a hanging piece is arranged at the front end of the two crossbeams, and a hanging piece is arranged between the two hanging pieces. A fixed shaft is sleeved with a winch on the fixed shaft. Due to the implementation of the above technical solution, the present invention has a simple structure, can be quickly fixed on the electric pole, and uses a winch to reduce the lifting weight, so that the equipment can be hoisted to the working surface quickly and stably, which solves the problem that high-altitude equipment is not easy to lift. It also protects the safety of lifting personnel and equipment.

Figure 201310408748

Description

Bar hand-jack
Technical field
The present invention relates to a kind of hoisting device, relate in particular to a kind of being fixed on electric pole, for electric power maintainer's bar hand-jack.
Background technology
Power department often can run into operation on bar in maintenance repair and handling labor, and weight, large equipment and the objects such as voltage transformer, circuit breaker are installed, and due to environments such as being subject to periphery road conditions, limits, and crane cannot be reached the spot.So it is very inconvenient that equipment is transported to eminence, mostly is now to install aloft fixed pulley, with rope, walks around fixed pulley, is assembled into easy lifting appliance, and this kind of mode comparatively required great effort, and careless slightly, and equipment will drop, and causes personnel and property damage.Even if sometimes there is crane, but part circuit is in farmland, and crane enters the crops that peasant can be damaged in camp site, to peasant, causes damage.
Summary of the invention
The object of the invention is to propose a kind of laborsaving, efficient, quick for installation, portable bar hand-jack.
The object of the present invention is achieved like this: with hand-jack, it comprises two crossbeams to bar, on two crossbeams, is provided with strut bar, and strut bar lower end is connected with anchor ear, at two crossbeam front ends, is provided with lappet, between two lappets, is provided with dead axle, is socketed capstan winch on dead axle.
Owing to implementing technique scheme, the present invention is simple in structure, and it can be fixed on electric pole fast; it utilizes capstan winch to reduce lifting weight; can be quick, stable equipment is winched to driving surface, solved the difficult problem that altitude plant is difficult for lifting, protected again the safety of lifting personnel and equipment.
Accompanying drawing explanation: concrete structure of the present invention is provided by following drawings and Examples:
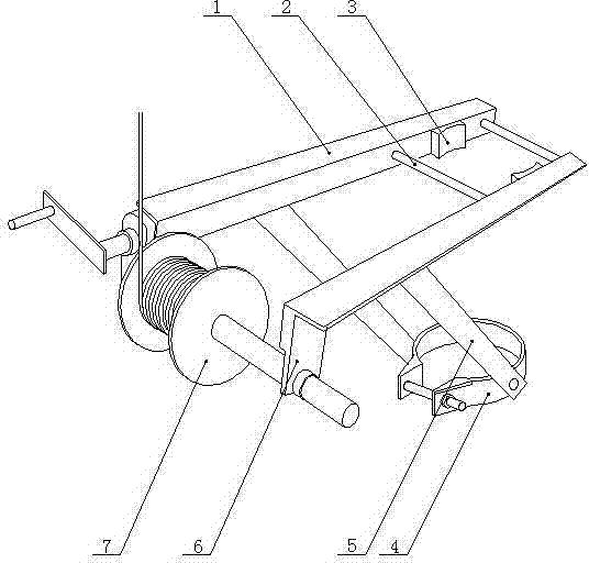
Fig. 1 is bar hand-jack structural representation.
Legend: 1, crossbeam, 2, position-limited lever, 3, limiting stopper, 4, anchor ear, 5, strut bar, 6, lappet, 7, capstan winch.
The specific embodiment: the present invention is not subject to the restriction of following embodiment, can determine concrete embodiment according to technical scheme of the present invention and actual conditions.
Embodiment: as shown in Figure 1, bar comprises two crossbeams 1 with hand-jack, is provided with strut bar 5 on two crossbeams 1, and strut bar 5 lower ends are connected with anchor ear 4.At two crossbeam 1 front ends, be provided with between lappet 6, two lappets 6 and be provided with dead axle, on dead axle, be socketed capstan winch 7.At two crossbeam 1 rear portion opposite positions, being provided with inside face is that limiting stopper 3, two limiting stopper 3 front and rears of circular arc are provided with the position-limited lever 2 that connects two crossbeams 1, and position-limited lever 2 is located by jam nut.Two crossbeams 1 can parallelly be laid, and also can be front wide and rear narrow splayed and lay.At two crossbeam 1 middle parts, offer corresponding through hole, can pass through to regulate position-limited lever 2 in the position of different through holes and the fastening degree of jam nut, thereby regulate the opening angle of two crossbeams 1.
During use, anchor ear 4 is placed on electric pole, electric pole is snapped in limiting stopper 3 simultaneously.After locking anchor ear 4, then by position-limited lever 2 location.Pulley is installed in head of mast, and the steel rope of capstan winch 7 rises up into pulley, needs the equipment steel rope fixation of installation, and the crank on rotation capstan winch 7 can be realized the handling of equipment.
Above technical characterictic has formed most preferred embodiment of the present invention, and it has stronger comformability and best implementation result, can increase and decrease according to actual needs inessential technical characterictic, meets the needs of different situations.

Claims (4)

1. a bar hand-jack, is characterized in that: it comprises two crossbeams, on two crossbeams, is provided with strut bar, and strut bar lower end is connected with anchor ear, at two crossbeam front ends, is provided with lappet, between two lappets, is provided with dead axle, is socketed capstan winch on dead axle.
2. bar hand-jack as claimed in claim 1, is characterized in that: at two crossbeam rear portion opposite positions, be provided with the limiting stopper that inside face is circular arc, two limiting stopper front and rears are provided with the position-limited lever that connects two crossbeams, and position-limited lever is located by jam nut.
3. bar hand-jack as claimed in claim 1, is characterized in that: two crossbeams can parallelly be laid, and also can be front wide and rear narrow splayed and lay.
4. bar hand-jack as claimed in claim 1, is characterized in that: at two crossbeam middle parts, offer corresponding through hole.
CN201310408748.0A 2013-09-10 2013-09-10 Hand-jack for rod Pending CN103663235A (en)

Priority Applications (1)

Application Number Priority Date Filing Date Title
CN201310408748.0A CN103663235A (en) 2013-09-10 2013-09-10 Hand-jack for rod

Applications Claiming Priority (1)

Application Number Priority Date Filing Date Title
CN201310408748.0A CN103663235A (en) 2013-09-10 2013-09-10 Hand-jack for rod

Publications (1)

Publication Number Publication Date
CN103663235A true CN103663235A (en) 2014-03-26

Family

ID=50302166

Family Applications (1)

Application Number Title Priority Date Filing Date
CN201310408748.0A Pending CN103663235A (en) 2013-09-10 2013-09-10 Hand-jack for rod

Country Status (1)

Country Link
CN (1) CN103663235A (en)

Cited By (5)

* Cited by examiner, † Cited by third party
Publication number Priority date Publication date Assignee Title
CN104192746A (en) * 2014-09-05 2014-12-10 国家电网公司 Hand-cranking hoisting device fixed to electric pole
CN104340899A (en) * 2014-10-22 2015-02-11 国网山东省电力公司聊城供电公司 Manual gear type column switch hoisting device and application thereof
CN105668445A (en) * 2016-03-25 2016-06-15 国网山东省电力公司东明县供电公司 Portable lifting device for power distribution construction
CN107902582A (en) * 2017-11-14 2018-04-13 汇源电气有限公司 Steep mountain carrying process on a kind of new concrete electric pole
CN110867767A (en) * 2019-10-22 2020-03-06 云南电网有限责任公司曲靖供电局 Auxiliary device for replacing 500kV heavy-load linear insulator string in electrified manner

Citations (6)

* Cited by examiner, † Cited by third party
Publication number Priority date Publication date Assignee Title
US7913980B1 (en) * 2009-02-04 2011-03-29 Shawn Michael Cipriano Adjustable, collapsible and portable game hoist
CN102336378A (en) * 2010-07-27 2012-02-01 廖伟 On-pole lifting device
CN202415016U (en) * 2011-12-07 2012-09-05 河南省电力公司南阳供电公司 Portable transformer lifting appliance
CN102689849A (en) * 2012-06-15 2012-09-26 辽宁省电力有限公司抚顺供电公司 Lifting device for replacing transformer
CN202643208U (en) * 2012-07-13 2013-01-02 国家电网公司 Hoisting device for electric pole
CN203439984U (en) * 2013-09-10 2014-02-19 国家电网公司 Handjack for pole

Patent Citations (6)

* Cited by examiner, † Cited by third party
Publication number Priority date Publication date Assignee Title
US7913980B1 (en) * 2009-02-04 2011-03-29 Shawn Michael Cipriano Adjustable, collapsible and portable game hoist
CN102336378A (en) * 2010-07-27 2012-02-01 廖伟 On-pole lifting device
CN202415016U (en) * 2011-12-07 2012-09-05 河南省电力公司南阳供电公司 Portable transformer lifting appliance
CN102689849A (en) * 2012-06-15 2012-09-26 辽宁省电力有限公司抚顺供电公司 Lifting device for replacing transformer
CN202643208U (en) * 2012-07-13 2013-01-02 国家电网公司 Hoisting device for electric pole
CN203439984U (en) * 2013-09-10 2014-02-19 国家电网公司 Handjack for pole

Cited By (5)

* Cited by examiner, † Cited by third party
Publication number Priority date Publication date Assignee Title
CN104192746A (en) * 2014-09-05 2014-12-10 国家电网公司 Hand-cranking hoisting device fixed to electric pole
CN104340899A (en) * 2014-10-22 2015-02-11 国网山东省电力公司聊城供电公司 Manual gear type column switch hoisting device and application thereof
CN105668445A (en) * 2016-03-25 2016-06-15 国网山东省电力公司东明县供电公司 Portable lifting device for power distribution construction
CN107902582A (en) * 2017-11-14 2018-04-13 汇源电气有限公司 Steep mountain carrying process on a kind of new concrete electric pole
CN110867767A (en) * 2019-10-22 2020-03-06 云南电网有限责任公司曲靖供电局 Auxiliary device for replacing 500kV heavy-load linear insulator string in electrified manner

Similar Documents

Publication Publication Date Title
CN103613031B (en) Voltage transformer simple and easy hoisting device
CN203201216U (en) Vertical rod centralizer
CN103663235A (en) Hand-jack for rod
CN102040166A (en) Hoisting tool for equipment on pillar
CN204848091U (en) Steel sheet cross arm hoisting accessory
CN103001146A (en) Steel pipe pole operation platform and usage method thereof
CN201517022U (en) Lifting tools for pole-mounted equipment
CN205222518U (en) Outdoor equipment hoisting accessory
CN201868790U (en) Insulating gap bridge for repairing power lines
CN203439984U (en) Handjack for pole
CN102992203A (en) Simple hoisting device for steel structure bridge installation
CN204624961U (en) Automatic decoupling spreader for high-altitude hoisting of steel column beams
CN202744232U (en) Tower crane long suspension arm lifting steel rope supporting device
CN204549923U (en) The mobile mast-up of a kind of chemical equipment overhaul
CN201336516Y (en) Device for manually installing pole top switch
CN202967922U (en) Simple hoisting device for mounting steel structural bridge
CN202594699U (en) Power transmission line lifting device for steel pipe tower
KR101317384B1 (en) The hoisting and installing method and apparatus of wind turbines by using the self tower
CN205132991U (en) Become width of cloth dolly with can dismantle landing leg
CN104113014A (en) Upward carrying wire lifting trolley
CN203288976U (en) Isolating switch hoisting device
CN211172126U (en) An excavator with a boom
CN204760824U (en) Small -size assembled hoist device
CN203626372U (en) Multifunctional hoop device for assembling mounting mast
CN202488035U (en) Hoisting device for maintenance of power transmission line above concrete poles

Legal Events

Date Code Title Description
PB01 Publication
PB01 Publication
C10 Entry into substantive examination
SE01 Entry into force of request for substantive examination
WD01 Invention patent application deemed withdrawn after publication
WD01 Invention patent application deemed withdrawn after publication

Application publication date: 20140326