CN103656799A - 预充式注射器 - Google Patents

预充式注射器 Download PDF

Info

Publication number
CN103656799A
CN103656799A CN201310630705.7A CN201310630705A CN103656799A CN 103656799 A CN103656799 A CN 103656799A CN 201310630705 A CN201310630705 A CN 201310630705A CN 103656799 A CN103656799 A CN 103656799A
Authority
CN
China
Prior art keywords
spiral base
outer sleeve
cylinder neck
plug
place
Prior art date
Legal status (The legal status is an assumption and is not a legal conclusion. Google has not performed a legal analysis and makes no representation as to the accuracy of the status listed.)
Granted
Application number
CN201310630705.7A
Other languages
English (en)
Other versions
CN103656799B (zh
Inventor
张林锋
Current Assignee (The listed assignees may be inaccurate. Google has not performed a legal analysis and makes no representation or warranty as to the accuracy of the list.)
Beipu Medical Technology Co.,Ltd.
Original Assignee
Wenzhou Beipu Science & Technology Co Ltd
Priority date (The priority date is an assumption and is not a legal conclusion. Google has not performed a legal analysis and makes no representation as to the accuracy of the date listed.)
Filing date
Publication date
Application filed by Wenzhou Beipu Science & Technology Co Ltd filed Critical Wenzhou Beipu Science & Technology Co Ltd
Priority to CN201310630705.7A priority Critical patent/CN103656799B/zh
Publication of CN103656799A publication Critical patent/CN103656799A/zh
Application granted granted Critical
Publication of CN103656799B publication Critical patent/CN103656799B/zh
Active legal-status Critical Current
Anticipated expiration legal-status Critical

Links

Images

Landscapes

  • Infusion, Injection, And Reservoir Apparatuses (AREA)

Abstract

本发明公开了一种预充式注射器,设计结构是注射器前端必须带有至少一连通座,注射器筒体内设有一卡式瓶,初始状态连通座和卡式瓶呈分开状,使用时可以移动连通座或者卡式瓶,使其连通并完成注射。产品优点是注射或者冲洗时无需进行药液抽吸,可以直接使用,减少了操作步骤,降低了交叉感染机会;本专利可以利用现有的药液瓶加装注射器就可以实现,而其它的预灌封注射器、导管冲洗器、预冲式冲管注射器需要重新建立特殊的生产线才能生产,可大大降低了普及使用的门槛。

Description

预充式注射器
技术领域
本发明涉及医疗器械的技术领域,具体的说是预充式注射器,特别涉及其机械连接结构。
背景技术
对比文件一,专利号:CN201080065717.4,申请日:2010.12.28,申请公布号: CN102821803A,专利权人:泰尔茂株式会社,本案公开了“一种预充式注射器”,其由预充式注射器主体和柱塞构成,该预充式注射器主体由外筒、以能够在该外筒内滑动的方式收纳在该外筒内的垫片、用于密封上述外筒的前端开口部的密封构件、收纳于被形成在上述外筒内的药剂收纳部的药剂构成,该柱塞已安装于上述垫片或者能够安装于上述垫片,其特征在于,上述垫片是前端封闭且后端开口的筒状体,并且由具有自后端的开口延伸到前端侧的内腔部的垫片主体和安装于上述垫片主体的柱塞安装用构件构成,上述垫片主体具有被设于上述内腔部的内表面的柱塞安装用构件防脱用肋,上述柱塞安装用构件是具有自前端贯穿到后端的中空部、且能够收纳于上述垫片主体的上述内腔部内的筒状体,该柱塞安装用构件包括:外表面突出部,其设于该柱塞安装用构件的外表面,用于与上述垫片主体的上述柱塞安装用构件防脱用肋卡合而限制上述柱塞安装用构件自上述垫片主体脱离;能够弹性变形的多个内部突出部,其自上述后端侧的内侧部向上述柱塞安装用构件的中心方向以及前端方向倾斜地延伸,在未到达上述柱塞安装用构件的中心的位置处具有自由端;柱塞防脱用卡定部,其形成于上述多个内部突出部各自的自由端部分,上述柱塞包括:推压部,在向上述垫片安装上述柱塞时,该推压部能够推压上述垫片主体的后端部;前端部,其自该推压部向前端侧突出,能够进入上述柱塞安装用构件内;外表面突起部,其设于该前端部的外表面,用于与上述柱塞安装用构件的上述柱塞防脱用卡定部卡合,并且,在上述垫片主体的柱塞安装用构件防脱用肋与上述柱塞安装用构件的外表面突出部卡合的状态下安装上述柱塞安 装用构件,并且,在向上述垫片安装上述柱塞时,上述柱塞的上述前端部不与上述垫片主体的内表面接触。
对比文件二,专利号:CN201080028000.2,申请日: 2010.06.23,申请公布号: CN102458515A,专利权人:椭元医疗技术有限公司,本案公开了一种“预充式注射器或自动注射管”,包括:刚性注射器本体;第一容器,所述第一容器与所述药物接触并且包封所述药物;以及第二容器,所述第二容器包封所述第一容器,所述第二容器比所述第一容器更少透气,其中,所述第二容器部分或全部形成所述刚性注射器本体或者保持在所述刚性注射器本体内。
对比文件三,专利号:CN200820027626.1,申请日: 2008.08.29,申请公布号: CN201253392,专利权人:山东淄博民康药业包装有限公司,本案公开了一种“预充药液注射器”,包括针头、针筒和推杆,玻璃针筒底端设有翻边,其特征在于:针筒为一体式玻璃针筒,玻璃针筒前端的锥体上插装固定有针头,针头针孔与玻璃针筒内腔相通,针头上配装有针头封帽,玻璃针筒内腔配装有医用橡胶活塞,活塞与推杆间螺纹连接,玻璃针筒底端翻边设有双切边。
现有的预灌封注射器、导管冲洗器、预冲式冲管注射器需要重新建立特殊的生产线才能生产,大大提高了使用门槛,不利于推广普及,不利用降低成本。
发明内容
本发明的目的在于提供预充式注射器,其使用现有的药液瓶(如卡式瓶),在注射器内部将药瓶瓶塞刺穿,并连通注射管路进行临床注射或者冲洗使用。注射或者冲洗时无需进行药液抽吸,可以直接使用,减少了操作步骤,降低了交叉感染机会;并且无需重新建立特殊的生产线才能生产,可以利用现有的药液瓶加装注射器就可以实现,大大降低了普及使用的门槛,克服了现有技术中存在的缺点和不足。
     为了实现上述目的,本专利设计结构是注射器前端必须带有至少一连通座,注射器筒体内设有一卡式瓶,初始状态连通座和卡式瓶呈分开状,使用时可以移动连通座或者卡式瓶,使其连通并完成注射。
本发明的第一技术方案是:预充式注射器,它包括外套筒,所述外套筒内设有卡式瓶,外套筒上端的筒颈处设有螺旋座,螺旋座下部设有穿刺针,该穿刺针尾部贯穿螺旋座下部内腔,并与螺旋座上部的通孔连通,穿刺针顶端突出于螺旋座下部并位于外套筒的筒颈内,外套筒内腔的内壁处设有一固定套, 固定套上端抵住卡式瓶下端,芯杆上端的胶塞位于卡式瓶靠近下端的腔体内,卡式瓶上端设有密封塞,密封塞与胶塞之间的卡式瓶腔体内形成封闭状态。
为了实现上述目的,本发明的第二技术方案是:预充式注射器,它包括外套筒,所述外套筒内设有卡式瓶,外套筒上端的筒颈处设有螺旋座,螺旋座通过外螺纹旋钮座与外套筒上端的筒颈连接,外套筒上端的筒颈旋接于外螺纹旋钮座外部,螺旋座下部设有穿刺针,该穿刺针尾部贯穿螺旋座下部内腔,并与螺旋座上部的通孔连通,穿刺针顶端突出于螺旋座下部并位于外套筒的筒颈内,外套筒内腔的内壁处设有一固定套, 固定套上端抵住卡式瓶下端,芯杆上端的胶塞位于卡式瓶靠近下端的腔体内,卡式瓶上端设有密封塞,密封塞与胶塞之间的卡式瓶腔体内形成封闭状态。
为了实现上述目的,本发明的第三技术方案是:预充式注射器,它包括外套筒,所述外套筒内设有卡式瓶,外套筒上端的筒颈处设有螺旋座,螺旋座通过内螺纹旋钮座与外套筒上端的筒颈连接,内螺纹旋钮座旋接于外套筒上端的筒颈外部,螺旋座下部设有穿刺针,该穿刺针尾部贯穿螺旋座下部内腔,并与螺旋座上部的通孔连通,穿刺针顶端突出于螺旋座下部并位于外套筒筒颈内,外套筒内腔的内壁处设有一固定套, 固定套上端抵住卡式瓶下端,芯杆上端的胶塞位于卡式瓶靠近下端的腔体内,卡式瓶上端设有密封塞,密封塞与胶塞之间的卡式瓶腔体内形成封闭状态。
为了实现上述目的,本发明的第四技术方案是:预充式注射器,它包括外套筒,所述外套筒内设有卡式瓶,卡式瓶上端与外套筒上端的筒颈下端之间形成间距,外套筒上端的筒颈处设有螺旋座,螺旋座与外套筒固定连接,螺旋座下部设有穿刺针,该穿刺针尾部贯穿螺旋座下部内腔,并与螺旋座上部的通孔连通,穿刺针顶端突出于螺旋座下部并位于外套筒的筒颈内,外套筒内腔的内壁处设有一固定套, 固定套上端抵住卡式瓶下端,芯杆上端的胶塞位于卡式瓶靠近下端的腔体内,卡式瓶上端设有密封塞,密封塞与胶塞之间的卡式瓶腔体内形成封闭状态。
本发明公开了预充式注射器,其优点是注射或者冲洗时无需进行药液抽吸,可以直接使用,减少了操作步骤,降低了交叉感染机会;本专利可以利用现有的药液瓶加装注射器就可以实现,而其它的预灌封注射器、导管冲洗器、预冲式冲管注射器需要重新建立特殊的生产线才能生产,可大大降低了普及使用的门槛。
附图说明
图1为本发明第一实施例结构示意图。
图2为本发明第一实施例原始状态图。
图3为本发明第一实施例穿刺针穿透密封塞状态图。
图4为本发明第一实施例注射完成时状态示意图。
图5为本发明第二实施例结构示意图。
图6为本发明第二实施例原始状态图。
图7为本发明第二实施例穿刺针穿透密封塞状态图。
图8为本发明第二实施例注射完成时状态示意图。
图9为本发明第三实施例结构示意图。
图10为本发明第三实施例原始状态图。
图11为本发明第三实施例穿刺针穿透密封塞状态图。
图12为本发明第三实施例注射完成时状态示意图。
图13为本发明第四实施例结构示意图。
图14为本发明第四实施例原始状态图。
图15为本发明第四实施例穿刺针穿透密封塞状态图。
图16为本发明第四实施例注射完成时状态示意图。
图17为本发明第五实施例结构示意图。
图18为本发明第五实施例原始状态图。
图19为本发明第五实施例穿刺针穿透密封塞状态图。
图20为本发明第五实施例注射完成时状态示意图。
图21为本发明第六实施例结构示意图。
图22为本发明第六实施例初始状态示意图。
图23为本发明第六实施例推动卡式瓶状态示意图。
图24为本发明第六实施例推动芯杆状态示意图。
图25为本发明第六实施例注射完成时状态示意图。
图26为本发明第六实施例固定套结构示意图。
具体实施方式
下面参照附图,对本发明进一步进行描述。
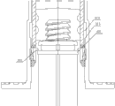
本发明为预充式注射器,本发明专利第一实施例中,它包括外套筒5,其区别于现有技术在于:所述外套筒5内设有卡式瓶2,外套筒5上端的筒颈处设有螺旋座1,螺旋座1下部设有穿刺针6,该穿刺针6尾部贯穿螺旋座1下部内腔,并与螺旋座1上部的通孔101连通,穿刺针6顶端突出于螺旋座1下部并位于外套筒5的筒颈内,穿刺针6悬空端形成刺尖601,外套筒5内腔的内壁处设有一固定套3, 固定套3上端抵住卡式瓶2下端,芯杆4上端的胶塞7位于卡式瓶2靠近下端的腔体内,卡式瓶2上端设有密封塞201,密封塞201与胶塞7之间的卡式瓶2腔体内形成封闭状态。所述外套筒5的筒颈内壁处自上而下依次设有固定槽501、外套上卡环502、外套下卡环503,螺旋座1下部外壁处自上而下依次设有定位片102、螺旋座环形内卡凸环103,上述螺旋座环形内卡凸环103位于外套上卡环502、外套下卡环503之间,将螺旋座1与外套筒5相互锁定,固定槽501与定位片102均呈纵向分布,并相互配合,定位片102在固定槽501内滑动连接,外套上卡环502的上下边缘均形成导向倒角边,外套下卡环503上边缘亦形成导向倒角边,螺旋座环形内卡凸环103下边缘亦形成导向倒角边,螺旋座环形内卡凸环103的外径大于外套上卡环502内径和外套下卡环503内径。在实际使用中,原始状态螺旋座环形内卡凸环103位于外套上卡环502、外套下卡环503之间,螺旋座1处于静止状态,螺旋座1与外套筒5的筒颈部相互锁定,将螺旋座1向下按入,螺旋座环形内卡凸环103掠过外套下卡环503,同时,定位片102向下插入固定槽501内,有效防止螺旋座1转动,穿刺针6悬空端的刺尖601刺破密封塞201,卡式瓶内腔与穿刺针6、通孔101连通,向前推动芯杆便可进行注射。
本发明为预充式注射器,本发明专利第二实施例中,它包括外套筒5,其区别于现有技术在于:所述外套筒5内设有卡式瓶2,外套筒5上端的筒颈处设有螺旋座1,螺旋座1下部设有穿刺针6,该穿刺针6尾部贯穿螺旋座1下部内腔,并与螺旋座1上部的通孔101连通,穿刺针6顶端突出于螺旋座1下部并位于外套筒5的筒颈内,外套筒5内腔的内壁处设有一固定套3, 固定套3上端抵住卡式瓶2下端,芯杆4上端的胶塞7位于卡式瓶2靠近下端的腔体内,卡式瓶2上端设有密封塞201,密封塞201与胶塞7之间的卡式瓶2腔体内形成封闭状态。所述外套筒5的筒颈内壁处自上而下依次设有固定槽501、反向环形限位台阶504、弹性限位环505,该弹性限位环505上部与外套筒5的筒颈内壁连接,其余部分均成悬空状,且与筒颈内壁之间形成间隙511,弹性限位环505下端形成平面507,螺旋座1下部外壁处自上而下依次设有定位片102、螺旋座环形内卡凸环103,螺旋座环形内卡凸环103上部形成与反向环形限位台阶504相配合的环形台阶104,弹性限位环505的内径小于螺旋座环形内卡凸环103外径,螺旋座环形内卡凸环103下部内边缘形成导向倒角边,弹性限位环505上部内边缘亦形成导向倒角边,螺旋座环形内卡凸环103位于反向环形限位台阶504和弹性限位环505之间,螺旋座环形内卡凸环103的环形台阶104向上抵住反向环形限位台阶504,防止螺旋座1滑出外套筒5的筒颈,两者相互锁定,固定槽501与定位片102均呈纵向分布,并相互配合,定位片102在固定槽501内滑动连接。在实际使用中,螺旋座环形内卡凸环103位于反向环形限位台阶504与弹性限位环505之间,螺旋座1处于静止状态,螺旋座1与外套筒5的筒颈部相互锁定,将螺旋座1向下按入,螺旋座环形内卡凸环103掠过弹性限位环505,弹性限位环505复位后向下抵住螺旋座环形内卡凸环103,阻止螺旋座1向上位移,并锁定之,同时,定位片102向下插入固定槽501内,有效防止螺旋座1转动,穿刺针6悬空端的刺尖601刺破密封塞201,卡式瓶内腔与穿刺针6、通孔101连通,向前推动芯杆便可进行注射。
本发明为预充式注射器,本发明专利第三实施例中,它包括外套筒5,其区别于现有技术在于:所述外套筒5内设有卡式瓶2,外套筒5上端的筒颈处设有螺旋座1,螺旋座1下部设有穿刺针6,该穿刺针6尾部贯穿螺旋座1下部内腔,并与螺旋座1上部的通孔101连通,穿刺针6顶端突出于螺旋座1下部并位于外套筒5的筒颈内,外套筒5内腔的内壁处设有一固定套3, 固定套3上端抵住卡式瓶2下端,芯杆4上端的胶塞7位于卡式瓶2靠近下端的腔体内,卡式瓶2上端设有密封塞201,密封塞201与胶塞7之间的卡式瓶2腔体内形成封闭状态。所述外套筒5的筒颈内壁处自上而下依次设有外套内螺纹506、外套卡环507,外套筒5的筒颈内设有筒颈内套柱508,外套筒5的筒颈内壁与筒颈内套柱508之间形成环形底部509,环形底部509处设有定位槽510,筒颈内套柱508外壁处设有固定槽501,螺旋座1下部外壁处设有螺旋座内卡件105,螺旋座1下端设有与定位槽510配合的定位杆106,螺旋座1下部分别设有外圆套107和内针座108,外圆套107和内针座108之间设有与固定槽501配合的定位片102,定位片102在固定槽501内滑动连接。在实际使用中,螺旋座1通过螺旋座内卡件105旋入外套内螺纹506,螺旋座1处于静止状态,螺旋座1与外套筒5的筒颈部相互锁定,进一步,旋转螺旋座1至转不动时,往下压螺旋座1,螺旋座内卡件105掠过外套卡环507,外套卡环507阻止螺旋座1向上位移,并锁定之,同时,定位片102向下插入固定槽501内,有效防止螺旋座1转动,定位杆106插入定位槽510内,穿刺针6悬空端的刺尖601刺破密封塞201,卡式瓶内腔与穿刺针6、通孔101连通,向前推动芯杆便可进行注射。
本发明为预充式注射器,本发明专利第四实施例中,它包括外套筒5,其区别于现有技术在于:所述外套筒5内设有卡式瓶2,外套筒5上端的筒颈处设有螺旋座1,螺旋座1通过外螺纹旋钮座8与外套筒5上端的筒颈连接,外套筒5上端的筒颈旋接于外螺纹旋钮座8外部,螺旋座1下部设有穿刺针6,该穿刺针6尾部贯穿螺旋座1下部内腔,并与螺旋座1上部的通孔101连通,穿刺针6顶端突出于螺旋座1下部并位于外套筒5的筒颈内,外套筒5内腔的内壁处设有一固定套3, 固定套3上端抵住卡式瓶2下端,芯杆4上端的胶塞7位于卡式瓶2靠近下端的腔体内,卡式瓶2上端设有密封塞201,密封塞201与胶塞7之间的卡式瓶2腔体内形成封闭状态。所述外套筒5的筒颈内壁处设有外套内螺纹506,外套筒5的筒颈内设有筒颈内套柱508,外套筒5的筒颈内壁与筒颈内套柱508之间形成环形底部509,筒颈内套柱508外壁处设有固定槽501,外螺纹旋钮座8呈筒状,其外壁处设有与外套内螺纹506配合的外螺纹801,外螺纹旋钮座8上端开口处设有旋钮座环形限位卡环802,螺旋座1下部位于外螺纹旋钮座8内腔内,螺旋座1下部外壁处设有与旋钮座环形限位卡环802配合的限位凸起部109,限位凸起部109下方的螺旋座1下部外壁处设有与固定槽501配合的定位片102,定位片102在固定槽501内滑动连接,螺旋座1上部的外径大于下部的外径,螺旋座1上部与下部之间形成落差的台阶平面110,该台阶平面110向下抵住外螺纹旋钮座8上端开口。在实际使用时,旋转外螺纹旋钮座8带动螺旋座1向下位移,直至穿刺针6悬空端的刺尖601刺破密封塞201,卡式瓶内腔与穿刺针6、通孔101连通,同时,定位片102向下插入固定槽501内,有效防止螺旋座1转动,向前推动芯杆便可进行注射。
本发明为预充式注射器,本发明专利第五实施例中,它包括外套筒5,其区别于现有技术在于:所述外套筒5内设有卡式瓶2,外套筒5上端的筒颈处设有螺旋座1,螺旋座1通过内螺纹旋钮座9与外套筒5上端的筒颈连接,内螺纹旋钮座9旋接于外套筒5上端的筒颈外部,螺旋座1下部设有穿刺针6,该穿刺针6尾部贯穿螺旋座1下部内腔,并与螺旋座1上部的通孔101连通,穿刺针6顶端突出于螺旋座1下部并位于外套筒5的筒颈内,外套筒5内腔的内壁处设有一固定套3, 固定套3上端抵住卡式瓶2下端,芯杆4上端的胶塞7位于卡式瓶2靠近下端的腔体内,卡式瓶2上端设有密封塞201,密封塞201与胶塞7之间的卡式瓶2腔体内形成封闭状态。所述外套筒5的筒颈外壁处设有外套外螺纹512,外套筒5的筒颈内壁处设有固定槽501,内螺纹旋钮座9呈筒状,其内壁处设有与外套外螺纹512配合的内螺纹901,内螺纹旋钮座9上端开口处设有旋钮座环形限位凸环902,螺旋座1下部位于内螺纹旋钮座9内腔内,螺旋座1下部外壁处设有与旋钮座环形限位凸环902配合的限位凸起部109,限位凸起部109下方的螺旋座1下部外壁处设有与固定槽501配合的定位片102,定位片102在固定槽501内滑动连接,螺旋座1上部的外径大于下部的外径,螺旋座1上部与下部之间形成落差的台阶平面110,该台阶平面110向下抵住内螺纹旋钮座9上端开口。在实际使用时,旋转内螺纹旋钮座9带动螺旋座1向下位移,直至穿刺针6悬空端的刺尖601刺破密封塞201,卡式瓶内腔与穿刺针6、通孔101连通,同时,定位片102向下插入固定槽501内,有效防止螺旋座1转动,向前推动芯杆便可进行注射。
本发明为预充式注射器,本发明专利第六实施例中,它包括外套筒5,其区别于现有技术在于:所述外套筒5内设有卡式瓶2,卡式瓶2上端与外套筒5上端的筒颈下端之间形成间距10,外套筒5上端的筒颈处设有螺旋座1,螺旋座1与外套筒5固定连接,螺旋座1下部设有穿刺针6,该穿刺针6尾部贯穿螺旋座1下部内腔,并与螺旋座1上部的通孔101连通,穿刺针6顶端突出于螺旋座1下部并位于外套筒5的筒颈内,外套筒5内腔的内壁处设有一固定套3, 固定套3上端抵住卡式瓶2下端,芯杆4上端的胶塞7位于卡式瓶2靠近下端的腔体内,卡式瓶2上端设有密封塞201,密封塞201与胶塞7之间的卡式瓶2腔体内形成封闭状态。所述固定套3的套壁向内侧形成挂钩301,挂钩301向下的延伸部302下端向套壁外侧形成挡钩303,该延伸部302及其下端的挡钩303均呈悬空状,该延伸部302及其下端的挡钩303以挡钩303根部固定点为支点撬动,外套筒5内壁处形成与挡钩303配合的外套空位513,外套空位513下端的外套内壁处形成止回台阶514,挡钩303的上下边缘均形成导向斜面,胶塞7下部的芯杆4杆体处设有与挡钩303配合的圆形卡圈401,两个挡钩303之间的距离小于圆形卡圈401外径,圆形卡圈401边缘向上抵住挡钩303下部边缘,外套筒5的内腔筒壁处形成环状的反向限位台阶515。在实际使用时,向前推动芯杆,圆形卡圈401向前抵住挂钩301,同时,带动固定套3和卡式瓶2一起向前位移,直至卡式瓶上端的密封塞201被穿刺针6悬空端的刺尖601刺破,卡式瓶内腔与穿刺针6、通孔101连通,此时,挡钩303落入外套空位513内,在止回台阶514的作用下锁定,无法再向前或向后位移,再向前推动芯杆,圆形卡圈401掠过挂钩301,便可进行注射操作。
在具体实施时,上述螺旋座1上部由外部的带内螺纹外套筒和内套柱构成,该内套柱呈6:100锥度,上述结构形成可换针部,可配上正压接头或者注射针刺入肝素帽。
在具体实施时,穿刺针6与螺旋座有两种连接方式,第一种连接方式,穿刺针为金属材质,粘结在螺旋座中心位;第二种连接方式,穿刺针与螺旋座整体注塑成型,形成塑料针尖。
以上内容是结合具体的优选实施方式对本发明所作的进一步详细说明,不能认定本发明具体实施只局限于上述这些说明。对于本发明所属技术领域的普通技术人员来说,在不脱离本发明构思的前提下,还可以做出若干简单推演或替换,都应当视为属于本发明的保护范围。

Claims (10)

1.预充式注射器,它包括外套筒(5),其特征在于:所述外套筒(5)内设有卡式瓶(2),外套筒(5)上端的筒颈处设有螺旋座(1),螺旋座(1)下部设有穿刺针(6),该穿刺针(6)尾部贯穿螺旋座(1)下部内腔,并与螺旋座(1)上部的通孔(101)连通,穿刺针(6)顶端突出于螺旋座(1)下部并位于外套筒(5)的筒颈内,外套筒(5)内腔的内壁处设有一固定套(3), 固定套(3)上端抵住卡式瓶(2)下端,芯杆(4)上端的胶塞(7)位于卡式瓶(2)靠近下端的腔体内,卡式瓶(2)上端设有密封塞(201),密封塞(201)与胶塞(7)之间的卡式瓶(2)腔体内形成封闭状态。
2.根据权利要求1所述的一种内针座结构,其特征在于:所述外套筒(5)的筒颈内壁处自上而下依次设有固定槽(501)、外套上卡环(502)、外套下卡环(503),螺旋座(1)下部外壁处自上而下依次设有定位片(102)、螺旋座环形内卡凸环(103),上述螺旋座环形内卡凸环(103)位于外套上卡环(502)、外套下卡环(503)之间,将螺旋座(1)与外套筒(5)相互锁定,固定槽(501)与定位片(102)均呈纵向分布,并相互配合,定位片(102)在固定槽(501)内滑动连接,外套上卡环(502)的上下边缘均形成导向倒角边,外套下卡环(503)上边缘亦形成导向倒角边,螺旋座环形内卡凸环(103)下边缘亦形成导向倒角边,螺旋座环形内卡凸环(103)的外径大于外套上卡环(502)内径和外套下卡环(503)内径。
3.根据权利要求1所述的预充式注射器,其特征在于:所述外套筒(5)的筒颈内壁处自上而下依次设有固定槽(501)、反向环形限位台阶(504)、弹性限位环(505),该弹性限位环(505)上部与外套筒(5)的筒颈内壁连接,其余部分均成悬空状,且与筒颈内壁之间形成间隙(511),弹性限位环(505)下端形成平面(507),螺旋座(1)下部外壁处自上而下依次设有定位片(102)、螺旋座环形内卡凸环(103),螺旋座环形内卡凸环(103)上部形成与反向环形限位台阶(504)相配合的环形台阶(104),弹性限位环(505)的内劲小于螺旋座环形内卡凸环(103)外径,螺旋座环形内卡凸环(103)下部内边缘形成导向倒角边,弹性限位环(505)上部内边缘亦形成导向倒角边,螺旋座环形内卡凸环(103)位于反向环形限位台阶(504)和弹性限位环(505)之间,螺旋座环形内卡凸环(103)的环形台阶(104)向上抵住反向环形限位台阶(504),防止螺旋座(1)滑出外套筒(5)的筒颈,两者相互锁定,固定槽(501)与定位片(102)均呈纵向分布,并相互配合,定位片(102)在固定槽(501)内滑动连接。
4.根据权利要求1所述的预充式注射器,其特征在于:所述外套筒(5)的筒颈内壁处自上而下依次设有外套内螺纹(506)、外套卡环(507),外套筒(5)的筒颈内设有筒颈内套柱(508),外套筒(5)的筒颈内壁与筒颈内套柱(508)之间形成环形底部(509),环形底部(509)处设有定位槽(510),筒颈内套柱(508)外壁处设有固定槽(501),螺旋座(1)下部外壁处设有螺旋座内卡件(105),螺旋座(1)下端设有与定位槽(510)配合的定位杆(106),螺旋座(1)下部分别设有外圆套(107)和内针座(108),外圆套(107)和内针座(108)之间设有与固定槽(501)配合的定位片(102),定位片(102)在固定槽(501)内滑动连接。
5.预充式注射器,它包括外套筒(5),其特征在于:所述外套筒(5)内设有卡式瓶(2),外套筒(5)上端的筒颈处设有螺旋座(1),螺旋座(1)通过外螺纹旋钮座(8)与外套筒(5)上端的筒颈连接,外套筒(5)上端的筒颈旋接于外螺纹旋钮座(8)外部,螺旋座(1)下部设有穿刺针(6),该穿刺针(6)尾部贯穿螺旋座(1)下部内腔,并与螺旋座(1)上部的通孔(101)连通,穿刺针(6)顶端突出于螺旋座(1)下部并位于外套筒(5)的筒颈内,外套筒(5)内腔的内壁处设有一固定套(3), 固定套(3)上端抵住卡式瓶(2)下端,芯杆(4)上端的胶塞(7)位于卡式瓶(2)靠近下端的腔体内,卡式瓶(2)上端设有密封塞(201),密封塞(201)与胶塞(7)之间的卡式瓶(2)腔体内形成封闭状态。
6.根据权利要求5所述的预充式注射器,其特征在于:所述外套筒(5)的筒颈内壁处设有外套内螺纹(506),外套筒(5)的筒颈内设有筒颈内套柱(508),外套筒(5)的筒颈内壁与筒颈内套柱(508)之间形成环形底部(509),筒颈内套柱(508)外壁处设有固定槽(501),外螺纹旋钮座(8)呈筒状,其外壁处设有与外套内螺纹(506)配合的外螺纹(801),外螺纹旋钮座(8)上端开口处设有旋钮座环形限位卡环(802),螺旋座(1)下部位于外螺纹旋钮座(8)内腔内,螺旋座(1)下部外壁处设有与旋钮座环形限位卡环(802)配合的限位凸起部(109),限位凸起部(109)下方的螺旋座(1)下部外壁处设有与固定槽(501)配合的定位片(102),定位片(102)在固定槽(501)内滑动连接,螺旋座(1)上部的外径大于下部的外径,螺旋座(1)上部与下部之间形成落差的台阶平面(110),该台阶平面(110)向下抵住外螺纹旋钮座(8)上端开口。
7.预充式注射器,它包括外套筒(5),其特征在于:所述外套筒(5)内设有卡式瓶(2),外套筒(5)上端的筒颈处设有螺旋座(1),螺旋座(1)通过内螺纹旋钮座(9)与外套筒(5)上端的筒颈连接,内螺纹旋钮座(9)旋接于外套筒(5)上端的筒颈外部,螺旋座(1)下部设有穿刺针(6),该穿刺针(6)尾部贯穿螺旋座(1)下部内腔,并与螺旋座(1)上部的通孔(101)连通,穿刺针(6)顶端突出于螺旋座(1)下部并位于外套筒(5)的筒颈内,外套筒(5)内腔的内壁处设有一固定套(3), 固定套(3)上端抵住卡式瓶(2)下端,芯杆(4)上端的胶塞(7)位于卡式瓶(2)靠近下端的腔体内,卡式瓶(2)上端设有密封塞(201),密封塞(201)与胶塞(7)之间的卡式瓶(2)腔体内形成封闭状态。
8.根据权利要求7所述的预充式注射器,其特征在于:所述外套筒(5)的筒颈外壁处设有外套外螺纹(512),外套筒(5)的筒颈内壁处设有固定槽(501),内螺纹旋钮座(9)呈筒状,其内壁处设有与外套外螺纹(512)配合的内螺纹(901),内螺纹旋钮座(9)上端开口处设有旋钮座环形限位凸环(902),螺旋座(1)下部位于内螺纹旋钮座(9)内腔内,螺旋座(1)下部外壁处设有与旋钮座环形限位凸环(902)配合的限位凸起部(109),限位凸起部(109)下方的螺旋座(1)下部外壁处设有与固定槽(501)配合的定位片(102),定位片(102)在固定槽(501)内滑动连接,螺旋座(1)上部的外径大于下部的外径,螺旋座(1)上部与下部之间形成落差的台阶平面(110),该台阶平面(110)向下抵住内螺纹旋钮座(9)上端开口。
9.预充式注射器,它包括外套筒(5),其特征在于:所述外套筒(5)内设有卡式瓶(2),卡式瓶(2)上端与外套筒(5)上端的筒颈下端之间形成间距(10),外套筒(5)上端的筒颈处设有螺旋座(1),螺旋座(1)与外套筒(5)固定连接,螺旋座(1)下部设有穿刺针(6),该穿刺针(6)尾部贯穿螺旋座(1)下部内腔,并与螺旋座(1)上部的通孔(101)连通,穿刺针(6)顶端突出于螺旋座(1)下部并位于外套筒(5)的筒颈内,外套筒(5)内腔的内壁处设有一固定套(3), 固定套(3)上端抵住卡式瓶(2)下端,芯杆(4)上端的胶塞(7)位于卡式瓶(2)靠近下端的腔体内,卡式瓶(2)上端设有密封塞(201),密封塞(201)与胶塞(7)之间的卡式瓶(2)腔体内形成封闭状态。
10.根据权利要求9所述的预充式注射器,其特征在于:所述固定套(3)的套壁向内侧形成挂钩(301),挂钩(301)向下的延伸部(302)下端向套壁外侧形成挡钩(303),该延伸部(302)及其下端的挡钩(303)均呈悬空状,该延伸部(302)及其下端的挡钩(303)以挡钩(303)根部固定点为支点撬动,外套筒(5)内壁处形成与挡钩(303)配合的外套空位(513),外套空位(513)下端的外套内壁处形成止回台阶(514),挡钩(303)的上下边缘均形成导向斜面,胶塞(7)下部的芯杆(4)杆体处设有与挡钩(303)配合的圆形卡圈(401),两个挡钩(303)之间的距离小于圆形卡圈(401)外径,圆形卡圈(401)边缘向上抵住挡钩(303)下部边缘,外套筒(5)的内腔筒壁处形成环状的反向限位台阶(515)。
CN201310630705.7A 2013-12-02 2013-12-02 预充式注射器 Active CN103656799B (zh)

Priority Applications (1)

Application Number Priority Date Filing Date Title
CN201310630705.7A CN103656799B (zh) 2013-12-02 2013-12-02 预充式注射器

Applications Claiming Priority (1)

Application Number Priority Date Filing Date Title
CN201310630705.7A CN103656799B (zh) 2013-12-02 2013-12-02 预充式注射器

Publications (2)

Publication Number Publication Date
CN103656799A true CN103656799A (zh) 2014-03-26
CN103656799B CN103656799B (zh) 2016-09-07

Family

ID=50296347

Family Applications (1)

Application Number Title Priority Date Filing Date
CN201310630705.7A Active CN103656799B (zh) 2013-12-02 2013-12-02 预充式注射器

Country Status (1)

Country Link
CN (1) CN103656799B (zh)

Cited By (3)

* Cited by examiner, † Cited by third party
Publication number Priority date Publication date Assignee Title
CN104225724A (zh) * 2014-09-18 2014-12-24 巫晓林 阀式预灌封注射器
CN108721729A (zh) * 2017-04-21 2018-11-02 戴浙 预先装载药剂药囊注射器的装置
CN111450355A (zh) * 2020-03-23 2020-07-28 中国人民解放军海军军医大学 一种可预装药物的防针刺伤注射器

Citations (7)

* Cited by examiner, † Cited by third party
Publication number Priority date Publication date Assignee Title
US5067947A (en) * 1989-07-18 1991-11-26 Tri/West Systems, Inc. Syringe plunger rod mount
US5468232A (en) * 1991-07-26 1995-11-21 Seikagaku Kogyo Kabushiki Kaisha(Seikagaku Corporation) Syringe
US20060178638A1 (en) * 2004-12-03 2006-08-10 Reynolds David L Device and method for pharmaceutical mixing and delivery
CN101057988A (zh) * 2006-04-18 2007-10-24 中山博泰药械有限公司 溶媒前置式无菌混药卡式瓶注射器
CN202342684U (zh) * 2011-08-05 2012-07-25 凯尔爱吉尔公司 医用连接器
CN203139271U (zh) * 2013-03-29 2013-08-21 蔡忠成 注射剂药液免转移的卡式瓶注射器
CN203634583U (zh) * 2013-12-02 2014-06-11 温州市贝普科技有限公司 预充式注射器

Patent Citations (7)

* Cited by examiner, † Cited by third party
Publication number Priority date Publication date Assignee Title
US5067947A (en) * 1989-07-18 1991-11-26 Tri/West Systems, Inc. Syringe plunger rod mount
US5468232A (en) * 1991-07-26 1995-11-21 Seikagaku Kogyo Kabushiki Kaisha(Seikagaku Corporation) Syringe
US20060178638A1 (en) * 2004-12-03 2006-08-10 Reynolds David L Device and method for pharmaceutical mixing and delivery
CN101057988A (zh) * 2006-04-18 2007-10-24 中山博泰药械有限公司 溶媒前置式无菌混药卡式瓶注射器
CN202342684U (zh) * 2011-08-05 2012-07-25 凯尔爱吉尔公司 医用连接器
CN203139271U (zh) * 2013-03-29 2013-08-21 蔡忠成 注射剂药液免转移的卡式瓶注射器
CN203634583U (zh) * 2013-12-02 2014-06-11 温州市贝普科技有限公司 预充式注射器

Cited By (5)

* Cited by examiner, † Cited by third party
Publication number Priority date Publication date Assignee Title
CN104225724A (zh) * 2014-09-18 2014-12-24 巫晓林 阀式预灌封注射器
CN108721729A (zh) * 2017-04-21 2018-11-02 戴浙 预先装载药剂药囊注射器的装置
CN108721729B (zh) * 2017-04-21 2020-12-22 戴浙 预先装载药剂药囊注射器的装置
CN111450355A (zh) * 2020-03-23 2020-07-28 中国人民解放军海军军医大学 一种可预装药物的防针刺伤注射器
CN111450355B (zh) * 2020-03-23 2022-05-10 中国人民解放军海军军医大学 一种可预装药物的防针刺伤注射器

Also Published As

Publication number Publication date
CN103656799B (zh) 2016-09-07

Similar Documents

Publication Publication Date Title
US11045611B2 (en) Drug delivering apparatus and pre-filled syringe
CN103656799A (zh) 预充式注射器
CN203634583U (zh) 预充式注射器
CN202342465U (zh) 带支接口的一体式混药接口
CN204446814U (zh) 一次性使用低阻力注射器
CN102430175A (zh) 注射器
CN215460235U (zh) 一种嵌套式复溶装置
CN201782963U (zh) 双头结构的非pvc输液软袋
CN204655638U (zh) 新型静脉用药配液针具
CN203342039U (zh) 静脉注射装置
CN210963393U (zh) 一次型无菌注射器用橡胶隔离塞
CN108056918A (zh) 具有排气功能的配药用注射器
CN204121527U (zh) 一种防逆流留置针
CN104587553A (zh) 静脉用药配液针具
CN202366173U (zh) 一种配药注射针
CN207562175U (zh) 一种化疗用输液器
CN209734540U (zh) 一种药学用配药装置
CN200951241Y (zh) 双卡式瓶水粉剂注射器
CN206183660U (zh) 一种复合管针头
CN105268045B (zh) 一种预充式导管冲洗器
CN113397975B (zh) 一种嵌套式复溶装置
CN205515779U (zh) 带有胶塞伸长部的导管封管器
CN202355648U (zh) 注射器
CN203989036U (zh) 一种注射或配药用针头
CN216365943U (zh) 一种无针安全配药的药瓶瓶盖

Legal Events

Date Code Title Description
PB01 Publication
PB01 Publication
C10 Entry into substantive examination
SE01 Entry into force of request for substantive examination
CB02 Change of applicant information

Address after: Longwan street Yongxing District Wenzhou city Zhejiang province 325024 Xing Ji Road No. 14

Applicant after: PEPM Medical Technology Co Ltd

Address before: 325013 No. 7 Jinshui Road, Wenzhou Industrial Park, Zhejiang, Wenzhou

Applicant before: Wenzhou Beipu Science & Technology Co., Ltd.

COR Change of bibliographic data
C14 Grant of patent or utility model
GR01 Patent grant
CP01 Change in the name or title of a patent holder

Address after: No.14, Xingji Road, Yongxing street, Longwan District, Wenzhou City, Zhejiang Province

Patentee after: Beipu Medical Technology Co.,Ltd.

Address before: No.14, Xingji Road, Yongxing street, Longwan District, Wenzhou City, Zhejiang Province

Patentee before: Beipu Medical Technology Co.,Ltd.

CP01 Change in the name or title of a patent holder