CN103639511A - Novel plate shearing machine - Google Patents
Novel plate shearing machine Download PDFInfo
- Publication number
- CN103639511A CN103639511A CN201310568878.0A CN201310568878A CN103639511A CN 103639511 A CN103639511 A CN 103639511A CN 201310568878 A CN201310568878 A CN 201310568878A CN 103639511 A CN103639511 A CN 103639511A
- Authority
- CN
- China
- Prior art keywords
- plate shearing
- workbench
- rulers
- worktable
- shearing machine
- Prior art date
- Legal status (The legal status is an assumption and is not a legal conclusion. Google has not performed a legal analysis and makes no representation as to the accuracy of the status listed.)
- Pending
Links
- 238000010008 shearing Methods 0.000 title claims abstract description 25
- 238000004519 manufacturing process Methods 0.000 abstract description 6
- 238000006073 displacement reaction Methods 0.000 description 3
- 238000000034 method Methods 0.000 description 3
- 239000002184 metal Substances 0.000 description 2
- 239000000463 material Substances 0.000 description 1
Images
Landscapes
- Shearing Machines (AREA)
Abstract
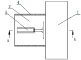
The invention discloses a novel plate shearing machine. The novel plate shearing machine comprises a machine seat (1), a worktable (2), a PLC and a plate shearing blade (3) which can do reciprocating motion up and down along the machine seat (1), wherein the moving direction of the plate shearing blade (3) is perpendicular to the table surface of the worktable (2), the plate shearing blade (3) and the edge of the worktable (2) form a shearing structure, rulers (4) perpendicular to the table surface of the worktable (2) are arranged on the worktable (2), the rulers (4) are perpendicular to the plate shearing blade (3), an air cylinder I (5) parallel with the rulers (4) is installed on the table surface of the worktable (2), an electromagnetic valve is installed on the air cylinder I (5), the electromagnetic valve is connected with the PLC, the two rulers (4) are arranged on the table surface of the worktable (2), and the two rulers (4) are symmetrically arranged. The novel plate shearing machine has the advantages of being free of marking, high in automation degree, simple in operation, high in production efficiency, accurate in positioning and the like.
Description
Technical field
The present invention relates to sheet metal blanking shearing technique field, particularly a kind of Novel plate shearing machine.
Background technology
Plate shearing machine is for plate being carried out to the plant equipment of stamping-out shearing, by by being arranged on cutter on bed piece and fixing bottom knife, adopt rational gap blade, the sheet metal of various thickness is implemented to shearing force, make sheet material by the separated blank that obtains having straight flange of needed size fracture, blank, after the fine finishining of plant equipment, can be used for producing auto parts and components.
At present, while using plate shearing machine to carry out stamping-out shearing to plate according to given dimensional requirement in process of production, need to use the good required size of survey tool amount, and by after artificial marking, re-use plate shearing machine position to the layout line and carry out stamping-out shearing, operating process more complicated, is unfavorable for the raising of production efficiency, and manually marking has error at every turn, causes producing drafting error.By artificial line, also greatly increased workman's the amount of labour, had a strong impact on production efficiency, finally caused yielding poorly.
Summary of the invention
The object of the invention is to overcome the shortcoming of prior art, provide a kind of without marking, automaticity is high, simple to operate, production efficiency is high, the Novel plate shearing machine of accurate positioning.
Object of the present invention is achieved through the following technical solutions: a kind of Novel plate shearing machine, it comprises support, workbench, PLC controller and the shear blade moving back and forth up and down along support, the moving direction of shear blade is perpendicular to the table top of workbench, shear blade and workbench edge form shear constitution, on workbench, be provided with the ruler perpendicular to table surface, ruler is perpendicular to shear blade, the cylinder I that is parallel to ruler is installed on table surface, magnetic valve is installed in cylinder I, and magnetic valve is connected with PLC controller.
On described table surface, be provided with two rulers, two rulers are symmetrical arranged.
On described support, clamping device is installed, clamping device is cylinder I I.
The present invention has the following advantages: the present invention is without marking on plate, only need first plate to be put on the table top of the workbench between shear blade and the piston rod of cylinder I, and allow the side of plate be close to ruler, the end of plate and shear knife register, then start PLC control device, PLC controller sends the signal of telecommunication to the magnetic valve of cylinder I, magnetic valve receives that the piston rod of control cylinder I stretches out after the signal of telecommunication, piston rod promotes plate and moves to shear insert orientation, when observe the displacement of plate on ruler, equal after the length of blank, close at once PLC controller, magnetic valve disconnects, cylinder I is stop motion at once, finally complete the clamping cutting of plate, thereby obtain the blank of required size.That the present invention has is simple to operate, automaticity is high, the feature of accurate positioning, and has improved greatly production efficiency without marking, has reduced labour intensity.
Accompanying drawing explanation
Fig. 1 is top view of the present invention;
Fig. 2 is the A-A cutaway view of Fig. 1;
Fig. 3 is the left view of Fig. 1;
In figure, 1-support, 2-workbench, 3-shear blade, 4-ruler, 5-cylinder I, 6-cylinder I I.
The specific embodiment
Below in conjunction with accompanying drawing, the present invention will be further described, and protection scope of the present invention is not limited to the following stated:
As Figure 1-3, a kind of Novel plate shearing machine, it comprises support 1, workbench 2, PLC controller and the shear blade 3 that can move back and forth up and down along support 1, the moving direction of shear blade 3 is perpendicular to the table top of workbench 2, shear blade 3 forms shear constitution with workbench 2 edges, on workbench 2, be provided with the ruler 4 perpendicular to workbench 2 table tops, ruler 4 is perpendicular to shear blade 3, the cylinder I 5 that is parallel to ruler 4 is installed on workbench 2 table tops, in cylinder I 5, magnetic valve is installed, magnetic valve is connected with PLC controller.On workbench 2 table tops, being provided with 4, two rulers 4 of two rulers is symmetrical arranged.On support 1, clamping device is installed, clamping device is cylinder I I6.
The course of work of the present invention is as follows: first workman is put into plate on the table top of the workbench 2 between shear blade 4 and the piston rod of cylinder I5, and allow the side of plate be close to ruler 4, align with shear blade 3 in the end of plate, start PLC control device, the control of PLC controller is sent the signal of telecommunication to the magnetic valve of cylinder I 5, magnetic valve receives that the piston rod of control cylinder I5 stretches out after the signal of telecommunication, piston rod promotes plate and moves to shear blade 3 directions, at this moment by observing the scale of ruler 4, determine the displacement of plate, when the displacement of plate equals after the length of blank, close at once PLC controller, magnetic valve disconnects, cylinder I 5 stop motion at once, then control cylinder II6 clamps and pushes down plate, finally controlling shear blade 3 moves downward, blank drops from workbench 2 edges, thereby complete cutting.
Claims (3)
1. a Novel plate shearing machine, it comprises support (1), workbench (2), PLC controller and the shear blade (3) moving back and forth up and down along support (1), the moving direction of shear blade (3) is perpendicular to the table top of workbench (2), it is characterized in that: shear blade (3) forms shear constitution with workbench (2) edge, on workbench (2), be provided with the ruler (4) perpendicular to workbench (2) table top, ruler (4) is perpendicular to shear blade (3), the cylinder I (5) that is parallel to ruler (4) is installed on workbench (2) table top, cylinder I is provided with magnetic valve on (5), magnetic valve is connected with PLC controller.
2. a kind of Novel plate shearing machine according to claim 1, is characterized in that: on described workbench (2) table top, be provided with two rulers (4), two rulers (4) are symmetrical arranged.
3. a kind of Novel plate shearing machine according to claim 1, is characterized in that: described support is provided with clamping device on (1), and clamping device is cylinder I I(6).
Priority Applications (1)
| Application Number | Priority Date | Filing Date | Title |
|---|---|---|---|
| CN201310568878.0A CN103639511A (en) | 2013-11-15 | 2013-11-15 | Novel plate shearing machine |
Applications Claiming Priority (1)
| Application Number | Priority Date | Filing Date | Title |
|---|---|---|---|
| CN201310568878.0A CN103639511A (en) | 2013-11-15 | 2013-11-15 | Novel plate shearing machine |
Publications (1)
| Publication Number | Publication Date |
|---|---|
| CN103639511A true CN103639511A (en) | 2014-03-19 |
Family
ID=50244868
Family Applications (1)
| Application Number | Title | Priority Date | Filing Date |
|---|---|---|---|
| CN201310568878.0A Pending CN103639511A (en) | 2013-11-15 | 2013-11-15 | Novel plate shearing machine |
Country Status (1)
| Country | Link |
|---|---|
| CN (1) | CN103639511A (en) |
Cited By (7)
| Publication number | Priority date | Publication date | Assignee | Title |
|---|---|---|---|---|
| CN103894665A (en) * | 2014-02-28 | 2014-07-02 | 南通太和机械集团有限公司 | Plate shearing machine accurate in localization |
| CN104874849A (en) * | 2015-05-01 | 2015-09-02 | 安庆安星电气有限公司 | Manual aluminum substrate shearing machine |
| CN104874851A (en) * | 2015-06-01 | 2015-09-02 | 蚌埠市蚌风风机有限公司 | Shearing machine for draught fan plates |
| CN104889474A (en) * | 2015-05-28 | 2015-09-09 | 南京皓威机械有限公司 | Pipe cutting device |
| CN107775742A (en) * | 2017-12-12 | 2018-03-09 | 浙江湖州天强建筑材料有限公司 | A kind of blanking units of construction and decoration waste wood |
| CN110340444A (en) * | 2019-07-12 | 2019-10-18 | 宁波江北盛亚机械有限公司 | A kind of protective device of three axis polar coordinates sawing machine |
| CN110744117A (en) * | 2019-11-05 | 2020-02-04 | 湖南城市学院 | Plate shearing equipment for transformer shell production |
Citations (4)
| Publication number | Priority date | Publication date | Assignee | Title |
|---|---|---|---|---|
| CN2882866Y (en) * | 2005-09-30 | 2007-03-28 | 李建高 | Small Pneumatic Shearing Machine |
| US20120006168A1 (en) * | 2008-07-10 | 2012-01-12 | Cletis Frazier Swopes | All in one window covering cutdown machine |
| CN102784962A (en) * | 2012-08-30 | 2012-11-21 | 安徽多达皖晶新能源有限公司 | Sheet shearing machine for shearing iron sheet of solar water tank body |
| CN203541681U (en) * | 2013-11-15 | 2014-04-16 | 四川银河钢结构工程有限公司 | Novel plate shearing machine |
-
2013
- 2013-11-15 CN CN201310568878.0A patent/CN103639511A/en active Pending
Patent Citations (4)
| Publication number | Priority date | Publication date | Assignee | Title |
|---|---|---|---|---|
| CN2882866Y (en) * | 2005-09-30 | 2007-03-28 | 李建高 | Small Pneumatic Shearing Machine |
| US20120006168A1 (en) * | 2008-07-10 | 2012-01-12 | Cletis Frazier Swopes | All in one window covering cutdown machine |
| CN102784962A (en) * | 2012-08-30 | 2012-11-21 | 安徽多达皖晶新能源有限公司 | Sheet shearing machine for shearing iron sheet of solar water tank body |
| CN203541681U (en) * | 2013-11-15 | 2014-04-16 | 四川银河钢结构工程有限公司 | Novel plate shearing machine |
Cited By (7)
| Publication number | Priority date | Publication date | Assignee | Title |
|---|---|---|---|---|
| CN103894665A (en) * | 2014-02-28 | 2014-07-02 | 南通太和机械集团有限公司 | Plate shearing machine accurate in localization |
| CN104874849A (en) * | 2015-05-01 | 2015-09-02 | 安庆安星电气有限公司 | Manual aluminum substrate shearing machine |
| CN104889474A (en) * | 2015-05-28 | 2015-09-09 | 南京皓威机械有限公司 | Pipe cutting device |
| CN104874851A (en) * | 2015-06-01 | 2015-09-02 | 蚌埠市蚌风风机有限公司 | Shearing machine for draught fan plates |
| CN107775742A (en) * | 2017-12-12 | 2018-03-09 | 浙江湖州天强建筑材料有限公司 | A kind of blanking units of construction and decoration waste wood |
| CN110340444A (en) * | 2019-07-12 | 2019-10-18 | 宁波江北盛亚机械有限公司 | A kind of protective device of three axis polar coordinates sawing machine |
| CN110744117A (en) * | 2019-11-05 | 2020-02-04 | 湖南城市学院 | Plate shearing equipment for transformer shell production |
Similar Documents
| Publication | Publication Date | Title |
|---|---|---|
| CN103639511A (en) | Novel plate shearing machine | |
| CN103639524A (en) | Plate shearer capable of positioning plates accurately | |
| CN103753309B (en) | Irregularly shaped object clamping tooling | |
| CN201632702U (en) | Plate shearing machine | |
| CN105035814A (en) | Cloth clamping device | |
| CN103286817A (en) | Manufacturing method and device of fixed-length cut-off perforating machine for automobile sealing strip | |
| CN203541681U (en) | Novel plate shearing machine | |
| CN104551195A (en) | Sliding cutter | |
| CN203357533U (en) | Fixed length cutting-off hole punch | |
| CN204413269U (en) | A kind of plate shearing machine | |
| CN201619135U (en) | A sealing strip cutting machine | |
| CN204896926U (en) | Cloth clamping device | |
| CN204770874U (en) | Hydraulic pressure shear angle machine | |
| WO2017121167A1 (en) | High-speed and high-precision plate shearing machine | |
| CN203712559U (en) | Irregular object clamping tool | |
| CN202318392U (en) | Fast cutting tool for rubber hose | |
| CN105234622A (en) | Numerical control pipe cutting machine tool | |
| CN217801964U (en) | Cutting device | |
| CN203566077U (en) | Red light positioning device of laser trademark cutting machine | |
| CN203696533U (en) | Irregular object clamping tool | |
| CN202622936U (en) | Quick clamping mechanism for collision block movable bamboo tube slicing machine | |
| CN220330114U (en) | Plate shearing machine equipment convenient to location | |
| CN105345867A (en) | Novel garment template machine head | |
| CN104588778A (en) | Steel plate puncher | |
| CN104128652A (en) | Quick positioning plate shearing machine |
Legal Events
| Date | Code | Title | Description |
|---|---|---|---|
| PB01 | Publication | ||
| PB01 | Publication | ||
| C10 | Entry into substantive examination | ||
| SE01 | Entry into force of request for substantive examination | ||
| C02 | Deemed withdrawal of patent application after publication (patent law 2001) | ||
| WD01 | Invention patent application deemed withdrawn after publication |
Application publication date: 20140319 |