CN103639292A - Lower die structure of U-iron extrusion die - Google Patents
Lower die structure of U-iron extrusion die Download PDFInfo
- Publication number
- CN103639292A CN103639292A CN201310604088.3A CN201310604088A CN103639292A CN 103639292 A CN103639292 A CN 103639292A CN 201310604088 A CN201310604088 A CN 201310604088A CN 103639292 A CN103639292 A CN 103639292A
- Authority
- CN
- China
- Prior art keywords
- die
- counterdie
- lower die
- iron
- seat board
- Prior art date
- Legal status (The legal status is an assumption and is not a legal conclusion. Google has not performed a legal analysis and makes no representation as to the accuracy of the status listed.)
- Pending
Links
- XEEYBQQBJWHFJM-UHFFFAOYSA-N iron Substances [Fe] XEEYBQQBJWHFJM-UHFFFAOYSA-N 0.000 title claims abstract description 64
- 229910052742 iron Inorganic materials 0.000 title claims abstract description 34
- 238000001125 extrusion Methods 0.000 title claims abstract description 29
- 238000006073 displacement reaction Methods 0.000 claims abstract description 8
- 210000004907 gland Anatomy 0.000 claims description 9
- 239000000463 material Substances 0.000 claims description 8
- 230000001105 regulatory effect Effects 0.000 claims description 6
- 239000002699 waste material Substances 0.000 abstract description 6
- 239000002994 raw material Substances 0.000 abstract description 5
- 238000000034 method Methods 0.000 abstract description 4
- 238000004519 manufacturing process Methods 0.000 abstract description 3
- 239000007769 metal material Substances 0.000 abstract description 3
- 238000007664 blowing Methods 0.000 description 2
- 238000000465 moulding Methods 0.000 description 2
- 238000007599 discharging Methods 0.000 description 1
- 238000005516 engineering process Methods 0.000 description 1
- 239000002184 metal Substances 0.000 description 1
- 229910052751 metal Inorganic materials 0.000 description 1
- 239000000203 mixture Substances 0.000 description 1
- 230000004048 modification Effects 0.000 description 1
- 238000012986 modification Methods 0.000 description 1
- 238000003672 processing method Methods 0.000 description 1
- 210000001364 upper extremity Anatomy 0.000 description 1
Images
Landscapes
- Extrusion Of Metal (AREA)
Abstract
The invention relates to the technical field of dies and discloses a lower die structure of a U-iron extrusion die. The lower die structure of the U-iron extrusion die comprises a lower die base plate, a lower middle pad arranged on the lower die base plate, a lower die arranged on the lower die middle pad, a cavity die arranged inside the lower die, an ejector pin mechanism arranged on the lower die middle pad and communicated with the cavity die, and an adjusting mechanism arranged on the lower die base plate and used for adjusting the horizontal displacement of the cavity die. According to the lower die structure of the U-iron extrusion die, the adjusting mechanism for adjusting the horizontal displacement of the cavity die is arranged on the lower die structure, concentric locating of the cavity die and a core die of an upper die unit can be achieved through the adjusting mechanism during an extrusion process, the problem that the center hole of a part and an excircle are not concentric can be solved, the dimension precision of the product can be improved, and extrusion production is performed on the U-iron through a die according to plastic deformation principles of metal materials, so that waste of raw materials can be greatly reduced.
Description
Technical field
Invention relates to technical field of mold, more particularly, and particularly a kind of lower die structure of U iron extrusion die.
Background technology
U iron is the strength member on loudspeaker, and the main processing method of U iron part of the prior art is: plate blanking after-drawing moulding, and the shortcoming of its existence is: adopt can have an appointment 35% scrap (bridge) waste material of plate blanking, more serious to raw-material waste; Meanwhile, the U iron of plate blanking after-drawing moulding greatly reduces in dimensional accuracy.And the subject matter of the U iron of producing by mould is: can not guarantee die axis in lower die structure and the punch axis conllinear of patrix, in extrusion process, make mesopore and the cylindrical decentraction of part, reduced the precision of product, even made product occur scrapping phenomenon.
Summary of the invention
The object of invention is to provide a kind of lower die structure that reduces waste of raw materials, improves the U iron extrusion die of dimensional accuracy.
In order to achieve the above object, the technical scheme that invention adopts is as follows:
A kind of lower die structure of U iron extrusion die, it comprises counterdie seat board, be installed in the counterdie on counterdie seat board and pad, be installed on the counterdie on pad in counterdie, be installed on the die in counterdie, be installed in counterdie and pad above and the post rod mechanism being communicated with die, and be installed on counterdie seat board for regulating the governor motion of die horizontal displacement.
Preferably, described governor motion comprises the adjustment ring that is installed on counterdie seat board and is positioned at counterdie outside, is located at the adjustment block between counterdie and adjustment ring, and is installed on the circumferencial direction of described adjustment ring and a plurality of adjustment screws corresponding with adjustment block.
Preferably, the upper outside of described counterdie is also provided with counterdie gland, and described counterdie gland is also fixedly connected with adjustment ring; And the installed surface of the top of described counterdie and counterdie gland is cascaded surface.
Preferably, described post rod mechanism comprises is located at cushion block moving up and down in upper base plate, the push rod that passes described counterdie seat board and be connected with the bottom of cushion block, and the knock-pin that is installed on the upper end of cushion block, and described knock-pin is communicated with die.
Preferably, also comprise the material pipe of blowing of being located at described counterdie top, described in blow material pipe and be also connected with an air compressor.
Compared with prior art, the advantage of invention is: this bright being provided with in lower die structure for regulating the governor motion of die horizontal displacement, in extrusion process, can make by governor motion the punch concentric locating of die and upper mould device, the mesopore of part and the problem of cylindrical decentraction have been solved, improved the dimensional accuracy of product, and according to the theory of plastic deformation of metal material, adopt mould U iron to be pushed to production, the raw-material waste of larger minimizing.
Accompanying drawing explanation
Below in conjunction with drawings and Examples, invention is described further.
Fig. 1 is the structure chart of the lower die structure of the described U iron extrusion die of invention.
Fig. 2 is the structure chart of the U iron extrusion die that forms of the lower die structure of the described U iron extrusion die of invention.
Fig. 3 is the structure chart of the U iron extrusion die that forms of the lower die structure of the described U iron extrusion die of invention when extruding.
Fig. 4 is the structure chart of the U iron extrusion die that forms of the lower die structure of the described U iron extrusion die of invention after extruding.
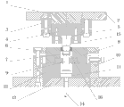
Description of reference numerals: 1, upper die plate, 2, upper base plate, 3, patrix fixed cover, 4, backing plate in patrix, 5, upper molded plate, 6, counterdie gland, 7, workpiece, 8, counterdie, 9, knock-pin, 10, adjustment ring, 11, cushion block, 12, pad in counterdie, 13, counterdie seat board, 14, push rod, 15, punch, 16, die, 17, blow material pipe, 18, adjust screw, 19, adjustment block.
The specific embodiment
Below in conjunction with the drawings and specific embodiments, the invention will be described in further detail.
Consult shown in Fig. 1, the lower die structure of a kind of U iron extrusion die that invention provides, comprise counterdie seat board 13, be installed in the counterdie on counterdie seat board 13 and pad 12, be installed on and in counterdie, pad the counterdie 8 on 12, be installed on the die 16 in counterdie 8, be installed in counterdie and pad on 12 and the post rod mechanism being communicated with die 16, and be installed on counterdie seat board 13 for regulating the governor motion of die 16 horizontal displacements.
Concrete, governor motion comprises the adjustment ring 10 that is installed on counterdie seat board 13 and is positioned at counterdie 8 outsides, be located at the adjustment block 19 between counterdie 8 and adjustment ring 10, and adjustment block 19 is arranged in the upper end of counterdie pad 12, and be installed on the circumferencial direction of adjustment ring 10 and a plurality of adjustment screws 18 corresponding with adjustment block 19; By adjusting, adjust the outside that screw 18 makes adjustment block 19 extruding counterdies 8, that is: the adjustable horizontal displacement that is positioned at the die 16 of counterdie 8, can make the axis of die 16 and the punch axis conllinear of patrix, solve the mesopore of part and the problem of cylindrical decentraction, and then improved the dimensional accuracy of product.
Concrete, can also counterdie gland 6 be also installed in the upper outside of counterdie 8, counterdie gland 6 is also fixedly connected with adjustment ring 10; The installed surface of the top of counterdie 8 and counterdie gland 6 is cascaded surface, can be used for preventing that counterdie 8 is at axial float.
Above-mentioned post rod mechanism comprises is located at the interior cushion block 11 moving up and down of upper base plate 12, the push rod 14 that passes counterdie seat board 13 and be connected with the bottom of cushion block 11, and the knock-pin 9 that is installed on the upper end of cushion block 11, and knock-pin 9 is communicated with die 16.And on the top of counterdie 8, be provided with and blow material pipe 17, blow material pipe 17 and be also connected with an air compressor (not shown).After workpiece 7 extrusion moldings, can the U iron after being shaped be ejected to die 16 by post rod mechanism, and the U iron that ejects die 16 can blow away by blowing material pipe 17 compressed air that blow out, and completes discharging.
Consult shown in Fig. 2, U iron extrusion die for lower die structure composition of the present invention, mainly that upper mould device is installed on lower die structure, this upper mould device comprises upper base plate 2, be installed on the upper die plate 1 on upper base plate 2, be located at upper base plate 2 lower ends and be positioned at the patrix fixed cover 3 in upper die plate 1 outside, be located at backing plate 4 in the patrix of upper die plate 1 lower end, by the axis of guide, be installed on the upper molded plate 5 of patrix fixed cover 3 lower ends, and the punch 15 that is installed on the lower end of backing plate 4 in patrix.
The operation principle of 2 to Fig. 4 U iron extrusion dies that lower die structure of the present invention is formed is described further by reference to the accompanying drawings more below:
As shown in Figure 2, in use, first by regulating the adjustment screw 18 of above-mentioned governor motion to make the axis of die 16 of lower die structure and the axis conllinear of the punch 15 of patrix upper limbs, and flat workpiece 7 is placed in die 16.
As shown in Figure 3, starting upper mould device makes punch 15 exert pressure to workpiece 7, and, because the diameter of punch 15 is the diameters that are less than die 16, there is gap between the two, and then the metal of workpiece 7 is just along flowing on the gap between punch 15 and die 16, thereby make required drag cup part, i.e. T iron product.
As shown in Figure 4, by upper mould device, punch 15 is upwards exited and leave die 16, push rod 14 up pushes cushion block 11 and knock-pin 9, can make the T iron product processing exit die 16, and then utilize to blow and expect that pipe 17 compressed air that blow out blow away, and can complete the making of T iron product.
Known by description above, this bright one side is provided with for regulating the governor motion of die 16 horizontal displacements in lower die structure, in mould extrusion process, can make by governor motion punch 15 concentric locatings of die 16 and upper mould device, the mesopore of part and the problem of cylindrical decentraction have been solved, improved the dimensional accuracy of product, and according to the theory of plastic deformation of metal material, adopt mould U iron to be pushed to production, the raw-material waste of larger minimizing.
Although described by reference to the accompanying drawings working of an invention mode; but the patent owner can make various distortion or modification within the scope of the appended claims; as long as be no more than the described protection domain of the claim of invention, all should be within the protection domain of invention.
Claims (5)
1. the lower die structure of a U iron extrusion die, it is characterized in that: comprise counterdie seat board (13), be installed on pad (12) in the counterdie on counterdie seat board (13), be installed on the counterdie (8) on pad (12) in counterdie, be installed on the die (16) in counterdie (8), be installed in counterdie and pad (12) above and the post rod mechanism being communicated with die (16), and it is upper for regulating the governor motion of die (16) horizontal displacement to be installed on counterdie seat board (13).
2. the lower die structure of U iron extrusion die according to claim 1, it is characterized in that: described governor motion comprises and is installed on the adjustment ring (10) that counterdie (8) outside was gone up and be positioned to counterdie seat board (13), be located at the adjustment block (19) between counterdie (8) and adjustment ring (10), and be installed on the circumferencial direction of described adjustment ring (10) and a plurality of adjustment screws (18) corresponding with adjustment block (19).
3. the lower die structure of U iron extrusion die according to claim 2, is characterized in that: the upper outside of described counterdie (8) is also provided with counterdie gland (6), and described counterdie gland (6) is also fixedly connected with adjustment ring (10).
4. the lower die structure of U iron extrusion die according to claim 2, it is characterized in that: described post rod mechanism comprises is located at cushion block moving up and down (11) in upper base plate (12), the push rod (14) that passes described counterdie seat board (13) and be connected with the bottom of cushion block (11), and the knock-pin (9) that is installed on the upper end of cushion block (11), and described knock-pin (9) is communicated with die (16).
5. according to the lower die structure of the U iron extrusion die described in claim 1~4 any one, it is characterized in that: also comprise be located at described counterdie (8) top blow material pipe (17), described in blow material pipe (17) and be also connected with an air compressor.
Priority Applications (1)
| Application Number | Priority Date | Filing Date | Title |
|---|---|---|---|
| CN201310604088.3A CN103639292A (en) | 2013-11-25 | 2013-11-25 | Lower die structure of U-iron extrusion die |
Applications Claiming Priority (1)
| Application Number | Priority Date | Filing Date | Title |
|---|---|---|---|
| CN201310604088.3A CN103639292A (en) | 2013-11-25 | 2013-11-25 | Lower die structure of U-iron extrusion die |
Publications (1)
| Publication Number | Publication Date |
|---|---|
| CN103639292A true CN103639292A (en) | 2014-03-19 |
Family
ID=50244649
Family Applications (1)
| Application Number | Title | Priority Date | Filing Date |
|---|---|---|---|
| CN201310604088.3A Pending CN103639292A (en) | 2013-11-25 | 2013-11-25 | Lower die structure of U-iron extrusion die |
Country Status (1)
| Country | Link |
|---|---|
| CN (1) | CN103639292A (en) |
Cited By (4)
| Publication number | Priority date | Publication date | Assignee | Title |
|---|---|---|---|---|
| CN104084489A (en) * | 2014-06-26 | 2014-10-08 | 梧州恒声电子科技有限公司 | Die fine adjusting mechanism |
| CN106404605A (en) * | 2016-11-18 | 2017-02-15 | 湖南大学 | Reusable optical glass viscosity measuring tool |
| CN109108133A (en) * | 2018-08-03 | 2019-01-01 | 宁国市金泰金属制品有限公司 | A kind of clutch coupling of washing machine flange punch forming technology |
| CN113878041A (en) * | 2021-10-14 | 2022-01-04 | 安徽江淮汽车集团股份有限公司 | Frame longitudinal beam blanking and punching composite die |
Citations (5)
| Publication number | Priority date | Publication date | Assignee | Title |
|---|---|---|---|---|
| KR20050103152A (en) * | 2005-02-18 | 2005-10-27 | 조명전자(주) | Galvanoplastics plate aline mechanism for blanking die |
| CN201077165Y (en) * | 2007-08-01 | 2008-06-25 | 陕西汽车集团有限责任公司 | Automatic discharge unit for punch press |
| CN202290828U (en) * | 2011-09-21 | 2012-07-04 | 南京工业职业技术学院 | One-step forming die for gear shaft |
| CN203061588U (en) * | 2012-12-29 | 2013-07-17 | 牟维军 | Metal extrusion die |
| CN203610514U (en) * | 2013-11-25 | 2014-05-28 | 梧州恒声电子科技有限公司 | Lower die structure for U-iron extrusion die |
-
2013
- 2013-11-25 CN CN201310604088.3A patent/CN103639292A/en active Pending
Patent Citations (5)
| Publication number | Priority date | Publication date | Assignee | Title |
|---|---|---|---|---|
| KR20050103152A (en) * | 2005-02-18 | 2005-10-27 | 조명전자(주) | Galvanoplastics plate aline mechanism for blanking die |
| CN201077165Y (en) * | 2007-08-01 | 2008-06-25 | 陕西汽车集团有限责任公司 | Automatic discharge unit for punch press |
| CN202290828U (en) * | 2011-09-21 | 2012-07-04 | 南京工业职业技术学院 | One-step forming die for gear shaft |
| CN203061588U (en) * | 2012-12-29 | 2013-07-17 | 牟维军 | Metal extrusion die |
| CN203610514U (en) * | 2013-11-25 | 2014-05-28 | 梧州恒声电子科技有限公司 | Lower die structure for U-iron extrusion die |
Cited By (4)
| Publication number | Priority date | Publication date | Assignee | Title |
|---|---|---|---|---|
| CN104084489A (en) * | 2014-06-26 | 2014-10-08 | 梧州恒声电子科技有限公司 | Die fine adjusting mechanism |
| CN106404605A (en) * | 2016-11-18 | 2017-02-15 | 湖南大学 | Reusable optical glass viscosity measuring tool |
| CN109108133A (en) * | 2018-08-03 | 2019-01-01 | 宁国市金泰金属制品有限公司 | A kind of clutch coupling of washing machine flange punch forming technology |
| CN113878041A (en) * | 2021-10-14 | 2022-01-04 | 安徽江淮汽车集团股份有限公司 | Frame longitudinal beam blanking and punching composite die |
Similar Documents
| Publication | Publication Date | Title |
|---|---|---|
| CN103639222A (en) | U iron extrusion die | |
| CN103639292A (en) | Lower die structure of U-iron extrusion die | |
| CN203817814U (en) | Angle-changeable mechanism mounted in electric spark cutting | |
| CN204953630U (en) | Ejecting formula blanking die | |
| CN201684852U (en) | Radial pressure applying reducing die of flexible metal tube | |
| CN205202041U (en) | Bullet top two push pedal quadratic terms of formula go out mould | |
| CN203610514U (en) | Lower die structure for U-iron extrusion die | |
| CN203610434U (en) | U-yoke extrusion mould | |
| CN212884487U (en) | Stamping metal die convenient to dismantle | |
| CN203526352U (en) | Automobile damper sealing bottom cover shaping mould | |
| CN201201301Y (en) | Chalk forming die | |
| CN109622769A (en) | A kind of bracket mould | |
| CN211660881U (en) | Bending die structure | |
| CN203092908U (en) | Dustproof injection molding machine | |
| CN203063029U (en) | Remotely controlled injection molding machine | |
| CN206344394U (en) | A kind of mould push piece plate core-pulling device | |
| CN207756720U (en) | The adjustable diel of platen pressure | |
| CN206510480U (en) | An adjustable mold for magnet production | |
| CN205167408U (en) | Spring type two-way sequential ejection injection mold | |
| CN205341631U (en) | Vehicle interior board punching device | |
| CN203610472U (en) | Lower die structure of blanking die for magnetism conduction sheet | |
| CN204892730U (en) | Special stamping die of platform processing | |
| CN204844746U (en) | Centering block arm -tie formula secondary ejecting device | |
| CN204672813U (en) | The radial shaping two-way progressive die system of processing of a kind of light-wall pipe | |
| CN205218048U (en) | Floating pulverulent product trimmer |
Legal Events
| Date | Code | Title | Description |
|---|---|---|---|
| PB01 | Publication | ||
| PB01 | Publication | ||
| C10 | Entry into substantive examination | ||
| SE01 | Entry into force of request for substantive examination | ||
| C02 | Deemed withdrawal of patent application after publication (patent law 2001) | ||
| WD01 | Invention patent application deemed withdrawn after publication |
Application publication date: 20140319 |