CN103618263A - 一种电缆剥切工具 - Google Patents

一种电缆剥切工具 Download PDF

Info

Publication number
CN103618263A
CN103618263A CN201310647808.4A CN201310647808A CN103618263A CN 103618263 A CN103618263 A CN 103618263A CN 201310647808 A CN201310647808 A CN 201310647808A CN 103618263 A CN103618263 A CN 103618263A
Authority
CN
China
Prior art keywords
cable
roller
cutter
curved
stripping
Prior art date
Legal status (The legal status is an assumption and is not a legal conclusion. Google has not performed a legal analysis and makes no representation as to the accuracy of the status listed.)
Pending
Application number
CN201310647808.4A
Other languages
English (en)
Inventor
梁流铭
马丽军
王绪军
吴英俊
蒋科若
赵铁林
陈中楣
王敏
林伟耀
肖立飞
刘鹏
左浩鑫
金雪林
施浩
余一栋
潘亚力
高晓辉
王灿
赖靖胤
叶天波
郑锋
秦桑
周一挺
Current Assignee (The listed assignees may be inaccurate. Google has not performed a legal analysis and makes no representation or warranty as to the accuracy of the list.)
Ningbo Power Supply Co of State Grid Zhejiang Electric Power Co Ltd
State Grid Corp of China SGCC
Original Assignee
Ningbo Power Supply Co of State Grid Zhejiang Electric Power Co Ltd
State Grid Corp of China SGCC
Priority date (The priority date is an assumption and is not a legal conclusion. Google has not performed a legal analysis and makes no representation as to the accuracy of the date listed.)
Filing date
Publication date
Application filed by Ningbo Power Supply Co of State Grid Zhejiang Electric Power Co Ltd, State Grid Corp of China SGCC filed Critical Ningbo Power Supply Co of State Grid Zhejiang Electric Power Co Ltd
Priority to CN201310647808.4A priority Critical patent/CN103618263A/zh
Publication of CN103618263A publication Critical patent/CN103618263A/zh
Pending legal-status Critical Current

Links

Images

Landscapes

  • Knives (AREA)

Abstract

本发明公开了一种电缆剥切装置,使用时,首先将电缆放置在第一电缆放置槽中,电缆应当与第一曲杆和第二曲杆垂直,然后将第一曲杆和第二曲杆夹紧,使第一切刀切入到电缆中,转动电缆,在第一滚轮装置的帮助下很容易实现,同时,第一切刀完成对电缆的径向剥切,之后将电缆放置到第二电缆放置槽中,此时电缆应当与第一曲杆和第二曲杆平行,然后将第一曲杆和第二曲杆夹紧,使第二切刀切入到电缆中,拉动电缆,在第二滚轮装置的帮助下很容易实现,同时,第二切刀完成对电缆的轴向剥切,此时,电缆的保护皮层就可以非常容易的去掉了,提高了工作效率,而且使用非常安全。

Description

一种电缆剥切工具
技术领域
本发明涉及电缆剥切技术领域,尤其涉及一种电缆剥切工具。
背景技术
随着电网的迅速发展,变电所数量不断增加及设备老化的加剧。变电所内各种继电保护和二次设备的技改、新建和扩建项目逐年增多。伴随着扩建和技改工作的增加,变电所内使用低压电缆的数量也日益增多,而对于低压电缆的剥切上一直存在无专用工具问题,目前变电所内剥除低压电缆的常用工具为弯钩式电缆刀。
弯钩式电缆刀使用过程中,用手握住电缆,用弯钩式电缆刀在电缆的外护层上划破来剥除电缆的外护层,铠装层需要用斜口钳等工具剪除,然后再用弯钩式电缆刀在电缆的内护层上划破来剥除电缆的内护层,划破这种处理方式比较危险,容易伤人,并且工作效率低下。
因此,如何提供一种电缆剥切工具,以提高工作效率,是目前本领域技术人员亟待解决的技术问题。
发明内容
有鉴于此,本发明的目的在于提供一种电缆剥切工具,以提高工作效率。
为了达到上述目的,本发明提供如下技术方案:
一种电缆剥切装置,包括第一曲杆、第二曲杆、第一剥切装置和第二剥切装置,其中,所述第一曲杆的弯曲处与所述第二曲杆的弯曲处铰接,所述第一剥切装置包括第一切刀和第一滚轮装置,所述第一切刀设置在所述第一曲杆的末端,所述第一滚轮装置固定在所述第二曲杆的末端,所述第一滚轮装置包括第一子滚轮和第二子滚轮,所述第一子滚轮和所述第二子滚轮间隔设置形成第一电缆放置槽,所述第一电缆放置槽与所述第一切刀对应设置,所述第二剥切装置包括第二切刀和第二滚轮装置,所述第二切刀设置在所述第二曲杆的顶端,所述第二滚轮装置固定在所述第二曲杆的顶端,所述第二滚轮装置包括第三子滚轮和第四子滚轮,所述第三子滚轮和所述第四子滚轮间隔设置形成第二电缆放置槽,所述第二电缆放置槽与所述第二切刀对应设置,所述第一切刀与所述第二切刀平行设置,所述第一电缆放线槽与所述第二电缆放线槽垂直设置。
优选的,上述第一曲杆与所述第二曲杆的铰接处的一侧设置有调节所述第一曲杆与所述第二曲杆铰接间距的调节螺钉,所述第一曲杆上设置有第一螺纹孔,所述第二曲杆上设置有第二螺纹孔,所述调节螺钉与所述第一螺纹孔和所述第二螺纹孔配合使用。
优选的,上述第一切刀为圆刀片,且可转动的设置在所述第一曲杆的末端。
优选的,上述第一曲杆的一侧间隔设置有第一固定板,所述第一切刀设置在所述第一固定板与所述第一曲杆之间。
优选的,上述第二切刀为圆刀片,且可转动的设置在所述第二曲杆的顶端。
优选的,上述第二曲杆的一侧间隔设置有第二固定板,所述第二切刀设置在所述第二固定板与所述第二曲杆之间。
优选的,上述第一曲杆的末端和所述第二曲杆的末端均设置有把手套。
优选的,上述第一曲杆的顶端和所述第二曲杆的顶端均向同侧倾斜。
本发明提供的电缆剥切装置,包括第一曲杆、第二曲杆、第一剥切装置和第二剥切装置,其中,所述第一曲杆的弯曲处与所述第二曲杆的弯曲处铰接,所述第一剥切装置包括第一切刀和第一滚轮装置,所述第一切刀设置在所述第一曲杆的末端,所述第一滚轮装置固定在所述第二曲杆的末端,所述第一滚轮装置包括第一子滚轮和第二子滚轮,所述第一子滚轮和所述第二子滚轮间隔设置形成第一电缆放置槽,所述第一电缆放置槽与所述第一切刀对应设置,所述第二剥切装置包括第二切刀和第二滚轮装置,所述第二切刀设置在所述第二曲杆的顶端,所述第二滚轮装置固定在所述第二曲杆的顶端,所述第二滚轮装置包括第三子滚轮和第四子滚轮,所述第三子滚轮和所述第四子滚轮间隔设置形成第二电缆放置槽,所述第二电缆放置槽与所述第二切刀对应设置,所述第一切刀与所述第二切刀平行设置,所述第一电缆放线槽与所述第二电缆放线槽垂直设置。使用时,首先将电缆放置在第一电缆放置槽中,电缆应当与第一曲杆和第二曲杆垂直,然后将第一曲杆和第二曲杆夹紧,使第一切刀切入到电缆中,转动电缆,在第一滚轮装置的帮助下很容易实现,同时,第一切刀完成对电缆的径向剥切,之后将电缆放置到第二电缆放置槽中,此时电缆应当与第一曲杆和第二曲杆平行,然后将第一曲杆和第二曲杆夹紧,使第二切刀切入到电缆中,拉动电缆,在第二滚轮装置的帮助下很容易实现,同时,第二切刀完成对电缆的轴向剥切,此时,电缆的保护皮层就可以非常容易的去掉了,提高了工作效率,而且使用非常安全。
附图说明
为了更清楚地说明本发明实施例或现有技术中的技术方案,下面将对实施例或现有技术描述中所需要使用的附图作简单地介绍,显而易见地,下面描述中的附图是本发明的一些实施例,对于本领域普通技术人员来讲,在不付出创造性劳动的前提下,还可以根据这些附图获得其他的附图。
图1为本发明实施例提供的电缆剥切装置侧视的结构示意图;
图2为本发明实施例提供的电缆剥切装置俯视的结构示意图。
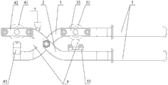
上图1和图2中:
第一曲杆1、第二曲杆2、第一切刀31、第一固定板32、第一滚轮装置33、第二切刀41、第二固定板42、第二滚轮装置43、把手套5、电缆6、调节螺钉7。
具体实施方式
本发明实施例提供了一种电缆剥切工具,以提高工作效率。
为使本发明实施例的目的、技术方案和优点更加清楚,下面将结合本发明实施例中的附图,对本发明实施例中的技术方案进行清楚、完整地描述,显然,所描述的实施例是本发明一部分实施例,而不是全部的实施例。基于本发明中的实施例,本领域普通技术人员在没有做出创造性劳动前提下所获得的所有其他实施例,都属于本发明保护的范围。
请参考图1和图2,图1为本发明实施例提供的电缆剥切装置侧视的结构示意图;图2为本发明实施例提供的电缆剥切装置俯视的结构示意图。
本发明实施例提供的电缆剥切装置,包括第一曲杆1、第二曲杆2、第一剥切装置和第二剥切装置,其中,第一曲杆1的弯曲处与第二曲杆2的弯曲处铰接,第一剥切装置包括第一切刀31和第一滚轮装置33,第一切刀31设置在第一曲杆1的末端,第一滚轮装置33固定在第二曲杆2的末端,第一滚轮装置33包括第一子滚轮和第二子滚轮,第一子滚轮和第二子滚轮间隔设置形成第一电缆放置槽,第一电缆放置槽与第一切刀31对应设置,第二剥切装置包括第二切刀41和第二滚轮装置43,第二切刀41设置在第二曲杆2的顶端,第二滚轮装置43固定在第二曲杆2的顶端,第二滚轮装置43包括第三子滚轮和第四子滚轮,第三子滚轮和第四子滚轮间隔设置形成第二电缆放置槽,第二电缆放置槽与第二切刀对应设置,第一切刀与第二切刀平行设置,第一电缆放线槽与第二电缆放线槽垂直设置。使用时,首先将电缆6放置在第一电缆放置槽中,电缆6应当与第一曲杆1和第二曲杆2垂直,然后将第一曲杆1和第二曲杆2夹紧,使第一切刀31切入到电缆6中,转动电缆6,在第一滚轮装置33的帮助下很容易实现,同时,第一切刀31完成对电缆6的径向剥切,之后将电缆6放置到第二电缆放置槽中,此时电缆6应当与第一曲杆1和第二曲杆2平行,然后将第一曲杆1和第二曲杆2夹紧,使第二切刀41切入到电缆中,拉动电缆6,在第二滚轮装置的帮助下很容易实现,同时,第二切刀41完成对电缆6的轴向剥切,此时,电缆6的保护皮层就可以非常容易的去掉了,提高了工作效率,而且使用非常安全。
电缆6的保护皮层包括外皮层和和铠装层,本发明实施例提供的电缆剥切装置能够实现对外皮层以及铠装层的剥切。
同时,第一曲杆1的顶端和第二曲杆2的顶端均向同侧倾斜,这样非常方便将第一电缆放线槽与第二电缆放线槽垂直设置,结构得到了优化。
其中,第一曲杆1与第二曲杆2的铰接处的一侧设置有调节第一曲杆1与第二曲杆2铰接间距的调节螺钉7,第一曲杆1上设置有第一螺纹孔,第二曲杆2上设置有第二螺纹孔,调节螺钉7与第一螺纹孔和第二螺纹孔配合使用,通过调节螺钉7对第一螺纹孔和第二螺纹孔的间距进行调节,那么同时能够对第一曲杆1和第二曲杆2的间距进行调节,例如,将电缆6放置在第一电缆放置槽中后,将第一曲杆1和第二曲杆2夹紧,然后通过调节螺钉7对两者的夹紧距离进行调节并使之固定,那么第一切刀31切入到电缆6的保护皮层中的深度是固定的,也就是可以调节第一切刀31的进刀深度,避免割伤电缆的内芯,对第二切刀41的作用同上。
其中,第一切刀31为圆刀片,且可转动的设置在第一曲杆1的末端,以降低电缆6转动时的摩擦力,方便使用,并且,在剥切的过程中不会被电缆6的保护皮层卡住。具体的,第一曲杆1的一侧间隔设置有第一固定板32,第一切刀31设置在第一固定板32与第一曲杆1之间,可以提高结构强度,使用寿命更长。
其中,第二切刀41为圆刀片,且可转动的设置在第二曲杆2的顶端,以降低电缆6转动时的摩擦力,方便使用,并且,在剥切的过程中不会被电缆6的保护皮层卡住。具体的,第二曲杆2的一侧间隔设置有第二固定板42,第二切刀41设置在第二固定板42与第二曲杆2之间,可以提高结构强度,使用寿命更长。
另外,第一曲杆1的末端和第二曲杆2的末端均设置有把手套5,方便操作人员手持握把。
对所公开的实施例的上述说明,使本领域专业技术人员能够实现或使用本发明。对这些实施例的多种修改对本领域的专业技术人员来说将是显而易见的,本文中所定义的一般原理可以在不脱离本发明的精神或范围的情况下,在其它实施例中实现。因此,本发明将不会被限制于本文所示的这些实施例,而是要符合与本文所公开的原理和新颖特点相一致的最宽的范围。

Claims (8)

1.一种电缆剥切装置,其特征在于,包括第一曲杆、第二曲杆、第一剥切装置和第二剥切装置,其中,
所述第一曲杆的弯曲处与所述第二曲杆的弯曲处铰接,
所述第一剥切装置包括第一切刀和第一滚轮装置,所述第一切刀设置在所述第一曲杆的末端,所述第一滚轮装置固定在所述第二曲杆的末端,所述第一滚轮装置包括第一子滚轮和第二子滚轮,所述第一子滚轮和所述第二子滚轮间隔设置形成第一电缆放置槽,所述第一电缆放置槽与所述第一切刀对应设置,
所述第二剥切装置包括第二切刀和第二滚轮装置,所述第二切刀设置在所述第二曲杆的顶端,所述第二滚轮装置固定在所述第二曲杆的顶端,所述第二滚轮装置包括第三子滚轮和第四子滚轮,所述第三子滚轮和所述第四子滚轮间隔设置形成第二电缆放置槽,所述第二电缆放置槽与所述第二切刀对应设置,
所述第一切刀与所述第二切刀平行设置,所述第一电缆放线槽与所述第二电缆放线槽垂直设置。
2.根据权利要求1所述的电缆剥切装置,其特征在于,所述第一曲杆与所述第二曲杆的铰接处的一侧设置有调节所述第一曲杆与所述第二曲杆铰接间距的调节螺钉,所述第一曲杆上设置有第一螺纹孔,所述第二曲杆上设置有第二螺纹孔,所述调节螺钉与所述第一螺纹孔和所述第二螺纹孔配合使用。
3.根据权利要求1所述的电缆剥切装置,其特征在于,所述第一切刀为圆刀片,且可转动的设置在所述第一曲杆的末端。
4.根据权利要求3所述的电缆剥切装置,其特征在于,所述第一曲杆的一侧间隔设置有第一固定板,所述第一切刀设置在所述第一固定板与所述第一曲杆之间。
5.根据权利要求1所述的电缆剥切装置,其特征在于,所述第二切刀为圆刀片,且可转动的设置在所述第二曲杆的顶端。
6.根据权利要求5所述的电缆剥切装置,其特征在于,所述第二曲杆的一侧间隔设置有第二固定板,所述第二切刀设置在所述第二固定板与所述第二曲杆之间。
7.根据权利要求1所述的电缆剥切装置,其特征在于,所述第一曲杆的末端和所述第二曲杆的末端均设置有把手套。
8.根据权利要求1所述的电缆剥切装置,其特征在于,所述第一曲杆的顶端和所述第二曲杆的顶端均向同侧倾斜。
CN201310647808.4A 2013-12-04 2013-12-04 一种电缆剥切工具 Pending CN103618263A (zh)

Priority Applications (1)

Application Number Priority Date Filing Date Title
CN201310647808.4A CN103618263A (zh) 2013-12-04 2013-12-04 一种电缆剥切工具

Applications Claiming Priority (1)

Application Number Priority Date Filing Date Title
CN201310647808.4A CN103618263A (zh) 2013-12-04 2013-12-04 一种电缆剥切工具

Publications (1)

Publication Number Publication Date
CN103618263A true CN103618263A (zh) 2014-03-05

Family

ID=50168966

Family Applications (1)

Application Number Title Priority Date Filing Date
CN201310647808.4A Pending CN103618263A (zh) 2013-12-04 2013-12-04 一种电缆剥切工具

Country Status (1)

Country Link
CN (1) CN103618263A (zh)

Cited By (3)

* Cited by examiner, † Cited by third party
Publication number Priority date Publication date Assignee Title
CN103986097A (zh) * 2014-06-10 2014-08-13 国家电网公司 一种电力线缆剥皮方法及专用工具
CN104852331A (zh) * 2015-02-15 2015-08-19 岱山县奥赛密封件厂 电线剥皮钳
CN107598994A (zh) * 2017-10-09 2018-01-19 江阴市永昌交通机械部件有限公司 一种拉索切断剥皮装置

Citations (7)

* Cited by examiner, † Cited by third party
Publication number Priority date Publication date Assignee Title
JP2003134625A (ja) * 2001-10-26 2003-05-09 Kensetsu Kiso Eng Co Ltd ストランド引張材のシースカッター
WO2007006894A1 (fr) * 2005-07-05 2007-01-18 Alroc Pince pour le denudage d’element tubulaire, en particulier de cable ou similaire
CN201868797U (zh) * 2010-11-29 2011-06-15 江苏省电力公司镇江供电公司 架空导线绝缘层剥离工具
CN202134857U (zh) * 2011-07-07 2012-02-01 河南省电力公司郑州供电公司 三合一型电缆剥切钳
CN202678847U (zh) * 2012-04-23 2013-01-16 山西省电力公司长治供电分公司 一种导线剥皮器
JP2013042617A (ja) * 2011-08-18 2013-02-28 Kandenko Co Ltd 電線被覆剥取具
CN203760942U (zh) * 2013-12-04 2014-08-06 国家电网公司 一种电缆剥切工具

Patent Citations (7)

* Cited by examiner, † Cited by third party
Publication number Priority date Publication date Assignee Title
JP2003134625A (ja) * 2001-10-26 2003-05-09 Kensetsu Kiso Eng Co Ltd ストランド引張材のシースカッター
WO2007006894A1 (fr) * 2005-07-05 2007-01-18 Alroc Pince pour le denudage d’element tubulaire, en particulier de cable ou similaire
CN201868797U (zh) * 2010-11-29 2011-06-15 江苏省电力公司镇江供电公司 架空导线绝缘层剥离工具
CN202134857U (zh) * 2011-07-07 2012-02-01 河南省电力公司郑州供电公司 三合一型电缆剥切钳
JP2013042617A (ja) * 2011-08-18 2013-02-28 Kandenko Co Ltd 電線被覆剥取具
CN202678847U (zh) * 2012-04-23 2013-01-16 山西省电力公司长治供电分公司 一种导线剥皮器
CN203760942U (zh) * 2013-12-04 2014-08-06 国家电网公司 一种电缆剥切工具

Cited By (4)

* Cited by examiner, † Cited by third party
Publication number Priority date Publication date Assignee Title
CN103986097A (zh) * 2014-06-10 2014-08-13 国家电网公司 一种电力线缆剥皮方法及专用工具
CN104852331A (zh) * 2015-02-15 2015-08-19 岱山县奥赛密封件厂 电线剥皮钳
CN107598994A (zh) * 2017-10-09 2018-01-19 江阴市永昌交通机械部件有限公司 一种拉索切断剥皮装置
CN107598994B (zh) * 2017-10-09 2019-04-30 江阴市永昌交通机械部件有限公司 一种拉索切断剥皮装置

Similar Documents

Publication Publication Date Title
CN104253398B (zh) 绝缘导线剥皮装置
CN201829869U (zh) 电缆剥皮器
CN203859451U (zh) 二次电缆专用剥皮钳
CN205104851U (zh) 一种控制电缆剥线钳
CN203747320U (zh) 一种便捷式电缆线剥皮工具
CN203434539U (zh) 一种电缆剥皮刀
CN203434537U (zh) 一种电缆剥切钳
CN103618263A (zh) 一种电缆剥切工具
CN205544011U (zh) 一种用于电缆外皮的便携式切割装置
CN203760942U (zh) 一种电缆剥切工具
CN204012491U (zh) 架空绝缘线剥线器
CN103618264A (zh) 一种电缆剥切工具
CN209401971U (zh) 通信线缆环切剥皮装置
CN203760943U (zh) 一种电缆剥切工具
CN203760944U (zh) 一种电缆剥切工具
CN204558869U (zh) 二次电缆专用工具
CN203056466U (zh) 手提式电缆电线剥皮工具
CN202424029U (zh) 一种稳定性好的电缆纵向剥皮刀
CN206531994U (zh) 光缆横向开缆工具
CN110768172A (zh) 一种手持式电缆开剥工具
CN106129910B (zh) 一种预热型电缆剥皮刀
CN204290178U (zh) 一种电缆绝缘层剥离工具
CN211126846U (zh) 一种导线快速脱皮装置
CN203760945U (zh) 多功能剥线工具
CN203911374U (zh) 快速电缆剥线器

Legal Events

Date Code Title Description
PB01 Publication
PB01 Publication
C10 Entry into substantive examination
SE01 Entry into force of request for substantive examination
RJ01 Rejection of invention patent application after publication

Application publication date: 20140305

RJ01 Rejection of invention patent application after publication