CN103604260A - Refrigerator water supply device and water supply method - Google Patents
Refrigerator water supply device and water supply method Download PDFInfo
- Publication number
- CN103604260A CN103604260A CN201310642946.3A CN201310642946A CN103604260A CN 103604260 A CN103604260 A CN 103604260A CN 201310642946 A CN201310642946 A CN 201310642946A CN 103604260 A CN103604260 A CN 103604260A
- Authority
- CN
- China
- Prior art keywords
- water
- refrigerator
- pipe
- water pipe
- water supply
- Prior art date
- Legal status (The legal status is an assumption and is not a legal conclusion. Google has not performed a legal analysis and makes no representation as to the accuracy of the status listed.)
- Granted
Links
Images
Landscapes
- Devices That Are Associated With Refrigeration Equipment (AREA)
Abstract
本发明涉及冰箱的技术领域,更具体地,涉及一种冰箱供水装置及其供水方法。一种冰箱供水装置,包括冷藏门体、冷冻门体、设于冷藏门体上的门搁架、设于冷冻门体上的制冰装置和可从外部接冷水的冷水取出口;还包括水管、水泵、与水泵连接的水阀、可拆卸安装在门搁架上的水箱组件,水泵和水阀设于压机仓内,水管一端连接水箱组件,另一端连接水泵;水阀通过水管分别连接制冰装置和冷水取出口。本发明的水箱安装结构简单,方便用户拆装清洁。带有过滤装置,防止用户添加的纯净水的二次污染,提供安全卫生的水源。供水的水箱组件安装在冷藏门体上,通过水箱的出水口与支架接口的安装,可以保证水路畅通的稳定性和可靠性,使装配及拆装更方便,方便用户清洁。
The present invention relates to the technical field of refrigerators, and more specifically, to a refrigerator water supply device and a water supply method thereof. A water supply device for a refrigerator, comprising a refrigerating door body, a freezing door body, a door shelf arranged on the refrigerating door body, an ice making device arranged on the freezing door body, and a cold water outlet that can receive cold water from the outside; it also includes a water pipe , the water pump, the water valve connected to the water pump, the water tank assembly detachably installed on the door shelf, the water pump and the water valve are located in the press chamber, one end of the water pipe is connected to the water tank assembly, and the other end is connected to the water pump; Ice maker and cold water outlet. The water tank of the present invention has a simple installation structure and is convenient for users to disassemble and clean. Equipped with a filter device to prevent secondary pollution of pure water added by users and provide a safe and hygienic water source. The water tank assembly for water supply is installed on the refrigerator door body. Through the installation of the water outlet of the water tank and the bracket interface, the stability and reliability of the smooth flow of water can be guaranteed, and the assembly and disassembly are more convenient, which is convenient for users to clean.
Description
技术领域 technical field
本发明涉及冰箱的技术领域,更具体地,涉及一种冰箱供水装置及其供水方法。 The present invention relates to the technical field of refrigerators, and more specifically, to a refrigerator water supply device and a water supply method thereof.
背景技术 Background technique
市场上高端冰箱产品大多配置有饮水机,自动制冰机等功能,并在门的面板上有取冰和冷水的出口,实现不用打开冰箱门,就可以取冰或取冷水功能。这类冰箱一般是从自来水管直接引入自来水通过水阀给自动制冰装置和饮水装置供水,这样供水量受自来水水压的影响很大,有的城市早晚用水高峰时水压很低,晚上水压很高,通过固定时间来给自动制冰装置注水时的供水量会有很大的偏差;而外接水源的水质也是较大的问题,通过给冰箱增加过滤器的方式也不能将外接水源的水质提高很多。 Most of the high-end refrigerators on the market are equipped with functions such as water dispensers and automatic ice makers, and there are outlets for taking ice and cold water on the door panel, so that you can take ice or cold water without opening the refrigerator door. This type of refrigerator generally introduces tap water directly from the tap water pipe to supply water to the automatic ice maker and drinking water device through the water valve, so the water supply is greatly affected by the tap water pressure. The pressure is very high, and there will be a large deviation in the water supply when filling the automatic ice-making device with water at a fixed time; the water quality of the external water source is also a big problem, and the method of adding a filter to the refrigerator cannot reduce the external water source. Water quality has improved a lot.
为解决这些问题有的冰箱设置了一个为其供水的水箱,一般安装在冷藏箱体里,通过用户添加纯净水来解决水质问题,这样会带来水质二次污染风险,而因不仅要给制冰装置供水还要供给取冷水功能,水箱的容量要很大,安装在箱体里比较占用储物空间。采用内置供水箱这种方式,在特定情况下,如在水箱无水时,水泵实施抽水动作,管路中会吸入空气,造成水管中形成水柱与气柱混合状态;待用户给水箱加水后,若水泵继续实施抽水动作,因水管内气柱水柱形成的压力,会产生管内水路不通,水不流动的现象。 In order to solve these problems, some refrigerators are equipped with a water tank for its water supply, which is generally installed in the refrigerator body, and the water quality problem can be solved by adding pure water to the user, which will bring the risk of secondary pollution of the water quality, and because not only the The water supply of the ice device also needs to provide the function of taking cold water. The capacity of the water tank must be large, and it will take up more storage space when installed in the box. Using the method of built-in water supply tank, under certain circumstances, such as when there is no water in the water tank, the water pump will pump water, and air will be sucked into the pipeline, resulting in a mixed state of water column and air column in the water pipe; after the user adds water to the water tank, If the water pump continues to pump water, due to the pressure formed by the air column and water column in the water pipe, the water channel in the pipe will be blocked and the water will not flow.
发明内容 Contents of the invention
本发明所要解决的技术问题是提供一种冰箱供水装置,其水箱安装结构简单,方便用户拆装清洁。又带有过滤装置,可以防止用户添加的纯净水的二次污染,提供安全卫生的水源。进一步的,提供一种供水方法,可以防止水路受气压堵塞,实现给制冰装置和取冷水功能提供稳定、水流量准确的供水效果。 The technical problem to be solved by the present invention is to provide a refrigerator water supply device, the water tank of which has a simple installation structure and is convenient for users to disassemble and clean. It is also equipped with a filter device, which can prevent secondary pollution of pure water added by users and provide a safe and hygienic water source. Further, a water supply method is provided, which can prevent the waterway from being blocked by air pressure, and realize the effect of providing stable water supply with accurate water flow to the ice making device and the function of taking cold water.
为解决上述技术问题,本发明采用的技术方案是:一种冰箱供水装置,其中,包括冷藏门体、冷冻门体、设于冷藏门体上的门搁架、设于冷冻门体上的制冰装置和可从外部接冷水的冷水取出口; In order to solve the above technical problems, the technical solution adopted by the present invention is: a refrigerator water supply device, which includes a refrigerator door body, a freezer door body, a door shelf arranged on the refrigerator door body, and a system installed on the freezer door body. Ice device and cold water outlet that can be connected to cold water from the outside;
还包括水管、水泵、与水泵连接的水阀、可拆卸安装在门搁架上的水箱组件,水泵和水阀设于压机仓内,水管一端连接水箱组件,另一端连接水泵;水阀通过水管分别连接制冰装置和冷水取出口。 It also includes a water pipe, a water pump, a water valve connected to the water pump, and a water tank assembly detachably installed on the door shelf. The water pump and the water valve are arranged in the press chamber. The water pipes are respectively connected to the ice making device and the cold water outlet.
本发明中,供水的水箱组件安装在冷藏门体上,通过水箱的出水口与支架接口的完全安装,可以保证水路畅通的稳定性和可靠性,使装配及拆装更方便,方便用户清洁;又充分利用了门上的空间,使箱体中的空间可以得到更好的利用,提高空间利用率。 In the present invention, the water tank assembly for water supply is installed on the refrigerated door, and the complete installation of the water outlet of the water tank and the bracket interface can ensure the stability and reliability of the smooth waterway, making assembly and disassembly more convenient, and convenient for users to clean; Furthermore, the space on the door is fully utilized, so that the space in the box body can be better utilized and the space utilization rate is improved.
而且在特定情况下,如供水的水箱组件从无水到有水状态转变时,通过水泵实施定时反向运转,可防止管路中的气压堵塞抽水现象,这样通过水泵和水阀可以稳定的为冷冻门体上的制冰装置和取冷水功能实现供水。 Moreover, under certain circumstances, such as when the water tank assembly for water supply changes from an anhydrous state to a state with water, the timing reverse operation of the water pump can prevent the air pressure in the pipeline from blocking the pumping phenomenon, so that the water pump and water valve can be used stably. The ice making device and the function of taking cold water on the freezing door realize water supply.
具体的,所述的水管包括第一水管、第二水管、第三水管、第四水管、第五水管、第六水管,冷藏门体下部设有冷藏下铰链,冷冻门体下部设有冷冻下铰链;第一水管发泡于冷藏门体中,从冷藏下铰链穿出,通过管接头与第二水管连接;第二水管穿过冰箱的底部,与水泵连接; Specifically, the water pipes include a first water pipe, a second water pipe, a third water pipe, a fourth water pipe, a fifth water pipe, and a sixth water pipe. Hinge; the first water pipe is foamed in the refrigerator door body, passes through the lower hinge of the refrigerator, and is connected to the second water pipe through a pipe joint; the second water pipe passes through the bottom of the refrigerator and is connected to the water pump;
水阀设有两个出口,分别连接第三水管和第四水管,第三水管通过管接头与第五水管连接,第五水管连接冷水取出口;第四水管通过管接头与第六水管连接,第六水管连接制冰装置;第三水管和第四水管穿过冰箱的底部,第五水管和第六水管发泡于冷冻门体中,并从冷冻下铰链穿出。 The water valve is provided with two outlets, respectively connected to the third water pipe and the fourth water pipe, the third water pipe is connected to the fifth water pipe through a pipe joint, the fifth water pipe is connected to the cold water outlet; the fourth water pipe is connected to the sixth water pipe through a pipe joint, The sixth water pipe is connected to the ice making device; the third water pipe and the fourth water pipe pass through the bottom of the refrigerator; the fifth water pipe and the sixth water pipe are foamed in the freezer door body and pass through the lower hinge of the freezer.
冰箱箱体前面装有冷冻门体和冷藏门体,门体分别通过铰链结合在箱体两侧的前端部,从而能够绕铰链轴转动。水箱里的水经管路系统从冷藏门体的下铰链,经过压机仓里的水泵,水阀,再经冷冻门体的下铰链,分别给制冰装置和冷水取出口供水。水泵为水路的流动提供动力,从水箱组件流出的水,通过第一水管和第二水管进入水泵,从水泵流出的水通过水阀的作用会一分为二,一部分水经第三水管通过管接头与第五水管连接,会流向取冷水取出口,一部分水则经第四水管通过管接头与第六水管连接,流向制冰装置,以上输水管道间密闭连接,通过水泵和水阀作用,可以稳定的为冷冻门体上的制冰装置和冷水取出口供水。 A freezing door body and a refrigerating door body are installed in the front of the refrigerator box body, and the door bodies are respectively connected to the front ends of both sides of the box body through hinges, so as to be able to rotate around the hinge shaft. The water in the water tank passes through the pipeline system from the lower hinge of the refrigerating door body, through the water pump and water valve in the press chamber, and then through the lower hinge of the freezing door body, to supply water to the ice making device and the cold water outlet respectively. The water pump provides power for the flow of the waterway. The water flowing out of the water tank assembly enters the water pump through the first water pipe and the second water pipe. The joint is connected to the fifth water pipe, which will flow to the cold water outlet, and a part of the water will pass through the fourth water pipe and connect to the sixth water pipe through the pipe joint, and flow to the ice making device. It can stably supply water to the ice making device and the cold water outlet on the freezer door.
进一步的,所述的水箱组件包括可拆卸安装在门搁架上的供水盒、设于供水盒上的支架、连接件、用于感应水箱是否安装到位的感应装置,连接件一端连接供水盒的出水处,另一端连接第一水管。所述的供水盒包括设于底部的水箱本体、与水箱本体密封装配的水箱盖,水箱盖上开有注水口,注水口上设有旋钮,注水口下部设有过滤装置。过滤装置用于过滤灌入水箱的水,提供安全卫生的水源,满足消费者需求。水箱本体底部有凸起,可实现用较小的阻力在门搁架上滑动。 Further, the water tank assembly includes a water supply box detachably installed on the door shelf, a bracket provided on the water supply box, a connecting piece, and a sensing device for sensing whether the water tank is installed in place. One end of the connecting piece is connected to the water supply box. Water outlet, the other end is connected with the first water pipe. The water supply box includes a water tank body at the bottom and a water tank cover sealed with the water tank body. The water tank cover is provided with a water injection port, a knob is provided on the water injection port, and a filter device is provided at the lower part of the water injection port. The filter device is used to filter the water poured into the water tank to provide a safe and hygienic water source to meet the needs of consumers. There are protrusions on the bottom of the water tank body, which can slide on the door shelf with less resistance.
进一步的,所述的水箱盖与支架之间设有配合的导向限位结构。所述的导向限位结构包括设于水箱盖上的箱盖导轨结构和箱盖卡扣限位结构,设于支架上的与箱盖导轨结构、箱盖卡扣限位结构配合的支架导轨结构和支架卡扣限位结构。通过水箱盖和支架上的卡扣限位结构,使得供水箱安装到位后不会轻意脱落,支架上有滑道引导结构和卡扣限位结构,可引导水箱定位安装。而且水箱可在冷藏门上门搁架内滑动,通过水平安装方向与支架上的硅胶连接件对接。 Further, a cooperating guiding and limiting structure is provided between the water tank cover and the bracket. The guide and position-limiting structure includes a tank cover guide rail structure and a tank cover buckle limit structure arranged on the water tank cover, and a bracket guide rail structure arranged on the bracket to cooperate with the tank cover guide rail structure and the tank cover buckle limit structure. And bracket buckle limit structure. The buckle limit structure on the water tank cover and the bracket prevents the water supply tank from falling off lightly after it is installed in place. The bracket has a slide guide structure and a buckle limit structure, which can guide the positioning and installation of the water tank. Moreover, the water tank can slide in the upper door shelf of the refrigerator door, and connect with the silicone connector on the bracket through the horizontal installation direction.
进一步的,所述的感应装置包括卡接于支架上的干簧管、安装于水箱盖上的磁铁,磁铁和干簧管感应水箱是否安装到位。所述的连接件为硅胶连接件,支架侧壁上开有孔,硅胶连接件插入孔中,另一端连接第一水管。制冰装置包括制冰格和制冰感温头。 Further, the sensing device includes a reed switch clamped on the bracket, a magnet installed on the water tank cover, and the magnet and the reed switch sense whether the water tank is installed in place. The connecting piece is a silicone connecting piece, and a hole is opened on the side wall of the bracket, the silicone connecting piece is inserted into the hole, and the other end is connected to the first water pipe. The ice making device includes an ice making tray and an ice making temperature sensing head.
本发明中,硅胶连接件一端具有H型的圆筋结构,支架侧面具有较大的圆孔,所述孔可卡在H型圆筋结构中间,可限制硅胶连接件在其圆孔缺口范围内可自由活动。或不同上述结构,硅胶连接件一端只有一条方筋结构,而支架侧面具有H型筋结构,并且所述筋上具有圆孔,硅胶连接件的方筋塞入支架,并可在筋上的圆孔范围内活动。 In the present invention, one end of the silicone connector has an H-shaped round rib structure, and the side of the bracket has a larger round hole. The hole can be stuck in the middle of the H-shaped round rib structure, which can limit the silicone connector within the range of the round hole gap. Freedom of movement. Or different from the above structure, one end of the silicone connector only has a square rib structure, and the side of the bracket has an H-shaped rib structure, and the rib has a round hole, the square rib of the silicone connector is inserted into the bracket, and the round rib on the rib within the hole range.
一种供水方法,应用所述的冰箱供水装置,包括以下步骤: A water supply method, using the refrigerator water supply device, comprises the following steps:
S1:用户对供水盒补水且安装上供水盒; S1: The user replenishes the water supply box and installs the water supply box;
S2:感应装置感应水箱是否安装到位,若安装到位感应装置提供信号给水泵; S2: The sensing device senses whether the water tank is installed in place, and if it is installed in place, the sensing device provides a signal to the water pump;
S3:水泵反向运转,将附着于输水管道上的多余水和气返回给供水盒; S3: The water pump runs in reverse, returning the excess water and air attached to the water pipe to the water supply box;
S4:水泵正向运转,分别向制冰装置和冷水取出口供水; S4: The water pump runs forward, supplying water to the ice making device and the cold water outlet respectively;
S5:对制冰装置注水完成后,制冰感温头感应制冰格内的温度,若制冰感温头感应温度上升表示供水盒有水且完成注水,若制冰感温头感应温度无上升则表示无注水,即判断供水盒无水。 S5: After filling the ice making device with water, the ice-making temperature sensing head senses the temperature in the ice-making compartment. If the temperature sensed by the ice-making temperature sensing head rises, it means that there is water in the water supply box and the water filling is completed. If it rises, it means that there is no water injection, that is, it is judged that there is no water in the water supply box.
具体的,在供水盒无水时,用户会取下供水盒补水,当用户又重新安装上供水盒时,感应装置会提供信号的转变,可触发水泵定时反向运转。水泵反向运转,将附着于输水管道上的多余水和气返回给供水盒,这样可使输水管路中压力减小。再实施水泵正向运转抽水时,水就可以正常流动。 Specifically, when the water supply box is dry, the user will remove the water supply box to replenish water, and when the user reinstalls the water supply box, the sensing device will provide a signal change, which can trigger the reverse operation of the water pump at regular intervals. The water pump runs in reverse to return excess water and air attached to the water delivery pipe to the water supply box, which reduces the pressure in the water delivery pipe. When the water pump is pumped in the forward direction, the water can flow normally.
其中,供水盒是否有水,可通过对制冰盒注水完成后,感受制冰盒下面的制冰感温头81温度变化来模糊判断。制冰盒所处的冷冻室温度一般在-15—-25度,而水箱所处的冷藏室室温一般在2-8度,所以如果制冰盒感温头感应温度有明显上升则表示供水盒有水且完成注水,无温度明显上升则表示无注水,即判断供水盒无水。 Wherein, whether there is water in the water supply box can be vaguely judged by feeling the temperature change of the ice-making temperature sensing head 81 under the ice-making box after filling the ice-making box with water. The temperature of the freezer where the ice box is located is generally -15-25 degrees, and the room temperature of the refrigerator where the water tank is located is generally 2-8 degrees, so if the temperature of the temperature sensor of the ice box rises significantly, it means that the water supply box If there is water and the water injection is completed, if there is no obvious temperature rise, it means that there is no water injection, that is, it is judged that the water supply box has no water.
与现有技术相比,有益效果是:本发明的水箱安装结构简单,方便用户拆装清洁。又带有过滤装置,可以防止用户添加的纯净水的二次污染,提供安全卫生的水源。供水的水箱组件安装在冷藏门体上,通过水箱的出水口与支架接口的完全安装,可以保证水路畅通的稳定性和可靠性,使装配及拆装更方便,方便用户清洁;又充分利用了门上的空间,使箱体中的空间可以得到更好的利用,提高空间利用率。 Compared with the prior art, the beneficial effect is that the water tank of the present invention has a simple installation structure and is convenient for users to disassemble and clean. It is also equipped with a filter device, which can prevent secondary pollution of pure water added by users and provide a safe and hygienic water source. The water tank assembly for water supply is installed on the refrigeration door body, and the complete installation of the water outlet of the water tank and the bracket interface can ensure the stability and reliability of the smooth flow of water, making assembly and disassembly more convenient for users to clean; and making full use of the The space on the door can make better use of the space in the cabinet and improve the space utilization rate.
其供水方法,在特定条件下,如水箱从无水到有水状态转变时,通过水泵实施定时反向运转,可以防止水路受气压堵塞;正常情况下,水泵正向运转实现供水。实现给制冰装置和取冷水功能提供稳定、水流量准确的供水效果。 Its water supply method, under certain conditions, such as when the water tank changes from anhydrous to a state of water, the water pump is used to perform regular reverse operation to prevent the waterway from being blocked by air pressure; under normal circumstances, the water pump is operated in the forward direction to achieve water supply. Realize the effect of providing stable water supply with accurate water flow to the ice making device and the function of taking cold water.
附图说明 Description of drawings
图1是本发明的供水装置布局示意图。 Fig. 1 is a schematic layout diagram of the water supply device of the present invention.
图2是本发明的水箱组件爆炸结构示意图。 Fig. 2 is a schematic diagram of the exploded structure of the water tank assembly of the present invention.
图3是本发明的水箱组件装配结构示意图。 Fig. 3 is a schematic diagram of the assembly structure of the water tank assembly of the present invention.
图4是本发明的水箱组件剖面结构示意图。 Fig. 4 is a schematic cross-sectional structure diagram of the water tank assembly of the present invention.
图5是本发明的供水盒安装示意图。 Fig. 5 is a schematic diagram of the installation of the water supply box of the present invention.
图6是本发明的支架与水箱盖配合结构放大示意图。 Fig. 6 is an enlarged schematic view of the cooperation structure between the bracket and the water tank cover of the present invention.
图7是本发明的供水方法流程示意图。 Fig. 7 is a schematic flow chart of the water supply method of the present invention.
具体实施方式 Detailed ways
附图仅用于示例性说明,不能理解为对本专利的限制;为了更好说明本实施例,附图某些部件会有省略、放大或缩小,并不代表实际产品的尺寸;对于本领域技术人员来说,附图中某些公知结构及其说明可能省略是可以理解的。 The accompanying drawings are for illustrative purposes only, and should not be construed as limitations on this patent; in order to better illustrate this embodiment, certain components in the accompanying drawings will be omitted, enlarged or reduced, and do not represent the size of the actual product; for those skilled in the art It is understandable that some well-known structures and descriptions thereof may be omitted in the drawings.
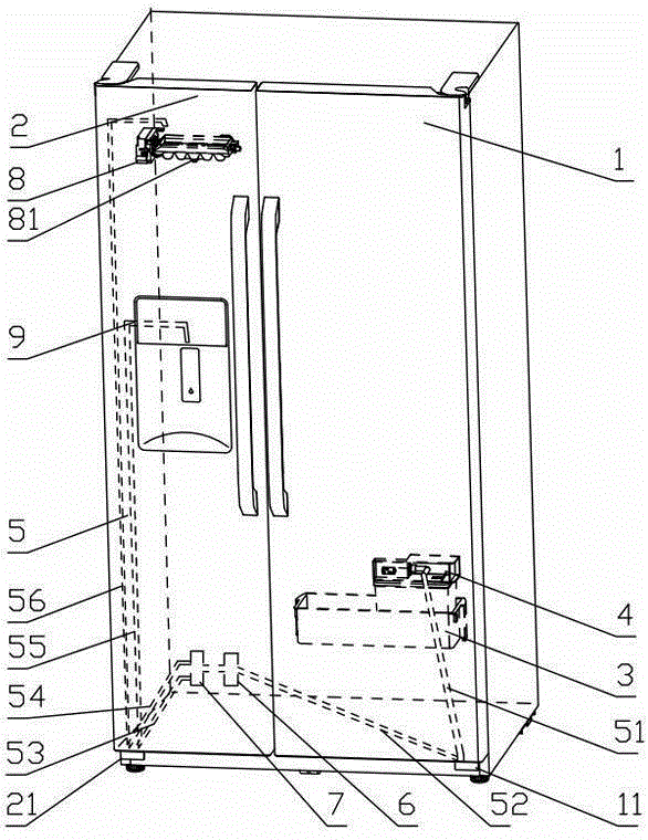
如图1所示,一种冰箱供水装置,其中,包括冷藏门体1、冷冻门体2、设于冷藏门体1上的门搁架3、设于冷冻门体2上的制冰装置8和可从外部接冷水的冷水取出口9;
As shown in Figure 1, a water supply device for a refrigerator includes a
还包括水管5、水泵6、与水泵6连接的水阀7、可拆卸安装在门搁架3上的水箱组件4,水泵6和水阀7设于压机仓内,水管5一端连接水箱组件4,另一端连接水泵6;水阀7通过水管5分别连接制冰装置8和冷水取出口9。
It also includes a
本实施例中,供水的水箱组件4安装在冷藏门体1上,通过水箱的出水口与支架接口的完全安装,可以保证水路畅通的稳定性和可靠性,使装配及拆装更方便,方便用户清洁;又充分利用了门上的空间,使箱体中的空间可以得到更好的利用,提高空间利用率。
In this embodiment, the
而且在特定情况下,如供水的水箱组件4从无水到有水状态转变时,通过水泵6实施定时反向运转,可防止管路中的气压堵塞抽水现象,这样通过水泵和水阀可以稳定的为冷冻门体上的制冰装置和取冷水功能实现供水。
And under certain circumstances, when the
具体的,水管5包括第一水管51、第二水管52、第三水管53、第四水管54、第五水管55、第六水管56,冷藏门体1下部设有冷藏下铰链11,冷冻门体2下部设有冷冻下铰链21;第一水管51发泡于冷藏门体1中,从冷藏下铰链11穿出,通过管接头与第二水管52连接;第二水管52穿过冰箱的底部,与水泵6连接;
Specifically, the
水阀7设有两个出口,分别连接第三水管53和第四水管54,第三水管53通过管接头与第五水管55连接,第五水管55连接冷水取出口9;第四水管54通过管接头与第六水管56连接,第六水管56连接制冰装置8;第三水管53和第四水管54穿过冰箱的底部,第五水管55和第六水管56发泡于冷冻门体2中,并从冷冻下铰链21穿出。
The
冰箱箱体前面装有冷冻门体2和冷藏门体1,门体分别通过铰链结合在箱体两侧的前端部,从而能够绕铰链轴转动。水箱里的水经管路系统从冷藏门体1的下铰链,经过压机仓里的水泵6,水阀7,再经冷冻门体的下铰链,分别给制冰装置8和冷水取出口9供水。水泵6为水路的流动提供动力,从水箱组件4流出的水,通过第一水管51和第二水管52进入水泵6,从水泵6流出的水通过水阀7的作用会一分为二,一部分水经第三水管53通过管接头与第五水管55连接,会流向取冷水取出口9,一部分水则经第四水管54通过管接头与第六水管56连接,流向制冰装置8,以上输水管道间密闭连接,通过水泵6和水阀7作用,可以稳定的为冷冻门体上的制冰装置和冷水取出口9供水。
A freezing
如图2、3中,水箱组件包括可拆卸安装在门搁架3上的供水盒、设于供水盒上的支架43、连接件44、用于感应水箱是否安装到位的感应装置,连接件44一端连接供水盒的出水处,另一端连接第一水管51。供水盒包括设于底部的水箱本体41、与水箱本体41密封装配的水箱盖42,水箱盖42上开有注水口,注水口上设有旋钮45,注水口下部设有过滤装置46。
As shown in Figures 2 and 3, the water tank assembly includes a water supply box detachably installed on the
过滤装置46用于过滤灌入水箱的水,提供安全卫生的水源,满足消费者需求。水箱本体41底部有凸起,可实现用较小的阻力在门搁架3上滑动。
The
如图2-6中,水箱盖42与支架43之间设有配合的导向限位结构。导向限位结构包括设于水箱盖42上的箱盖导轨结构422和箱盖卡扣限位结构421,设于支架43上的与箱盖导轨结构422、箱盖卡扣限位结构421配合的支架导轨结构431和支架卡扣限位结构432。
As shown in Figures 2-6, a cooperative guiding and limiting structure is provided between the
通过水箱盖42和支架43上的卡扣限位结构,使得供水箱安装到位后不会轻意脱落,支架43上有滑道引导结构和卡扣限位结构,可引导水箱定位安装。而且水箱可在冷藏门上门搁架3内滑动,通过水平安装方向与支架43上的硅胶连接件44对接。
Through the buckle limit structure on the
感应装置包括卡接于支架上的干簧管47、安装于水箱盖上的磁铁48,磁铁48和干簧管47感应水箱是否安装到位。连接件44为硅胶连接件,支架43侧壁上开有孔,硅胶连接件44插入孔中,另一端连接第一水管51。制冰装置8包括制冰格和制冰感温头81。
Induction device comprises the
本实施例中,硅胶连接件44一端具有H型的圆筋结构,支架43侧面具有较大的圆孔,所述孔可卡在H型圆筋结构中间,可限制硅胶连接件在其圆孔缺口范围内可自由活动。或不同上述结构,硅胶连接件一端只有一条方筋结构,而支架侧面具有H型筋结构,并且所述筋上具有圆孔,硅胶连接件的方筋塞入支架,并可在筋上的圆孔范围内活动。
In this embodiment, one end of the
如图7所示,一种供水方法,应用所述的冰箱供水装置,包括以下步骤: As shown in Figure 7, a water supply method, using the refrigerator water supply device, includes the following steps:
S1:用户对供水盒补水且安装上供水盒; S1: The user replenishes the water supply box and installs the water supply box;
S2:感应装置感应水箱是否安装到位,若安装到位感应装置提供信号给水泵; S2: The sensing device senses whether the water tank is installed in place, and if it is installed in place, the sensing device provides a signal to the water pump;
S3:水泵反向运转,将附着于输水管道上的多余水和气返回给供水盒; S3: The water pump runs in reverse, returning the excess water and air attached to the water pipe to the water supply box;
S4:水泵正向运转,分别向制冰装置和冷水取出口供水; S4: The water pump runs forward, supplying water to the ice making device and the cold water outlet respectively;
S5:对制冰装置注水完成后,制冰感温头感应制冰格内的温度,若制冰感温头感应温度上升表示供水盒有水且完成注水,若制冰感温头感应温度无上升则表示无注水,即判断供水盒无水。 S5: After filling the ice making device with water, the ice-making temperature sensing head senses the temperature in the ice-making compartment. If the temperature sensed by the ice-making temperature sensing head rises, it means that there is water in the water supply box and the water filling is completed. If it rises, it means that there is no water injection, that is, it is judged that there is no water in the water supply box.
具体的,在供水盒无水时,用户会取下供水盒补水,当用户又重新安装上供水盒时,感应装置会提供信号的转变,可触发水泵定时反向运转。水泵反向运转,将附着于输水管道上的多余水和气返回给供水盒,这样可使输水管路中压力减小。再实施水泵正向运转抽水时,水就可以正常流动。 Specifically, when the water supply box is dry, the user will remove the water supply box to replenish water, and when the user reinstalls the water supply box, the sensing device will provide a signal change, which can trigger the reverse operation of the water pump at regular intervals. The water pump runs in reverse to return excess water and air attached to the water delivery pipe to the water supply box, which reduces the pressure in the water delivery pipe. When the water pump is pumped in the forward direction, the water can flow normally.
其中,供水盒是否有水,可通过对制冰盒注水完成后,感受制冰盒下面的制冰感温头81温度变化来模糊判断。制冰盒所处的冷冻室温度一般在-15—-25度,而水箱所处的冷藏室室温一般在2-8度,所以如果制冰盒感温头感应温度有明显上升则表示供水盒有水且完成注水,无温度明显上升则表示无注水,即判断供水盒无水。 Wherein, whether there is water in the water supply box can be vaguely judged by feeling the temperature change of the ice-making temperature sensing head 81 under the ice-making box after filling the ice-making box with water. The temperature of the freezer where the ice box is located is generally -15-25 degrees, and the room temperature of the refrigerator where the water tank is located is generally 2-8 degrees, so if the temperature of the temperature sensor of the ice box rises significantly, it means that the water supply box If there is water and the water injection is completed, if there is no obvious temperature rise, it means that there is no water injection, that is, it is judged that the water supply box has no water.
本实施例的水箱安装结构简单,方便用户拆装清洁。又带有过滤装置,可以防止用户添加的纯净水的二次污染,提供安全卫生的水源。供水的水箱组件安装在冷藏门体上,通过水箱的出水口与支架接口的完全安装,可以保证水路畅通的稳定性和可靠性,使装配及拆装更方便,方便用户清洁;又充分利用了门上的空间,使箱体中的空间可以得到更好的利用,提高空间利用率。 The installation structure of the water tank in this embodiment is simple and convenient for users to disassemble and clean. It is also equipped with a filter device, which can prevent secondary pollution of pure water added by users and provide a safe and hygienic water source. The water tank assembly for water supply is installed on the refrigeration door body, and the complete installation of the water outlet of the water tank and the bracket interface can ensure the stability and reliability of the smooth flow of water, making assembly and disassembly more convenient for users to clean; and making full use of the The space on the door can make better use of the space in the cabinet and improve the space utilization rate.
其供水方法,在特定条件下,如水箱从无水到有水状态转变时,通过水泵实施定时反向运转,可以防止水路受气压堵塞;正常情况下,水泵正向运转实现供水。实现给制冰装置和取冷水功能提供稳定、水流量准确的供水效果。 Its water supply method, under certain conditions, such as when the water tank changes from anhydrous to a state of water, the water pump is used to perform regular reverse operation to prevent the waterway from being blocked by air pressure; under normal circumstances, the water pump is operated in the forward direction to achieve water supply. Realize the effect of providing stable water supply with accurate water flow to the ice making device and the function of taking cold water.
相同或相似的标号对应相同或相似的部件;附图中描述位置关系仅用于示例性说明,不能理解为对本专利的限制。 The same or similar symbols correspond to the same or similar components; the positional relationship described in the drawings is only for illustrative purposes, and should not be construed as a limitation on this patent.
以上所述仅是本发明的优选实施方式,应当指出,对于本技术领域的普通技术人员来说,在不脱离本发明原理的前提下,对发明的技术方案可以做若干适合实际情况的改进。因此,本发明的保护范围不限于此,本领域中的技术人员任何基于本发明技术方案上非实质性变更均包括在本发明保护范围之内。 The above description is only the preferred embodiment of the present invention. It should be pointed out that for those skilled in the art, without departing from the principle of the present invention, some improvements suitable for the actual situation can be made to the technical solution of the invention. Therefore, the protection scope of the present invention is not limited thereto, and any insubstantial changes based on the technical solution of the present invention are included in the protection scope of the present invention.
Claims (10)
Priority Applications (1)
| Application Number | Priority Date | Filing Date | Title |
|---|---|---|---|
| CN201310642946.3A CN103604260B (en) | 2013-12-05 | 2013-12-05 | A kind of water supplying apparatus for refrigerator and method of supplying water thereof |
Applications Claiming Priority (1)
| Application Number | Priority Date | Filing Date | Title |
|---|---|---|---|
| CN201310642946.3A CN103604260B (en) | 2013-12-05 | 2013-12-05 | A kind of water supplying apparatus for refrigerator and method of supplying water thereof |
Publications (2)
| Publication Number | Publication Date |
|---|---|
| CN103604260A true CN103604260A (en) | 2014-02-26 |
| CN103604260B CN103604260B (en) | 2015-09-02 |
Family
ID=50122506
Family Applications (1)
| Application Number | Title | Priority Date | Filing Date |
|---|---|---|---|
| CN201310642946.3A Active CN103604260B (en) | 2013-12-05 | 2013-12-05 | A kind of water supplying apparatus for refrigerator and method of supplying water thereof |
Country Status (1)
| Country | Link |
|---|---|
| CN (1) | CN103604260B (en) |
Cited By (11)
| Publication number | Priority date | Publication date | Assignee | Title |
|---|---|---|---|---|
| CN103851877A (en) * | 2014-02-28 | 2014-06-11 | 海信容声(广东)冰箱有限公司 | Control method of automatic ice maker system of refrigerator |
| CN104180600A (en) * | 2014-09-10 | 2014-12-03 | 合肥晶弘电器有限公司 | Refrigerator waterway control system with automatic circular water supply and refrigerator |
| CN104787957A (en) * | 2015-04-17 | 2015-07-22 | 绍兴摩纳净水科技有限公司 | Mounting-free portable instant-heating water purifier with cleanable filter elements |
| CN104817199A (en) * | 2015-04-17 | 2015-08-05 | 绍兴摩纳净水科技有限公司 | Assembly-free portable instant heating water purifier |
| CN105841430A (en) * | 2014-11-06 | 2016-08-10 | 东部大宇电子株式会社 | Refrigerator with detachable water tank |
| CN105841431A (en) * | 2014-11-06 | 2016-08-10 | 东部大宇电子株式会社 | Refrigerator and method of replacing water tank for refrigerator |
| CN106461308A (en) * | 2014-07-31 | 2017-02-22 | Lg 电子株式会社 | Refrigerator |
| CN107152547A (en) * | 2017-04-25 | 2017-09-12 | 青岛海尔股份有限公司 | Water valve and installation system, refrigerator and the installation method of pressure-reducing valve for refrigerator |
| CN110986441A (en) * | 2019-11-29 | 2020-04-10 | 合肥美的电冰箱有限公司 | Control method and control device for ice making device, ice making device and storage medium |
| CN112013586A (en) * | 2019-05-28 | 2020-12-01 | 青岛海尔电冰箱有限公司 | Ice-making assembly and refrigerator provided with the same |
| CN112013585A (en) * | 2019-05-28 | 2020-12-01 | 青岛海尔电冰箱有限公司 | Ice making assembly and refrigerator with same |
Citations (6)
| Publication number | Priority date | Publication date | Assignee | Title |
|---|---|---|---|---|
| CN201069296Y (en) * | 2007-06-07 | 2008-06-04 | 倪伯杨 | A drawer ice maker with water box position detection function |
| CN101375116A (en) * | 2006-02-17 | 2009-02-25 | Lg电子株式会社 | Ice making device for refrigerator and refrigerator having same |
| WO2011159116A2 (en) * | 2010-06-16 | 2011-12-22 | Lg Electronics Inc. | Refrigerator |
| JP2013072594A (en) * | 2011-09-28 | 2013-04-22 | Hitachi Appliances Inc | Refrigerator |
| CN103134261A (en) * | 2011-11-29 | 2013-06-05 | 三星电子株式会社 | Refrigerator |
| CN203595335U (en) * | 2013-12-05 | 2014-05-14 | 海信容声(广东)冰箱有限公司 | Refrigerator water supply device |
-
2013
- 2013-12-05 CN CN201310642946.3A patent/CN103604260B/en active Active
Patent Citations (6)
| Publication number | Priority date | Publication date | Assignee | Title |
|---|---|---|---|---|
| CN101375116A (en) * | 2006-02-17 | 2009-02-25 | Lg电子株式会社 | Ice making device for refrigerator and refrigerator having same |
| CN201069296Y (en) * | 2007-06-07 | 2008-06-04 | 倪伯杨 | A drawer ice maker with water box position detection function |
| WO2011159116A2 (en) * | 2010-06-16 | 2011-12-22 | Lg Electronics Inc. | Refrigerator |
| JP2013072594A (en) * | 2011-09-28 | 2013-04-22 | Hitachi Appliances Inc | Refrigerator |
| CN103134261A (en) * | 2011-11-29 | 2013-06-05 | 三星电子株式会社 | Refrigerator |
| CN203595335U (en) * | 2013-12-05 | 2014-05-14 | 海信容声(广东)冰箱有限公司 | Refrigerator water supply device |
Cited By (18)
| Publication number | Priority date | Publication date | Assignee | Title |
|---|---|---|---|---|
| CN103851877A (en) * | 2014-02-28 | 2014-06-11 | 海信容声(广东)冰箱有限公司 | Control method of automatic ice maker system of refrigerator |
| CN106461308B (en) * | 2014-07-31 | 2019-07-30 | Lg 电子株式会社 | refrigerator |
| US10215477B2 (en) | 2014-07-31 | 2019-02-26 | Lg Electronics Inc. | Refrigerator |
| EP3175188A4 (en) * | 2014-07-31 | 2018-03-21 | LG Electronics Inc. | Refrigerator |
| CN106461308A (en) * | 2014-07-31 | 2017-02-22 | Lg 电子株式会社 | Refrigerator |
| CN104180600B (en) * | 2014-09-10 | 2017-05-31 | 合肥晶弘电器有限公司 | The refrigerator water path control system and refrigerator of a kind of automatic circulation water-supplying |
| CN104180600A (en) * | 2014-09-10 | 2014-12-03 | 合肥晶弘电器有限公司 | Refrigerator waterway control system with automatic circular water supply and refrigerator |
| CN105841430A (en) * | 2014-11-06 | 2016-08-10 | 东部大宇电子株式会社 | Refrigerator with detachable water tank |
| CN105841431A (en) * | 2014-11-06 | 2016-08-10 | 东部大宇电子株式会社 | Refrigerator and method of replacing water tank for refrigerator |
| CN104817199A (en) * | 2015-04-17 | 2015-08-05 | 绍兴摩纳净水科技有限公司 | Assembly-free portable instant heating water purifier |
| CN104787957A (en) * | 2015-04-17 | 2015-07-22 | 绍兴摩纳净水科技有限公司 | Mounting-free portable instant-heating water purifier with cleanable filter elements |
| CN107152547A (en) * | 2017-04-25 | 2017-09-12 | 青岛海尔股份有限公司 | Water valve and installation system, refrigerator and the installation method of pressure-reducing valve for refrigerator |
| CN107152547B (en) * | 2017-04-25 | 2019-05-03 | 青岛海尔股份有限公司 | Installation system, refrigerator and installation method of water valve and pressure reducing valve for refrigerator |
| CN112013586A (en) * | 2019-05-28 | 2020-12-01 | 青岛海尔电冰箱有限公司 | Ice-making assembly and refrigerator provided with the same |
| CN112013585A (en) * | 2019-05-28 | 2020-12-01 | 青岛海尔电冰箱有限公司 | Ice making assembly and refrigerator with same |
| CN112013585B (en) * | 2019-05-28 | 2022-04-29 | 青岛海尔电冰箱有限公司 | Ice-making assembly and refrigerator provided with the same |
| CN112013586B (en) * | 2019-05-28 | 2022-05-20 | 青岛海尔电冰箱有限公司 | Ice making assembly and refrigerator provided with same |
| CN110986441A (en) * | 2019-11-29 | 2020-04-10 | 合肥美的电冰箱有限公司 | Control method and control device for ice making device, ice making device and storage medium |
Also Published As
| Publication number | Publication date |
|---|---|
| CN103604260B (en) | 2015-09-02 |
Similar Documents
| Publication | Publication Date | Title |
|---|---|---|
| CN103604260B (en) | A kind of water supplying apparatus for refrigerator and method of supplying water thereof | |
| CN203595335U (en) | Refrigerator water supply device | |
| US10670320B2 (en) | Refrigerator | |
| US10401072B2 (en) | Refrigerator | |
| KR101837451B1 (en) | Refrigerator | |
| US20140157810A1 (en) | Refrigerator | |
| US10502477B2 (en) | Refrigerator appliance | |
| US11543173B2 (en) | Refrigerator | |
| CN103438652B (en) | Refrigerator | |
| CN104180583B (en) | The refrigerator water path system and refrigerator of a kind of automatic circulation water-supplying | |
| WO2011000072A2 (en) | Water supply system in refrigerators | |
| WO2023015909A1 (en) | Water storage device and refrigerator | |
| US10655909B2 (en) | Refrigerating appliance | |
| EP4361540A1 (en) | Refrigerator | |
| KR101754360B1 (en) | Refrigerator | |
| CN101818983A (en) | Method for removing condensed water of sliding door of freezer | |
| CN202938577U (en) | Refrigerator with distributor | |
| US20230108527A1 (en) | Beverage-dispensing appliance having a chilled carbonator | |
| CN203810841U (en) | Water dispenser system with optional water supply modes and refrigerator using system | |
| CN102297551A (en) | Refrigerator and automatic ice maker thereof | |
| CN201368637Y (en) | Defrosting freeze prevention ice-box wine cabinet | |
| CN102095297B (en) | Ice making assembly and refrigeration device with same | |
| CN103471313A (en) | Refrigerator | |
| CN215490486U (en) | Convenient and fast refrigerator type tea bar machine | |
| CN222504541U (en) | A refrigerator |
Legal Events
| Date | Code | Title | Description |
|---|---|---|---|
| C06 | Publication | ||
| PB01 | Publication | ||
| SE01 | Entry into force of request for substantive examination | ||
| SE01 | Entry into force of request for substantive examination | ||
| C14 | Grant of patent or utility model | ||
| GR01 | Patent grant |
