CN103591684A - Intelligent energy-saving single water tank constant temperature unit capable of continuously supplying hot water - Google Patents
Intelligent energy-saving single water tank constant temperature unit capable of continuously supplying hot water Download PDFInfo
- Publication number
- CN103591684A CN103591684A CN201310577666.9A CN201310577666A CN103591684A CN 103591684 A CN103591684 A CN 103591684A CN 201310577666 A CN201310577666 A CN 201310577666A CN 103591684 A CN103591684 A CN 103591684A
- Authority
- CN
- China
- Prior art keywords
- water
- water tank
- source heat
- heat pump
- air source
- Prior art date
- Legal status (The legal status is an assumption and is not a legal conclusion. Google has not performed a legal analysis and makes no representation as to the accuracy of the status listed.)
- Granted
Links
Images
Landscapes
- Heat-Pump Type And Storage Water Heaters (AREA)
- Bathtubs, Showers, And Their Attachments (AREA)
Abstract
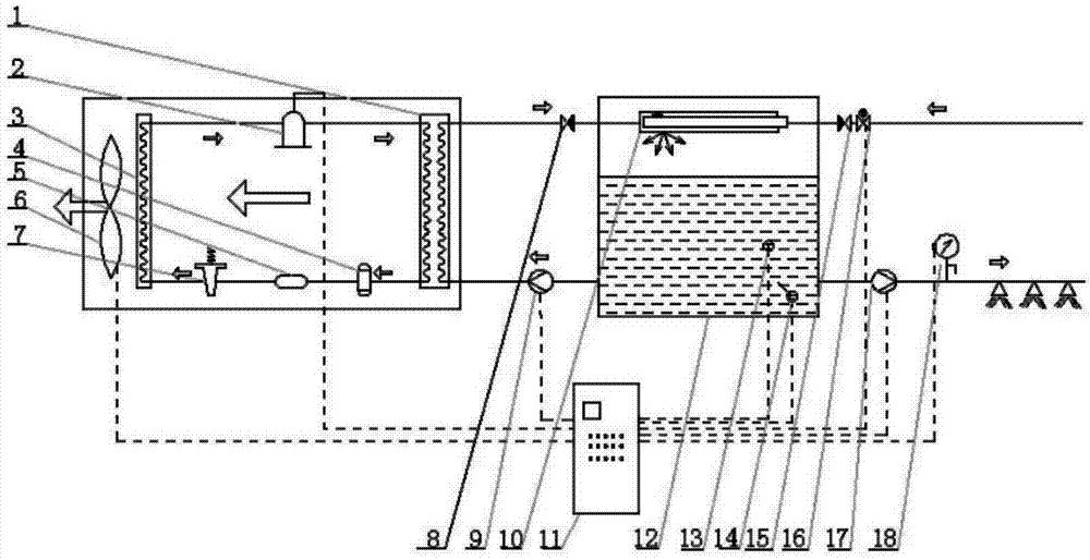
一种智能节能单水箱恒温连续供热水机组,包括:空气源热泵机组、止回阀、水箱、电磁阀、喷头供水泵,远传压力表、智能控制柜;所述的空气源热泵机组包括:冷凝器、压缩机、蒸发器、储液罐、过滤器、风机、膨胀阀;所述的水箱包括:混水装置、温度传感器、液位传感器;所述的混水装置是个套管,内管为冷水进水管,向上开有四排出水孔,且每排水孔夹角为40°,其末端封闭,外管为热水进水管,末端与内管外壁封闭,外管管壁向下方均匀开有四排出水孔,每排水孔夹角为40°;本装置安装简单、易于实现,维护费用低。
An intelligent energy-saving single water tank constant temperature continuous water supply unit, comprising: an air source heat pump unit, a check valve, a water tank, a solenoid valve, a nozzle water supply pump, a remote pressure gauge, and an intelligent control cabinet; the air source heat pump unit includes : condenser, compressor, evaporator, liquid storage tank, filter, fan, expansion valve; the water tank includes: water mixing device, temperature sensor, liquid level sensor; the water mixing device is a casing, the inner The pipe is a cold water inlet pipe, with four outlet holes opening upwards, and the angle between each outlet hole is 40°. The end is closed. The outer pipe is a hot water inlet pipe. There are four drainage holes, and the included angle of each drainage hole is 40°; the device is simple to install, easy to implement, and low in maintenance costs.
Description
Claims (1)
Priority Applications (1)
| Application Number | Priority Date | Filing Date | Title |
|---|---|---|---|
| CN201310577666.9A CN103591684B (en) | 2013-11-15 | 2013-11-15 | An intelligent energy-saving single water tank constant temperature continuous hot water supply unit |
Applications Claiming Priority (1)
| Application Number | Priority Date | Filing Date | Title |
|---|---|---|---|
| CN201310577666.9A CN103591684B (en) | 2013-11-15 | 2013-11-15 | An intelligent energy-saving single water tank constant temperature continuous hot water supply unit |
Publications (2)
| Publication Number | Publication Date |
|---|---|
| CN103591684A true CN103591684A (en) | 2014-02-19 |
| CN103591684B CN103591684B (en) | 2015-11-04 |
Family
ID=50081925
Family Applications (1)
| Application Number | Title | Priority Date | Filing Date |
|---|---|---|---|
| CN201310577666.9A Active CN103591684B (en) | 2013-11-15 | 2013-11-15 | An intelligent energy-saving single water tank constant temperature continuous hot water supply unit |
Country Status (1)
| Country | Link |
|---|---|
| CN (1) | CN103591684B (en) |
Citations (8)
| Publication number | Priority date | Publication date | Assignee | Title |
|---|---|---|---|---|
| US4293323A (en) * | 1979-08-30 | 1981-10-06 | Frederick Cohen | Waste heat energy recovery system |
| CN201104021Y (en) * | 2007-06-21 | 2008-08-20 | 中山市爱美泰电器有限公司 | Circulation heating type heat supply system |
| CN102192595A (en) * | 2011-07-04 | 2011-09-21 | 苏宇贵 | Sleeve heat exchange water tank and heat pump water heater using water tank |
| CN102944065A (en) * | 2012-11-30 | 2013-02-27 | 苏宇贵 | Three-casing-pipe heat exchanger and heat pump water heater using same |
| JP2013044441A (en) * | 2011-08-22 | 2013-03-04 | Panasonic Corp | Double tube type heat exchanger, and heat pump hot-water generator provided therewith |
| KR101287646B1 (en) * | 2011-07-29 | 2013-07-24 | 배덕수 | Heat Pump type air boiler |
| CN203190717U (en) * | 2013-01-11 | 2013-09-11 | 上海赫为尔新能源技术有限公司 | Ground source heat pump underground single straight double-pipe heat exchanger |
| CN203605460U (en) * | 2013-11-15 | 2014-05-21 | 大连圣鼎工业装备有限公司 | Intelligent energy-saving single-water-tank constant temperature continuous hot water supplying unit |
-
2013
- 2013-11-15 CN CN201310577666.9A patent/CN103591684B/en active Active
Patent Citations (8)
| Publication number | Priority date | Publication date | Assignee | Title |
|---|---|---|---|---|
| US4293323A (en) * | 1979-08-30 | 1981-10-06 | Frederick Cohen | Waste heat energy recovery system |
| CN201104021Y (en) * | 2007-06-21 | 2008-08-20 | 中山市爱美泰电器有限公司 | Circulation heating type heat supply system |
| CN102192595A (en) * | 2011-07-04 | 2011-09-21 | 苏宇贵 | Sleeve heat exchange water tank and heat pump water heater using water tank |
| KR101287646B1 (en) * | 2011-07-29 | 2013-07-24 | 배덕수 | Heat Pump type air boiler |
| JP2013044441A (en) * | 2011-08-22 | 2013-03-04 | Panasonic Corp | Double tube type heat exchanger, and heat pump hot-water generator provided therewith |
| CN102944065A (en) * | 2012-11-30 | 2013-02-27 | 苏宇贵 | Three-casing-pipe heat exchanger and heat pump water heater using same |
| CN203190717U (en) * | 2013-01-11 | 2013-09-11 | 上海赫为尔新能源技术有限公司 | Ground source heat pump underground single straight double-pipe heat exchanger |
| CN203605460U (en) * | 2013-11-15 | 2014-05-21 | 大连圣鼎工业装备有限公司 | Intelligent energy-saving single-water-tank constant temperature continuous hot water supplying unit |
Also Published As
| Publication number | Publication date |
|---|---|
| CN103591684B (en) | 2015-11-04 |
Similar Documents
| Publication | Publication Date | Title |
|---|---|---|
| CN108088070A (en) | A kind of Intelligent preheating gas heater and its subsystem and implementation method | |
| CN201628363U (en) | Novel energy-conserving and water-saving water heater | |
| CN101761964A (en) | Temperature-changing variable-quantity heating and heat exchange equipment | |
| CN203163080U (en) | Indoor heat exchanger | |
| CN203605460U (en) | Intelligent energy-saving single-water-tank constant temperature continuous hot water supplying unit | |
| CN205747150U (en) | Possesses the energy-saving control device for central heating heat exchange station of function of measuring | |
| CN202125993U (en) | Comprehensive heating system for gas instant-heating type water heater of air source heat pump | |
| CN110411036A (en) | Wall-mounted furnace water outlet temperature control method, device and equipment and wall-mounted furnace | |
| CN204513536U (en) | A kind of Novel multistage pump region energy supplying system | |
| CN201327106Y (en) | Variable-temperature-and-quantity heating and heat-exchange device | |
| CN103591684A (en) | Intelligent energy-saving single water tank constant temperature unit capable of continuously supplying hot water | |
| CN204611923U (en) | A solar hot water circulation pressurized supply system | |
| CN208983558U (en) | Central air conditioner with zone temperature intelligent control | |
| CN203478403U (en) | Direct-connection water mixing system for high-rise building | |
| CN201606961U (en) | Circulating system for showering and water saving | |
| CN202126010U (en) | Air source heat pump and fuel gas series type water heater | |
| CN201104021Y (en) | Circulation heating type heat supply system | |
| CN204345848U (en) | The pipe-line system of air-conditioning and floor heating | |
| CN203686343U (en) | Instant heating type water tap | |
| CN208886900U (en) | An energy-saving and efficient hot water supply system | |
| CN219531230U (en) | Hot water circulator | |
| CN201916997U (en) | Constant temperature water supply device | |
| CN201098051Y (en) | Energy-saving bathing device | |
| CN201237299Y (en) | Hot water circulating system of bathing appliance | |
| CN107560147B (en) | Household air source heat pump hot water system assisted by gas wall-mounted boiler and control method thereof |
Legal Events
| Date | Code | Title | Description |
|---|---|---|---|
| C06 | Publication | ||
| PB01 | Publication | ||
| SE01 | Entry into force of request for substantive examination | ||
| SE01 | Entry into force of request for substantive examination | ||
| C14 | Grant of patent or utility model | ||
| GR01 | Patent grant | ||
| PE01 | Entry into force of the registration of the contract for pledge of patent right | ||
| PE01 | Entry into force of the registration of the contract for pledge of patent right |
Denomination of invention: An intelligent energy-saving single water tank constant temperature continuous heating water unit Effective date of registration: 20230614 Granted publication date: 20151104 Pledgee: China Construction Bank Corporation Dalian Jinpu New Area Branch Pledgor: DALIAN SHENGDING INDUSTRY EQUIPMENT Co.,Ltd. Registration number: Y2023980043988 |
|
| PC01 | Cancellation of the registration of the contract for pledge of patent right | ||
| PC01 | Cancellation of the registration of the contract for pledge of patent right |
Granted publication date: 20151104 Pledgee: China Construction Bank Corporation Dalian Jinpu New Area Branch Pledgor: DALIAN SHENGDING INDUSTRY EQUIPMENT Co.,Ltd. Registration number: Y2023980043988 |
