CN103590566A - Stone drying mucilage glue installing structure and installing method - Google Patents

Stone drying mucilage glue installing structure and installing method Download PDF

Info

Publication number
CN103590566A
CN103590566A CN201310528298.9A CN201310528298A CN103590566A CN 103590566 A CN103590566 A CN 103590566A CN 201310528298 A CN201310528298 A CN 201310528298A CN 103590566 A CN103590566 A CN 103590566A
Authority
CN
China
Prior art keywords
glue
stone material
dry
stone
mucilage glue
Prior art date
Legal status (The legal status is an assumption and is not a legal conclusion. Google has not performed a legal analysis and makes no representation as to the accuracy of the status listed.)
Withdrawn
Application number
CN201310528298.9A
Other languages
Chinese (zh)
Inventor
米央
潘井木
金夏晴
吴贞义
林志勇
刘建
刘金
刘世鑫
毛鹏
沈加萍
汤晶
唐志良
王辉
王小柱
王玉亮
黄烨红
郭亮
Current Assignee (The listed assignees may be inaccurate. Google has not performed a legal analysis and makes no representation or warranty as to the accuracy of the list.)
Suzhou Gold Mantis Construction Decoration Co Ltd
Original Assignee
Suzhou Gold Mantis Construction Decoration Co Ltd
Priority date (The priority date is an assumption and is not a legal conclusion. Google has not performed a legal analysis and makes no representation as to the accuracy of the date listed.)
Filing date
Publication date
Application filed by Suzhou Gold Mantis Construction Decoration Co Ltd filed Critical Suzhou Gold Mantis Construction Decoration Co Ltd
Priority to CN201310528298.9A priority Critical patent/CN103590566A/en
Publication of CN103590566A publication Critical patent/CN103590566A/en
Withdrawn legal-status Critical Current

Links

Images

Landscapes

  • Finishing Walls (AREA)

Abstract

The invention discloses a stone drying mucilage glue installing structure. The stone drying mucilage glue installing structure comprises stone (1), dry mucilage glue (2), a transverse skeleton (3) and a vertical skeleton (4). The transverse skeleton (3) is connected to the vertical skeleton (4) fixed on the wall. The back face of the stone (1) is provided with a mucilage glue filling groove (5), the portion, making contact with the stone (1), of the transverse skeleton (3) is provided with a mucilage glue permeating hole (6), the stone (1) is connected with the transverse skeleton (3) through the dry mucilage glue (2) in a bonding mode, the front portion of the dry mucilage glue (2) permeates into the mucilage glue filling groove (5) of the stone (1) to form a mucilage glue nail structure, and the back portion of the dry mucilage glue (2) stretches out of the mucilage glue permeating hole (6) and is attached to the back face of the transverse skeleton (3) to form a mucilage glue nail structure. The invention further discloses a stone drying mucilage glue installing method. According to the stone drying mucilage glue installing structure and the stone drying mucilage glue installing method, the problems that the thickness of dry hung stone boards is not large enough, dry hanging is not safe and construction cannot be carried out are solved, the exploitation quantity of natural stone can be reduced, construction efficiency is improved, the occupation to the using space by the dry hung stone is reduced, and the effective indoor using space is enlarged.

Description

The dry sticky mounting structure of stone material and mounting method
Technical field
The present invention relates to the dry sticky mounting structure of a kind of stone material and mounting method.
Background technology
Current domestic wall-surface stone is installed and is all adopted dry-hanging method construction, and the requirement that the sheet metal thickness that current building supplies business provides does not often reach international dry-hang stone high-class product, stone material thickness of slab negative common difference is bigger than normal, adopts conventional cladding mounting means cannot meet safety requirements, even cannot install.And many interior decorations position is because usage space requires restriction, also cannot adopt conventional dry-hanging method construction.
There is following drawback in traditional stone material dry suspending structure: when 1, stone material thickness is not enough, still use traditional dry hanging article construction, the back side is very thin stone material, has had a strong impact on the intensity of stone material, and the safety in utilization of stone material reduces greatly.2, traditional dry-hang stone is larger to taking of usage space.
Summary of the invention
The object of the invention is: provide a kind of stone material dry sticky mounting structure, it is not enough that it can solve dry-hang stone thickness of slab, the cladding dangerous and problem that cannot construct, thus reduce lithotome yield; Improve efficiency of construction; Minimizing dry-hang stone takies usage space, widens indoor effective usage space.
Another object of the present invention is: provide a kind of stone material dry sticky mounting method.
The technical scheme of mounting structure of the present invention is: the dry sticky mounting structure of a kind of stone material, and it comprises stone material, dry viscose glue, horizontal keel, centre keel, described horizontal keel are connected on the centre keel that is fixed on metope; Described back face of stone has glue-filling slot, horizontal keel and stone material contact site have seep through hole, between stone material and horizontal keel, by dry viscose glue, be bonded together, the interior glue pin structure that forms of glue-filling slot of stone material is infiltrated in the front portion of dry viscose glue, and the rear portion of dry viscose glue is stretched out seep through hole and is attached to horizontal keel reverse side and forms glue pin structure.
Described glue-filling slot is hook groove structure.
Described glue-filling slot be stone material Zi outer to interior groove obliquely.
The technical scheme of mounting method of the present invention is: the dry sticky mounting method of a kind of stone material, and it comprises the following steps: a, back face of stone have glue-filling slot, and horizontal keel and stone material contact site have seep through hole; B, by dry viscose glue, stone material and horizontal keel are bondd; C, dry viscose glue are under curdled appearance not, a part is infiltrated in the glue-filling slot of back face of stone, after solidifying, in glue-filling slot, form glue pin structure, opposite side is expanded the reverse side that is attached to horizontal keel after seeing through the seep through hole of horizontal keel, after solidifying, also form glue pin structure, between bilateral glue pin structure, form physical connection, and the bonding force acting in conjunction of and stone material and horizontal keel rear by dry viscose glue self expansion, stone material is bonded on horizontal keel securely.
Described glue-filling slot is hook groove structure.
Described glue-filling slot be stone material Zi outer to interior groove obliquely.
Advantage of the present invention is: the dry sticky mounting structure of stone material of the present invention and mounting method, and it is not enough that it can solve dry-hang stone thickness of slab, the cladding dangerous and problem that cannot construct, thus reduce lithotome yield; Improve efficiency of construction; Minimizing dry-hang stone takies usage space, widens indoor effective usage space; Meet various special circumstances and the designing requirement of interior decoration, to the thickness requirement of material, can greatly reduce and easy, saving of labor, building site noiselessness, no dust pollution also improve efficiency of construction simultaneously greatly.
Accompanying drawing explanation
Below in conjunction with drawings and Examples, the invention will be further described:
Fig. 1 implements the sectional view of stone material thickness when enough in prior art;
Fig. 2 is the sectional view while implementing stone material thickness deficiency in prior art;
Fig. 3 is the structural representation of the embodiment of the present invention one;
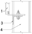
Wherein: 1 stone material; 2 dry viscose glues; 3 horizontal keel; 4 centre keels; 5 glue-filling slots; 6 seep through holes.
The specific embodiment
Embodiment mono-: as shown in Figure 3, the dry sticky dried hanging hang structure of a kind of stone material, it comprises stone material 1, dry viscose glue 2, horizontal keel 3, centre keel 4.Glue-filling slot 5 be Zi outer to interior groove obliquely, horizontal keel 3 cross sections are L-type.
Horizontal keel 3 are connected on the centre keel 4 that is fixed on metope; Horizontal keel 3 are and can be effectively connected by variety of way with centre keel 4.Stone material 1 back side has glue-filling slot 5, and dry viscose glue 2 pours into the inner physical connection that forms; Horizontal keel 3 have seep through hole 6 with stone material contact surface, stone material 1 is by the dry viscose glue 2 in glue-filling slot 5 with to see through the glue nail that seep through hole 6 forms at horizontal keel 3 back sides fixing, and seep through hole 6 is beneficial to dry viscose glue 2 and by seep through hole 6, through horizontal keel 3, forms overleaf glue nail and realize physical connection.Dry viscose glue 2 forms respectively physical connection and makes in conjunction with self cementability at stone material 1 and 3 of horizontal keel and realizes and being reliably connected between stone material 1 and horizontal keel 3.Wherein stone material 1 by dry viscose glue 2 in curdled appearance next part is not infiltrated the glue-filling slot 5 of stone material 1 one sides, after solidifying, at the interior formation glue of glue-filling slot 5, follow closely, opposite side is attached to the reverse side of horizontal keel 3 through the rear expansion in seep through hole 6 of horizontal keel 2, after solidifying, also form glue nail, between bilateral glue nail, form physical connection, and self expand the bonding force acting in conjunction of rear and stone material 1 and horizontal keel 3 by dry viscose glue 2, stone material 1 is bonded on horizontal keel 3 securely to the dry sticky dried hanging hang structure of the stone material of complete.
Embodiment bis-: the dry sticky mounting method of a kind of stone material, and it comprises the following steps:
A, stone material 1 back side have glue-filling slot 5, and glue-filling slot 5 is to interior groove obliquely Zi outer.Horizontal keel 3 have seep through hole 6 with stone material 1 contact site.
B, by dry viscose glue 2, stone material 1 and horizontal keel 3 are bondd.
C, dry viscose glue 2 are under curdled appearance not, a part is infiltrated in the glue-filling slot 5 at stone material 1 back side, after solidifying at the interior formation glue of glue-filling slot 5 pin structure, opposite side is attached to the reverse side of horizontal keel 3 through the rear expansion in seep through hole 6 of horizontal keel 2, after solidifying, also form glue pin structure, between bilateral glue pin structure, form physical connection, and self expand the bonding force acting in conjunction of rear and stone material 1 and horizontal keel 3 by dry viscose glue 2, stone material 1 is bonded on horizontal keel 3 securely.
It should be pointed out that for the present invention through absolutely proving, also can there is the embodiment of multiple conversion and remodeling, be not limited to above-mentioned specific embodiment.Above-described embodiment is as just explanation of the present invention, rather than limitation of the present invention.In a word, protection scope of the present invention should comprise those apparent conversion or alternative and remodeling to those skilled in the art.

Claims (6)

1. the dry sticky mounting structure of stone material, is characterized in that: it comprises stone material (1), dry viscose glue (2), horizontal keel (3), centre keel (4), and described horizontal keel (3) are connected on the centre keel (4) that is fixed on metope; Described stone material (1) back side has glue-filling slot (5), horizontal keel (3) have seep through hole (6) with stone material (1) contact site, between stone material (1) and horizontal keel (3), by dry viscose glue (2), be bonded together, the interior glue pin structure that forms of glue-filling slot (5) of stone material (1) is infiltrated in the front portion of dry viscose glue (2), and the rear portion of dry viscose glue (2) is stretched out seep through hole (6) and is attached to horizontal keel (3) reverse side and forms glue pin structure.
2. the dry sticky mounting structure of stone material according to claim 1, is characterized in that: described glue-filling slot (5) is hook groove structure.
3. the dry sticky mounting structure of stone material according to claim 1, is characterized in that: described glue-filling slot (5) is stone material (1) from outward to interior groove obliquely.
4. the dry sticky mounting method of stone material, is characterized in that: it comprises the following steps,
A, stone material (1) back side have glue-filling slot (5), and horizontal keel (3) have seep through hole (6) with stone material (1) contact site;
B, by dry viscose glue (2), stone material (1) and horizontal keel (3) are bondd;
C, dry viscose glue (2) are under curdled appearance not, a part is infiltrated in the glue-filling slot (5) at stone material (1) back side, after solidifying, in glue-filling slot (5), form glue pin structure, opposite side sees through the rear reverse side that is attached to horizontal keel (3) of expanding in seep through hole (6) of horizontal keel (2), after solidifying, also form glue pin structure, between bilateral glue pin structure, form physical connection, and the bonding force acting in conjunction of and stone material (1) and horizontal keel (3) rear by dry viscose glue (2) self expansion, stone material (1) is bonded on horizontal keel (3) securely.
5. the dry sticky mounting method of stone material according to claim 4, is characterized in that: described glue-filling slot (5) is hook groove structure.
6. the dry sticky mounting method of stone material according to claim 4, is characterized in that: described glue-filling slot (5) is stone material (1) from outward to interior groove obliquely.
CN201310528298.9A 2013-11-01 2013-11-01 Stone drying mucilage glue installing structure and installing method Withdrawn CN103590566A (en)

Priority Applications (1)

Application Number Priority Date Filing Date Title
CN201310528298.9A CN103590566A (en) 2013-11-01 2013-11-01 Stone drying mucilage glue installing structure and installing method

Applications Claiming Priority (1)

Application Number Priority Date Filing Date Title
CN201310528298.9A CN103590566A (en) 2013-11-01 2013-11-01 Stone drying mucilage glue installing structure and installing method

Publications (1)

Publication Number Publication Date
CN103590566A true CN103590566A (en) 2014-02-19

Family

ID=50080866

Family Applications (1)

Application Number Title Priority Date Filing Date
CN201310528298.9A Withdrawn CN103590566A (en) 2013-11-01 2013-11-01 Stone drying mucilage glue installing structure and installing method

Country Status (1)

Country Link
CN (1) CN103590566A (en)

Cited By (7)

* Cited by examiner, † Cited by third party
Publication number Priority date Publication date Assignee Title
CN105040950A (en) * 2015-06-30 2015-11-11 苏州金螳螂建筑装饰股份有限公司 Stone dry bonding mounting structure unit and mounting method thereof
CN105089245A (en) * 2015-09-14 2015-11-25 苏州金螳螂建筑装饰股份有限公司 Irregular splicing material dry-hanging structure and construction method thereof
CN106760296A (en) * 2016-12-07 2017-05-31 苏州红叶装饰工程有限公司 Face stone sheet material dried hanging method
CN107780542A (en) * 2017-09-30 2018-03-09 东莞市彩丽建筑维护技术有限公司 A method for preventing water leakage by cementing profiles
CN110731587A (en) * 2018-07-20 2020-01-31 余治兴 Method for repairing broken jade bracelet
CN112663845A (en) * 2020-12-29 2021-04-16 苏州金螳螂建筑装饰股份有限公司 Ultra-high space obliquely-arranged light-transmitting stone integrated design structure
CN113914568A (en) * 2021-10-18 2022-01-11 苏州金螳螂文化发展股份有限公司 A dry-hanging design structure of irregular stone

Cited By (7)

* Cited by examiner, † Cited by third party
Publication number Priority date Publication date Assignee Title
CN105040950A (en) * 2015-06-30 2015-11-11 苏州金螳螂建筑装饰股份有限公司 Stone dry bonding mounting structure unit and mounting method thereof
CN105089245A (en) * 2015-09-14 2015-11-25 苏州金螳螂建筑装饰股份有限公司 Irregular splicing material dry-hanging structure and construction method thereof
CN106760296A (en) * 2016-12-07 2017-05-31 苏州红叶装饰工程有限公司 Face stone sheet material dried hanging method
CN107780542A (en) * 2017-09-30 2018-03-09 东莞市彩丽建筑维护技术有限公司 A method for preventing water leakage by cementing profiles
CN110731587A (en) * 2018-07-20 2020-01-31 余治兴 Method for repairing broken jade bracelet
CN112663845A (en) * 2020-12-29 2021-04-16 苏州金螳螂建筑装饰股份有限公司 Ultra-high space obliquely-arranged light-transmitting stone integrated design structure
CN113914568A (en) * 2021-10-18 2022-01-11 苏州金螳螂文化发展股份有限公司 A dry-hanging design structure of irregular stone

Similar Documents

Publication Publication Date Title
CN103590566A (en) Stone drying mucilage glue installing structure and installing method
CN103174275B (en) Heat insulating decorative board hanging fastener component and mounting method thereof
CN104032914A (en) Suspended ceiling section bar
CN203961172U (en) Folded-edge dry-hang stone
CN205314449U (en) Building decorative board dogging formula connecting device
CN203640132U (en) Stereoscopic hanging system
CN203569839U (en) Stone dry bonding installation structure
CN204754058U (en) No fossil fragments drydash material structure
CN203729477U (en) Integrated suspended ceiling keel assembly
CN204126176U (en) A kind of improvement cladding system
CN202706430U (en) Dry hanging system of ceramic plate
CN203867112U (en) Dry-hanging wall tile structure
CN201474125U (en) Ceramic-plate hanging system
CN203716435U (en) Outer wall decorative pinch plate with heat-insulating cloth
CN204001347U (en) Suspended ceiling section bar
CN203531314U (en) Indoor glass decorative surface installation structure easy to detach
CN101509297B (en) Stacking keel installation method
CN201943310U (en) Combined fastener and anchoring component with same for fixing heat-preserving decorating composite board
CN101538908A (en) Combined installation method of keel and hanging hook
CN203559552U (en) Combined structure of novel wall decoration plate and hanging nail
CN220598995U (en) A kind of thermal insulation decorative integrated panel fixed pendant
CN204754071U (en) Argil board curtain pendant
CN204001310U (en) GRG plate dried hanging hang structure
CN203441043U (en) Push-pull externally hung stone
CN216406004U (en) Energy-concerving and environment-protective building wallboard

Legal Events

Date Code Title Description
C06 Publication
PB01 Publication
SE01 Entry into force of request for substantive examination
SE01 Entry into force of request for substantive examination
C04 Withdrawal of patent application after publication (patent law 2001)
WW01 Invention patent application withdrawn after publication

Application publication date: 20140219