CN103588334A - 聚酯树脂合成反应器 - Google Patents
聚酯树脂合成反应器 Download PDFInfo
- Publication number
- CN103588334A CN103588334A CN201310534171.8A CN201310534171A CN103588334A CN 103588334 A CN103588334 A CN 103588334A CN 201310534171 A CN201310534171 A CN 201310534171A CN 103588334 A CN103588334 A CN 103588334A
- Authority
- CN
- China
- Prior art keywords
- pipe
- synthesis reactor
- disinfection
- reactor according
- settling region
- Prior art date
- Legal status (The legal status is an assumption and is not a legal conclusion. Google has not performed a legal analysis and makes no representation as to the accuracy of the status listed.)
- Pending
Links
- 230000015572 biosynthetic process Effects 0.000 title claims abstract description 12
- 238000003786 synthesis reaction Methods 0.000 title claims abstract description 12
- 229920001225 polyester resin Polymers 0.000 title abstract 2
- 239000004645 polyester resin Substances 0.000 title abstract 2
- 238000004659 sterilization and disinfection Methods 0.000 claims abstract description 29
- 239000010865 sewage Substances 0.000 claims abstract description 23
- XLYOFNOQVPJJNP-UHFFFAOYSA-N water Substances O XLYOFNOQVPJJNP-UHFFFAOYSA-N 0.000 claims abstract description 18
- 238000002156 mixing Methods 0.000 claims abstract description 15
- SUKJFIGYRHOWBL-UHFFFAOYSA-N sodium hypochlorite Chemical compound [Na+].Cl[O-] SUKJFIGYRHOWBL-UHFFFAOYSA-N 0.000 claims abstract description 9
- 239000005708 Sodium hypochlorite Substances 0.000 claims abstract description 7
- ZAMOUSCENKQFHK-UHFFFAOYSA-N Chlorine atom Chemical compound [Cl] ZAMOUSCENKQFHK-UHFFFAOYSA-N 0.000 claims abstract description 4
- 239000000460 chlorine Substances 0.000 claims abstract description 4
- 229910052801 chlorine Inorganic materials 0.000 claims abstract description 4
- 238000001914 filtration Methods 0.000 claims description 17
- 230000001954 sterilising effect Effects 0.000 claims description 13
- 230000000630 rising effect Effects 0.000 claims description 10
- 125000001309 chloro group Chemical group Cl* 0.000 claims description 7
- 230000000694 effects Effects 0.000 claims description 7
- 241000700605 Viruses Species 0.000 claims description 6
- 230000001580 bacterial effect Effects 0.000 claims description 4
- 241000233866 Fungi Species 0.000 claims description 3
- 210000004666 bacterial spore Anatomy 0.000 claims description 3
- 210000004215 spore Anatomy 0.000 claims description 3
- VYPSYNLAJGMNEJ-UHFFFAOYSA-N Silicium dioxide Chemical compound O=[Si]=O VYPSYNLAJGMNEJ-UHFFFAOYSA-N 0.000 claims description 2
- 238000001556 precipitation Methods 0.000 abstract description 4
- CBENFWSGALASAD-UHFFFAOYSA-N Ozone Chemical compound [O-][O+]=O CBENFWSGALASAD-UHFFFAOYSA-N 0.000 abstract description 3
- 238000003915 air pollution Methods 0.000 abstract 1
- 238000005516 engineering process Methods 0.000 description 5
- 238000000034 method Methods 0.000 description 4
- 238000012545 processing Methods 0.000 description 4
- 230000000249 desinfective effect Effects 0.000 description 3
- 239000000796 flavoring agent Substances 0.000 description 3
- 235000019634 flavors Nutrition 0.000 description 3
- CDBYLPFSWZWCQE-UHFFFAOYSA-L Sodium Carbonate Chemical compound [Na+].[Na+].[O-]C([O-])=O CDBYLPFSWZWCQE-UHFFFAOYSA-L 0.000 description 2
- 230000006378 damage Effects 0.000 description 2
- 230000007812 deficiency Effects 0.000 description 2
- 239000003814 drug Substances 0.000 description 2
- 230000036541 health Effects 0.000 description 2
- 230000008569 process Effects 0.000 description 2
- 239000002699 waste material Substances 0.000 description 2
- UPLPHRJJTCUQAY-WIRWPRASSA-N 2,3-thioepoxy madol Chemical compound C([C@@H]1CC2)[C@@H]3S[C@@H]3C[C@]1(C)[C@@H]1[C@@H]2[C@@H]2CC[C@](C)(O)[C@@]2(C)CC1 UPLPHRJJTCUQAY-WIRWPRASSA-N 0.000 description 1
- ZKQDCIXGCQPQNV-UHFFFAOYSA-N Calcium hypochlorite Chemical compound [Ca+2].Cl[O-].Cl[O-] ZKQDCIXGCQPQNV-UHFFFAOYSA-N 0.000 description 1
- KZBUYRJDOAKODT-UHFFFAOYSA-N Chlorine Chemical compound ClCl KZBUYRJDOAKODT-UHFFFAOYSA-N 0.000 description 1
- 229920000742 Cotton Polymers 0.000 description 1
- 102000002322 Egg Proteins Human genes 0.000 description 1
- 108010000912 Egg Proteins Proteins 0.000 description 1
- 244000052616 bacterial pathogen Species 0.000 description 1
- 239000007844 bleaching agent Substances 0.000 description 1
- 239000003795 chemical substances by application Substances 0.000 description 1
- 230000015271 coagulation Effects 0.000 description 1
- 238000005345 coagulation Methods 0.000 description 1
- 238000003745 diagnosis Methods 0.000 description 1
- 238000007599 discharging Methods 0.000 description 1
- 229940079593 drug Drugs 0.000 description 1
- 238000005265 energy consumption Methods 0.000 description 1
- 230000006872 improvement Effects 0.000 description 1
- 230000010354 integration Effects 0.000 description 1
- 238000012423 maintenance Methods 0.000 description 1
- 210000004681 ovum Anatomy 0.000 description 1
- 244000045947 parasite Species 0.000 description 1
- 230000003071 parasitic effect Effects 0.000 description 1
- 230000001717 pathogenic effect Effects 0.000 description 1
- 150000002978 peroxides Chemical class 0.000 description 1
- 239000000843 powder Substances 0.000 description 1
- 238000011160 research Methods 0.000 description 1
- 238000012827 research and development Methods 0.000 description 1
- 229910000029 sodium carbonate Inorganic materials 0.000 description 1
- 235000017550 sodium carbonate Nutrition 0.000 description 1
- 239000003206 sterilizing agent Substances 0.000 description 1
- 238000012360 testing method Methods 0.000 description 1
- 238000005406 washing Methods 0.000 description 1
- 239000002351 wastewater Substances 0.000 description 1
Images
Landscapes
- Physical Water Treatments (AREA)
- Treatment Of Water By Oxidation Or Reduction (AREA)
Abstract
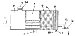
本发明公开了聚酯树脂合成反应器,包括进水管(1)、混合室(2)、沉淀区(3)、过滤室(4)、紫外线消毒区(5)和出水管(6),混合室(2)上端设有加药口(7),混合室(2)、沉淀区(3)、过滤室(4)与紫外线消毒区(5)依次相连,排堵管(8)设于沉淀区(3)下端,过滤室(4)内充满过滤介质(9),紫外线消毒区(5)下端设有排气管(10),右侧设有出水管(6),排气管(10)内设有臭氧层(11),出水管(6)内设有pH值检测仪(12)和余氯计(13),本发明加入次氯酸钠消毒剂经过一系列的杀菌消毒处理,使污水达到排放标准,有害气体经臭氧层(11)消毒后排出,不会对空气造成污染。
Description
技术领域
本发明涉及污水处理领域,具体的说是聚酯树脂合成反应器。
背景技术
医院污水中含有大量的病毒、病菌和寄生虫卵,一直是人民身体健康和社会安定的隐患,由于病毒、病菌的肆虐,造成了大量的人身伤害和财产损失,医院废水与废弃物的处理要求被提到新的高度。
目前医院和医疗机构在医疗、诊断、科研和日常管理中产生各种医疗污水,若不加严格管理和适当处理会对人体健康和生态环境造成危害,关于医院污水的防治措施和治理技术,国内进行了大量的研究开发,对含病原体污水大部分医院采用的是一级处理和氯化消毒技术,少数医院采用二级处理和氯化消毒技术,所使用的消毒剂有:液氯、次氯酸钠、二氧化氯、漂粉精,个别的使用臭氧、紫外线等消毒方法进行医院污水的消毒处理。就目前的医院污水处理设备来讲,存在着占地面积大,能耗高,维修不便,运持操作复杂,而且基建投资费用高,运行投加药剂费用高等问题,有些医院尽管安装了污水处理设备,也只能起到杀菌的作用,而国家新颁布的国家标准对CODcr和余氯都有新的要求,而以往的医院污水处理设备大多无法达到这种要求。
医院污水来源于门诊、住院部、洗衣房、食堂和厕所等,通常规模在数十吨至数百吨/天,医院污水水质比较复杂,除含大量病菌和寄生虫外,主要还含有各种药物、洗衣粉或纯碱、放射性同位素、棉签、纱布等,根据医院污水水质特点和采用的排放标准,目前采用的工艺线路主要有两种:一种是污水经格栅、调节池后进行消毒排放,另一种是经格栅、调节池后进入好氧生物处理单元,处理后再消毒排放,现有的技术多采用开放式的池体,产生大量的异味,不能对沉淀后的污水再次净化,并且存在着设备集成度不高,主体生物反应器器效率较低或造价较高、结构复杂等不足。
发明内容
本发明的目的是为克服现有技术的不足,提供一种结构简单、成本低、杀菌效果好,还能处理有害气体的诊所污水处理装置。
本发明采用的技术方案是:聚酯树脂合成反应器,包括进水管(1)、混合室(2)、沉淀区(3)、过滤室(4)、紫外线消毒区(5)和出水管(6),混合室(2)上端设有加药口(7),混合室(2)、沉淀区(3)、过滤室(4)与紫外线消毒区(5)依次相连,排堵管(8)设于沉淀区(3)下端,过滤室(4)内充满过滤介质(9)。
所述紫外线消毒区(5)下端设有排气管(10),右侧设有出水管(6),排气管(10)内设有臭氧层(11),出水管(6)内设有pH值检测仪(12)和余氯计(13)。
所述加药口(7)内加入次氯酸钠消毒剂(14),其具有杀灭水中一切细菌繁殖体、病毒、真菌及其孢子等作用,对细菌芽孢也有一定的灭菌作用,达到高水平的消毒要求。
所述排堵管(8)设于沉淀区(3)右侧,其具有排放水中沉淀物的作用,并且具有防堵塞的功能。
所述pH值检测仪(12)和余氯计(13)可以通过调节来控制污水排放的余氯含量和酸碱性,达到排放的标准。
所述过滤介质(9)为硅藻土。
本发明的优点在于:本发明加入次氯酸钠消毒剂杀灭水中的一切细菌繁殖体、病毒等,本装置经过一系列的杀菌消毒处理,使污水达到排放标准,有害气体经臭氧层(儿)消毒后排出,不会对空气造成污染。
附图说明
图1为本发明的结构示意图;
其中1—进水管;2—混合区;3—沉淀区;4—过滤室;5—紫外线消毒室;6—出水管;7—加药口;8—排堵管;9—过滤介质;10—排气管;11—臭氧层;12—pH值检测仪;13—余氯计;14—次氯酸钠消毒剂。
具体实施方式
下面结合附图及实施案例对本发明技术方案作进一步的说明。
如图所示,本发明提供的聚酯树脂合成反应器,包括进水管(1)、混合室(2)、沉淀区(3)、过滤室(4)、紫外线消毒区(5)和出水管(6),混合室(2)上端设有加药口(7),混合室(2)、沉淀区(3)、过滤室(4)与紫外线消毒区(5)依次相连,排堵管(8)设于沉淀区(3)下端,过滤室(4)内充满过滤介质(9),紫外线消毒区(5)下端设有排气管(10),右侧设有出水管(6),排气管(10)内设有臭氧层(11),出水管(6)内设有pH值检测仪(12)和余氯计(13)。
本发明在使用时,污水从进水管(1)进入混合室(2),加药口(7)内加入的次氯酸钠消毒剂(14)与污水在混合室(2)内混合,次氯酸钠消毒剂(14)具有杀灭水中一切细菌繁殖体、病毒、真菌及其孢子等作用,对细菌芽孢也有一定的灭菌作用,经过消毒处理后的污水进入沉淀区(3),水中的沉淀物得到充分沉淀,随后沉淀物从排堵管(8)排出,经过沉淀处理的污水通过过滤室(4)过滤,在经过紫外线消毒区(5)消毒,污水中的有害气体经过紫外线消毒区(5)消毒以及出水管(6)中臭氧层(11)的消毒处理后从排气管(10)排出,使排出的气体不会对空气造成污染,排放口设有的pH值检测仪(12)和余氯计(13)可以通过调节来控制污水排放的余氯含量和酸碱性,达到排放的标准。
Claims (6)
1.聚酯树脂合成反应器,其特征在于:包括进水管(1)、混合室(2)、沉淀区(3)、过滤室(4)、紫外线消毒区(5)和出水管(6),混合室(2)上端设有加药口(7),混合室(2)、沉淀区(3)、过滤室(4)与紫外线消毒区(5)依次相连,排堵管(8)设于沉淀区(3)下端,过滤室(4)内充满过滤介质(9)。
2.根据权利要求1所述的聚酯树脂合成反应器,其特征在于:所述紫外线消毒区(5)下端设有排气管(10),右侧设有出水管(6),排气管(10)内设有臭氧层(11),出水管(6)内设有pH值检测仪(12)和余氯计(13)。
3.根据权利要求1所述的聚酯树脂合成反应器,其特征在于:所述加药口(7)内加入次氯酸钠消毒剂(14),其具有杀灭水中一切细菌繁殖体、病毒、真菌及其孢子等作用,对细菌芽孢也有一定的灭菌作用,达到高水平的消毒要求。
4.根据权利要求1所述的聚酯树脂合成反应器,其特征在于:所述排堵管(8)设于沉淀区(3)右侧,其具有排放水中沉淀物的作用,并且具有防堵塞的功能。
5.根据权利要求2所述的聚酯树脂合成反应器,其特征在于:所述pH值检测仪(12)和余氯计(13)可以通过调节来控制污水排放的余氯含量和酸碱性,达到排放的标准。
6.根据权利要求1所述的聚酯树脂合成反应器,其特征在于:所述过滤介质(9)为硅藻土。
Priority Applications (1)
| Application Number | Priority Date | Filing Date | Title |
|---|---|---|---|
| CN201310534171.8A CN103588334A (zh) | 2013-10-31 | 2013-10-31 | 聚酯树脂合成反应器 |
Applications Claiming Priority (1)
| Application Number | Priority Date | Filing Date | Title |
|---|---|---|---|
| CN201310534171.8A CN103588334A (zh) | 2013-10-31 | 2013-10-31 | 聚酯树脂合成反应器 |
Publications (1)
| Publication Number | Publication Date |
|---|---|
| CN103588334A true CN103588334A (zh) | 2014-02-19 |
Family
ID=50078700
Family Applications (1)
| Application Number | Title | Priority Date | Filing Date |
|---|---|---|---|
| CN201310534171.8A Pending CN103588334A (zh) | 2013-10-31 | 2013-10-31 | 聚酯树脂合成反应器 |
Country Status (1)
| Country | Link |
|---|---|
| CN (1) | CN103588334A (zh) |
Cited By (3)
| Publication number | Priority date | Publication date | Assignee | Title |
|---|---|---|---|---|
| CN107512794A (zh) * | 2017-08-02 | 2017-12-26 | 广州市宝源节能环保科技有限公司 | 医院高危有毒废水处理系统及处理方法 |
| CN111039469A (zh) * | 2020-01-06 | 2020-04-21 | 湖南泰瑞医疗科技有限公司 | 一种医用污水处理一体化设备 |
| CN118221256A (zh) * | 2024-05-23 | 2024-06-21 | 中国电建集团西北勘测设计研究院有限公司 | 一种生活废水处理消毒装置 |
-
2013
- 2013-10-31 CN CN201310534171.8A patent/CN103588334A/zh active Pending
Cited By (3)
| Publication number | Priority date | Publication date | Assignee | Title |
|---|---|---|---|---|
| CN107512794A (zh) * | 2017-08-02 | 2017-12-26 | 广州市宝源节能环保科技有限公司 | 医院高危有毒废水处理系统及处理方法 |
| CN111039469A (zh) * | 2020-01-06 | 2020-04-21 | 湖南泰瑞医疗科技有限公司 | 一种医用污水处理一体化设备 |
| CN118221256A (zh) * | 2024-05-23 | 2024-06-21 | 中国电建集团西北勘测设计研究院有限公司 | 一种生活废水处理消毒装置 |
Similar Documents
| Publication | Publication Date | Title |
|---|---|---|
| CN206669904U (zh) | 一种手术室用空气消毒器 | |
| CN111115984A (zh) | 一种传染病医院的污水处理工艺及其处理装置 | |
| CN206108974U (zh) | 高效过流式紫外消毒设备 | |
| CN103588334A (zh) | 聚酯树脂合成反应器 | |
| CN201415961Y (zh) | 医院污水处理设备 | |
| CN203440454U (zh) | 基于电解臭氧发生器的臭氧水系统 | |
| CN212476440U (zh) | 一种传染病医院的污水处理装置 | |
| CN205151975U (zh) | 水质净化器 | |
| CN204798435U (zh) | 一种医院检验科用废液处理装置 | |
| CN205556335U (zh) | 一种饮用水组合杀菌装置 | |
| CN211419904U (zh) | 一种医疗废水处理系统 | |
| CN105753116A (zh) | 一种医疗台盆水消毒箱 | |
| CN201101733Y (zh) | 一种细水雾消毒设备 | |
| CN205528320U (zh) | 对污水治理的地埋式废水处理系统 | |
| CN204958572U (zh) | 一种分隔式循环检测污水净化装置 | |
| CN209583856U (zh) | 一种农村饮用水消毒设备 | |
| CN104591450B (zh) | 一种自来水低温智能除菌管路系统 | |
| CN205275287U (zh) | 一种一体化智能污水处理消毒设备 | |
| CN206512069U (zh) | 一种双箱体医疗废水处理装置 | |
| CN105060564A (zh) | 牙科门诊专用污水消毒系统 | |
| CN201264924Y (zh) | 适用于农村地区的饮用水膜-紫外线组合消毒反应器 | |
| CN206375711U (zh) | 小型医疗废水一体化处理装置 | |
| CN205367994U (zh) | 一种医疗污水处理设备 | |
| CN219991350U (zh) | 一种医疗污水处理装置 | |
| CN204400751U (zh) | Cit医院污水净化系统 |
Legal Events
| Date | Code | Title | Description |
|---|---|---|---|
| C06 | Publication | ||
| PB01 | Publication | ||
| WD01 | Invention patent application deemed withdrawn after publication |
Application publication date: 20140219 |