CN103582376A - 电子装置框架 - Google Patents

电子装置框架 Download PDF

Info

Publication number
CN103582376A
CN103582376A CN201210278355.8A CN201210278355A CN103582376A CN 103582376 A CN103582376 A CN 103582376A CN 201210278355 A CN201210278355 A CN 201210278355A CN 103582376 A CN103582376 A CN 103582376A
Authority
CN
China
Prior art keywords
column
piece
electronic device
mounting
device frame
Prior art date
Legal status (The legal status is an assumption and is not a legal conclusion. Google has not performed a legal analysis and makes no representation as to the accuracy of the status listed.)
Pending
Application number
CN201210278355.8A
Other languages
English (en)
Inventor
陈允隆
涂靓
Current Assignee (The listed assignees may be inaccurate. Google has not performed a legal analysis and makes no representation or warranty as to the accuracy of the list.)
Hongfujin Precision Industry Wuhan Co Ltd
Hon Hai Precision Industry Co Ltd
Original Assignee
Hongfujin Precision Industry Wuhan Co Ltd
Hon Hai Precision Industry Co Ltd
Priority date (The priority date is an assumption and is not a legal conclusion. Google has not performed a legal analysis and makes no representation as to the accuracy of the date listed.)
Filing date
Publication date
Application filed by Hongfujin Precision Industry Wuhan Co Ltd, Hon Hai Precision Industry Co Ltd filed Critical Hongfujin Precision Industry Wuhan Co Ltd
Priority to CN201210278355.8A priority Critical patent/CN103582376A/zh
Priority to TW101128704A priority patent/TW201408162A/zh
Priority to US13/906,737 priority patent/US20140042114A1/en
Publication of CN103582376A publication Critical patent/CN103582376A/zh
Pending legal-status Critical Current

Links

Images

Classifications

    • HELECTRICITY
    • H05ELECTRIC TECHNIQUES NOT OTHERWISE PROVIDED FOR
    • H05KPRINTED CIRCUITS; CASINGS OR CONSTRUCTIONAL DETAILS OF ELECTRIC APPARATUS; MANUFACTURE OF ASSEMBLAGES OF ELECTRICAL COMPONENTS
    • H05K7/00Constructional details common to different types of electric apparatus
    • H05K7/18Construction of rack or frame
    • HELECTRICITY
    • H05ELECTRIC TECHNIQUES NOT OTHERWISE PROVIDED FOR
    • H05KPRINTED CIRCUITS; CASINGS OR CONSTRUCTIONAL DETAILS OF ELECTRIC APPARATUS; MANUFACTURE OF ASSEMBLAGES OF ELECTRICAL COMPONENTS
    • H05K7/00Constructional details common to different types of electric apparatus
    • H05K7/14Mounting supporting structure in casing or on frame or rack
    • H05K7/1485Servers; Data center rooms, e.g. 19-inch computer racks
    • H05K7/1488Cabinets therefor, e.g. chassis or racks or mechanical interfaces between blades and support structures
    • H05K7/1489Cabinets therefor, e.g. chassis or racks or mechanical interfaces between blades and support structures characterized by the mounting of blades therein, e.g. brackets, rails, trays

Landscapes

  • Engineering & Computer Science (AREA)
  • Microelectronics & Electronic Packaging (AREA)
  • Computer Hardware Design (AREA)
  • General Engineering & Computer Science (AREA)
  • Casings For Electric Apparatus (AREA)
  • Mutual Connection Of Rods And Tubes (AREA)
  • Mounting Of Printed Circuit Boards And The Like (AREA)

Abstract

一种电子装置框架,包括一侧框,该侧框包括一第一立柱、一第二立柱及一安装件,该第一立柱设有一排安装孔及一排卡固孔,该排安装孔的排列方向平行该排卡固孔的排列方向并平行该第二立柱,该安装件包括一安装件本体、一第一卡扣片及一凸包,该第一卡扣片卡扣于其中一安装孔中而防止该第一卡扣片沿一垂直该第一立柱的第一方向移出该安装孔,以及防止该第一卡扣片沿一平行该第一立柱的第二方向移动,该凸包卡固于该卡固孔中而防止该凸包沿一与该第二方向相反的第三方向移出该卡固孔,该凸包用于沿该第二方向卡固于该卡固孔中。

Description

电子装置框架
技术领域
本发明涉及一种框架,尤指一种电子装置框架。
背景技术
自动售货机通常包括一框架,该框架包括多个立柱及多个安装件,该安装件通过螺丝锁固于该立柱上,该安装件需借用工具才能组装到立柱上。因此,这样势必造成组装效率低。
发明内容
鉴于以上内容,有必要提供一种方便安装安装件的电子装置框架。
一种电子装置框架,包括一侧框,该侧框包括一第一立柱、一平行该第一立柱的第二立柱及一安装于该第一立柱及该第二立柱之间的安装件,该第一立柱设有一排安装孔及一排卡固孔,该排安装孔的排列方向平行该排卡固孔的排列方向并平行该第二立柱,该安装件包括一安装件本体、一自该安装件本体向外延伸形成的第一卡扣片及一自该安装件本体向外凸设的凸包,该第一卡扣片卡扣于其中一安装孔中而防止该第一卡扣片沿一垂直该第一立柱的第一方向移出该安装孔,以及防止该第一卡扣片沿一平行该第一立柱的第二方向移动,该凸包卡固于该卡固孔中而防止该凸包沿一与该第二方向相反的第三方向移出该卡固孔,该凸包用于沿该第二方向卡固于该卡固孔中。
一实施例中,该安装件还包括一自安装件本体向外延伸形成的插接片,该第二立柱设有一排插接孔,该排插接孔的排列方向平行改排安装孔的排列方向,该插接片插接于其中一插接孔中。
一实施例中,该插接片呈L形,该插接片包括一自该安装件本体垂直延伸形成的连接部及一自该连接部垂直延伸形成的插接部,该插接部插接于该插接孔中。
一实施例中,该插接孔呈长条形。
一实施例中,该安装件还包括一第二卡扣片,该第二卡扣片卡扣于另一安装孔中。
一实施例中,该第一卡扣片呈L形。
一实施例中,该安装件还包括一自该安装件本体向内倾斜延伸形成的倾斜部,该倾斜部用于在该安装件装设在该第一立柱上时避免与该第一立柱抵触。
一实施例中,该安装件还包括一自该安装件本体向内垂直延伸形成的滑轨部。
一实施例中,该安装孔呈长条形。
相较于现有技术,本发明电子装置框架的安装件包括一卡扣片及一凸包,所述立柱包括对应的安装孔及卡固孔,所述安装件的卡扣片及凸包卡固于所述安装孔及卡固孔中。组装所述电子装置框架简单方便。
附图说明
图1是本发明电子装置框架的一较佳实施方式的一立体分解图。
图2是本发明电子装置框架的一较佳实施方式的另一立体分解图。
图3是图1中安装件的一立体图。
图4是图1中安装件的另一立体图。
图5是图1的一立体组装图。
图6是图5中VI部分的放大图。
图7是图1的另一立体组装图。
图8是图7中VIII部分的放大图。
图9是图7中IX部分的放大图。
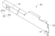
主要元件符号说明
侧框 100
第一立柱 10
安装孔 11
卡固孔 13
第二立柱 30
插接孔 31
安装件 50
安装件本体 51
卡扣片 53
插接片 55
连接部 551
插接部 553
凸包 57
倾斜部 58
滑轨部 59
如下具体实施方式将结合上述附图进一步说明本发明。
具体实施方式
请参阅图1及图2,本发明电子装置框架的一较佳实施方式包括两个侧框100,每一侧框100包括一第一立柱10、一第二立柱30及多个安装于所述第一立柱10和所述第二立柱30之间的安装件50。所述两个第一立柱10及所述两个第二立柱30相互平行。
所述第一立柱10设有多个安装孔11及多个卡固孔13。所述多个安装孔11及所述多个卡固孔13均呈线性排列。所述安装孔11呈长条形。所述多个安装孔11的排列方向平行所述多个卡固孔13的排列方向,并平行所述第二立柱30。所述第二立柱30设有多个插接孔31,所述多个插接孔31呈线性排列,所述多个插接孔31的排列方向平行所述多个安装孔11的排列方向。所述插接孔31呈长条形。
请参阅图3及图4,每一安装件50包括一安装件本体51、两个自所述安装件本体51向外延伸形成的卡扣片53及一自所述安装件本体51向外延伸形成的插接片55。所述卡扣片53呈L形,用于卡扣于所述安装孔11中。所述插接片55呈L形,用于插设在所述插接孔31中。所述插接片55包括一自所述安装件本体51垂直延伸形成的连接部551及一自所述连接部551垂直延伸形成的插接部553。所述安装件50还包括一自所述安装件本体51向外凸设的凸包57及一自所述安装件本体51向内倾斜延伸形成的倾斜部58。所述倾斜部58用于在所述安装件50的卡扣片53装入所述安装孔11中时避免与所述第一立柱10抵触。所述安装件50还包括一自所述安装件本体51向内垂直延伸形成的滑轨部59。所述凸包57用于卡固于所述卡固孔13中。
请参阅图5至图9,组装时,先将所述安装件50的插接片55与所述第二立柱30的插接孔31对应,靠向所述第二立柱30的方向移动所述安装件50而使所述插接片55的插接部553插接于所述插接孔31中,将所述安装件50的两个卡扣片53穿过两个安装孔11并向下沿一平行所述第一立柱10的第一方向移动,此时所述安装件50的凸包57抵触所述第一立柱10而使所述安装件50的安装件本体51弹性形变。继续向下移动所述安装件50的卡扣片53直至所述凸包57与所述卡固孔13对应,所述安装件本体51弹性回复而使所述凸包57卡固于所述卡固孔13中,从而防止所述凸包沿一与所述第一方向相反的第二方向移出所述卡固孔13。此时,所述卡扣片53卡扣于所述安装孔11的边缘上,从而防止所述卡扣片53沿一垂直所述第一立柱10的第三方向移出所述安装孔11,以及防止所述卡扣片53沿所述第一方向继续移动。所述两个侧框100对应的安装件50的滑轨部59处于同一平面。
对本领域的技术人员来说,可以根据本发明的发明方案和发明构思结合生产的实际需要做出其他相应的改变或调整,而这些改变和调整都应属于本发明权利要求的保护范围。

Claims (9)

1.一种电子装置框架,包括一侧框,该侧框包括一第一立柱、一平行该第一立柱的第二立柱及一安装于该第一立柱及该第二立柱之间的安装件,其特征在于:该第一立柱设有一排安装孔及一排卡固孔,该排安装孔的排列方向平行该排卡固孔的排列方向并平行该第二立柱,该安装件包括一安装件本体、一自该安装件本体向外延伸形成的第一卡扣片及一自该安装件本体向外凸设的凸包,该第一卡扣片卡扣于其中一安装孔中而防止该第一卡扣片沿一垂直该第一立柱的第一方向移出该安装孔,以及防止该第一卡扣片沿一平行该第一立柱的第二方向移动,该凸包卡固于该卡固孔中而防止该凸包沿一与该第二方向相反的第三方向移出该卡固孔,该凸包用于沿该第二方向卡固于该卡固孔中。
2.如权利要求1所述的电子装置框架,其特征在于:该安装件还包括一自安装件本体向外延伸形成的插接片,该第二立柱设有一排插接孔,该排插接孔的排列方向平行改排安装孔的排列方向,该插接片插接于其中一插接孔中。
3.如权利要求2所述的电子装置框架,其特征在于:该插接片呈L形,该插接片包括一自该安装件本体垂直延伸形成的连接部及一自该连接部垂直延伸形成的插接部,该插接部插接于该插接孔中。
4.如权利要求3所述的电子装置框架,其特征在于:该插接孔呈长条形。
5.如权利要求1该的电子装置框架,其特征在于:该安装件还包括一第二卡扣片,该第二卡扣片卡扣于另一安装孔中。
6.如权利要求1所述的电子装置框架,其特征在于:该第一卡扣片呈L形。
7.如权利要求1所述的电子装置框架,其特征在于:该安装件还包括一自该安装件本体向内倾斜延伸形成的倾斜部,该倾斜部用于在该安装件装设在该第一立柱上时避免与该第一立柱抵触。
8.如权利要求1所述的电子装置框架,其特征在于:该安装件还包括一自该安装件本体向内垂直延伸形成的滑轨部。
9.如权利要求1所述的电子装置框架,其特征在于:该安装孔呈长条形。
CN201210278355.8A 2012-08-07 2012-08-07 电子装置框架 Pending CN103582376A (zh)

Priority Applications (3)

Application Number Priority Date Filing Date Title
CN201210278355.8A CN103582376A (zh) 2012-08-07 2012-08-07 电子装置框架
TW101128704A TW201408162A (zh) 2012-08-07 2012-08-09 電子裝置框架
US13/906,737 US20140042114A1 (en) 2012-08-07 2013-05-31 Electronic device rack

Applications Claiming Priority (1)

Application Number Priority Date Filing Date Title
CN201210278355.8A CN103582376A (zh) 2012-08-07 2012-08-07 电子装置框架

Publications (1)

Publication Number Publication Date
CN103582376A true CN103582376A (zh) 2014-02-12

Family

ID=50052948

Family Applications (1)

Application Number Title Priority Date Filing Date
CN201210278355.8A Pending CN103582376A (zh) 2012-08-07 2012-08-07 电子装置框架

Country Status (3)

Country Link
US (1) US20140042114A1 (zh)
CN (1) CN103582376A (zh)
TW (1) TW201408162A (zh)

Cited By (3)

* Cited by examiner, † Cited by third party
Publication number Priority date Publication date Assignee Title
CN103929920A (zh) * 2014-03-18 2014-07-16 施耐德电气(中国)有限公司上海浦东分公司 可快速更换的服务器托架
CN106954363A (zh) * 2015-09-15 2017-07-14 日东工业株式会社 电气设备收纳用箱
CN108834351A (zh) * 2018-08-29 2018-11-16 天津市海诺电子有限公司 一种光电转换器安装支架

Families Citing this family (2)

* Cited by examiner, † Cited by third party
Publication number Priority date Publication date Assignee Title
CN103906401A (zh) * 2012-12-26 2014-07-02 鸿富锦精密工业(武汉)有限公司 电子装置框架
US12289857B1 (en) * 2024-03-19 2025-04-29 Martas Precision Slide Co., Ltd. Bracket for open rack

Citations (6)

* Cited by examiner, † Cited by third party
Publication number Priority date Publication date Assignee Title
US4928834A (en) * 1988-06-06 1990-05-29 Vesper Corporation Safety beam lock
US5265740A (en) * 1991-12-23 1993-11-30 The Winsford Corporation Adjustable storage apparatus for computer media
US20010040203A1 (en) * 2000-03-17 2001-11-15 Brock Patty J. Computer server mounting apparatus
US20040084584A1 (en) * 2002-07-01 2004-05-06 Chi-I Lin Shelf structure
US7575212B1 (en) * 2006-12-13 2009-08-18 Milton Merl & Associates, Inc. Mounting bracket
US20090261051A1 (en) * 2008-04-21 2009-10-22 International Business Machines Corporation Toolless Rail Mounting For A Computer System Rack

Family Cites Families (8)

* Cited by examiner, † Cited by third party
Publication number Priority date Publication date Assignee Title
US4729484A (en) * 1983-10-14 1988-03-08 Interlake, Corporation Pallet rack construction
US5470143A (en) * 1994-03-24 1995-11-28 Steelcase Inc. Self-locking snap-on suspension unit for furniture cabinets and the like
US5899035A (en) * 1997-05-15 1999-05-04 Steelcase, Inc. Knock-down portable partition system
US6510955B2 (en) * 2000-04-07 2003-01-28 Ridg-U-Rak, Inc. Beam automatic lock
WO2004089159A1 (en) * 2003-04-14 2004-10-21 Cheon Soon Choi Prefabricating rack frame
JP5042545B2 (ja) * 2006-07-05 2012-10-03 パナソニックヘルスケア株式会社 棚装置及びそれを備えたインキュベータ
CN102902320A (zh) * 2011-07-27 2013-01-30 鸿富锦精密工业(深圳)有限公司 滑轨
CN103632442A (zh) * 2012-08-27 2014-03-12 鸿富锦精密工业(武汉)有限公司 自动售货机

Patent Citations (6)

* Cited by examiner, † Cited by third party
Publication number Priority date Publication date Assignee Title
US4928834A (en) * 1988-06-06 1990-05-29 Vesper Corporation Safety beam lock
US5265740A (en) * 1991-12-23 1993-11-30 The Winsford Corporation Adjustable storage apparatus for computer media
US20010040203A1 (en) * 2000-03-17 2001-11-15 Brock Patty J. Computer server mounting apparatus
US20040084584A1 (en) * 2002-07-01 2004-05-06 Chi-I Lin Shelf structure
US7575212B1 (en) * 2006-12-13 2009-08-18 Milton Merl & Associates, Inc. Mounting bracket
US20090261051A1 (en) * 2008-04-21 2009-10-22 International Business Machines Corporation Toolless Rail Mounting For A Computer System Rack

Cited By (5)

* Cited by examiner, † Cited by third party
Publication number Priority date Publication date Assignee Title
CN103929920A (zh) * 2014-03-18 2014-07-16 施耐德电气(中国)有限公司上海浦东分公司 可快速更换的服务器托架
CN103929920B (zh) * 2014-03-18 2017-07-28 施耐德电气(中国)有限公司上海浦东分公司 可快速更换的服务器托架
CN106954363A (zh) * 2015-09-15 2017-07-14 日东工业株式会社 电气设备收纳用箱
CN108834351A (zh) * 2018-08-29 2018-11-16 天津市海诺电子有限公司 一种光电转换器安装支架
CN108834351B (zh) * 2018-08-29 2023-09-05 天津市海诺电子有限公司 一种光电转换器安装支架

Also Published As

Publication number Publication date
US20140042114A1 (en) 2014-02-13
TW201408162A (zh) 2014-02-16

Similar Documents

Publication Publication Date Title
CN103582376A (zh) 电子装置框架
CN103163985B (zh) 扩展卡固定装置
JP5305052B2 (ja) 板状ケーブル用コネクタ
CN103869904A (zh) 扩展卡模组及扩展卡固定装置
CN104728574A (zh) 可弹性变形模块安装组件
US20220029346A1 (en) Holding frame for a plug connector and methods of populating same
CN103179836A (zh) 服务器及其机架
US9478883B2 (en) Card connector
CN103906401A (zh) 电子装置框架
US9247667B2 (en) Electronic device and electronic device unit
JP2017142350A (ja) 表示装置及び拡張ボード収容器
CN103579809B (zh) 连接端子及使用该连接端子的连接器
CN103186204A (zh) 风扇固定装置
CN107305989A (zh) 用于容纳模块式接触插件的托架
CN104425953A (zh) 连接器组合
CN103179832A (zh) 理线装置
CN103513699A (zh) 安装组件
CN103677163A (zh) 硬盘固定装置
JP6294683B2 (ja) インバータ装置、及びファンの取付構造
CN112911881B (zh) 导轨固定结构
US9022802B2 (en) Terminal module
US20170098902A1 (en) Memory card connector
CN104640398B (zh) 扩充卡定位模组
CN104754909B (zh) 电气设备收容用框体
CN105640095A (zh) 用于壁部元件的表面侧的覆盖装置

Legal Events

Date Code Title Description
C06 Publication
PB01 Publication
SE01 Entry into force of request for substantive examination
SE01 Entry into force of request for substantive examination
C02 Deemed withdrawal of patent application after publication (patent law 2001)
WD01 Invention patent application deemed withdrawn after publication

Application publication date: 20140212