CN103551327A - 一种太阳能电池组件用自动除尘装置 - Google Patents

一种太阳能电池组件用自动除尘装置 Download PDF

Info

Publication number
CN103551327A
CN103551327A CN201310469105.7A CN201310469105A CN103551327A CN 103551327 A CN103551327 A CN 103551327A CN 201310469105 A CN201310469105 A CN 201310469105A CN 103551327 A CN103551327 A CN 103551327A
Authority
CN
China
Prior art keywords
solar cell
solar
water
air blast
automatic dust
Prior art date
Legal status (The legal status is an assumption and is not a legal conclusion. Google has not performed a legal analysis and makes no representation as to the accuracy of the status listed.)
Granted
Application number
CN201310469105.7A
Other languages
English (en)
Other versions
CN103551327B (zh
Inventor
辛立东
Current Assignee (The listed assignees may be inaccurate. Google has not performed a legal analysis and makes no representation or warranty as to the accuracy of the list.)
SHENYANG COUNTY ELECTRIC INDUSTRY Co Ltd
SHEYANG COUNTY POWER SUPPLY Co OF JIANGSU ELECTRIC POWER Co
State Grid Jiangsu Electric Power Co Ltd
State Grid Corp of China SGCC
Original Assignee
SHENYANG COUNTY ELECTRIC INDUSTRY Co Ltd
SHEYANG COUNTY POWER SUPPLY Co OF JIANGSU ELECTRIC POWER Co
State Grid Jiangsu Electric Power Co Ltd
State Grid Corp of China SGCC
Priority date (The priority date is an assumption and is not a legal conclusion. Google has not performed a legal analysis and makes no representation as to the accuracy of the date listed.)
Filing date
Publication date
Application filed by SHENYANG COUNTY ELECTRIC INDUSTRY Co Ltd, SHEYANG COUNTY POWER SUPPLY Co OF JIANGSU ELECTRIC POWER Co, State Grid Jiangsu Electric Power Co Ltd, State Grid Corp of China SGCC filed Critical SHENYANG COUNTY ELECTRIC INDUSTRY Co Ltd
Priority to CN201310469105.7A priority Critical patent/CN103551327B/zh
Publication of CN103551327A publication Critical patent/CN103551327A/zh
Application granted granted Critical
Publication of CN103551327B publication Critical patent/CN103551327B/zh
Active legal-status Critical Current
Anticipated expiration legal-status Critical

Links

Images

Classifications

    • BPERFORMING OPERATIONS; TRANSPORTING
    • B08CLEANING
    • B08BCLEANING IN GENERAL; PREVENTION OF FOULING IN GENERAL
    • B08B3/00Cleaning by methods involving the use or presence of liquid or steam
    • B08B3/02Cleaning by the force of jets or sprays

Landscapes

  • Photovoltaic Devices (AREA)

Abstract

本发明公开了一种太阳能电池组件用自动除尘装置,所述装置包括有太阳能电池边框、太阳能电池表面,所述电池边框连接在安装好的太阳能电池板的上端,所述自动除尘装置还包括有主水管路、分水管路、鼓风机、气路管,所述主水管路连接多个分水管路,每一个分水管路连接一个太阳能电池板组件,每个太阳能电池组件上还连接有一个鼓风机,所述气路管连接鼓风机和电池边框,所述电池边框内设有高压喷腔,所述高压喷腔内连接有高压喷嘴,所述高压喷嘴喷出高压水清洗太阳能电池表面,本发明降低了光伏发电站的太阳能电池板组件的人工清洗的工作量,节约了光伏发电站的太阳能电池板组件的维修成本,提高了太阳能电池板组件的使用寿命。

Description

一种太阳能电池组件用自动除尘装置
技术领域
本发明涉及太阳能电池板组件除尘技术领域,特别是涉及 一种太阳能电池组件用自动除尘装置。 
背景技术
 目前,随着新能源的崛起,太阳能光伏发电技术日趋成熟,太阳能发电被应用的越来越广泛,然而其在使用一段时间后,太阳能电池板上会堆积灰尘,造成太阳能电池组件的光电转换效率很低的现象,
并且长期不清理的话,会降低太阳能电池组件的寿命,很大程度上提高了太阳能发电的成本,现在,大多数太阳能电池板均采用人工清洗,人工清洗费时费力,并且光伏发电站的太阳能电池板组件之多,使得光伏发电的维护成本大大增高。
针对上述存在的问题,我们提供了以下发明。
发明内容
为了克服上述现有技术的不足,本发明提供了一种太阳能电池组件用自动除尘装置,该自动除尘装置使用高压水清洗太阳能电池板组件,降低了人工成本,节约了光伏发电的维护成本。
本发明所采用的技术方案是:一种太阳能电池组件用自动除尘装置包括有主水管路、分水管路、鼓风机、气路管、电池边框、太阳能电池表面,电池边框连接在安装好的太阳能电池板的上端,主水管路连接多个分水管路,每一个分水管路连接一个太阳能电池板组件,每个太阳能电池组件上还连接有一个鼓风机,气路管连接鼓风机和电池边框,电池边框内设有高压喷腔,高压喷腔内连接有高压喷嘴,高压喷嘴喷出高压水清洗太阳能电池表面,本发明的工作原理是:使用太阳能电池板提供电源驱动鼓风机,鼓风机为水管运输而来的水提供动力,鼓风机吹出来的高压风驱动水管内的水形成高压水,高压水可以方便地清洗太阳能电池板上的灰尘。 
优选地,本发明电池边框的上侧面连接有开关,开关控制除尘系统工作状态。
优选地,本发明鼓风机通过电线连接在太阳能电池板组件的接线盒内的电路,太阳能电池组件转换而来的电源驱动鼓风机工作。
优选地,本发明鼓风机连接在太阳能电池板组件的脚架上,脚架支撑太阳能电池板组件。
与现有技术相比,本发明的有益效果是:采取太阳能电池板组件上的电力为鼓风机提供电源,并采用水管路为每个太阳能电池板提供清洗水源,仅在太阳能电池组件上侧面的电池边框上设置开关和高压水腔和高压喷嘴来清洗太阳能电池板组件,降低了人工清洗的工作量,节约了光伏发电站的太阳能电池板组件的维修成本,提高了太阳能电池板组件的使用寿命。
该装置降低了光伏发电站的太阳能电池板组件的人工清洗的工作量,节约了光伏发电站的太阳能电池板组件的维修成本,提高了太阳能电池板组件的使用寿命。 
附图说明
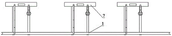
图1为一种太阳能电池组件用自动除尘装置结构示意图;
图2为一种太阳能电池组件用自动除尘装置的高压喷水腔及高压喷嘴示意图;
图3为一种太阳能电池组件用自动除尘装置的水管路分布图。
具体实施方式
为了加深对本发明的理解,下面结合附图和实施例对本发明进一步说明,该实施例仅用于解释本发明,并不对本发明的保护范围构成限定。
如图1至图3所示所示,一种太阳能电池组件用自动除尘装置包括有主水管路1、分水管路3、鼓风机4、气路管5、电池边框7、太阳能电池表面8,电池边框7连接在安装好的太阳能电池板的上端,主水管路1连接多个分水管路3,每一个分水管路3连接一个太阳能电池板组件,每个太阳能电池组件上还连接有一个鼓风机4,气路管5连接鼓风机4和电池边框7,电池边框7内设有高压喷腔11,高压喷腔11内连接有高压喷嘴12,高压喷嘴12喷出高压水清洗太阳能电池表面8,本发明的工作原理是:使用太阳能电池板提供电源驱动鼓风机4,鼓风机为水管运输而来的水提供动力,鼓风机吹出来的高压风驱动水管内的水形成高压水,高压水可以方便地清洗太阳能电池板上的灰尘。 
本发明的电池边框7的上侧面连接有开关6,开关6控制除尘系统工作状态,鼓风机4通过电线9连接在太阳能电池板组件的接线盒10内的电路,太阳能电池组件转换而来的电源驱动鼓风机4工作,本发明鼓风机连接在太阳能电池板组件的脚架2上,脚架2支撑太阳能电池板组件。
本发明的自动除尘装置降低了光伏发电站的太阳能电池板组件的人工清洗的工作量,节约了光伏发电站的太阳能电池板组件的维修成本,提高了太阳能电池板组件的使用寿命。
本发明的实施例公布的是较佳的实施例,但并不局限于此,本领域的普通技术人员,极易根据上述实施例,领会本发明的精神,并做出不同的引申和变化,但只要不脱离本发明的精神,都在本发明的保护范围内。

Claims (4)

1.一种太阳能电池组件用自动除尘装置,所述装置包括有太阳能电池边框(7)、太阳能电池表面(8),所述电池边框(7)连接在安装好的太阳能电池板的上端,其特征在于:所述自动除尘装置还包括有主水管路(1)、分水管路(3)、鼓风机(4)、气路管(5),所述主水管路(1)连接多个分水管路(3),每一个分水管路(3)连接一个太阳能电池板组件,每个太阳能电池组件上还连接有一个鼓风机(4),所述气路管(5)连接鼓风机(4)和电池边框(7),所述电池边框(7)内设有高压喷腔(11),所述高压喷腔(11)内连接有高压喷嘴(12),所述高压喷嘴(12)喷出高压水清洗太阳能电池表面(8)。
 
2.根据权利要求1所述的一种太阳能电池组件用自动除尘装置,其特征在于:所述电池边框(7)的上侧面连接有开关(6),所述开关(6)控制所述除尘系统工作状态。
3.根据权利要求1所述的一种太阳能电池组件用自动除尘装置,其特征在于:所述鼓风机(4)通过电线(9)连接在太阳能电池板组件的接线盒(10)内的电路,所述太阳能电池组件转换而来的电源驱动鼓风机(4)工作。
4.根据权利要求1所述的一种太阳能电池组件用自动除尘装置,其特征在于:所述鼓风机连接在太阳能电池板组件的脚架(2)上,所述脚架(2)支撑太阳能电池板组件。
CN201310469105.7A 2013-10-10 2013-10-10 一种太阳能电池组件用自动除尘装置 Active CN103551327B (zh)

Priority Applications (1)

Application Number Priority Date Filing Date Title
CN201310469105.7A CN103551327B (zh) 2013-10-10 2013-10-10 一种太阳能电池组件用自动除尘装置

Applications Claiming Priority (1)

Application Number Priority Date Filing Date Title
CN201310469105.7A CN103551327B (zh) 2013-10-10 2013-10-10 一种太阳能电池组件用自动除尘装置

Publications (2)

Publication Number Publication Date
CN103551327A true CN103551327A (zh) 2014-02-05
CN103551327B CN103551327B (zh) 2015-01-07

Family

ID=50005777

Family Applications (1)

Application Number Title Priority Date Filing Date
CN201310469105.7A Active CN103551327B (zh) 2013-10-10 2013-10-10 一种太阳能电池组件用自动除尘装置

Country Status (1)

Country Link
CN (1) CN103551327B (zh)

Cited By (2)

* Cited by examiner, † Cited by third party
Publication number Priority date Publication date Assignee Title
CN106466677A (zh) * 2016-09-30 2017-03-01 中冶集团武汉勘察研究院有限公司 一种基于受限空间的脉冲式光伏组件清洗终端及其使用方法
CN109078430A (zh) * 2018-10-17 2018-12-25 上海理工大学 用于太阳能光伏板降温的喷雾除尘装置

Citations (2)

* Cited by examiner, † Cited by third party
Publication number Priority date Publication date Assignee Title
CN202332910U (zh) * 2011-12-05 2012-07-11 浙江长兴众成电子有限公司 自清洁降温型太阳能电池板
CN202797032U (zh) * 2012-08-16 2013-03-13 常州天合光能有限公司 自清洁太阳能电池组件及组件自清洁装置

Patent Citations (2)

* Cited by examiner, † Cited by third party
Publication number Priority date Publication date Assignee Title
CN202332910U (zh) * 2011-12-05 2012-07-11 浙江长兴众成电子有限公司 自清洁降温型太阳能电池板
CN202797032U (zh) * 2012-08-16 2013-03-13 常州天合光能有限公司 自清洁太阳能电池组件及组件自清洁装置

Cited By (3)

* Cited by examiner, † Cited by third party
Publication number Priority date Publication date Assignee Title
CN106466677A (zh) * 2016-09-30 2017-03-01 中冶集团武汉勘察研究院有限公司 一种基于受限空间的脉冲式光伏组件清洗终端及其使用方法
CN106466677B (zh) * 2016-09-30 2019-07-19 中冶集团武汉勘察研究院有限公司 一种基于受限空间的光伏组件清洗终端及其使用方法
CN109078430A (zh) * 2018-10-17 2018-12-25 上海理工大学 用于太阳能光伏板降温的喷雾除尘装置

Also Published As

Publication number Publication date
CN103551327B (zh) 2015-01-07

Similar Documents

Publication Publication Date Title
CN202797032U (zh) 自清洁太阳能电池组件及组件自清洁装置
CN204244161U (zh) 一种带除尘装置的太阳能电池板
CN204657018U (zh) 一种漆包线导体清洗装置
CN104092433A (zh) 一种太阳能光伏电池组件清洁装置
CN201950048U (zh) 一种利用高压气流对太阳能电池板阵列自动除尘的系统
CN203508462U (zh) 一种太阳能电池组件用自动除尘装置
CN103551327A (zh) 一种太阳能电池组件用自动除尘装置
CN205762708U (zh) 太阳能电池板除尘装置
CN203598944U (zh) 一种用于湿式电除尘器的水膜均布装置
CN104901616A (zh) 一种新型自洁式太阳能面板
CN202430675U (zh) 一种纳米电加热除雪车
CN203875066U (zh) 一种太阳能电池板的除尘装置
CN202076302U (zh) 自清洗太阳能电池组件的装置
CN217141505U (zh) 一种光伏组件清洗装置
CN205413718U (zh) 一种光伏电池板清洗装置
CN109088594B (zh) 用于光伏光热装置的除雪系统及其控制方法
CN204272004U (zh) 一种光伏电池板清洁降温装置
CN201500653U (zh) 一种太阳能电池组件清洗器
CN203061482U (zh) 固定喷水式太阳能电池板清洁系统
CN203394891U (zh) 一种空气压缩机清洗装置
CN203508513U (zh) 一种汽车坐垫清洗机
CN202638465U (zh) 一种用于稻谷加工的负压米糠沉降装置
CN203984330U (zh) 屋面分布式光伏发电站电池组件自动清洗装置
CN103067847B (zh) 扬声器防尘帽取料装置
CN209158321U (zh) 一种换流阀检修支撑机构

Legal Events

Date Code Title Description
C06 Publication
PB01 Publication
C10 Entry into substantive examination
SE01 Entry into force of request for substantive examination
C14 Grant of patent or utility model
GR01 Patent grant