CN103521545A - Final extrusion forming die for high-strength complicated aluminum alloy special-shape outer hexagonal base metal plate - Google Patents
Final extrusion forming die for high-strength complicated aluminum alloy special-shape outer hexagonal base metal plate Download PDFInfo
- Publication number
- CN103521545A CN103521545A CN201310344338.4A CN201310344338A CN103521545A CN 103521545 A CN103521545 A CN 103521545A CN 201310344338 A CN201310344338 A CN 201310344338A CN 103521545 A CN103521545 A CN 103521545A
- Authority
- CN
- China
- Prior art keywords
- final forming
- shaped
- forming
- final
- die
- Prior art date
- Legal status (The legal status is an assumption and is not a legal conclusion. Google has not performed a legal analysis and makes no representation as to the accuracy of the status listed.)
- Granted
Links
- 229910000838 Al alloy Inorganic materials 0.000 title claims abstract description 30
- 238000001125 extrusion Methods 0.000 title claims abstract description 27
- 239000010953 base metal Substances 0.000 title 1
- 230000007704 transition Effects 0.000 claims abstract description 11
- 229910052751 metal Inorganic materials 0.000 claims description 37
- 239000002184 metal Substances 0.000 claims description 37
- 230000000670 limiting effect Effects 0.000 claims description 7
- 230000036961 partial effect Effects 0.000 description 67
- 238000000034 method Methods 0.000 description 40
- 230000007547 defect Effects 0.000 description 12
- 238000004519 manufacturing process Methods 0.000 description 10
- 238000005516 engineering process Methods 0.000 description 6
- 238000010438 heat treatment Methods 0.000 description 5
- 239000007769 metal material Substances 0.000 description 5
- 230000002829 reductive effect Effects 0.000 description 5
- 238000010586 diagram Methods 0.000 description 4
- 230000009286 beneficial effect Effects 0.000 description 3
- 239000012467 final product Substances 0.000 description 3
- 239000000463 material Substances 0.000 description 3
- 239000000047 product Substances 0.000 description 3
- 230000002441 reversible effect Effects 0.000 description 3
- 238000009415 formwork Methods 0.000 description 2
- 238000004321 preservation Methods 0.000 description 2
- 230000003068 static effect Effects 0.000 description 2
- 108010068370 Glutens Proteins 0.000 description 1
- 239000000956 alloy Substances 0.000 description 1
- FFBHFFJDDLITSX-UHFFFAOYSA-N benzyl N-[2-hydroxy-4-(3-oxomorpholin-4-yl)phenyl]carbamate Chemical compound OC1=C(NC(=O)OCC2=CC=CC=C2)C=CC(=C1)N1CCOCC1=O FFBHFFJDDLITSX-UHFFFAOYSA-N 0.000 description 1
- 230000008602 contraction Effects 0.000 description 1
- 238000005520 cutting process Methods 0.000 description 1
- 235000021312 gluten Nutrition 0.000 description 1
- 238000000265 homogenisation Methods 0.000 description 1
- 229910001234 light alloy Inorganic materials 0.000 description 1
- 238000003754 machining Methods 0.000 description 1
- 239000000203 mixture Substances 0.000 description 1
- 238000005457 optimization Methods 0.000 description 1
Images
Landscapes
- Forging (AREA)
Abstract
本发明公开一种高强复杂铝合金异形外六边座钣挤压终成形模具,包括终成形凸模、终成形凹模,终成形凸模、终成形凹模的口部成异形外六边,终成形凹模的口部尺寸与终成形凸模大小相一致,终成形凸模的中心为终成形圆锥凸面,三条直边向上形成三条V形终成形凸脊,V形终成形凸脊与终成形圆锥凸面相切连接之间形成平滑过渡,位于两两相邻V形终成形凸脊之间的终成形圆锥凸面形成喇叭口型引流终成形凸起扇面,该凸起扇面上再设有一扇形阻力凹腔,该扇形阻力凹腔在终成形圆锥凸面上沿顶部向底部逐渐增大,喇叭口型引流终成形凸起扇面的底部和V形终成形凸脊与弧形边的边沿之间留有一平面区域,每条V形终成形凸脊上设有一V形高筋终成形腔。
The invention discloses a high-strength and complex aluminum alloy special-shaped outer hexagonal seat plate extrusion final forming die, which includes a final forming punch, a final forming die, a final forming punch, and a mouth part of the final forming die. Irregular-shaped outer hexagonal, the size of the mouth of the final forming die is consistent with the size of the final forming punch, the center of the final forming punch is the final forming conical convex surface, and the three straight sides form three V-shaped final forming convex Ridge, the V-shaped final forming ridge forms a smooth transition between the tangential connection of the final forming conical convex surface, and the final forming conical convex surface between two adjacent V-shaped final forming ridges forms a trumpet-shaped drainage terminal A raised fan surface is formed, and a fan-shaped resistance cavity is provided on the raised fan surface. The fan-shaped resistance cavity gradually increases from the top to the bottom on the final formed conical convex surface, and the bell-shaped drainage is finally formed. There is a plane area between the bottom and the V-shaped final forming ridge and the edge of the arc, and each V-shaped final forming ridge is provided with a V-shaped high-rib final forming cavity.
Description
技术领域 technical field
本发明属于金属材料塑性精密成形加工技术,具体说属于轻合金精密成形领域,特别涉及采用预成形模具、局部加载模具、终成形模具实现高强复杂铝合金异形外六边座钣的精确挤压成形。 The invention belongs to the plastic precision forming processing technology of metal materials, specifically belongs to the field of light alloy precision forming, and particularly relates to the precise extrusion of high-strength and complex aluminum alloy special-shaped outer hexagonal seat plates by using pre-forming dies, partial loading dies, and final forming dies take shape. the
背景技术 Background technique
复杂高强铝合金异形外六边座钣类零件广泛应用于航空航天、装备制造领域,是装备中缓冲瞬间大冲击力的重要部分及主要承载构件。该构件结构形状复杂,外形呈非对称形状,内、外部均有高的加强筋,内部为V形高筋高宽比≥3,截面形状复杂,壁厚差较大。采用普通整体挤压成形模具,为整体一次挤压加载成形,加工设备成形压力、载荷较大,加工设备损耗和模具磨损均较大;同时在V形高筋处,容易折叠缺陷;材料利用率较低,不利于产品的批量化生产。 Complex high-strength aluminum alloy special-shaped outer hexagonal seat sheet parts are widely used in aerospace and equipment manufacturing fields, and are an important part and main load-bearing component of the equipment to buffer the instantaneous large impact force. The structural shape of the component is complex, the shape is asymmetrical, there are high ribs inside and outside, the inside is V-shaped with high rib height-to-width ratio ≥ 3, the cross-sectional shape is complex, and the wall thickness difference is large. Ordinary overall extrusion molding die is used for one-time extrusion loading and forming. The forming pressure and load of the processing equipment are relatively large, and the loss of processing equipment and mold wear are large; at the same time, it is easy to fold defects at the V-shaped high ribs; material utilization rate Low, not conducive to mass production of products. the
发明内容 Contents of the invention
本发明的目的是针对上述问题,本发明提出了一种高强复杂铝合金异形外六边座钣挤压终成形模具,该模具结构简单,成形压力小,V形高筋形成质量高。 The purpose of the present invention is to solve the above problems. The present invention proposes a high-strength complex aluminum alloy special-shaped outer hexagonal seat plate extrusion final forming die. The die has a simple structure, low forming pressure, and high V-shaped high-rib forming quality. the
为实现上述目的,本发明所采用的技术方案是: To achieve the above object, the technical solution adopted in the present invention is:
一种高强复杂铝合金异形外六边座钣挤压终成形模具,包括销钉、终成形上模板,终成形上垫板、螺钉、终成形凸模、终成形凹模、终成形下垫板、螺钉、终成形下模板,终成形凸模通过螺钉和销钉装于终成形上模板和终成形上垫板的下面,终成形凹模通过螺钉和装于终成形下模板和终成形下垫板的上面,所述的终成形凸模成直边加圆弧的异形外六边,终成形凹模的口部亦对应形成异形外六边,与终成形工件的形状对应,终成形凹模的口部尺寸与终成形凸模大小相一致,所述的终成形凸模的中心为终成形圆锥凸面,三 条直边向上形成三条V形终成形凸脊,V形终成形凸脊与终成形圆锥凸面相切连接之间形成平滑过渡,位于两两相邻V形终成形凸脊之间的终成形圆锥凸面形成从顶部到底部形成逐渐变大的喇叭口型引流终成形凸起扇面,该凸起扇面上再设有一扇形阻力凹腔,该扇形阻力凹腔在终成形圆锥凸面上沿顶部向底部逐渐增大,与金属流动方向相反,喇叭口型引流终成形凸起扇面的底部和V形终成形凸脊与弧形边的边沿之间留有一平面区域,每条V形终成形凸脊上设有一V形高筋终成形腔。 A high-strength complex aluminum alloy special-shaped outer hexagonal seat sheet extrusion final forming die, including pins, final forming upper template, final forming upper backing plate, screws, final forming punch, final forming die, final forming Forming lower backing plate, screw, final forming lower template, final forming punch is installed under the final forming upper template and final forming upper backing plate through screws and pins, final forming die is installed on the final forming die through screws and pins On the top of the forming lower template and the final forming lower backing plate, the final forming punch forms a special-shaped outer hexagon with straight sides and arcs, and the mouth of the final forming die also forms a special-shaped outer hexagon correspondingly. Corresponding to the shape of the final forming workpiece, the mouth size of the final forming die is consistent with the size of the final forming punch. The center of the final forming punch is the final forming conical convex surface, and the three straight sides are upward Three V-shaped final forming ridges are formed, and a smooth transition is formed between the tangential connection between the V-shaped final forming ridge and the final forming conical convex surface, and the final forming between two adjacent V-shaped final forming ridges The conical convex surface forms a gradually larger trumpet-shaped drainage from the top to the bottom. The final shaped convex fan is provided with a fan-shaped resistance cavity on the final formed conical convex surface along the top. It gradually increases towards the bottom, opposite to the metal flow direction, there is a plane area between the bottom of the bell-shaped drainage final forming raised sector and the V-shaped final forming ridge and the edge of the arc edge, and each V-shaped final forming A V-shaped high-rib final forming cavity is arranged on the forming convex ridge. the
所述的高强复杂铝合金异形外六边座钣挤压终成形模具,还包括终成形顶块、终成形顶杆,在V型终成形沟槽的底部形成三幅式限流槽,终成形顶块亦对应形成三辐条置于三幅式限流槽内,终成形顶块下螺接终成形顶杆,终成形顶杆活动设置在终成形下垫板和终成形下模板共同形成的通孔中。 The high-strength and complex aluminum alloy special-shaped outer hexagon seat plate extrusion final forming die also includes a final forming top block and a final forming ejector pin, forming a three-width current limiting at the bottom of the V-shaped final forming groove. The final forming top block also forms three spokes and is placed in the three-width flow-limiting groove. The final forming top block is screwed to the final forming ejector rod, and the final forming ejector rod is movable on the final forming lower backing plate. In the through hole formed together with the final forming lower template. the
所述的高强复杂铝合金异形外六边座钣挤压终成形模具,还包括终成形导正圈,固定在终成形凹模的上方,该导正圈设计为异形六边形通腔,其中三条直边,三条圆弧边,相邻两边为一直边和圆弧边连接,并带圆角过渡。 The high-strength complex aluminum alloy special-shaped outer hexagonal seat sheet extrusion final forming die also includes a final forming guide ring fixed above the final forming die, and the guide ring is designed as a special-shaped hexagonal through The cavity has three straight sides and three arc sides, and the adjacent two sides are connected by straight sides and arc sides, with rounded corner transition. the
所述的终成形圆锥凸面上形成三个扇形阻力凹腔。 Three fan-shaped resistance concave cavities are formed on the final shaped conical convex surface. the
所述的V形高筋终成形腔的方向与终成形凸模的直边平行。 The direction of the V-shaped high rib final forming cavity is parallel to the straight side of the final forming punch. the
本发明通终成形凸模外缘设置平面部分,在局部成形过程中,金属沿局部成形凸模锥形面自由向上流动,所以会使成形的局部成形工件成形为类似圆锥型的外形,此时工件的总高度会比终成形凸模的平台部分高出30-40mm,所以会使得在终成形时,终成形凸模的平面部分先终成形工件顶端接触,然后才是金属材料充满终成形凸模表面及V型高筋,另外,终成形凸模的扇形阻力凹腔起到限流作用,通过控制金属流向技术及控制金属流动顺序降低载荷技术实现高强复杂铝合金异形外六边座钣的精确挤压成形,避免工件发生推料、折叠等缺陷。实现构件内部复杂表面精确成形,降低了生产成本。 In the present invention, a flat part is arranged on the outer edge of the final forming punch. During the partial forming process, the metal flows upward freely along the conical surface of the partial forming punch, so the formed partial forming workpiece can be shaped into a conical shape. The total height of the workpiece will be 30-40mm higher than the platform part of the final forming punch, so that in the final forming, the flat part of the final forming punch will contact the top of the final forming workpiece first, and then the metal The material is filled with the surface of the final forming punch and V-shaped high ribs. In addition, the fan-shaped resistance cavity of the final forming punch acts as a current limiter. High-strength and complex aluminum alloys are realized by controlling the metal flow direction and controlling the metal flow sequence to reduce the load. Precise extrusion forming of special-shaped outer hexagonal seat sheet avoids defects such as pushing and folding of the workpiece. Realize the precise forming of the complex surface inside the component, and reduce the production cost. the
附图说明 Description of drawings
下面结合附图对本发明的具体实施方式作进一步详细说明。 The specific implementation manners of the present invention will be described in further detail below in conjunction with the accompanying drawings. the
图1是本发明的高强复杂铝合金异形外六边座钣预成形模具装配图; Fig. 1 is the assembly drawing of the high-strength complex aluminum alloy special-shaped outer hexagonal seat plate preforming mold of the present invention;
图2是高强复杂铝合金异形外六边座钣局部加载模具装配图; Figure 2 is an assembly drawing of the high-strength and complex aluminum alloy special-shaped outer hexagonal seat plate for partial loading of the mold;
图3是内异六边形导正圈立体图206、307; Fig. 3 is the three-dimensional view 206,307 of inner different hexagonal guide ring;
图4是凸模喇叭口型引流槽主视图; Fig. 4 is the front view of the bell mouth type drainage groove of the punch;
图4-1是凸模喇叭口型引流槽立体图; Figure 4-1 is a three-dimensional view of the horn-shaped drainage groove of the punch;
图5是凹模三幅式限流型腔主视图; Figure 5 is the front view of the three-width flow-limiting cavity of the die;
图5-1是凹模三幅式限流型腔立体图; Figure 5-1 is a perspective view of the three-width flow-limiting cavity of the die;
图6是三幅式快换顶块立体图; Figure 6 is a perspective view of the three-frame quick-change top block;
图7是高强复杂铝合金异形外六边座钣终成形模具装配图; Figure 7 is an assembly drawing of the final forming die of the high-strength and complex aluminum alloy special-shaped outer hexagonal seat sheet;
图8是终成形凸模扇形阻力凹腔主视图; Fig. 8 is the front view of the fan-shaped resistance cavity of the final forming punch;
图8—1是终成形凸模扇形阻力凹腔立体图; Figure 8-1 is a perspective view of the fan-shaped resistance cavity of the final forming punch;
图9是毛坯主视图; Figure 9 is a blank front view;
图10是预成形工件主视图; Figure 10 is a front view of the preformed workpiece;
图10-1是预成形工件俯视图; Figure 10-1 is a top view of the preformed workpiece;
图11是局部成形工件主视图; Figure 11 is a front view of a partially formed workpiece;
图11-1是局部成形工件剖视图; Figure 11-1 is a cross-sectional view of a partially formed workpiece;
图12是局部成形过程初始阶段示意图; Figure 12 is a schematic diagram of the initial stage of the partial forming process;
图12-1是局部成形过程终了阶段示意图; Figure 12-1 is a schematic diagram of the final stage of the partial forming process;
图13是终成形工件主视图; Fig. 13 is the front view of the finished workpiece;
图13-1是终成形工件剖视图; Figure 13-1 is a sectional view of the final formed workpiece;
图14是终成形过程初始阶段示意图; Figure 14 is a schematic diagram of the initial stage of the final forming process;
图14-1是终成形过程终了阶段示意图; Figure 14-1 is a schematic diagram of the final stage of the final forming process;
图15是高强复杂铝合金异形外六边座钣挤压成形流程图。 Fig. 15 is a flow chart of extrusion forming of a high-strength complex aluminum alloy special-shaped outer hexagonal seat sheet. the
具体实施方式 Detailed ways
下面结合附图和实例对本发明进一步说明。 The present invention will be further described below in conjunction with accompanying drawings and examples. the
如图1所示,一种高强复杂铝合金异形外六边座钣挤压预成形模具1,包括预成形上模板101、预成形上垫板102、螺钉103、预成形凸模104、预成形凹模105、预成形下垫板106、预成形工件107、预成形顶杆108、预成形下模板109、螺钉110,所述的预成形上模板101和压力机的上滑块相连(未示出,行业中普遍连接结构),所述的预成形凸模104通过螺钉103装于预成形上模板101和预成形上垫板102的下面,所述的预成形凹模105通过螺钉110和装于预成形下模板109和预成形下垫板106的上面,在预成形下模板109的中部开有通孔1081,通孔1081内装设有预成形顶杆108,预成形顶杆108在通孔1081中上下来回移动,对应在预成形凹模105内伸缩,用于将预成形工件107从在预成形凹模105中顶出。
As shown in Figure 1, a high-strength complex aluminum alloy special-shaped outer hexagonal seat sheet extrusion preforming die 1 includes a preformed
如图10、图10-1所示,预成形工件107采用铝合金材料,为直边加圆弧的异形外六边,相邻两边分别为-直边与一圆弧边,如图1所示,所述的预成形凸模104、预成形凹模105亦对应成直边加圆弧的异形外六边形,预成形凸模104与预成形凹模105大小相适应。
As shown in Figure 10 and Figure 10-1, the preformed
如图2所示,一种高强复杂铝合金异形外六边座钣挤压局部加载模具2,包括局部成形凹模201、局部成形上模板202、局部成形上垫板203、螺钉204、局部成形凸模205、局部成形导正圈206、局部成形顶块207、局部成形工件208、局部成形顶杆209、局部成形下垫板210、螺钉211、局部成形下模板212,所述的局部成形凸模205通过螺钉204装于局部成形上模板202和局部成形上垫板203的下面,所述的局部成形凹模201通过螺钉211装于局部成形下模板212和局部成形下垫板210的上面。
As shown in Figure 2, a high-strength and complex aluminum alloy special-shaped outer hexagonal seat plate extrusion partial loading die 2 includes a partial forming
如图4、图4-1、图11、图11-1所示,所述的局部成形凸模205亦成直边加圆弧的异形外六边,与局部成形工件208轮廓对应,局部成形凸模205的中心呈圆锥凸面2052,如碗的外表面,局部成形凸模205的三条直边2056向上形成三条V形凸脊2053,V形凸脊2053与圆锥凸面2052相切连接之间 形成平滑过渡,位于两两相邻V形凸脊2053之间的圆锥凸面2052形成从顶部到底部形成逐渐变大的喇叭口型引流凸起扇面,喇叭口型引流凸起扇面的底部延伸到弧形边2055的边沿,每条V形凸脊2053上设有一V形高筋预成形腔2054,V形高筋预成形腔2054的方向与局部成形凸模205的直边2056平行。
As shown in Figure 4, Figure 4-1, Figure 11, and Figure 11-1, the local forming
如图4、图4-1所示,圆锥凸面2052的顶部2051设计为平面,三条V形凸脊2053仅与圆锥凸面2052的锥面连接,三条V形凸脊2053没有直接相汇连接,这样更有利于局部成形工件208的塑性流动。
As shown in Fig. 4 and Fig. 4-1, the top 2051 of the conical
如图2、图4、图4-1、图5、图5-1所示,所述的局部成形凹模201对应局部成形凸模205的圆锥凸面2052和V形凸脊2053分别形成圆锥凹腔2012和V型沟槽2013,圆锥凹腔2012和V型沟槽2013之间形成从底部2011到口部2010形成逐渐变大的喇叭口型引流凹形扇面,与圆锥凸面2052的喇叭口型引流凸起扇面相对应,局部成形凹模201的口部2010亦对应形成异形外六边,与局部成形工件208的轮廓形状对应,局部成形凹模201的口部2010尺寸大于局部成形凸模205,在口部2010与预成形凸模205之间形成金属自由流动区20。
As shown in Fig. 2, Fig. 4, Fig. 4-1, Fig. 5, and Fig. 5-1, the conical
如图5、图5-1所示,V型沟槽2013的底部2011还形成三幅式限流槽2017,如图6所示,局部成形顶块207亦对应形成三辐条,如图2所示,局部成形顶块207置于三幅式限流槽2017内,局部成形顶块207下螺接局部成形顶杆209,局部成形顶杆209设置在局部成形下垫板210和局部成形下模板212共同形成的通孔200中,局部成形顶杆209在通孔200中上下活动,完成将局部成形工件208从局部成形凹模201中顶出。
As shown in Figure 5 and Figure 5-1, the
如图3所示,局部成形导正圈206固定在局部成形凹模201的上方,该导正圈设计为异形六边形通腔2061,其中3条直边2062,3条圆弧边2063,相邻两边为一直边2062和圆弧边2063连接,并带圆角过渡,在局部成形工 序中,通过3条圆弧边2063引导预成形工件107自动进入局部成形凹模201中,同时3条直边2062使预成形工件107与局部成形凹模201的中心重合,不需人工找正,实现预成形工件107与模具的自动化定位,定位精度可达±0.1mm。
As shown in Fig. 3, the partial forming
预成形工件107挤压完成后,将加热好的预成形工件107通过局部成形导正圈206放入预热好的局部加载模具2中,在压力机滑块下行加载过程中,局部成形凸模205、局部成形凹模201将预成形工件107挤压成局部成形工件208,而后局部成形顶杆209通过局部成形顶块207将局部成形工件208顶出。
After the preformed
如图4、图4-1所示:局部成形凸模205在材料流动剧烈处设计了喇叭口型引流凸起扇面,在局部成形过程中,由于喇叭口的大头一端与金属的流动方向一致,通过喇叭口型引流凸起扇面使金属通过此处时受到的约束逐渐减少,自由度逐渐增大,同时在此处为圆锥凸面设计,使得充填阻力降低,加快了金属的流动速度,提高变形均匀性,使此处局部金属快速流动而降低成形载荷并避免产生穿流,涡流及折叠等缺陷。
As shown in Figure 4 and Figure 4-1: the local forming
如图5、图5-1所示,局部成形凹模201底部设计三幅式限流槽2017,在局部成形过程中,三幅式限流槽2017加大了流动阻力,使局部挤压力增大,起到了限制金属流入得作用,从而保证金属充满凸模型腔,同时增加脱模力,以局部成形工件208在脱模时留在局部成形凹模201而不跟随局部成形凸模205上行,利于从局部成形凹模201取出工件,从而实现连续不间断生产,提高生产率。
As shown in Figure 5 and Figure 5-1, the bottom of the partial forming
如图6所示,局部成形顶块207设计为三幅并且可快速更换式结构,在顶块中心钻有螺孔2071,此螺孔2071可与局部成形顶杆209用螺钉相连接,如在生产过程中顶块损坏,可快速自由更换,利于连续不间断生产,提高生产率。
As shown in Figure 6, the partially formed
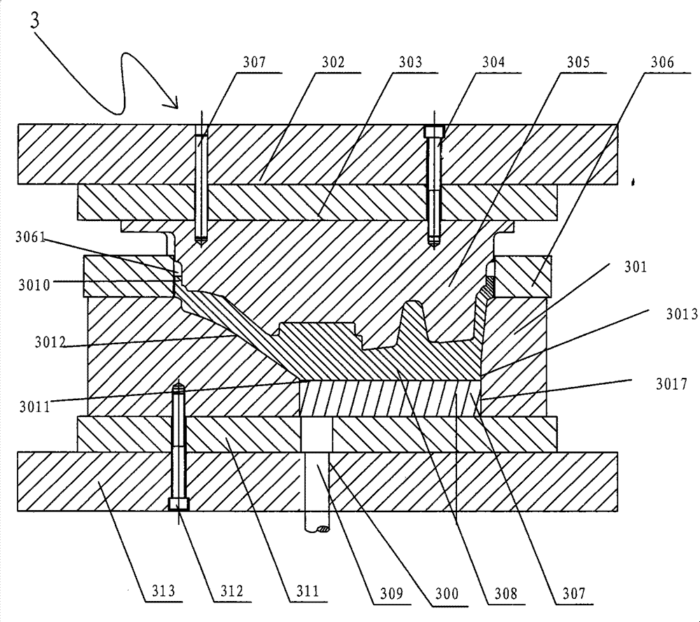
如图7所示,一种高强复杂铝合金异形外六边座钣挤压终成形模具3,包 括销钉310、终成形上模板302,终成形上垫板303、螺钉304、终成形凸模305、终成形导正圈306、终成形凹模301、终成形顶块307、终成形工件308、终成形顶杆309、终成形下垫板311、螺钉312、终成形下模板313,终成形凸模305通过螺钉304和销钉310装于终成形上模板302和终成形上垫板303的下面,终成形凹模307通过螺钉312和装于终成形下模板313和终成形下垫板311的上面。
As shown in Figure 7, a high-strength complex aluminum alloy special-shaped outer hexagonal seat plate extrusion
如图8、图8-1、图13、图13-1所示,所述的终成形凸模305亦成直边加圆弧的异形外六边,与终成形工件308轮廓对应,终成形凸模305的中心为终成形圆锥凸面3052,如碗的外表面,终成形凸模305的三条直边3056向上形成三条V形终成形凸脊3053,V形终成形凸脊3053与终成形圆锥凸面3052相切连接之间形成平滑过渡,位于两两相邻V形终成形凸脊3053之间的终成形圆锥凸面3052形成从顶部到底部形成逐渐变大的喇叭口型引流终成形凸起扇面,喇叭口型引流终成形凸起扇面的底部和V形终成形凸脊3053与弧形边3055的边沿之间留有一平面区域3050,每条V形终成形凸脊3053上设有一V形高筋终成形腔3054,V形高筋终成形腔3054的方向与终成形凸模305的直边3056平行。
As shown in Fig. 8, Fig. 8-1, Fig. 13, and Fig. 13-1, the final forming
如图8、图8-1所示,终成形圆锥凸面3052的顶部3051设计为平台,三条V形终成形凸脊3053仅与终成形圆锥凸面3052的锥面连接,三条V形终成形凸脊2053相互隔有距离,没有直接相汇连接,这样更有利于终成形工件308的塑性流动。
As shown in Figure 8 and Figure 8-1, the top 3051 of the final forming conical
如图8、图8-1所示,两两相邻V形终成形凸脊3053之间的喇叭口型引流终成形凸起扇面上再设有一扇形阻力凹腔314,在终成形圆锥凸面3052上形成三个扇形阻力凹腔314,扇形阻力凹腔314在终成形圆锥凸面3052上沿顶部3051向底部逐渐增大,与金属流动方向相反。在终成形过程中,使此处金属的流动阻力增大,降低其流动速度,保证在终成形过程中此处金属处于 静止状态,不随终成形凸模305的下行而发生移动失稳,避免在终成形工件308的中心圆台部分3081发生推料、折叠等缺陷。
As shown in Figure 8 and Figure 8-1, a fan-shaped
如图7所示,所述的终成形凹模301与终成形工件308的轮廓相同,结构组成与局部成形凹模201相似,亦包括对应终成形凸模305的终成形圆锥凸面3052和V形终成形凸脊3053分别形成终成形圆锥凹腔3012和V型终成形沟槽3013,终成形圆锥凹腔3012和V型终成形沟槽3013之间形成从底部3011到口部3010形成逐渐变大的喇叭口型引流凹形扇面,与终成圆锥凸面2052的喇叭口型引流凸起扇面相对应,终成形凹模301的口部3010亦对应形成异形外六边,与终成形工件308的外形形状对应,终成形凹模301的口部2010尺寸与终成形凸模305大小相一致。
As shown in Figure 7, the profile of the final forming
如图7所示,在V型终成形沟槽2013的底部2011形成三幅式限流槽3017,终成形顶块307亦对应形成三辐条(未画出,结构与局部成形顶块207完全相同),如图7所示,终成形顶块307置于三幅式限流槽3017内,终成形顶块307下螺接终成形顶杆309,终成形顶杆309设置在终成形下垫板311和终成形下模板313共同形成的通孔300中,局部成形顶杆209在通孔300中上下活动,完成将终成形工件308从终成形凹模301中顶出。
As shown in Figure 7, a three-
如图7所示,终成形导正圈306固定在终成形凹模301的上方,该导正圈设计为异形六边形通腔3061,其中3条直边,3条圆弧边,相邻两边为一直边和圆弧边连接,并带圆角过渡(结构与局部成形导正圈206完全相同),在终成形工序中,通过3条圆弧边引导局部成形工件208自动进入终成形凹模301中,同时3条直边使局部成形工件208与终成形凹模301的中心重合,不需人工找正,实现局部成形工件208与模具的自动化定位,定位精度可达±0.1mm。
As shown in Figure 7, the final forming
局部成形工件208挤压完成后,将加热好的局部成形工件208通过终成形导正圈306放入预热好的终成形载模具3中,在压力机滑块下行加载过程 中,终成形凸模305、终成形凹模301将局部成形工件208挤压成终成形工件308(即铝合金异形外六边座钣),而后终成形顶杆309通过终成形顶块307将终成形工件308从终成形凹模301中顶出。
After the extrusion of the partially formed
综上所述,本发明局部加载模具2、终成形模具3具有以下优点:
In summary, the local loading mold 2 and the final forming
1、局部成形凹模、终成形凹模的六边形导正圈使得工件在放置过程中实现精确自动找正,提高定位精度达±0.1mm,降低劳动强度、提高生产效率。 1. The hexagonal guide ring of the local forming die and the final forming die enables precise and automatic alignment of the workpiece during placement, improves positioning accuracy to ±0.1mm, reduces labor intensity and improves production efficiency. the
2、局部成形凹模、终成形凹模底部设计三幅式限流腔,虽会在工件的底面形成三幅式凸起,即金属材料流入了限流腔,但是也同样不是缺陷,此处限流腔也同时是成形工件尺寸形状的一部分,有+2mm的加工余量,同时起到限流和成形的作用,保证金属充满局部成形凸模、终成形凸模模型腔。同时利于从凹模顶出工件,实现连续不间断生产。 2. The bottom of the local forming die and the final forming die is designed with a three-width flow-limiting cavity. Although three-width protrusions will be formed on the bottom surface of the workpiece, that is, the metal material flows into the flow-limiting cavity, but it is also not a defect. The local flow-limiting cavity is also a part of the size and shape of the formed workpiece, with a machining allowance of +2mm, and plays the role of flow-limiting and forming at the same time, ensuring that the metal fills the cavity of the local forming punch and the final forming punch. At the same time, it is beneficial to eject the workpiece from the die to realize continuous and uninterrupted production. the
3、局部加载及终成形模具顶块设计为三幅式可快速更换结构,如在生产过程中损坏,可实现快速自由更换。 3. The top block of the partial loading and final forming mold is designed as a three-width structure that can be replaced quickly. If it is damaged during the production process, it can be replaced quickly and freely. the
4、局部成形凹模的凹腔与局部成形凸模有一定的关系,局部成形凸模外形尺寸要小于凹模模腔尺寸,才在局部成形凹模与局部成形凸模之间形成一个金属材料可以自由流动区。 4. The cavity of the local forming die has a certain relationship with the local forming punch. The outer dimension of the local forming punch must be smaller than the cavity size of the die to form a metal material between the local forming die and the local forming punch. free movement zone. the
5、终成形凸模与终成形凹模模腔符合最终产品尺寸,终成形凹模模腔与终成形凸模大小一致,终成形凸模外形相比局部成形凸模外缘平面部分,在局部成形过程中,金属沿局部成形凸模锥形面自由向上流动,所以会使成形的局部成形工件成形为类似圆锥型的外形,此时工件的总高度会比终成形凸模的平台部分高出30-40mm,所以会使得在终成形时,终成形凸模的平面部分先与终成形工件顶端接触,然后才是金属材料充满终成形凸模表面及V型高筋。 5. The cavity of the final forming punch and the final forming die conform to the size of the final product, the cavity of the final forming die is consistent with the size of the final forming punch, and the shape of the final forming punch is compared with the outer edge of the local forming punch In the plane part, during the partial forming process, the metal flows upward freely along the conical surface of the partial forming punch, so the formed partial forming workpiece will be shaped into a conical shape, and the total height of the workpiece will be higher than the final forming convex. The platform part of the mold is 30-40mm higher, so that in the final forming, the flat part of the final forming punch first contacts the top of the final forming workpiece, and then the metal material fills the surface of the final forming punch and V Type high gluten. the
另外,终成形凸模设计扇形阻力凹腔限流的作用,避免工件发生推料、折叠等缺陷。实现构件内部复杂表面精确成形,降低了生产成本。 In addition, the final forming punch is designed to limit the flow of the fan-shaped resistance cavity to avoid defects such as pushing and folding of the workpiece. Realize the precise forming of the internal complex surface of the component, and reduce the production cost. the
如图15所示,以下介绍使用上述模具加工高强复杂铝合金异形外六边座 钣挤压成形方法,主要工艺包括下料——均匀化热处理——预成形——局部成形前加热——局部成形——终成形前加热——终成形。 As shown in Figure 15, the following is an introduction to the extrusion forming method of processing high-strength and complex aluminum alloy special-shaped outer hexagonal seat sheet using the above-mentioned mold. Forming - heating before final forming - final forming. the
(1)工序一:下料 (1) Process 1: cutting
如图9所示:在带锯机上下料,毛坯为7A04锻造铝合金棒料1070
As shown in Figure 9: loading and unloading on the band saw machine, the blank is 7A04 forged
(2)工序二:均匀化处理:加热温度:470℃±5℃,保温6h; (2) Process 2: homogenization treatment: heating temperature: 470°C±5°C, heat preservation for 6h;
(3)工序三:预成形 (3) Process three: preforming
如图2所示,首先将加热好的铝合金棒料1070放入预成形模具1的预成形凹模105中,在压力机滑块下行加载过程中,预成形凸模104、预成形凹模105将铝合金圆柱棒料1070挤压成预成形工件107,而后预成形顶杆108将预成形工件107从预成形凹模105中顶出。
As shown in Figure 2, first put the heated aluminum
如图10、图10-1所示,预成形工件107的厚度H大于实际的最终产品铝合金异形外六边座钣的厚度,预成形工件107的圆弧边1075的半径R小于实际的最终产品铝合金异形外六边座钣的圆弧边半径,本发明采用预成形工件优化设计技术,在体积不变原则条件下,增大预成形工件高度H,减小圆弧半径R,而传统的整体加载挤压成形时,预成形工件外形尺寸与终成形工件外形尺寸相同,面积较大,厚度较低,在成形过程中,金属在内部V型高筋处的流动方式主要为水平向中心流动,因此,在预成形工件在V型高筋成形过程中产生了折叠缺陷。
As shown in Figure 10 and Figure 10-1, the thickness H of the preformed
(4)工序四: (4) Process four:
局部成形前加热,预成形工件107加热温度470℃±5℃,保温4h;
Heating before partial forming, the preformed
局部加载模具2预热温度430℃±5℃,保温4h。 Partially load the mold 2 with a preheating temperature of 430°C±5°C and keep it warm for 4 hours. the
(5)工序五:局部成形 (5) Process five: local forming
如图2、图12、图12-1所示,将加热好的预成形工件107通过局部成形导正圈206放入预热好的局部成形模具2中,在压力机滑块下行成形过程中,局部成形凸模205、局部成形凹模201将预成形工件107挤压成局部成形 工件208,在成形过程中,如图12所示,仅在初始阶段局部成形工件208和局部成形凸模205紧密接触,而在挤压终了阶段,工件和凸模则不完全接触,如图2、图12、图12-1、图11、图11-1所示,而是沿局部成形凸模205的倒锥形反向向上自由流动,即局部成形工件208的异形六边的3条直边2086和圆弧边2085均可以在局部成形凸模205和局部成形凹模201之间留有的金属自由流动区20实现自由流动,实现V形局部成形高筋处金属主要流动方向为向上及V型向两侧自由流动,即同时出现V形局部成形高筋处金属向局部成形凸模205的V形高筋预成形腔2054的方向和金属自由流动区20两个方向流动,避免了现有整体挤压成形时产生的折叠缺陷,在较小的载荷下实现局部成形工件208的复杂内部结构及V局部成形形高筋处金属充满型腔,而后局部成形顶杆209通过局部成形顶块207将局部成形工件208顶出。
As shown in Figure 2, Figure 12, and Figure 12-1, the heated
(6)工序六: (6) Process six:
终成形前加热,局部成形工件208加热温度470℃±5℃,保温4h;
Heating before final forming, local forming
终成形模具3预热温度430℃±5℃,保温4h。
The final forming
(7)工序七:终成形 (7) Process Seven: Final Forming
如图7、图14、图14-1所示,将加热好的局部成形工件208通过终成形导正圈206放入终成形模具3中,在压力机滑块下行加载过程中,终成形凸模305、终成形凹模301将局部成形工件208挤压成终成形工件308,在成形过程中,如图14、图12所示,与局部成形工件208的局部加载初始阶段不同,因为局部成形工件208的异形六边在局部成形凹模201中上白有向上流动,所以终成形初始阶段终成形凸模305与终成形工件308不完全同时接触,而是首先终成形凸模305的平面区域3050与终成形工件308的异形六边顶端接触,使部分金属向下滑移流动,待部分金属充满平面区域305完成后,金属才会完全接触终成形凸模305,另外,在金属向下滑移流动还会受到扇形阻力凹腔314一定限制,使此处金属的流动阻力增大,降低其流动速度,保证 在终成形过程中此处金属处于相对静止状态,不随终成形凸模305的下行而发生移动失稳,避免在终成形工件308的中心圆台部分3081(如图13、图13-1所示)发生推料、折叠等缺陷,而此工序金属大部分时间处于流动状态,不会出现死区,降低了成形载荷,提高了充填效率。
As shown in Fig. 7, Fig. 14, and Fig. 14-1, put the heated partially formed
本成形方法与现有技术相比: Compared with the prior art, this forming method:
1、设计预成形工序与局部加载工序、终成形工序之间的工件尺寸为连续均匀过渡,控制工件和模具分别在不同区域、不同时间重合。如局部成形工序中,开始阶段预成形工件与局部成形凸模完全接触,在成形后期局部成形凸模和预成形工件则不完全接触,而是靠预成形凸模倒锥形反向自由流动;在终成形工序中,开始阶段终成形工件的顶部首先与终成形凸模平面接触,而在后期终成形凸模才逐渐完全与终成形工件全部重合。此连续均匀过渡设计在成形过程中保证了金属材料的均匀流动,使工件内部复杂型腔得以充填完整。 1. Design the workpiece size between the preforming process, the local loading process and the final forming process to be a continuous and uniform transition, and control the overlapping of the workpiece and the mold in different areas and at different times. For example, in the partial forming process, the preformed workpiece is in full contact with the local forming punch at the beginning, and the local forming punch and the preformed workpiece are not in complete contact at the later stage of forming, but flow freely in the reverse direction of the preforming punch; In the final forming process, the top of the final forming workpiece is first in contact with the plane of the final forming punch at the beginning, and the final forming punch is gradually completely overlapped with the final forming workpiece in the later stage. This continuous uniform transition design ensures the uniform flow of metal materials during the forming process, so that the complex cavity inside the workpiece can be completely filled. the
2、设计预成形工件外形尺寸为直边加圆弧的异形外六边形,其中圆弧半径R及直边长度L小于产品最终尺寸,而毛坯高度H高于传统整体加载工艺。传统整体加载成形时半径R处金属流动速度矢量较大,致使成形过程中,此处金属会首先充满模具型腔而导致成形载荷剧烈增大,而此时型腔其余部分确还没有充满,产生缺陷。圆弧半径R优化为可以使增加此处金属在成形过程中流动距离,增加成形阻力,使其与金属其它部分同时充填模具型腔,降低了成形压力,去除了整体加载成形的充不满缺陷。 2. Design the outer dimension of the preformed workpiece as a special-shaped outer hexagon with straight sides and arcs, where the radius R of the arc and the length L of the straight sides are smaller than the final size of the product, and the height H of the blank is higher than that of the traditional overall loading process. In traditional overall loading forming, the metal flow velocity vector at the radius R is relatively large, so that during the forming process, the metal here will first fill the mold cavity, resulting in a sharp increase in the forming load, but at this time the rest of the cavity is indeed not full, resulting in defect. The radius R of the arc is optimized to increase the flow distance of the metal during the forming process, increase the forming resistance, make it fill the mold cavity with other parts of the metal at the same time, reduce the forming pressure, and eliminate the filling defect of the overall loading forming. the
3、终成形设计V形高筋反向完整充填方法,利用预成形毛坯高度H与半径R的配合,设计控制金属流向技术,使得内部V形高筋高宽比≥3充填方式由水平向中心折叠充填改为向上方及两侧充填,去除了V形高筋在普通整体加载中的折叠缺陷。 3. The reverse complete filling method of V-shaped high ribs is designed in the final forming, and the technology of controlling the metal flow direction is designed by using the cooperation of the height H of the preformed blank and the radius R, so that the filling method of the internal V-shaped high ribs with a height-to-width ratio ≥ 3 is changed from horizontal to The center folding filling is changed to upward and side filling, which eliminates the folding defect of V-shaped high ribs in ordinary overall loading. the
4、本发明挤压力较普通整体成形挤压力降低60%~70%,成形载荷较传统整体成形降低60%以上,极大减轻了设备及模具的损耗。 4. The extrusion force of the present invention is 60%-70% lower than that of common integral forming, and the forming load is reduced by more than 60% compared with traditional integral forming, which greatly reduces the loss of equipment and molds. the
综上所述,本发明的有益效果是,采用控制工件和模具分步重合技术、优化设计预成形尺寸控制金属流向技术及控制金属流动顺序降低载荷技术实现高强复杂铝合金异形外六边座钣的精确挤压成形。 To sum up, the beneficial effect of the present invention is that the high-strength and complex aluminum alloy special-shaped outer hexagonal seat sheet can be realized by adopting the technology of controlling the step-by-step overlapping of the workpiece and the mold, the technology of optimizing the design of the preformed size to control the metal flow direction, and the technology of controlling the metal flow sequence to reduce the load. precise extrusion. the
Claims (5)
Priority Applications (1)
| Application Number | Priority Date | Filing Date | Title |
|---|---|---|---|
| CN201310344338.4A CN103521545B (en) | 2013-07-30 | 2013-07-30 | Final extrusion forming die for high-strength complicated aluminum alloy special-shape outer hexagonal base metal plate |
Applications Claiming Priority (1)
| Application Number | Priority Date | Filing Date | Title |
|---|---|---|---|
| CN201310344338.4A CN103521545B (en) | 2013-07-30 | 2013-07-30 | Final extrusion forming die for high-strength complicated aluminum alloy special-shape outer hexagonal base metal plate |
Publications (2)
| Publication Number | Publication Date |
|---|---|
| CN103521545A true CN103521545A (en) | 2014-01-22 |
| CN103521545B CN103521545B (en) | 2017-02-15 |
Family
ID=49924102
Family Applications (1)
| Application Number | Title | Priority Date | Filing Date |
|---|---|---|---|
| CN201310344338.4A Active CN103521545B (en) | 2013-07-30 | 2013-07-30 | Final extrusion forming die for high-strength complicated aluminum alloy special-shape outer hexagonal base metal plate |
Country Status (1)
| Country | Link |
|---|---|
| CN (1) | CN103521545B (en) |
Cited By (5)
| Publication number | Priority date | Publication date | Assignee | Title |
|---|---|---|---|---|
| CN106607468A (en) * | 2017-01-07 | 2017-05-03 | 中北大学 | Differential-speed extrusion forming method of magnesium alloy high performance cup-shaped piece |
| CN115283471A (en) * | 2022-10-08 | 2022-11-04 | 中北大学 | Forward extrusion uniform forming method for complex section |
| CN115488181A (en) * | 2022-10-08 | 2022-12-20 | 中北大学 | Uniform extrusion forming die for magnesium-aluminum alloy section |
| CN116571630A (en) * | 2023-04-17 | 2023-08-11 | 佛山市南海万圣锋模具有限公司 | Forming mold for a saddle-shaped workpiece |
| CN119098553A (en) * | 2024-11-04 | 2024-12-10 | 万向钱潮股份公司 | Cross shaft processing device and processing method |
Citations (3)
| Publication number | Priority date | Publication date | Assignee | Title |
|---|---|---|---|---|
| JPH06312213A (en) * | 1993-04-30 | 1994-11-08 | Mitsubishi Alum Co Ltd | Die for extrusion |
| JP2012158991A (en) * | 2011-01-28 | 2012-08-23 | Daido Steel Co Ltd | Method of manufacturing contoured metal ring |
| CN102784808A (en) * | 2012-08-07 | 2012-11-21 | 中北大学 | Method and die for precisely forming asymmetric high-web complex-section workpiece |
-
2013
- 2013-07-30 CN CN201310344338.4A patent/CN103521545B/en active Active
Patent Citations (3)
| Publication number | Priority date | Publication date | Assignee | Title |
|---|---|---|---|---|
| JPH06312213A (en) * | 1993-04-30 | 1994-11-08 | Mitsubishi Alum Co Ltd | Die for extrusion |
| JP2012158991A (en) * | 2011-01-28 | 2012-08-23 | Daido Steel Co Ltd | Method of manufacturing contoured metal ring |
| CN102784808A (en) * | 2012-08-07 | 2012-11-21 | 中北大学 | Method and die for precisely forming asymmetric high-web complex-section workpiece |
Non-Patent Citations (1)
| Title |
|---|
| 崔财威: "大型高筋复杂截面7A04铝合金底座成形工艺研究", 《中国优秀硕士学位论文全文数据库(工程科技Ⅰ辑)》, no. 8, 15 August 2012 (2012-08-15), pages 45 - 53 * |
Cited By (6)
| Publication number | Priority date | Publication date | Assignee | Title |
|---|---|---|---|---|
| CN106607468A (en) * | 2017-01-07 | 2017-05-03 | 中北大学 | Differential-speed extrusion forming method of magnesium alloy high performance cup-shaped piece |
| CN115283471A (en) * | 2022-10-08 | 2022-11-04 | 中北大学 | Forward extrusion uniform forming method for complex section |
| CN115488181A (en) * | 2022-10-08 | 2022-12-20 | 中北大学 | Uniform extrusion forming die for magnesium-aluminum alloy section |
| CN115488181B (en) * | 2022-10-08 | 2025-07-18 | 中北大学 | Even extrusion forming mould of magnalium section bar |
| CN116571630A (en) * | 2023-04-17 | 2023-08-11 | 佛山市南海万圣锋模具有限公司 | Forming mold for a saddle-shaped workpiece |
| CN119098553A (en) * | 2024-11-04 | 2024-12-10 | 万向钱潮股份公司 | Cross shaft processing device and processing method |
Also Published As
| Publication number | Publication date |
|---|---|
| CN103521545B (en) | 2017-02-15 |
Similar Documents
| Publication | Publication Date | Title |
|---|---|---|
| CN104308058B (en) | A kind of method of titanium alloy blade forging and molding | |
| CN202752523U (en) | Automobile steering knuckle multidirectional die forging precision forging forming die | |
| CN103521668B (en) | A kind of high-strength Complex Aluminum Alloy abnormity external hexagonal base plate extruding manufacturing process | |
| CN103521545B (en) | Final extrusion forming die for high-strength complicated aluminum alloy special-shape outer hexagonal base metal plate | |
| TW201718223A (en) | Variable cross section extrusion device and extrusion method including a billet receiving bucket, a fixed extrusion mold, an extrusion male mold, a reciprocating extrusion mold, and an extrusion rod | |
| CN110238343A (en) | Hub Forming Method | |
| CN103567246B (en) | The extrusion molding apparatus of crankshaft used for large boat crank throw and manufacturing process | |
| CN201735620U (en) | Cold extrusion forming die for part | |
| CN208946620U (en) | A kind of automobile armrest mold | |
| CN116422820A (en) | Bidirectional closed die forging method for thin-wall deep-hole gear forging | |
| CN104942200B (en) | I-shaped joint rotating die and forming process thereof | |
| CN208680197U (en) | A kind of industrial aluminium section extrusion die fixed convenient for seam allowance | |
| CN103521544A (en) | High-strength complex aluminum alloy special-shaped external hexagonal base plate extruding local loading mould | |
| CN104014605B (en) | The equilateral reverse anti-extruding process of three-jaw flange sliding sleeve and reverse anti-extruding mold | |
| CN105032966B (en) | Die and method for manufacturing inner and outer pipe workpiece with separation ribs in middle through extrusion method | |
| CN219786060U (en) | A mold for pump body flow channel | |
| CN101254517A (en) | Silumin piston contour forging technique and mold | |
| CN105583343A (en) | Heterotype pipe fitting forging molding die | |
| CN107363205B (en) | Forging forming module for body forgings of flange ball valves with handles | |
| CN113020516B (en) | Method and die for forging unequal-thickness metal piece plate with flange structure | |
| CN104785693B (en) | Complicated I shape connector forging and forming technology | |
| CN203459447U (en) | Guide cylinder curved surface/center hole extrusion molding device | |
| CN204685699U (en) | A kind of extrusion die with U-type groove tubular aluminum section bar | |
| CN203945588U (en) | Be applicable to produce the mould of annular damper | |
| CN207668416U (en) | A kind of external screw thread double bond slot forging piece molding die |
Legal Events
| Date | Code | Title | Description |
|---|---|---|---|
| C06 | Publication | ||
| PB01 | Publication | ||
| C10 | Entry into substantive examination | ||
| SE01 | Entry into force of request for substantive examination | ||
| C14 | Grant of patent or utility model | ||
| GR01 | Patent grant |
