CN103474876A - 10KV electric power complete equipment misoperation-preventive lock - Google Patents
10KV electric power complete equipment misoperation-preventive lock Download PDFInfo
- Publication number
- CN103474876A CN103474876A CN2013104021958A CN201310402195A CN103474876A CN 103474876 A CN103474876 A CN 103474876A CN 2013104021958 A CN2013104021958 A CN 2013104021958A CN 201310402195 A CN201310402195 A CN 201310402195A CN 103474876 A CN103474876 A CN 103474876A
- Authority
- CN
- China
- Prior art keywords
- cabinet
- metering
- door
- interlocking
- locking bar
- Prior art date
- Legal status (The legal status is an assumption and is not a legal conclusion. Google has not performed a legal analysis and makes no representation as to the accuracy of the status listed.)
- Granted
Links
Images
Landscapes
- Patch Boards (AREA)
Abstract
本发明涉及一种10千伏电力成套设备的防误闭锁,由计量柜和受电柜组成,其特征在于:在计量柜门与受电柜隔离开关之间安装机械联动锁,受电柜隔离开关的操作机构通过机械联动锁与计量柜下门配合;计量柜门内侧安装一个微动开关,微动开关的电源信号与受电柜内的电压互感器连接,微动开关与安装在受电柜的进线柜上方的声光报警装置以电磁方式相连。其具有机械联锁和电磁报警功能,实现了高压计量装置人身防误双保险,有效避免人身触电伤亡事故。
The invention relates to an anti-misoperation locking of 10 kV power complete equipment, which is composed of a metering cabinet and a power receiving cabinet. The operating mechanism of the switch cooperates with the lower door of the metering cabinet through a mechanical linkage lock; a micro switch is installed on the inside of the door of the metering cabinet, the power signal of the micro switch is connected to the voltage transformer in the power receiving cabinet, and the micro switch is connected to the voltage transformer installed in the power receiving cabinet. The sound and light alarm device above the incoming line cabinet of the cabinet is connected electromagnetically. It has the functions of mechanical interlock and electromagnetic alarm, which realizes the double insurance of personal error prevention of high-voltage metering device, and effectively avoids personal electric shock casualty accidents.
Description
技术领域 technical field
本发明涉及10千伏电力成套设备的防误闭锁,用于10千伏电力成套设备。 The invention relates to an anti-misoperation locking of 10 kilovolt electric complete sets of equipment, which is used for 10 kilovolt electric complete sets of equipment.
背景技术 Background technique
10千伏高压电能计量装置现场安装、检修、维护工作,具有作业现场小型分散、点多面广,具体单个现场工作时间较短,由用电客户电工人员负责操作高压设备并实施安全措施等特点,现场工作存在一些安全隐患。运行状态下用户设备的健康水平千差万别,管理上的重视程度和电工人员的素质参差不齐,致使安全管理上的“两票”制度在用户难以真正落实,导致保证电能计量现场作业安全的组织措施难以完全落实;工作中发现,用电客户 10千伏高压设备普遍存在安全防护设施不完善的情况,许多高压客户的进线柜只采用人为挂锁防护方式,由于年久失修,管理不善的原因,锁具不全或不好用的情况很多,如果工作人员又缺乏足够的安全意识,没有履行必要的安全措施,就容易误入带电间隔,引发人身伤亡事故。据统计,近两年国家电网公司的安全事故中,电能计量和高压客户用电检查专业人身触电伤亡事故所占的比例很高,并呈现上升趋势。 The on-site installation, inspection and maintenance of 10 kV high-voltage electric energy metering devices has the characteristics of small and scattered work sites, multiple points and wide areas, and the specific working time of a single site is relatively short. The electrician of the customer is responsible for operating the high-voltage equipment and implementing safety measures. There are some safety hazards in field work. The health level of user equipment varies in thousands of ways under the operating state, and the degree of emphasis on management and the quality of electricians are uneven, which makes it difficult for users to implement the "two votes" system in safety management, resulting in organizational measures to ensure the safety of electric energy metering on-site operations It is difficult to fully implement; in the work, it is found that the 10 kV high-voltage equipment of electricity customers generally has imperfect safety protection facilities, and the incoming line cabinets of many high-voltage customers only use artificial padlock protection methods. Due to years of disrepair and poor management, There are many cases where the locks are incomplete or not easy to use. If the staff lacks sufficient safety awareness and fails to perform the necessary safety measures, it is easy to enter the live compartment by mistake, causing personal injury and death accidents. According to statistics, among the safety accidents of the State Grid Corporation of China in the past two years, electric energy metering and high-voltage customer electricity inspection professionals accounted for a high proportion of personal electric shock casualties, and it is showing an upward trend.
具有“五防”功能的防误闭锁装置是确保人身和设备安全、防止误操作、误触误碰带电设备的重要技术措施,目前,电力生产的各个环节已经广泛采用具有“五防”功能的防误闭锁装置,以技术手段为主,杜绝人为误操作、误碰带电设备也已经成为电力安全管理的发展主流。而在电能计量装置部分,高压计量柜与进线负荷开关之间并没有防误闭锁装置,致使发生人员误入带电间隔,误碰、误触带电设备的机率增大,极易发生人身触电伤亡事故。 The anti-misoperation locking device with the "five preventions" function is an important technical measure to ensure the safety of people and equipment, and to prevent misuse and accidental contact with live equipment. The anti-misoperation locking device is mainly based on technical means, and it has become the mainstream of the development of electric power safety management to prevent human misoperation and accidental contact with live equipment. In the part of the electric energy metering device, there is no anti-misoperation locking device between the high-voltage metering cabinet and the load switch of the incoming line, which leads to the increase of the probability of people accidentally entering the electrified interval, accidentally touching and accidentally touching the electrified equipment, and easily causing personal electric shock casualties ACCIDENT.
发明内容 Contents of the invention
本发明的目的在于提供一种10千伏电力成套设备的防误闭锁,其具有机械联锁和电磁报警功能,实现了高压计量装置人身防误双保险,有效避免人身触电伤亡事故。 The purpose of the present invention is to provide an anti-misoperation locking of 10 kV power complete sets of equipment, which has the functions of mechanical interlock and electromagnetic alarm, and realizes the double insurance of personal error prevention of high-voltage metering device, and effectively avoids personal electric shock casualty accidents.
本发明的技术方案是这样实现的:10千伏电力成套设备的防误闭锁,由计量柜和受电柜组成,其特征在于:在计量柜门与受电柜隔离开关之间安装机械联动锁,受电柜隔离开关的操作机构通过机械联动锁与计量柜下门配合;计量柜门内侧安装一个微动开关,微动开关的电源信号与受电柜内的电压互感器连接,微动开关与安装在受电柜的进线柜上方的声光报警装置以电磁方式相连。 The technical solution of the present invention is realized in the following way: the anti-misoperation locking of 10 kV power complete equipment is composed of a metering cabinet and a power receiving cabinet, and is characterized in that a mechanical linkage lock is installed between the metering cabinet door and the isolating switch of the power receiving cabinet , the operating mechanism of the isolating switch of the power receiving cabinet cooperates with the lower door of the metering cabinet through a mechanical linkage lock; a micro switch is installed inside the door of the metering cabinet, and the power signal of the micro switch is connected to the voltage transformer in the power receiving cabinet. It is electromagnetically connected with the sound and light alarm device installed above the incoming cabinet of the power receiving cabinet.
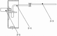
所述的机械联动锁由操作面板、隔离操作孔、连杆、联锁锁杆、操作孔挡板机构、门缓冲顶板、联动拐臂、复位弹簧、旋转轴组成;其中操作面板固定在受电柜的柜门上,操作面板上开有隔离操作孔,门缓冲顶板固定在计量柜上与联动拐臂下端配合,联动拐臂上端与联锁锁杆链接,连杆固定在联锁锁杆上,联锁锁杆顶在设置于隔离操作孔中的操作孔挡板机构上;联锁锁杆上设有弹簧,旋转轴与联锁锁杆连接并固定在受电柜上。 The mechanical linkage lock is composed of an operation panel, an isolation operation hole, a connecting rod, an interlock lock lever, an operation hole baffle mechanism, a door buffer top plate, a linkage crank arm, a return spring, and a rotating shaft; There is an isolation operation hole on the cabinet door and the operation panel. The door buffer top plate is fixed on the metering cabinet to cooperate with the lower end of the linkage crank arm. The upper end of the linkage crank arm is linked with the interlock lock lever. The interlocking locking rod is supported on the operation hole baffle mechanism arranged in the isolation operation hole; the interlocking locking rod is provided with a spring, and the rotating shaft is connected with the interlocking locking rod and fixed on the receiving cabinet.
本发明的积极效果是;保证现场作业人身安全,实现电能计量现场工作本质安全的目标,有效避免人身触电伤亡事故。 The positive effect of the invention is to ensure the personal safety of on-site operation, realize the goal of intrinsic safety of electric energy metering on-site work, and effectively avoid personal electric shock casualty accidents.
附图说明 Description of drawings
图1为本发明的结构示意图。 Fig. 1 is a structural schematic diagram of the present invention.
图2为本发明的机械联动锁结构图。 Fig. 2 is a structural diagram of the mechanical linkage lock of the present invention.
图3为本发明的操作面板局部结构图。 Fig. 3 is a partial structural diagram of the operation panel of the present invention.
图4为本发明的操作孔挡板机构局部结构图。 Fig. 4 is a partial structural diagram of the operating hole baffle mechanism of the present invention.
具体实施方式 Detailed ways
下面结合附图对本发明做进一步的描述:如图1所示,10千伏电力成套设备的防误闭锁,由计量柜和受电柜组成,其特征在于:在计量柜门1与受电柜2隔离开关之间安装机械联动锁3,受电柜2隔离开关的操作机构通过机械联动锁3与计量柜下门配合;计量柜门1内侧安装一个微动开关,微动开关的电源信号与受电柜2内的电压互感器连接,微动开关与安装在受电柜2的进线柜上方的声光报警装置以电磁方式相连。
The present invention will be further described below in conjunction with the accompanying drawings: As shown in Figure 1, the anti-misoperation locking of 10 kV power complete equipment is composed of a metering cabinet and a power receiving cabinet, and is characterized in that: the
如图2、3、4所示,所述的机械联动锁3由操作面板3-1、隔离操作孔3-2、连杆3-3、联锁锁杆3-4、操作孔挡板机构3-5、门缓冲顶板3-6、联动拐臂3-7、复位弹簧3-8、旋转轴3-9组成;其中操作面板3-1固定在受电柜2的柜门上,操作面板3-1上开有隔离操作孔3-2,门缓冲顶板3-6固定在计量柜1上与联动拐臂3-7下端配合,联动拐臂3-7上端与联锁锁杆链接,连杆3-3固定在联锁锁杆3-4上,联锁锁杆3-4顶在设置于隔离操作孔3-2中的操作孔挡板机构3-5上;联锁锁杆3-4上设有弹簧3-10,旋转轴3-9与联锁锁杆3-4连接并固定在受电柜2上。
As shown in Figures 2, 3, and 4, the
计量柜1开门时,门缓冲顶板3-6推动联锁拐臂3-4,联动拐臂3-4逆时针旋转。联动拐臂3-7上端与联锁锁杆3-4链接,由于门关闭动作,联动拐臂3-7旋转,复位弹簧3-8起作用,使联锁锁杆3-4顺时针旋转,此时联锁锁杆3-4将操作孔挡板机构3-5解锁,操作孔挡板机构3-5从隔离操作孔3-2被打开,此时可以操作隔离开关。反之,门开启,操作孔挡板机构3-5被锁闭,不能对隔离开关进行操作。总之,只有计量柜1在关闭的状态才可以操作隔离开关,确保操作人员的安全。
When the
其工作过程如下: Its working process is as follows:
1.受电柜隔离开关与计量柜门机械联动锁。 1. The isolating switch of the power receiving cabinet is mechanically interlocked with the door of the metering cabinet.
隔离开关在合闸位置时,计量柜1下门不能打开;隔离开关在分闸位置时,计量柜1下门可以打开。受电柜2隔离开关与计量柜1门具体联锁方式如下:
When the isolating switch is in the closing position, the lower door of
当计量柜1下门处于打开状态时,联锁锁杆3-4复位,计量柜1门通过联锁锁杆3-4锁住受电柜隔离开关的隔离操作孔3-2,此时不能对受电柜隔离开关进行操作。
When the lower door of the
当计量柜1下门处于关闭状态时,受电柜2隔离开关的隔离操作孔3-2被联锁锁杆3-4打开,此时可以对隔离开关进行操作。
When the lower door of the
当受电柜2隔离开关处于闭合状态时(此时计量柜为带电间隔),联锁锁杆3-41被压下,锁住计量柜门,使计量柜1门无法打开,防止操作人员误入带电间隔;当受电柜隔离开关处于分开状态时,计量柜1门可以打开。
When the isolating switch of the
2.电磁防误报警功能。 2. Electromagnetic anti-misalarm function.
为保证电能计量现场作业人员的人身安全,在设置计量柜门与受电柜隔离开关机械联动锁3的基础上,又增设了另一层防护——电磁闭锁,即在计量柜门内侧安装一个微动开关(其电源信号取自受电柜内的电压互感器),与安装于进线柜上方的声光报警装置以电磁方式相连,在受电柜及计量柜带电情况下,不考虑计量柜的机械联锁作用,如果试图打开计量柜柜门的话,微动开关将启动声光报警系统,提醒操作人员设备带电,避免误入带电间隔。
In order to ensure the personal safety of the on-site operators of electric energy measurement, on the basis of setting the
Claims (2)
Priority Applications (1)
| Application Number | Priority Date | Filing Date | Title |
|---|---|---|---|
| CN201310402195.8A CN103474876B (en) | 2013-09-06 | 2013-09-06 | 10 kilovolts of electric power complete set of equipments anti-misoperation lockings |
Applications Claiming Priority (1)
| Application Number | Priority Date | Filing Date | Title |
|---|---|---|---|
| CN201310402195.8A CN103474876B (en) | 2013-09-06 | 2013-09-06 | 10 kilovolts of electric power complete set of equipments anti-misoperation lockings |
Publications (2)
| Publication Number | Publication Date |
|---|---|
| CN103474876A true CN103474876A (en) | 2013-12-25 |
| CN103474876B CN103474876B (en) | 2015-12-09 |
Family
ID=49799622
Family Applications (1)
| Application Number | Title | Priority Date | Filing Date |
|---|---|---|---|
| CN201310402195.8A Active CN103474876B (en) | 2013-09-06 | 2013-09-06 | 10 kilovolts of electric power complete set of equipments anti-misoperation lockings |
Country Status (1)
| Country | Link |
|---|---|
| CN (1) | CN103474876B (en) |
Cited By (2)
| Publication number | Priority date | Publication date | Assignee | Title |
|---|---|---|---|---|
| CN112448305A (en) * | 2019-09-03 | 2021-03-05 | 新乡华源电力集团有限公司 | Outdoor landing high-voltage demarcation electric energy metering box with mechanical interlock |
| CN113990688A (en) * | 2021-10-28 | 2022-01-28 | 许昌许继软件技术有限公司 | Cabinet door interlocking device for switch equipment and switch equipment |
Citations (5)
| Publication number | Priority date | Publication date | Assignee | Title |
|---|---|---|---|---|
| JP2000032619A (en) * | 1998-07-10 | 2000-01-28 | Yaskawa Electric Corp | Switchboard interlock device |
| CN101162655A (en) * | 2007-08-31 | 2008-04-16 | 常熟市森原电器厂 | Mechanical interlock mechanism of high-voltage segregate switch with vacuum contactor and high-pressure chamber cabinet door |
| CN201315261Y (en) * | 2008-11-27 | 2009-09-23 | 常州市明及电气技术开发有限公司 | Isolation switch and cabinet door interlocking mechanism |
| CN201535941U (en) * | 2009-09-22 | 2010-07-28 | 上海梅山钢铁股份有限公司 | Automatic anti-misoperation alarm device of high voltage switch cabinet |
| CN203481627U (en) * | 2013-09-06 | 2014-03-12 | 吉林省电力有限公司长春供电公司 | 10KV electric power complete equipment misoperation-preventive lock |
-
2013
- 2013-09-06 CN CN201310402195.8A patent/CN103474876B/en active Active
Patent Citations (5)
| Publication number | Priority date | Publication date | Assignee | Title |
|---|---|---|---|---|
| JP2000032619A (en) * | 1998-07-10 | 2000-01-28 | Yaskawa Electric Corp | Switchboard interlock device |
| CN101162655A (en) * | 2007-08-31 | 2008-04-16 | 常熟市森原电器厂 | Mechanical interlock mechanism of high-voltage segregate switch with vacuum contactor and high-pressure chamber cabinet door |
| CN201315261Y (en) * | 2008-11-27 | 2009-09-23 | 常州市明及电气技术开发有限公司 | Isolation switch and cabinet door interlocking mechanism |
| CN201535941U (en) * | 2009-09-22 | 2010-07-28 | 上海梅山钢铁股份有限公司 | Automatic anti-misoperation alarm device of high voltage switch cabinet |
| CN203481627U (en) * | 2013-09-06 | 2014-03-12 | 吉林省电力有限公司长春供电公司 | 10KV electric power complete equipment misoperation-preventive lock |
Cited By (3)
| Publication number | Priority date | Publication date | Assignee | Title |
|---|---|---|---|---|
| CN112448305A (en) * | 2019-09-03 | 2021-03-05 | 新乡华源电力集团有限公司 | Outdoor landing high-voltage demarcation electric energy metering box with mechanical interlock |
| CN113990688A (en) * | 2021-10-28 | 2022-01-28 | 许昌许继软件技术有限公司 | Cabinet door interlocking device for switch equipment and switch equipment |
| CN113990688B (en) * | 2021-10-28 | 2024-04-12 | 许昌许继软件技术有限公司 | Cabinet door interlocking device for switch equipment and switch equipment |
Also Published As
| Publication number | Publication date |
|---|---|
| CN103474876B (en) | 2015-12-09 |
Similar Documents
| Publication | Publication Date | Title |
|---|---|---|
| CN203481627U (en) | 10KV electric power complete equipment misoperation-preventive lock | |
| CN103904578B (en) | For high-tension switch cabinet nuclear phase, busbar grounding function solid type handcart | |
| CN103474876B (en) | 10 kilovolts of electric power complete set of equipments anti-misoperation lockings | |
| DE102014107258A1 (en) | Switching device for electrical circuits | |
| CN104078254A (en) | Safety locking device of 10 kV ring main unit and locking control system | |
| CN203481095U (en) | 10KV high voltage electric energy measuring cabinet mis-opening prevention locking device | |
| CN205583492U (en) | Cubical switchboard handcart handle hole keeper type anti -misoperation device | |
| CN108649478A (en) | 10kV Intelligent switch cabinet anti-misoperation apparatus | |
| CN201838930U (en) | 10-35kV Z-shaped locking device of isolating baffle of handcart type switch cabinet | |
| CN201742014U (en) | 10-35 kV handcart-type switchgear isolation baffle plate combined locking device | |
| CN202872239U (en) | Additionally-mounted latching lock of high-pressure cabinet | |
| CN203983124U (en) | The operating mechanism of the box fixing high-tension switch cabinet of miniaturization | |
| CN206554650U (en) | High voltage power distributing cabinet smart locking device | |
| CN202930271U (en) | Switch cabinet earthing knife-switch blocking device | |
| CN206301706U (en) | Interlocking devices for disconnectors and earthing switches for high-voltage circuit-breaker cabinets | |
| CN204030306U (en) | A kind of high-voltage ring main unit of electromagnetic lock concealed installation | |
| CN205845821U (en) | A panel interlocking device for combined electrical appliances | |
| CN105186310B (en) | The mechanical interlocks of outdoor compact type intelligent substation high-tension switch cabinet | |
| CN206023023U (en) | There is the high-voltage central-positioned switch cubicle of pressure relief device | |
| CN210897111U (en) | A three-position position interlocking device | |
| CN203787835U (en) | One-piece handcart used for phasing and bus grounding of high tension switchgear | |
| CN211182079U (en) | Electric shock prevention vacuum switch isolation lock catch and poking sheet type pressing plate temporary locking accessory | |
| CN105185619A (en) | Column switch opening and closing blocking device | |
| CN103474269A (en) | 10KV high voltage electric energy measuring cabinet mis-opening prevention locking device | |
| CN201887363U (en) | Accidental opening preventative locking device for handcart type switch cabinet |
Legal Events
| Date | Code | Title | Description |
|---|---|---|---|
| C06 | Publication | ||
| PB01 | Publication | ||
| C10 | Entry into substantive examination | ||
| SE01 | Entry into force of request for substantive examination | ||
| C14 | Grant of patent or utility model | ||
| GR01 | Patent grant |


