CN103445838A - 长骨骨折复位器 - Google Patents
长骨骨折复位器 Download PDFInfo
- Publication number
- CN103445838A CN103445838A CN2013104007768A CN201310400776A CN103445838A CN 103445838 A CN103445838 A CN 103445838A CN 2013104007768 A CN2013104007768 A CN 2013104007768A CN 201310400776 A CN201310400776 A CN 201310400776A CN 103445838 A CN103445838 A CN 103445838A
- Authority
- CN
- China
- Prior art keywords
- bar cover
- cover
- fracture
- hole
- bone fracture
- Prior art date
- Legal status (The legal status is an assumption and is not a legal conclusion. Google has not performed a legal analysis and makes no representation as to the accuracy of the status listed.)
- Granted
Links
- 208000010392 Bone Fractures Diseases 0.000 title claims abstract description 102
- 229910000831 Steel Inorganic materials 0.000 claims abstract description 24
- 239000010959 steel Substances 0.000 claims abstract description 24
- 241000628997 Flos Species 0.000 claims description 11
- 230000036244 malformation Effects 0.000 abstract description 9
- 206010017076 Fracture Diseases 0.000 description 79
- 230000009467 reduction Effects 0.000 description 46
- 210000000988 bone and bone Anatomy 0.000 description 40
- 230000006870 function Effects 0.000 description 24
- 230000007246 mechanism Effects 0.000 description 15
- 238000000034 method Methods 0.000 description 15
- 238000011282 treatment Methods 0.000 description 12
- 238000012937 correction Methods 0.000 description 9
- 210000000689 upper leg Anatomy 0.000 description 9
- 210000002303 tibia Anatomy 0.000 description 8
- 230000000694 effects Effects 0.000 description 7
- 210000003414 extremity Anatomy 0.000 description 7
- 210000004872 soft tissue Anatomy 0.000 description 7
- 208000027418 Wounds and injury Diseases 0.000 description 6
- 210000004369 blood Anatomy 0.000 description 6
- 239000008280 blood Substances 0.000 description 6
- 238000010586 diagram Methods 0.000 description 5
- 238000002560 therapeutic procedure Methods 0.000 description 5
- 206010010149 Complicated fracture Diseases 0.000 description 4
- 208000006735 Periostitis Diseases 0.000 description 4
- 230000006378 damage Effects 0.000 description 4
- 210000003460 periosteum Anatomy 0.000 description 4
- 230000008569 process Effects 0.000 description 4
- 238000012545 processing Methods 0.000 description 4
- 238000009940 knitting Methods 0.000 description 3
- 239000000463 material Substances 0.000 description 3
- 210000003205 muscle Anatomy 0.000 description 3
- 238000003825 pressing Methods 0.000 description 3
- 230000001105 regulatory effect Effects 0.000 description 3
- 229910000838 Al alloy Inorganic materials 0.000 description 2
- OKTJSMMVPCPJKN-UHFFFAOYSA-N Carbon Chemical compound [C] OKTJSMMVPCPJKN-UHFFFAOYSA-N 0.000 description 2
- 229910000737 Duralumin Inorganic materials 0.000 description 2
- 229910001069 Ti alloy Inorganic materials 0.000 description 2
- 230000009286 beneficial effect Effects 0.000 description 2
- 210000004204 blood vessel Anatomy 0.000 description 2
- 230000004221 bone function Effects 0.000 description 2
- 210000000481 breast Anatomy 0.000 description 2
- 229910052799 carbon Inorganic materials 0.000 description 2
- 230000001276 controlling effect Effects 0.000 description 2
- 238000006073 displacement reaction Methods 0.000 description 2
- 239000000835 fiber Substances 0.000 description 2
- 238000002594 fluoroscopy Methods 0.000 description 2
- 239000012634 fragment Substances 0.000 description 2
- 230000035876 healing Effects 0.000 description 2
- 230000006872 improvement Effects 0.000 description 2
- 208000014674 injury Diseases 0.000 description 2
- 238000004519 manufacturing process Methods 0.000 description 2
- 208000024779 Comminuted Fractures Diseases 0.000 description 1
- 238000010521 absorption reaction Methods 0.000 description 1
- 230000031016 anaphase Effects 0.000 description 1
- 210000003423 ankle Anatomy 0.000 description 1
- 238000013459 approach Methods 0.000 description 1
- 230000008901 benefit Effects 0.000 description 1
- 230000005540 biological transmission Effects 0.000 description 1
- 230000008468 bone growth Effects 0.000 description 1
- 238000013016 damping Methods 0.000 description 1
- 230000000994 depressogenic effect Effects 0.000 description 1
- 238000005516 engineering process Methods 0.000 description 1
- 230000007613 environmental effect Effects 0.000 description 1
- 230000012010 growth Effects 0.000 description 1
- 230000030214 innervation Effects 0.000 description 1
- 238000003754 machining Methods 0.000 description 1
- 238000002324 minimally invasive surgery Methods 0.000 description 1
- 230000003387 muscular Effects 0.000 description 1
- 210000005036 nerve Anatomy 0.000 description 1
- 238000006396 nitration reaction Methods 0.000 description 1
- 238000005457 optimization Methods 0.000 description 1
- 230000000399 orthopedic effect Effects 0.000 description 1
- 230000002980 postoperative effect Effects 0.000 description 1
- 230000009711 regulatory function Effects 0.000 description 1
- 238000005096 rolling process Methods 0.000 description 1
- 108010048734 sclerotin Proteins 0.000 description 1
- 238000010008 shearing Methods 0.000 description 1
- 230000004938 stress stimulation Effects 0.000 description 1
- 238000001356 surgical procedure Methods 0.000 description 1
- 230000001225 therapeutic effect Effects 0.000 description 1
- 210000001694 thigh bone Anatomy 0.000 description 1
- 238000012549 training Methods 0.000 description 1
Images
Landscapes
- Surgical Instruments (AREA)
Abstract
一种长骨骨折复位器,包括近端支架、远端支架、连接在近端支架与远端支架之间的快速牵伸延长杆、连接在近端支架和远端支架上的钢针固定夹、以及夹在钢针固定夹中的钢针,所述近端支架和远端支架的结构相同,均包括一个横向的槽式复位滑板和两个连接在槽式复位滑板上的固定滑动洞孔板,所述槽式复位滑板的其中一面设有横向的导向滑槽,导向滑槽的槽底与槽式复位滑板的另一面之间又设有横向的导向长孔,所述固定滑动洞孔板上设有连接钢针固定夹用的洞孔,固定滑动洞孔板上还设有与导向滑槽相配合的可沿导向滑槽滑动的定位凸块。本发明结构简单,强化了微创意识,提高了复位的优良率,可最大程度地满足骨折复位和各种畸形矫正的要求。
Description
技术领域
本发明涉及一种骨折复位器,特别是一种针对长骨骨折复位用的骨折复位器。
背景技术
骨折复位是骨外固定治疗骨折的基本操作。随着器械的改进和技术理念的完善,骨折复位器的各种调节功能和操作程序有了新的进展,不仅方便了操作,还最大程度地满足了骨折复位和各种畸形矫正的要求。有的器械增加了骨折整复和畸形矫正功能;有的改进了操作程序,如将整复、矫形功能分步实施等。但是,整复功能再完善的骨外固定器,也只是一种辅助工具,多数情况下还要依靠医生的智慧及灵巧的手术来完成真正意义上的骨折复位和畸形矫正等操作程序。
骨折复位器的骨折复位操作要求和复位方法如下:1、微创操作,骨折复位必须要树立微创意识,在争取复位满意的同时,最大限度避免骨折局部软组织和血运的再度损伤,并保护骨折碎片和骨膜、软组织之间的附着。小切口复位的操作也要细心,避免损伤更多的骨膜、血管或肌肉,不要进行过多剥离,要符合复位满意与保护血供一致性的原则。对于严重粉碎性骨折或复杂畸形,进行勉强的闭合复位,不但不会减少创伤,还可能增加创伤。因为钢针已经将骨与软组织固定,再强行操作,钢针必然会撕裂或压迫软组织,同时也会给复位带来困难,造成更大的创伤。2.复位方法。首先在骨折远近端各穿一枚全针,固定在专用的骨折复位器上,然后根据牵引复位原理使骨折复位。经透视确认复位满意后,再用骨折复位器进行固定。器械牵引复位固定的分步操作方法,更加符合骨折复位原理、骨折治疗原理、微创意识和优化构型等要求。
使用骨折复位器来治疗骨折是值得提倡的复位方法,具体操作步骤为:①首先在骨折远近端各穿一枚钢针,并固定在骨折复位器上,然后调节骨折复位器使骨折复位;②基本复位后,在 X 线透视下将骨折复位调整至满意;③骨折复位满意后,再应用外固定器进行固定。
骨折复位是骨折愈合的物质基础,也是骨外固定治疗骨折的基本操作,复位与固定具有同等重要意义,同时它还是骨折治疗首先面对的临床问题。传统的钢板复位方法复位后,存在骨折处形成力的集中点问题,首先要对抗肌力的牵拉,使两端的轴线复位,保持站立时,骨受的载荷力不能完全够通过骨的轴线传递,而是在骨折处通过螺钉传递到钢板上,来完成力的传递,这就使骨折处的受力轴线偏心,骨折处增加了剪切力,也成为了力的最大承受点,行走时,胫骨或股骨受到变载荷作用,当脚跟着地的瞬间,在地面支撑力的作用下,肌肉被拉张最大程度,使骨折处的应力达一个极限峰值,难以实现最佳的骨折复位与固定。
对于骨折的骨外固定技术的骨外固定操作环节,关键在于如何维持骨折的复位和方便骨折外固定的后续操作,对于这一要求,即是在切开复位内固定的操作同样显得重要,特别是粉碎性骨折。因此,如何使长骨骨折复位与固定的操作保持连续性、稳定、轻松和自如,不仅对手术者是一件幸事,对减少因骨折复位带来的血供伤害也具有实际意义。但就目前的骨外固定器来说,实现这一目标尚有欠缺之处,即使是Tale外固定器也是如此。
发明内容
本发明的目的是提供一种长骨骨折复位器,要解决传统的长骨骨折复位器操作不方便、难以实现最佳的骨折复位与固定的技术问题。
为实现上述目的,本发明采用如下技术方案:一种长骨骨折复位器,包括近端支架、远端支架、连接在近端支架与远端支架之间的快速牵伸延长杆、连接在近端支架和远端支架上的钢针固定夹、以及夹在钢针固定夹中的钢针,其特征在于:所述近端支架和远端支架的结构相同,均包括一个横向的槽式复位滑板和两个连接在槽式复位滑板上的固定滑动洞孔板。所述槽式复位滑板的其中一面设有横向的导向滑槽,导向滑槽的槽底与槽式复位滑板的另一面之间又设有横向的导向长孔。所述固定滑动洞孔板上设有连接钢针固定夹用的洞孔,固定滑动洞孔板上还设有与导向滑槽相配合的可沿导向滑槽滑动的定位凸块,定位凸块上开有螺纹孔,有螺栓通过导向长孔和螺纹孔、将固定滑动洞孔板与槽式复位滑板连接在一起。
所述快速牵伸延长杆的一端可固定连接在近端支架上的固定滑动洞孔板上,快速牵伸延长杆的另一端可通过具有铰接和锁紧功能的关节器铰接连接在远端支架上的固定滑动洞孔板上。
所述定位凸块可卡在导向滑槽中。
所述导向滑槽可为楔形凹槽,所述定位凸块为楔形凸块。
所述螺栓可为梅花螺栓,并且梅花螺栓上套有法兰垫片。
所述快速牵伸延长杆可包括有螺纹杆、内杆套和外杆套,所述螺纹杆由上至下插入在内杆套中,所述内杆套由上至下插入在外杆套中,所述外杆套的下端设有与洞孔环连接用的螺纹连接件。
所述内杆套的上端设有外翻边,并且内杆套的上端部与螺纹杆之间设置有压力控制器,所述压力控制器由调整套、压力控制套和压缩弹簧组成,所述调整套的上端部与螺纹杆螺纹连接,调整套的下端部与压力控制套螺纹连接,所述压力控制套活动套设于外翻边下侧的内杆套上,所述压缩弹簧套在调整套的上端部与内杆套的外翻边之间的螺纹杆上。
所述外杆套的上端部内侧壁上设有锥形敞口,外杆套的上端部外侧壁上设有外螺纹段,并且外杆套的上端部与内杆套之间设置有锁紧接头,所述锁紧接头由锥形弹性圈和锁紧螺母组成,所述锁紧螺母通过外螺纹段螺纹连接在外杆套的上端部,所述锥形弹性圈插在锥形敞口中、夹在内杆套与外杆套之间,并且锥形弹性圈的上端部卡固在锁紧螺母的上端部上。
所述内杆套的下端部外侧壁与外杆套的内侧壁之间可设有杆套垫片。
所述杆套垫片的内侧面上可设有连接头,所述内杆套上设有与连接头对应的定位孔,杆套垫片通过连接头和定位孔相对固定在内杆套上。
所述近端支架上的固定滑动洞孔板上可连接有一至两根管状连接杆,管状连接杆上也连接有钢针固定夹。
所述管状连接杆可通过管状杆连接件连接在固定滑动洞孔板上;所述管状杆连接件包括管状杆连接件下夹和管状杆连接件上夹,并且管状杆连接件下夹与管状杆连接件上夹之间设有管状连接杆槽。所述管状杆连接件下夹上设有连接器下夹内螺孔,管状杆连接件上夹上设有连接器上夹洞孔。所述管状杆连接件下夹上还设有连接柄,连接柄上设有与固定滑动洞孔板上的洞孔相配合使用的连接柄内螺孔。
与现有技术相比本发明具有以下特点和有益效果:本发明结构简单,构型合理,操作十分方便,满足了骨折复位和各种畸形矫正的要求。
本发明的主要功能是为复杂骨折上架子提供复位功能,在股骨复位方面,使用传统的单侧双杆机构和c型四杆弹性机构一般不容易连接使用,而本发明首先固定了股骨的远近端,为单侧双杆机构提供安装了准确位置,为下一步安装c型四杆弹性机构提供了依据,对于胫骨复杂骨折起到了首先固定胫骨远近端,矫正复杂骨折使其复位,为下一步安装固定架起到了辅助作用。
本发明可与传统的单侧双杆机构和c型四杆弹性机构相配合, 增加了骨折整复和畸形矫正功能,改进了操作程序,不仅方便了操作,还将骨折骨复位和整复、矫形功能分步实施,所以完成真正意义上的骨折复位和外固定畸形矫正等治疗,满足了治疗的需要。
采用本发明进行的骨折复位手术属于微创手术,实现了在微创条件下实施骨折复位手术的目的,在争取复位满意的同时,最大限度避免骨折局部软组织和血运的再度损伤,并保护骨折碎片和骨膜、软组织之间的附着,而不损伤神经、血管、软组织和骨膜,创伤小,恢复快,有利于促进骨重建、愈合,符合复位满意与保护血供一致性的原则。
在治疗过程中,本发明与单侧双杆机构和c型四杆弹性机构的力学系统能有效结合实施,并使骨折的闭合复位或小切口的复位与固定成为现实,极大地方便了操作,强化了微创意识,提高了复位的优良率,不仅使复位手术的准确率在安全性和准确性方面取得了实质性的突破,而且也提高了畸形矫正、外固定等治疗的优良率,可最大程度地满足骨折复位和各种畸形矫正的要求。
本发明适用范围广,尤其适用于胫骨骨折的复位治疗和股骨骨折复位治疗,构型简便,组装方便,通用性好。
本发明复位定位准确,槽式复位滑板上有标尺,便于定位,既可精准确快速的将术骨复位,又可直观而准确地确定单侧双杆机构和c型四杆弹性机构的规格,有利于使用单侧双杆机构和c型四杆弹性机构对肢体进行后续治疗。
本发明解决了现有的因复杂骨折复位技术不完善带来的血供伤害的技术问题,在治疗长骨骨折时,不仅满足了骨折复位的力学要求和骨折愈合力学的环境要求,还符合骨折复位器优化构型的原则。
本发明利用快速牵伸延长杆进行牵伸复位,可完全恢复肢体长度,可矫正重叠、旋转、位移等畸形,直至骨折复位满意,实现了骨折复位手术快速与安全的统一;当骨折复位满意后,即可锁紧具有铰接和锁紧功能的关节器,维持和稳定骨折复位,然后再进行治疗。
本发明中的快速牵伸延长杆具有快速伸缩、缓慢延长和动态弹性牵伸加压三种功能,具有调整操作方便、构型优化、实用、灵巧的特点,更重要地是,在治疗的全过程中,即早、中、后期的不同固定阶段,在保持骨外固定器的全部功能的前提下,可分别满足早期坚强固定、中期弹性固定、后期平衡固定阶段骨的治疗要求,促进新骨生长,骨质矿化,实现骨功能的优化重建和积极康复治疗,实现完全愈合,同时方便术后管理、方便测量。
与传统的延长杆(申请公布号为CN102860861A的中国专利申请)相比,本发明中的快速牵伸延长杆更好用,具体如下:
1、传统的延长杆采用的是二段杆的结构,存在伸缩度小的问题,而本发明中的快速牵伸延长杆采用了三段杆的结构,所以拉伸长度比传统的延长杆增长了很多(伸缩长度更大),可达到160mm~350mm,调整范围更广,对足踝矫形有很大的优势,避免了传统的延长杆的长度有限的弊端。
2、传统的延长杆在锁紧套上提收缩锁紧爪时、容易使锁紧爪内的螺纹扣住螺纹杆、使螺纹杆与杆套锁紧,同时,传统的延长杆通过锁紧爪锁紧后,螺纹杆与杆套之间的配合间隙会导致延长杆出现轻微的晃动感。本发明中的快速牵伸延长杆取消了锁紧爪,所以避免了螺纹杆和锁紧爪伸缩时会出现卡死的问题,同时,本发明中的快速牵伸延长杆设计了外杆套和内杆套无间隙配合自由滑动,并通过锁紧接头来控制外杆套和内杆套的滑动,以此实现快速大幅度的长度调整,由于内杆套和外杆套之间是无间隙配合的自由滑动,所以锁紧后无晃动。
3、避免了传统的延长杆使用不方便的问题。传统的延长杆上的刚度控制器是单独放置的,其顶住锁紧爪时,才能实现刚度控制,使用时调整复杂浪费时间,如果不需要刚度控制器时,还得将其卸下,所以使用不同构型时,还得多加考虑;而本发明采用了将刚度控制器内置的原理,改称为压力控制器,通过旋转压力控制器中的压力控制套,可以调整本发明对术骨的压力,通过整体旋转压力控制器中的调整套,可以使螺纹杆与内杆套之间实现伸缩微调,所以既提高了调整速度,又保证了调整的精确度,如果不需要刚度控制时,可以直接将压力控制套旋转至调整套的最深处,将压缩弹簧压至最短(压缩弹簧处无弹力状态),此时压力控制器不起作用,但锁紧固定作用不变。
4、传统的延长杆在加工锁紧爪时,加工难度大,产品成品率低,生产成本高,成为影响产品推广的瓶颈,而本发明中的快速牵伸延长杆取消了锁紧爪,降低了加工难度和生产成本,提高了加工效率,避免了加工锁紧爪所带来的问题。
5、传统的骨外固定器全部采用不锈钢,在治疗过程中会影响X光透视,而本发明中除了螺纹杆之外均可采用轻质硬铝合金、钛合金或碳纤维材料,所以扩大了X光透视范围,增加了骨外固定器的透视率,便于对治疗效果进行精确评估,也更有利于准确地诊断骨折的状况,此外还明显地减少了骨外固定器的重量,便于功能训练。
附图说明
下面结合附图对本发明做进一步详细的说明。
图1是本发明实施例一的使用状态立体示意图。
图2是本发明实施例一的分解示意图。
图3是固定滑动洞孔板与槽式复位滑板连接的分解示意图。
图4是快速牵伸延长杆的主视示意图。
图5是快速牵伸延长杆的分解示意图。
图6是快速牵伸延长杆的组装示意图。
图7是锁紧接头和外杆套的上端部外侧壁上的外螺纹段的示意图。
图8是快速牵伸延长杆的结构示意图。
图9是图8中Ⅰ处的放大示意图。
图10是图8中Ⅱ处的放大示意图。
图11是本发明实施例二的立体示意图。
图12是管状杆连接件的立体示意图。
图13是管状杆连接件的分解示意图。
图14是本发明实施例一与c型四杆弹性机构配合使用的立体示意图。
附图标记:1-近端支架、2-远端支架、3-快速牵伸延长杆、3.1-螺纹杆、3.2-内杆套、3.3-外杆套、3.4-调整套、3.5-压缩弹簧、3.6-压力控制套、3.7-锥形敞口、3.8-锥形弹性圈、3.9-外螺纹段、3.10-锁紧螺母、3.11-杆套垫片、3.12-螺纹连接件、3.13-外翻边、3.14-连接头、3.15-定位孔、4-具有铰接和锁紧功能的关节器、5-固定滑动洞孔板、5.1-定位凸块、5.2-螺纹孔、5.3-洞孔、6-槽式复位滑板、6.1-导向滑槽、6.2-导向长孔、7-螺栓、8-法兰垫片、9-管状杆连接件、9.1-管状杆连接件下夹、9.2-管状杆连接件上夹、9.3-管状连接杆槽、9.4-连接器下夹内螺孔、9.5-连接器上夹洞孔、9.6-连接柄、9.7-连接柄内螺孔、10-管状连接杆、11-c型四杆弹性机构。
具体实施方式
实施例一参见图1-3所示,这种长骨骨折复位器,包括近端支架1、远端支架2、连接在近端支架1与远端支架2之间的快速牵伸延长杆3、连接在近端支架1和远端支架2上的钢针固定夹、以及夹在钢针固定夹中的钢针。
所述近端支架1和远端支架2的结构相同,均包括一个横向的槽式复位滑板6和两个连接在槽式复位滑板6上的固定滑动洞孔板5。
所述近端支架1 又叫近端U形弓,所述远端支架1 又叫远端U形弓。
所述槽式复位滑板6的其中一面设有横向的导向滑槽6.1,导向滑槽6.1的槽底与槽式复位滑板6的另一面之间又设有横向的导向长孔6.2。槽式复位滑板上可以有定位调整刻度标尺,刻度标尺的长度为100mm~150mm,当然,槽式复位滑板上也可以不带标尺。
所述固定滑动洞孔板5上设有连接钢针固定夹用的洞孔5.3(固定洞孔板上并列有1排以上洞孔,洞孔直径为1.0~4.0mm),固定滑动洞孔板5上还设有与导向滑槽6.1相配合的可沿导向滑槽滑动的定位凸块5.1,定位凸块5.1上开有螺纹孔5.2,有螺栓7通过导向长孔6.2和螺纹孔5.2、将固定滑动洞孔板5与槽式复位滑板6连接在一起。本实施例中,螺栓7为梅花螺栓,并且梅花螺栓上套有法兰垫片8。
所述固定滑动洞孔板5可在槽式复位滑板6上滑动,根据复位治疗的需要,比照槽式复位滑板6上的标尺确定固定位置,确定位置后,用螺栓7拧紧固定。
本实施例中,快速牵伸延长杆3的一端固定连接在近端支架1上的固定滑动洞孔板上,快速牵伸延长杆3的另一端通过具有铰接和锁紧功能的关节器4铰接连接在远端支架2上的固定滑动洞孔板上。具有铰接和锁紧功能的关节器可以是球形万向关节(申请公布号为CN103006302A的中国专利申请)、阻尼关节(申请公布号为CN103006303A的中国专利申请)或具有铰接和锁紧功能的关节器(申请公布号为CN103006301A的中国专利申请)中的任一种或多种的组合。
本实施例中,所述定位凸块5.1卡在导向滑槽6.1中,其中导向滑槽6.1为楔形凹槽,定位凸块5.1为楔形凸块。在其它实施例中,定位凸块5.1和导向滑槽6.1也可以设计成其它形状,比如圆形,T形之类的。
本实施例中,快速牵伸延长杆3采用的是传统的延长杆。
在其它实施例中,快速牵伸延长杆3也可以采用其它的结构形式,比如参见图4-10,快速牵伸延长杆3包括有螺纹杆3.1、内杆套3.2和外杆套3.3,所述螺纹杆3.1由上至下插入在内杆套3.2中,所述内杆套3.2由上至下插入在外杆套3.3中,所述外杆套3.3的下端设有与洞孔环连接用的螺纹连接件3.12。
所述内杆套3.2的上端设有外翻边3.13,并且内杆套3.2的上端部与螺纹杆3.1之间设置有压力控制器,所述压力控制器由调整套3.4、压力控制套3.6和压缩弹簧3.5组成,所述调整套3.4的上端部与螺纹杆3.1螺纹连接,调整套3.4的下端部与压力控制套3.6螺纹连接,所述压力控制套3.6活动套设于外翻边3.13下侧的内杆套3.2上,所述压缩弹簧3.5套在调整套3.4的上端部与内杆套3.2的外翻边3.13之间的螺纹杆3.1上。
所述外杆套3.3的上端部内侧壁上设有锥形敞口3.7,外杆套3.3的上端部外侧壁上设有外螺纹段3.9,并且外杆套3.3的上端部与内杆套3.2之间设置有锁紧接头,所述锁紧接头由锥形弹性圈3.8和锁紧螺母3.10组成,所述锁紧螺母3.10通过外螺纹段3.9螺纹连接在外杆套3.3的上端部,所述锥形弹性圈3.8插在锥形敞口3.7中、夹在内杆套3.2与外杆套3.3之间,并且锥形弹性圈3.8的上端部卡固在锁紧螺母3.10的上端部上。
所述内杆套3.2的下端部外侧壁与外杆套3.3的内侧壁之间设有杆套垫片3.11。杆套垫片3.11的内侧面上设有连接头3.14,所述内杆套3.2上设有与连接头3.14对应的定位孔3.15,杆套垫片3.11通过连接头3.14和定位孔3.15相对固定在内杆套3.2上。
本实施例中,除了螺纹杆之外均可采用轻质硬铝合金、钛合金、碳纤维材料来制作。
所述钢针的布局是根据病患的具体情况设定的。
实施例二参见图11-13,实施例二特别适用于股骨骨折复位,与实施例一不同之处在于,所述近端支架1上的固定滑动洞孔板上还连接有一至两根管状连接杆10,管状连接杆10上也连接有钢针固定夹,连接在管状连接杆10上的钢针固定夹中夹的钢针为螺纹半针。
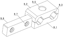
管状连接杆10通过管状杆连接件9连接在固定滑动洞孔板上。管状杆连接件9包括管状杆连接件下夹9.1和管状杆连接件上夹9.2,并且管状杆连接件下夹9.1与管状杆连接件上夹9.2之间设有管状连接杆槽9.3。所述管状杆连接件下夹9.1上设有连接器下夹内螺孔9.4,管状杆连接件上夹9.2上设有连接器上夹洞孔9.5。所述管状杆连接件下夹上还设有连接柄9.6,连接柄9.6上设有与固定滑动洞孔板5上的洞孔5.3相配合使用的连接柄内螺孔9.7。
所述快速牵伸延长杆中的锁紧接头的作用是:使内杆套和外杆套迅速牵伸和锁紧,使内杆套和外杆套在任意位置锁紧。具体来说,就是所述外杆套的上端部内侧壁上设有锥形敞口(即外杆套的上端部内侧壁是轴径由上至下逐渐变小的锥形结构),当拧紧锁紧接头中的锁紧螺母时,锥形敞口可将锥形弹性圈压缩,使锥形弹性圈抱死内杆套,此时内杆套和外杆套锁紧,当旋松锁紧螺母时,锥形弹性圈回复原状,使内杆套相对外杆套自由伸缩。
在早期治疗阶段,在手术复位时,将本发明固定在术骨上时,将快速牵伸延长杆上的锁紧螺母松开,使快速牵伸延长杆处于长度快速可调状态(内杆套与外杆套可相对滑动),同时快速快速牵伸延长杆在各种具有铰接和锁紧功能的关节器的作用下处于自由活动状态,此时的本发明能灵活地进行三维调整,进行牵伸、旋转、加压、复位。当术骨基本复位后,将本发明中的具有铰接和锁紧功能的关节器锁紧,通过旋转压力控制器中的调整套来进行螺纹杆的微伸缩(调整套可控制内杆套与螺纹杆的相对位置),对骨折复位进行微调。当术骨调整复位后,可以将压力控制器中的压力控制套旋转至调整套的最深处,此时压缩弹簧被压缩至最短,压力控制器不起作用(压缩弹簧不起作用),此时快速牵伸延长杆将快速的对术骨进行充分固定,为骨折愈合、新骨矿化提供坚强固定,确保骨愈合初期阶段所要求的坚强固定,避免了由于稳定差造成的错位、成角不准,愈合不良等问题。
在骨愈合的中期时,需要对术骨提供轴向和综合应力刺激的弹性固定,将压力控制套旋转松开,使压缩弹簧处于弹力状态,此时在压力控制器中的压缩弹簧的作用下、快速牵伸延长杆会具有一定的伸缩弹性(螺纹杆与内杆套弹性连接),通过旋转压力控制套、可以调节压缩弹簧的弹力大小,由此实现调整控制快速牵伸延长杆的弹力大小,从而达到控制快速牵伸延长杆对术骨的压力大小的目的,此时,可控制骨外固定器,实施牵伸、加压功能,快速牵伸延长杆上的调整套对断骨的牵伸加压范围0~200帕(单位)。顺时针转动调整套360度,增长1mm,逆时针转动则缩短1mm,这种调控,提供了骨愈合中期阶段的最佳综合应力刺激的弹性固定刚度,充分发挥骨对应力的适应性,可调整骨的生长与吸收,促进骨折愈合的进程,完成骨功能的优化重建。
后期治疗阶段:本发明将提供平衡固定,在保持骨外固定器的功能的前提下,可随机快速减少本发明上的快速牵伸延长杆的数量,这样既保持了本发明的支撑强度,又减轻了骨外固定器的重量,并且方便术后管理,利于积极康复治疗。
使用本发明实施例一进行胫骨骨折复位的步骤及方法如下。
1、本发明的结构与组装:参见图1-3所示,组装一套用于胫骨骨折的本发明实施例一。
2、胫骨骨折复位步骤及方法:①胫骨远近端穿针,如图所示在远近端各穿置1枚全针;②安置本发明实施例一,将胫骨远近端的钢针通过钢针固定夹固定于U形弓上,并实施拉张。本发明与肢体的距离要留出安装骨外固定器的空间;③手法牵引初步复位,在牵伸状态下,放松骨折复位器上的梅花螺栓,用手法使肢体基本复长度和轴线,随即锁紧梅花螺栓;④器械牵伸复位,利用具有铰接和锁紧功能的关节器4和快速牵伸延长杆3进行牵伸复位,完全恢复肢体长度,矫正重叠、旋转、位移等畸形,直至骨折复位满意,即可锁紧具有铰接和锁紧功能的关节器4,以维持骨折复位;⑤安装完毕,确认骨折复位满意后,即可进行安装不同构型的治疗骨折用的骨外固定器的操作,安装好骨外固定器后,即可缷掉本发明实施例一。
使用本发明实施例二进行股骨骨折复位的步骤及方法如下。
1、骨折的复位器的结构与组装:参见图11所示,组装一套用于股骨骨折的本发明实施例二。
2、股骨骨折复位步骤及方法:①穿针,分别在股骨髁上和股骨近端穿针,穿置全针和螺纹半针;②安置本发明实施例二,将股骨远近端的全针通过钢针固定夹固定于U形弓上,对远端的全针实施拉张;本发明实施例二与肢体之间要留足安装骨外固定器的空间;③手法辅助初步复位:在牵伸状态下,放松骨折复位器上的梅花螺栓,用手法使骨折基本复位后,锁紧梅花螺栓;用梅花螺栓将槽式复位滑板6和固定滑动洞孔板5锁紧固定;④器械精确调整,利用具有铰接和锁紧功能的关节器和快速牵伸延长杆的牵伸功能,使骨折复位满意,若有旋转畸形,可放松具有铰接和锁紧功能的关节器,手法矫正旋转畸形后再锁紧;⑤骨折复位满意后,即可进行安装不同构型的治疗骨折用的骨外固定器的操作,安装好骨外固定器后,即可缷掉本发明实施例二。
使用本发明进行长骨骨折复位时,采用的是牵伸复位方法,其具体操作步骤为:①两端为基,根据长骨与肌肉的生物力学特点应用“两点—线”的力学原理,在长骨的两端穿针,以两端作为牵伸的基点(作用力基础),应用本发明的牵伸功能,逐步恢复骨的长度和线位;②中段调控,在肢体长度、旋转畸形和关节角恢复正常后,再在骨干中段穿置半针,在骨折复位满意后进行轴线和断端位置的稳定,并允许术后对残余畸形进行调控。
参见图14,骨折复位满意后,根据不同骨折类型,应用c型四杆弹性机构(或者其它的骨外固定器也行)为骨折提供固定。
Claims (10)
1.一种长骨骨折复位器,包括近端支架(1)、远端支架(2)、连接在近端支架(1)与远端支架(2)之间的快速牵伸延长杆(3)、连接在近端支架(1)和远端支架(2)上的钢针固定夹、以及夹在钢针固定夹中的钢针,其特征在于:
所述近端支架(1)和远端支架(2)的结构相同,均包括一个横向的槽式复位滑板(6)和两个连接在槽式复位滑板(6)上的固定滑动洞孔板(5);
所述槽式复位滑板(6)的其中一面设有横向的导向滑槽(6.1),导向滑槽(6.1)的槽底与槽式复位滑板(6)的另一面之间又设有横向的导向长孔(6.2);
所述固定滑动洞孔板(5)上设有连接钢针固定夹用的洞孔(5.3),固定滑动洞孔板(5)上还设有与导向滑槽(6.1)相配合的可沿导向滑槽滑动的定位凸块(5.1),定位凸块(5.1)上开有螺纹孔(5.2),有螺栓(7)通过导向长孔(6.2)和螺纹孔(5.2)、将固定滑动洞孔板(5)与槽式复位滑板(6)连接在一起。
2.根据权利要求1所述的长骨骨折复位器,其特征在于:所述快速牵伸延长杆(3)的一端固定连接在近端支架(1)上的固定滑动洞孔板上,快速牵伸延长杆(3)的另一端通过具有铰接和锁紧功能的关节器(4)铰接连接在远端支架(2)上的固定滑动洞孔板上。
3.根据权利要求1所述的长骨骨折复位器,其特征在于:所述定位凸块(5.1)卡在导向滑槽(6.1)中。
4.根据权利要求1所述的长骨骨折复位器,其特征在于:所述导向滑槽(6.1)为楔形凹槽,所述定位凸块(5.1)为楔形凸块。
5.根据权利要求1所述的长骨骨折复位器,其特征在于:所述螺栓(7)为梅花螺栓,并且梅花螺栓上套有法兰垫片(8)。
6.根据权利要求1所述的长骨骨折复位器,其特征在于:所述快速牵伸延长杆(3)包括有螺纹杆(3.1)、内杆套(3.2)和外杆套(3.3),所述螺纹杆(3.1)由上至下插入在内杆套(3.2)中,所述内杆套(3.2)由上至下插入在外杆套(3.3)中,所述外杆套(3.3)的下端设有与洞孔环连接用的螺纹连接件(3.12);
所述内杆套(3.2)的上端设有外翻边(3.13),并且内杆套(3.2)的上端部与螺纹杆(3.1)之间设置有压力控制器,所述压力控制器由调整套(3.4)、压力控制套(3.6)和压缩弹簧(3.5)组成,所述调整套(3.4)的上端部与螺纹杆(3.1)螺纹连接,调整套(3.4)的下端部与压力控制套(3.6)螺纹连接,所述压力控制套(3.6)活动套设于外翻边(3.13)下侧的内杆套(3.2)上,所述压缩弹簧(3.5)套在调整套(3.4)的上端部与内杆套(3.2)的外翻边(3.13)之间的螺纹杆(3.1)上;
所述外杆套(3.3)的上端部内侧壁上设有锥形敞口(3.7),外杆套(3.3)的上端部外侧壁上设有外螺纹段(3.9),并且外杆套(3.3)的上端部与内杆套(3.2)之间设置有锁紧接头,所述锁紧接头由锥形弹性圈(3.8)和锁紧螺母(3.10)组成,所述锁紧螺母(3.10)通过外螺纹段(3.9)螺纹连接在外杆套(3.3)的上端部,所述锥形弹性圈(3.8)插在锥形敞口(3.7)中、夹在内杆套(3.2)与外杆套(3.3)之间,并且锥形弹性圈(3.8)的上端部卡固在锁紧螺母(3.10)的上端部上。
7.根据权利要求6所述的长骨骨折复位器,其特征在于:所述内杆套(3.2)的下端部外侧壁与外杆套(3.3)的内侧壁之间设有杆套垫片(3.11)。
8.根据权利要求7所述的长骨骨折复位器,其特征在于:所述杆套垫片(3.11)的内侧面上设有连接头(3.14),所述内杆套(3.2)上设有与连接头(3.14)对应的定位孔(3.15),杆套垫片(3.11)通过连接头(3.14)和定位孔(3.15)相对固定在内杆套(3.2)上。
9.根据权利要求1所述的长骨骨折复位器,其特征在于:所述近端支架(1)上的固定滑动洞孔板上连接有一至两根管状连接杆(10),管状连接杆(10)上也连接有钢针固定夹。
10.根据权利要求9所述的长骨骨折复位器,其特征在于:所述管状连接杆(10)通过管状杆连接件(9)连接在固定滑动洞孔板上;所述管状杆连接件(9)包括管状杆连接件下夹(9.1)和管状杆连接件上夹(9.2),并且管状杆连接件下夹(9.1)与管状杆连接件上夹(9.2)之间设有管状连接杆槽(9.3);
所述管状杆连接件下夹(9.1)上设有连接器下夹内螺孔(9.4),管状杆连接件上夹(9.2)上设有连接器上夹洞孔(9.5);
所述管状杆连接件下夹上还设有连接柄(9.6),连接柄(9.6)上设有与固定滑动洞孔板(5)上的洞孔(5.3)相配合使用的连接柄内螺孔(9.7)。
Priority Applications (1)
| Application Number | Priority Date | Filing Date | Title |
|---|---|---|---|
| CN201310400776.8A CN103445838B (zh) | 2013-09-06 | 2013-09-06 | 长骨骨折复位器 |
Applications Claiming Priority (1)
| Application Number | Priority Date | Filing Date | Title |
|---|---|---|---|
| CN201310400776.8A CN103445838B (zh) | 2013-09-06 | 2013-09-06 | 长骨骨折复位器 |
Publications (2)
| Publication Number | Publication Date |
|---|---|
| CN103445838A true CN103445838A (zh) | 2013-12-18 |
| CN103445838B CN103445838B (zh) | 2015-06-24 |
Family
ID=49728977
Family Applications (1)
| Application Number | Title | Priority Date | Filing Date |
|---|---|---|---|
| CN201310400776.8A Expired - Fee Related CN103445838B (zh) | 2013-09-06 | 2013-09-06 | 长骨骨折复位器 |
Country Status (1)
| Country | Link |
|---|---|
| CN (1) | CN103445838B (zh) |
Cited By (16)
| Publication number | Priority date | Publication date | Assignee | Title |
|---|---|---|---|---|
| CN106725782A (zh) * | 2016-12-24 | 2017-05-31 | 北京工业大学 | 一种折叠式并联骨外固定器 |
| CN106943185A (zh) * | 2017-03-23 | 2017-07-14 | 哈尔滨博斯首创医疗设备有限公司 | 一种可调控肢体整复单元 |
| CN106963463A (zh) * | 2017-04-17 | 2017-07-21 | 董晶龙 | 一种骨科用支吊架及使用方法 |
| CN108354662A (zh) * | 2018-03-27 | 2018-08-03 | 江阴市人民医院 | 骨折复位固定夹持器及应用其的骨折复位固定夹持系统 |
| CN108433795A (zh) * | 2018-04-27 | 2018-08-24 | 孙美义 | 一种前臂外固定支架及外固定支架 |
| CN109199475A (zh) * | 2018-10-13 | 2019-01-15 | 范士洁 | 肢体骨折微创复位系统 |
| CN109199474A (zh) * | 2018-10-13 | 2019-01-15 | 范士洁 | 骨折复位撑开器 |
| WO2019090709A1 (zh) * | 2017-11-10 | 2019-05-16 | 唐佩福 | 骨固定针的锁定装置 |
| WO2019090707A1 (zh) * | 2017-11-10 | 2019-05-16 | 唐佩福 | 骨固定针的锁定装置 |
| CN109758218A (zh) * | 2019-02-11 | 2019-05-17 | 北京工业大学 | 一种防卡死的畸形矫正骨外固定器 |
| CN110693569A (zh) * | 2019-10-25 | 2020-01-17 | 上海市第六人民医院 | 一种含有3d打印导板的股骨截骨置钉夹具及其应用 |
| CN110946640A (zh) * | 2019-12-30 | 2020-04-03 | 朱怀宇 | 一种肱骨拉伸压缩装置 |
| CN111904615A (zh) * | 2020-08-27 | 2020-11-10 | 上海中医药大学附属曙光医院 | 定位导向器 |
| CN112401996A (zh) * | 2020-11-27 | 2021-02-26 | 王伟 | 一种长干骨锁定钢板牵伸外固定器及使用方法 |
| CN113057573A (zh) * | 2021-03-24 | 2021-07-02 | 中南大学湘雅医院 | 一种腹腔镜辅助固定装置 |
| CN114126517A (zh) * | 2019-06-21 | 2022-03-01 | 德克萨斯苏格兰礼仪儿童医院 | 为外固定器提供部件互连的动力搭接器 |
Families Citing this family (1)
| Publication number | Priority date | Publication date | Assignee | Title |
|---|---|---|---|---|
| CN108464857A (zh) * | 2017-12-24 | 2018-08-31 | 于朝用 | 一种股骨牵引器 |
Citations (2)
| Publication number | Priority date | Publication date | Assignee | Title |
|---|---|---|---|---|
| CN102228390A (zh) * | 2011-06-10 | 2011-11-02 | 冉鹤 | 长骨骨折复位器 |
| CN203425020U (zh) * | 2013-09-06 | 2014-02-12 | 江苏广济医疗科技有限公司 | 长骨骨折复位器 |
-
2013
- 2013-09-06 CN CN201310400776.8A patent/CN103445838B/zh not_active Expired - Fee Related
Patent Citations (2)
| Publication number | Priority date | Publication date | Assignee | Title |
|---|---|---|---|---|
| CN102228390A (zh) * | 2011-06-10 | 2011-11-02 | 冉鹤 | 长骨骨折复位器 |
| CN203425020U (zh) * | 2013-09-06 | 2014-02-12 | 江苏广济医疗科技有限公司 | 长骨骨折复位器 |
Cited By (21)
| Publication number | Priority date | Publication date | Assignee | Title |
|---|---|---|---|---|
| CN106725782A (zh) * | 2016-12-24 | 2017-05-31 | 北京工业大学 | 一种折叠式并联骨外固定器 |
| CN106943185A (zh) * | 2017-03-23 | 2017-07-14 | 哈尔滨博斯首创医疗设备有限公司 | 一种可调控肢体整复单元 |
| CN106943185B (zh) * | 2017-03-23 | 2019-08-13 | 博斯创想(上海)医疗科技有限公司 | 一种可调控肢体整复单元 |
| CN106963463A (zh) * | 2017-04-17 | 2017-07-21 | 董晶龙 | 一种骨科用支吊架及使用方法 |
| WO2019090707A1 (zh) * | 2017-11-10 | 2019-05-16 | 唐佩福 | 骨固定针的锁定装置 |
| WO2019090709A1 (zh) * | 2017-11-10 | 2019-05-16 | 唐佩福 | 骨固定针的锁定装置 |
| CN108354662A (zh) * | 2018-03-27 | 2018-08-03 | 江阴市人民医院 | 骨折复位固定夹持器及应用其的骨折复位固定夹持系统 |
| CN108433795A (zh) * | 2018-04-27 | 2018-08-24 | 孙美义 | 一种前臂外固定支架及外固定支架 |
| CN109199475A (zh) * | 2018-10-13 | 2019-01-15 | 范士洁 | 肢体骨折微创复位系统 |
| CN109199474A (zh) * | 2018-10-13 | 2019-01-15 | 范士洁 | 骨折复位撑开器 |
| CN109199474B (zh) * | 2018-10-13 | 2024-06-04 | 范士洁 | 骨折复位撑开器 |
| CN109199475B (zh) * | 2018-10-13 | 2024-06-04 | 范士洁 | 肢体骨折微创复位系统 |
| CN109758218A (zh) * | 2019-02-11 | 2019-05-17 | 北京工业大学 | 一种防卡死的畸形矫正骨外固定器 |
| CN114126517A (zh) * | 2019-06-21 | 2022-03-01 | 德克萨斯苏格兰礼仪儿童医院 | 为外固定器提供部件互连的动力搭接器 |
| CN114126517B (zh) * | 2019-06-21 | 2024-03-08 | 德克萨斯苏格兰礼仪儿童医院 | 为外固定器提供部件互连的动力搭接器 |
| CN110693569A (zh) * | 2019-10-25 | 2020-01-17 | 上海市第六人民医院 | 一种含有3d打印导板的股骨截骨置钉夹具及其应用 |
| CN110946640A (zh) * | 2019-12-30 | 2020-04-03 | 朱怀宇 | 一种肱骨拉伸压缩装置 |
| CN111904615A (zh) * | 2020-08-27 | 2020-11-10 | 上海中医药大学附属曙光医院 | 定位导向器 |
| CN112401996A (zh) * | 2020-11-27 | 2021-02-26 | 王伟 | 一种长干骨锁定钢板牵伸外固定器及使用方法 |
| CN112401996B (zh) * | 2020-11-27 | 2023-11-17 | 王伟 | 一种长干骨锁定钢板牵伸外固定器 |
| CN113057573A (zh) * | 2021-03-24 | 2021-07-02 | 中南大学湘雅医院 | 一种腹腔镜辅助固定装置 |
Also Published As
| Publication number | Publication date |
|---|---|
| CN103445838B (zh) | 2015-06-24 |
Similar Documents
| Publication | Publication Date | Title |
|---|---|---|
| CN103445838B (zh) | 长骨骨折复位器 | |
| US8282636B2 (en) | Orthopedic external fixator and method of use | |
| US9066757B2 (en) | Orthopedic external fixator and method of use | |
| CN103445835B (zh) | 髋关节矫形与股骨延长器 | |
| CN103989526B (zh) | 膝关节手术调节固定撑开器 | |
| CN103445841B (zh) | 踝关节冠状面畸形调控矫形器 | |
| CN103445839B (zh) | 踝关节多维调控矫形器 | |
| CN203425020U (zh) | 长骨骨折复位器 | |
| CN103445834B (zh) | 快速牵伸延长杆 | |
| CN203425012U (zh) | 踝关节冠状面复合畸形调控矫形器 | |
| CN103417276B (zh) | 踝关节冠状面复合畸形调控矫形器 | |
| CN110897694A (zh) | 一种用于髓内钉手术的下肢复位装置 | |
| CN203425022U (zh) | 踝关节多维调控矫形器 | |
| CN100531687C (zh) | 桡骨远端骨折复位及肩关节脱位牵引器 | |
| CN110693587A (zh) | 一种用于髓内钉手术的下肢骨骼复位装置 | |
| CN103445842B (zh) | 马蹄足矫形器 | |
| CN203677225U (zh) | 一种四肢长管状骨骨折急诊复位的外固定器具 | |
| CN203425014U (zh) | 踝关节冠状面畸形调控矫形器 | |
| CN211355807U (zh) | 一种用于髓内钉手术的下肢牵引装置 | |
| CN203425016U (zh) | 髋关节矫形与股骨延长器 | |
| CN215739381U (zh) | 一种骨折闭合撬拔复位辅助器 | |
| CN103417277B (zh) | 股骨环式三角形同步控制延长器 | |
| CN203425013U (zh) | 股骨环式三角形同步控制延长器 | |
| CN211094595U (zh) | 一种膝关节双向牵引装置 | |
| CN103006303B (zh) | 骨外固定器用阻尼关节及调控式仿生骨外固定器 |
Legal Events
| Date | Code | Title | Description |
|---|---|---|---|
| C06 | Publication | ||
| PB01 | Publication | ||
| C10 | Entry into substantive examination | ||
| SE01 | Entry into force of request for substantive examination | ||
| C14 | Grant of patent or utility model | ||
| GR01 | Patent grant | ||
| CF01 | Termination of patent right due to non-payment of annual fee | ||
| CF01 | Termination of patent right due to non-payment of annual fee |
Granted publication date: 20150624 |