CN1034361C - Improved Fuel Injection System of Internal Combustion Engine - Google Patents

Improved Fuel Injection System of Internal Combustion Engine Download PDF

Info

Publication number
CN1034361C
CN1034361C CN 91104728 CN91104728A CN1034361C CN 1034361 C CN1034361 C CN 1034361C CN 91104728 CN91104728 CN 91104728 CN 91104728 A CN91104728 A CN 91104728A CN 1034361 C CN1034361 C CN 1034361C
Authority
CN
China
Prior art keywords
fuel
cavity
hole
valve stem
valve
Prior art date
Legal status (The legal status is an assumption and is not a legal conclusion. Google has not performed a legal analysis and makes no representation as to the accuracy of the status listed.)
Expired - Fee Related
Application number
CN 91104728
Other languages
Chinese (zh)
Other versions
CN1061464A (en
Inventor
马克·利尔
伊恩·雷金纳德·汤普森
萨姆·控塞尔·莱顿
克里斯托弗·内维尔弗朗西斯·塞勒
A·L·哈斯
Current Assignee (The listed assignees may be inaccurate. Google has not performed a legal analysis and makes no representation or warranty as to the accuracy of the list.)
Rail Power Machine Monopoly Co ltd
Original Assignee
Rail Power Machine Monopoly Co ltd
Priority date (The priority date is an assumption and is not a legal conclusion. Google has not performed a legal analysis and makes no representation as to the accuracy of the date listed.)
Filing date
Publication date
Priority claimed from CN88102779A external-priority patent/CN1013984B/en
Application filed by Rail Power Machine Monopoly Co ltd filed Critical Rail Power Machine Monopoly Co ltd
Publication of CN1061464A publication Critical patent/CN1061464A/en
Application granted granted Critical
Publication of CN1034361C publication Critical patent/CN1034361C/en
Anticipated expiration legal-status Critical
Expired - Fee Related legal-status Critical Current

Links

Images

Landscapes

  • Fuel-Injection Apparatus (AREA)

Abstract

A fuel feeding device of an internal combustion engine comprises a main body, in which a fuel cavity is communicated with a cavity hole for selectively transferring fuel to a fuel metering means of the fuel cavity; a hole communicating with the interior of the main body between the cavity hole and the exterior of the main body; a valve means including a valve which is preferably cooperated with a hole for selectively opening and closing the hole, and a valve rod for selectively operating an electromagnetic means in the main body, the electromagnetic means being operatively connected with a valve rod to move the valve rod to the position for opening or closing the hole; and a means for supplying gas to the fuel cavity at least when the hole is opened to supply fuel to the fuel cavity. The valve rod protrudes to the fuel cavity from the cavity hole through the electromagnetic means and is communicated with the cavity hole and the fuel cavity through the channel of the valve rod, such that the fuel in the fuel cavity is transmitted to the hole through the channel of the valve rod and the cavity hole.

Description

改进的内燃机燃料喷射系统Improved Fuel Injection System of Internal Combustion Engine

本发明是发明名称为“改进的内燃机燃料输送装置”申请号为CN88102779.0、申请日为88年3月31日的分案专利申请案。The present invention is a divisional patent application whose title of invention is "improved internal combustion engine fuel delivery device" and the application number is CN88102779.0, and the application date is March 31, 1988.

本发明涉及内燃机的燃料喷射器类的装置,其中一定量的燃料混合着气体(如空气等适于助燃的气体)喷入到各发动机气缸内。本发明还涉及一种具有上述装置或喷射器的内燃机的燃料喷射系统。The present invention relates to a fuel injector type device of an internal combustion engine, wherein a certain amount of fuel is injected into each cylinder of the engine mixed with gas (such as air and other gases suitable for combustion). The invention also relates to a fuel injection system for an internal combustion engine having the device or injector described above.

将混有气体的定量燃料喷入到发动机内,且混入的那部分气体的压力足以使燃料通过一个阀门控制口直接喷入发动机气缸或进气系统中,吸入的空气则通过进气系统进入到气缸内,上述技术是已经公知的了。这种形式的燃料定量和喷射过程,需要为对应于发动机各缸的燃料定量和喷射系统提供燃料和气体。Inject a fixed amount of fuel mixed with gas into the engine, and the pressure of the mixed gas is sufficient to make the fuel directly injected into the engine cylinder or the intake system through a valve control port, and the inhaled air enters the engine through the intake system. In the cylinder, the above-mentioned technology is already known. This form of fuel metering and injection process needs to provide fuel and gas to the fuel metering and injection system corresponding to each cylinder of the engine.

在设计燃料定量和喷射系统时还要考虑许多工作过程中的因素,如带阀杆的燃料供给控制阀的重量。因为阀的动载和反弹都是影响供油准确性的重要因素。同样,已经定量的燃料对管道壁的湿润程度也会对发动机各循环间供油量的变化产生影响,并影响发动机对燃料定量变化的反应。When designing the fuel metering and injection system, many factors in the working process must be considered, such as the weight of the fuel supply control valve with the valve stem. Because the dynamic load and rebound of the valve are important factors affecting the accuracy of fuel supply. Similarly, the wetting degree of the metered fuel to the pipe wall will also affect the change of the fuel supply amount between the cycles of the engine, and affect the engine's response to the change of the fuel metering.

本发明的目的是提供一种内燃机的供油的具有改进装置的燃料喷射系统,它的体积小、结构紧凑,而且操作过程满足现代发动机对可靠性,精度和寿命的要求。The object of the present invention is to provide a fuel injection system with an improved arrangement for the fuel supply of an internal combustion engine, which is small and compact and whose operation meets the reliability, accuracy and longevity requirements of modern engines.

为此,提供一种内燃机燃料喷射系统,该系统包括:To this end, a fuel injection system for an internal combustion engine is provided, which includes:

一种内燃机燃料输送装置,包括:A fuel delivery device for an internal combustion engine, comprising:

一本体,其中具有与喷口内腔连通的燃料腔,a body having a fuel cavity in communication with the nozzle cavity,

有选择地输送燃料到燃料腔的定量装置,a dosing device for selectively delivering fuel to the fuel chamber,

在该喷口内腔和本体外部之间连通的本体内的喷口,a spout in the body communicating between the spout lumen and the exterior of the body,

阀门装置包括一个阀件,该阀件适宜于与该喷口协同动作,以便有选择地打开和关闭该喷口,并且有一个装在该阀件上的阀杆,The valve means includes a valve member adapted to cooperate with the spout for selectively opening and closing the spout, and having a valve stem mounted on the valve member,

在该本体内可有选择地操纵的电磁装置,该电磁装置可操纵地连接到该阀杆上,以将该阀杆移动以便打开或关闭该喷口,an electromagnetic device selectively operable within the body, the electromagnetic device being operatively connected to the valve stem to move the valve stem to open or close the spout,

供气装置,其用以至少在该喷口打开以便从燃料腔向该敞开的喷口供应燃料时给燃料腔供气,air supply means for supplying air to the fuel chamber at least when the nozzle is open for supplying fuel from the fuel chamber to the open nozzle,

该阀杆从该喷口内腔通过该电磁装置延伸到该燃料腔,一个通过该阀杆将喷口内腔与燃料腔连通的通道,使燃料腔的燃料通过阀杆通道和喷口内腔输送到并通过该喷口。The valve stem extends from the spout cavity to the fuel cavity through the electromagnetic device, and a passage through the valve stem communicates the spout cavity with the fuel cavity, so that the fuel in the fuel cavity is delivered to and through the valve stem passage and the spout cavity. through the spout.

电磁装置最好采用电磁阀。该电磁阀有一个与阀杆同心的线圈,阀杆上装有与其同轴的衔铁。衔铁最好是沿着或基本上是处于线圈和阀杆之间的环形空间内的。阀杆最好为筒形的,一端固定着阀件,燃料可以从另一开口端流入。阀件端部连接处是在筒形阀杆的内壁和内腔之间的。这样连接,大量的燃料就不会被封闭在筒形阀杆内与内腔连接处以下的部分,而且也不会流入到内腔中。燃料最好通过本体孔直接喷入到发动机的燃烧室内。The electromagnetic device is preferably a solenoid valve. The solenoid valve has a coil concentric with the valve stem, and the valve stem is equipped with an armature coaxial with it. The armature is preferably along or substantially within the annular space between the coil and the valve stem. The valve stem is preferably cylindrical, with a valve member fixed at one end, and fuel can flow in from the other open end. The valve member end connection is between the inner wall of the cylindrical valve stem and the inner cavity. Connected in this way, a large amount of fuel will not be enclosed in the part below the junction between the cylindrical valve stem and the inner cavity, and will not flow into the inner cavity. Fuel is preferably injected directly into the combustion chamber of the engine through the body bore.

上述的结构会给具有这种燃料输送装置的燃料喷射系统的工作过程带来许多优点。(如筒形阀杆可提供的那样)让燃料从阀杆内的通道流过,可以减少能影响燃料的表面积。燃料从定量处到本体出口,再由此喷入发动机内。而现有的结构则通过一个环形通道,这一点尤为不同。燃料对表面的湿润会影响反应延迟量,这个延迟量是存在于燃料定量处供油速率的变化和由此带来的将燃料喷入发动机在喷口处的出油率的变化之间的。在每个喷油循环中,随着供油率的变化,在定量处和出口处之间燃料流经的表面积上附着的油膜厚度也会变化。所以如果与燃料接触的表面积减少了,包括油膜厚度的变化在内的总的燃料量也会减少。这一优点可以从发动机的反应时间加快中体现出来,还反映在由于发动机各循环间喷入的燃料量的变化造成的不稳定性降低了。The construction described above brings many advantages to the operation of a fuel injection system having such a fuel delivery device. Having the fuel flow through a channel within the stem (as a barrel stem can provide) reduces the surface area that can affect the fuel. The fuel is injected into the engine from the metering point to the outlet of the body. This is particularly different from the existing structure, which passes through a circular passage. The wetting of the surface by the fuel affects the amount of reaction delay between the change in delivery rate at the fuel meter and the resulting change in the delivery rate of the fuel injected into the engine at the nozzle. In each injection cycle, as the fuel delivery rate changes, the thickness of the oil film deposited on the surface area where the fuel flows between the dosing point and the outlet point will also change. So if the surface area in contact with the fuel is reduced, the total amount of fuel including the change in film thickness will also be reduced. This advantage is reflected in the faster reaction time of the engine and in the reduced instability due to variations in the amount of fuel injected from engine cycle to cycle.

采用电磁阀装置也会带来好处。现有技术的结构是燃料定量处是在电磁阀和燃料输送口之间的,而本发明则是在燃料输送口和定量处之间设置电磁阀组件。这样阀杆的长度变短了,从而使阀杆重量减轻、固有频率降低,进而减少了阀门关闭时可能发生反弹的次数。在发动机高负荷工作时,相当多的燃料要流经阀杆,这恰好在电磁阀发热量很高时能产生很好的冷却效果。There are also advantages to using a solenoid valve arrangement. The structure of the prior art is that the fuel metering place is between the solenoid valve and the fuel delivery port, while the present invention arranges the solenoid valve assembly between the fuel delivery port and the metering place. This shortens the length of the valve stem, which reduces the weight of the valve stem and lowers the natural frequency, which in turn reduces the number of possible rebounds when the valve is closed. When the engine is working at a high load, a considerable amount of fuel will flow through the valve stem, which can produce a good cooling effect when the solenoid valve generates a high heat.

同样,将电磁阀件设置在燃料进入发动机的燃料输送口和定量处之间及电磁阀采用对称的外形,能够使燃料喷射装置或其一部分装进到发动机缸盖内部,从而降低发动机和燃料输送装置组合后的总高度。该结构位置还可以靠来自缸盖的热量使燃料升温,帮助燃料雾化。Similarly, the electromagnetic valve part is arranged between the fuel delivery port and the quantitative place where the fuel enters the engine, and the electromagnetic valve adopts a symmetrical shape, so that the fuel injection device or a part thereof can be packed into the engine cylinder head, thereby reducing the engine and fuel delivery. The overall height of the combined unit. This structural position can also rely on the heat from the cylinder head to heat up the fuel and help fuel atomization.

上述用于喷射燃料到内燃机的装置的主要应用上直接将燃料喷射至多缸发动机的独立气缸中,如广泛应用于机动车辆上。The main application of the above-described device for injecting fuel into an internal combustion engine is to inject fuel directly into individual cylinders of a multi-cylinder engine, as is widely used in motor vehicles.

考虑到生产成本方面的因素,通常是只用一个泵来完成将燃料箱里的燃料送到各燃料喷射装置中,然后再经适当的回油管将回油从各喷射装置送回到燃料箱中。为了降低成本,常常是只用一个调压器来控制输送到燃料喷射装置的供气和供燃料之间的压力差。采用这种结构是必导致在燃料喷射装置与燃料泵之间、燃料喷射装置与调压器之间需要用许多燃料管进行连接,这显然会增加生产成本。应当注意到,在这种结构中燃料和气体管要有适当的端部接头,这些接头上常带有螺纹,以使接头处能有效地防止泄漏,并对燃料喷射装置、燃料泵和调压器提供有螺纹的互补零部件。多个螺纹件的生产和组装是影响成本的另一个因素,大量燃料和气体管路的装配也会增加成本,同时还会影响装置外观的整洁。Considering the production cost, usually only one pump is used to send the fuel in the fuel tank to each fuel injection device, and then send the return oil from each injection device back to the fuel tank through an appropriate oil return pipe . In order to reduce costs, often only one pressure regulator is used to control the pressure differential between the air supply and the fuel supply to the fuel injection device. Adopting this structure will inevitably lead to the need to use many fuel pipes to connect between the fuel injection device and the fuel pump, and between the fuel injection device and the pressure regulator, which will obviously increase the production cost. It should be noted that in this structure, the fuel and gas pipes must have appropriate end fittings, which are often threaded, so that the joints can effectively prevent leakage and protect the fuel injection device, fuel pump and pressure regulator. Complementary parts are provided with threads. The production and assembly of multiple threaded parts is another cost factor, as is the assembly of a large number of fuel and gas lines, which also affects the appearance of the unit.

使用大量的燃料和气体管路还会带来操作上的问题。塑料管是有弹性的,因此管的横截面会随着管内压力变化而改变,这样就很难把所供燃料和气体之间的压力差控制在规定值上。Operational problems can also arise from the use of numerous fuel and gas lines. The plastic pipe is elastic, so the cross-section of the pipe changes with the pressure inside the pipe, making it difficult to control the pressure difference between the supplied fuel and gas to a specified value.

在许多发动机应用的情况下,如汽车、船用外装发动机,发动机的结构尺寸及发动机相应的附件都是非常重要的因素。发动机自动身尺寸的减少是有限的,因此将加在主机上的附件对增加发动机外形尺寸的影响保持在最小的程度就成为很重要的事了。In the case of many engine applications, such as automobiles and marine external engines, the structural size of the engine and the corresponding accessories of the engine are very important factors. The reduction in the size of the engine itself is limited, so it is important to keep the effect of the accessories added on the main engine on increasing the overall size of the engine to a minimum.

根据目前已知的燃料喷射系统在结构、操作和成本方面的缺陷,本发明的目的是提供一个改进的发动机燃料喷射系统,在该系统中上述缺陷至少已得到克服,从而可获得操作得更有效的操作系统,并且也降低该系统的制造成本。In view of the structural, operational and cost deficiencies of the currently known fuel injection systems, it is an object of the present invention to provide an improved engine fuel injection system in which at least the above mentioned deficiencies have been overcome so that a more efficient operation can be obtained operating system, and also reduce the manufacturing cost of the system.

根据上述观点,建议将上文叙述的燃料喷射装置按本发明的建议那样,结合到用于多缸内燃机燃料喷射系统中,内燃机的每个缸配备以一个那种燃料喷射装置,每个燃料喷射装置与一单个刚性纵向整体件组成整体,该整体件内制成有供燃料管和供气管,这些管该沿着该整体件的纵长方向延伸,每个燃料定量装置直接与供燃料管连通,每个燃料腔设置在该整体件内且与该供气管连通,从而当该孔打开时,从供气管来的气体携带从该燃料腔的燃料通过该阀杆通道和喷口内腔到达并通过该开孔而进入气缸。According to the above-mentioned viewpoint, it is suggested that the above-mentioned fuel injection device be combined into a fuel injection system for a multi-cylinder internal combustion engine as suggested by the present invention. Each cylinder of the internal combustion engine is equipped with a fuel injection device of that kind, and each fuel injection The device is integrally formed with a single rigid longitudinal monolith in which fuel supply pipes and gas supply pipes are formed, these pipes should extend along the lengthwise direction of the monolith, each fuel metering device communicates directly with the fuel supply pipe , each fuel chamber is provided in the integral piece and communicates with the gas supply pipe, so that when the hole is opened, the gas from the gas supply pipe carries the fuel from the fuel chamber to reach and pass through the valve stem passage and the nozzle cavity. The opening goes into the cylinder.

上面讨论的一种带有刚性纵向整体件的结构中对多个燃料喷射装置提供燃料和气体,每个燃料喷射装置供应多缸内燃机中的一个相应气缸,便基本上减少安装过程中所需要的供燃料管和供气管的数目。详细地说,只需要采用一个来自该燃料泵的单一供燃料管和一个来自该增压气体源的单一供气管来供应所有的燃料喷射装置即可。撇开由于这种结构而造成的基本上改善的外观不说,弹性的供燃料管和供气管的数目和长度的减少,基本上减少由于该些管内的流体压力的变化而引起的其截面的变化对定量精确度产生的影响。此外,所需要制出的燃料和气体的接头的数目也基本上减少,管接头的这种减少对节约空间和节约成本以及对减少系统内潜在的漏泄区域都有所贡献。A structure with rigid longitudinal integral members discussed above provides fuel and gas to a plurality of fuel injection devices, each fuel injection device supplying a corresponding cylinder in a multi-cylinder internal combustion engine, which substantially reduces the number of cylinders required during installation. Number of fuel and air supply pipes. In detail, it is only necessary to use a single fuel supply pipe from the fuel pump and a single air supply pipe from the pressurized gas source to supply all fuel injection devices. Leaving aside the substantially improved appearance due to this construction, the reduction in the number and length of the flexible fuel and air supply pipes substantially reduces the variation in cross-section due to changes in the fluid pressure within these pipes impact on quantitative precision. In addition, the number of fuel and gas connections that need to be made is substantially reduced. This reduction in pipe connections contributes to space and cost savings as well as to reducing potential leak areas within the system.

此外,由于采用带有多个燃料喷射装置的刚性纵向整体件,且各喷射装置对应于多缸发动机中的一个缸,因此就可以将该纵向整体件作为向下的压紧件,燃料喷射装置紧固在发动机各缸对应的相关部分,每个燃料喷射装置会有一个端部坐落在抵靠该发动机并在该一个端部通过一燃料输送口与发动机的相应缺连通,每个燃料喷射装置的相对端部接纳在刚性纵向整体件的相应凹槽中,并提供以将该刚性纵向整体件固定于该发动机上而将每个燃料喷射装置则紧固在该整体件与发动机之间的固定装置。因此,也就不需要在每个燃料喷射装置和每个缸的连接部分提供以独立加工的螺纹孔;把纵向整体性件固定在相应的燃料喷射装置和发动机上,以保证燃料喷射装置与发动机间所需的工作对应关系所需要的螺纹孔的数目也就不多。In addition, the use of a rigid longitudinal monolith with multiple fuel injection devices, each corresponding to a cylinder in a multi-cylinder engine, allows the longitudinal monolith to act as a downward compression, and the fuel injection devices Fastened to relevant parts corresponding to each cylinder of the engine, each fuel injection device will have one end seated against the engine and communicate with the corresponding gap of the engine through a fuel delivery port at the one end, each fuel injection device The opposite ends of each fuel injection device are received in corresponding grooves in the rigid longitudinal monolith and provide a fixation for securing the rigid longitudinal monolith to the engine and securing each fuel injection device between the monolith and the engine. device. Therefore, there is no need to provide independently processed threaded holes at the connecting part of each fuel injection device and each cylinder; the longitudinal integral piece is fixed on the corresponding fuel injection device and the engine to ensure that the fuel injection device and the engine The number of threaded holes required for the required work correspondence between the two parts is not large.

下面结合附图详细说明本发明,附图中描述了本发明的燃料喷射系统的一个实际使用的结构。The present invention will be described in detail below with reference to the accompanying drawings, which describe a practical structure of the fuel injection system of the present invention.

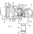
图1为一种典型的三缸发动机的轴侧图,该发动机装有本发明的燃料喷射系统。BRIEF DESCRIPTION OF THE DRAWINGS Figure 1 is a perspective view of a typical three cylinder engine incorporating the fuel injection system of the present invention.

图2是装在燃料定量装置和喷射系统处油道和气道的横截面视图。Fig. 2 is a cross-sectional view of the fuel passage and the air passage installed at the fuel metering device and the injection system.

图3是燃料喷射系统及油、气通道接口处的轴向剖视图。Fig. 3 is an axial sectional view of the fuel injection system and the interface of the oil and gas passages.

图4是沿图2中4-4所示方向的空气控制环的视图。FIG. 4 is a view of the air control ring in the direction indicated by 4-4 in FIG. 2 .

图5是装有油、气通道和燃料定量装置和喷射系统的发动机缸盖的剖视图。Fig. 5 is a sectional view of the engine cylinder head equipped with oil and gas passages and fuel metering device and injection system.

图6是装在油、气通道上的调压器的剖视图。Fig. 6 is a cross-sectional view of the pressure regulator installed on the oil and gas channels.

图7是沿图6中的7-7所示方向调压器的局部剖视图。Fig. 7 is a partial sectional view of the voltage regulator along the direction indicated by 7-7 in Fig. 6 .

图8是将燃料和气体输入到燃料腔中的转换机构的局部剖视图。Figure 8 is a partial cross-sectional view of the switching mechanism for feeding fuel and gas into the fuel chamber.

参照图1,这里所述的是一台基本上采用传统结构的三缸二冲程发动机,它包括缸体和曲轴箱机构1,可拆卸的缸盖2,在缸体一则的进气系统4和在缸体另一侧的排气系统5。缸盖2上装有火花塞7,每个火花塞分别对应着一个发动机气缸。燃料和空气通道组件11由螺栓8大致安装在沿缸盖顶端的纵向中心线上。Referring to Fig. 1, what is described here is a three-cylinder two-stroke engine basically adopting a traditional structure, which includes a cylinder block and a crankcase mechanism 1, a detachable cylinder head 2, and an intake system 4 in the cylinder block and the exhaust system 5 on the other side of the cylinder block. Spark plugs 7 are housed on the cylinder head 2, and each spark plug corresponds to an engine cylinder respectively. The fuel and air passage assembly 11 is mounted by bolts 8 approximately along the longitudinal centerline of the top end of the cylinder head.

如图2所示,发动机燃料喷射系统包括一个供应空气和燃料的通道组件11。该组件有一个定量装置10和对应各气缸的喷射系统12。通道组件11是个长形部件,空气管路13、供油管路14和回油管路15是在其内部纵向延伸的,这些管路在通道的一端是封闭的。如图1所示,在适当的位置上设置一个与空气管路13相连的进气管连接器9,一个与供油管路14相连的供油管连接器6,一个经调压器与回油管路15相连的回油管连接器3(调压器将在后面详述)。As shown in FIG. 2, the engine fuel injection system includes a passage assembly 11 for supplying air and fuel. This assembly has a dosing device 10 and an injection system 12 for each cylinder. The channel assembly 11 is an elongate member within which an air line 13, an oil supply line 14 and an oil return line 15 extend longitudinally, these lines being closed at one end of the channel. As shown in Figure 1, an intake pipe connector 9 connected to the air pipe 13, an oil supply pipe connector 6 connected to the oil supply pipe 14, and a pressure regulator connected to the oil return pipe are arranged at appropriate positions. The oil return pipe connector 3 connected to the road 15 (the pressure regulator will be described in detail later).

燃料定量装置10是可以在市场上买到的,在此不作详述。在市售的定量装置中,由通用汽车公司的Rochester分公司生产的“Multec”牌定量装置是比较合适的。在定量装置10的本体18上开有进油口16和出油口17,燃料由此流进流出,量孔是开在19表示的那块区域上的,量孔将燃料送到管路20中(在后详述)。The fuel dosing device 10 is commercially available and will not be described in detail here. Among commercially available dosing devices, "Multec" brand dosing devices manufactured by the Rochester Division of General Motors Corporation are suitable. An oil inlet 16 and an oil outlet 17 are opened on the body 18 of the dosing device 10, and the fuel flows in and out therefrom. The metering hole is opened on the area indicated by 19, and the metering hole sends the fuel to the pipeline 20 in (detailed later).

定量装置10的本体18在装在一个由通道组件11的外壁21形成的横孔26中,本18和孔26之间有“0”形密封环22。空气通道13和燃料通道14之间的内壁25上有孔27,孔27与本体18之间也有一个“0”形密封环23。定量装置10的量孔所在区域19对应于通道20的位置是由压板28决定的。压板28装在本体18的凹槽29内,由螺栓或定位螺钉(图中未示)在适当的位置处压紧在端壁21上。定量装置的本体18在34处以高精度的配合关系通过通道14和16的间壁,以减少其间的燃料泄漏。The body 18 of the dosing device 10 is installed in a horizontal hole 26 formed by the outer wall 21 of the channel assembly 11, and an "O"-shaped sealing ring 22 is arranged between the body 18 and the hole 26. There is a hole 27 on the inner wall 25 between the air channel 13 and the fuel channel 14 , and there is also an "O"-shaped sealing ring 23 between the hole 27 and the body 18 . The position of the region 19 where the measuring hole of the dosing device 10 is located corresponding to the channel 20 is determined by the pressure plate 28 . The pressing plate 28 is installed in the groove 29 of the body 18, and is pressed against the end wall 21 at an appropriate position by a bolt or a set screw (not shown in the figure). The body 18 of the dosing device passes at 34 through the dividing wall of the passages 14 and 16 in a high precision fit to reduce fuel leakage therebetween.

喷射系统12(如图3所示)有一个壳体30,壳体30上还有一柱形套筒31,从柱形套筒的下部伸出一个喷口32,并在喷口内与腔33相通。与喷口32共同作用的提升阀件34固定在筒形阀杆35上。筒形阀杆35通过导向肋36装在内腔33内,并可在其中滑动。导向肋等间距地分布在阀杆35的圆周上。Injection system 12 (as shown in Figure 3) has a housing 30, also has a cylindrical sleeve 31 on the housing 30, stretches out a spout 32 from the bottom of cylindrical sleeve, and communicates with cavity 33 in the spout. A poppet member 34 cooperating with the orifice 32 is secured to a cylindrical valve stem 35 . The cylindrical valve rod 35 is installed in the inner cavity 33 through the guide rib 36 and can slide therein. The guide ribs are equally spaced on the circumference of the valve stem 35 .

壳体30与筒形阀杆35同轴,电磁线圈40装在壳体30内,且位于壳体30的底板37和罩板38之间。从缝隙39可以看出,安装在筒形阀杆35上端的电磁衔铁41可作有限的轴向运动。弹簧42向上推动衔铁41,以保证在正常状态下阀件34可以关闭喷口32。阀杆35的下部开有相对的小孔43,该孔使阀杆35的内部与内腔33总是相连通的。电磁线圈40励磁后,向下拉衔铁41,将间隙39闭合,然后阀杆35和阀件34产生位移,打开喷口32。The casing 30 is coaxial with the cylindrical valve stem 35 , and the electromagnetic coil 40 is installed in the casing 30 and is located between the bottom plate 37 and the cover plate 38 of the casing 30 . It can be seen from the gap 39 that the electromagnetic armature 41 installed on the upper end of the cylindrical valve stem 35 can move in a limited axial direction. The spring 42 pushes the armature 41 upwards to ensure that the valve member 34 can close the spout 32 under normal conditions. The lower part of the valve stem 35 is provided with a relatively small hole 43 , which makes the inside of the valve stem 35 always communicate with the inner chamber 33 . After the electromagnetic coil 40 is energized, the armature 41 is pulled down to close the gap 39 , and then the valve stem 35 and the valve element 34 are displaced to open the nozzle 32 .

壳体上端的罩板38是在通道组件11的孔45中的,因此安装在通道组件11中的管46位于衔铁41上端的孔48中。管46是过盈配合地封接在通道组件11的通道20中的,通道20在壁25中,管46将燃料从通道20送入阀杆35上端的开口。The cover plate 38 at the upper end of the housing is in the hole 45 of the channel assembly 11 , so that the tube 46 installed in the channel assembly 11 is located in the hole 48 at the upper end of the armature 41 . A tube 46 is sealed with an interference fit in the channel 20 of the channel assembly 11 in the wall 25 , and the tube 46 feeds fuel from the channel 20 into the opening at the upper end of the valve stem 35 .

定量装置10的一端是在通道组件11的壁25中的孔27里的,在这端有一个空气流量控制环75。空气流量控制环75的环形法兰盘74套装在定量装置的本体18上。在法兰盘74的外表面有一环槽77,该环槽77与通道78相通,且经一系列的小孔79与环75的燃料腔80相通。如图4所示,环75一端有一中心燃料通道81,其通道空间由衬道82限定。三个等间距排开的支臂84将衬套82固定在环75的圆周上。在环75的圆周、中心衬套82和三个支臂84之间限定的空间构成了三个弧形孔85,来自空气通道13的空气经此流过。One end of the dosing device 10 is in the hole 27 in the wall 25 of the channel assembly 11, and there is an air flow control ring 75 at this end. The annular flange 74 of the air flow control ring 75 is sleeved on the body 18 of the dosing device. On the outer surface of the flange 74 there is an annular groove 77 which communicates with the channel 78 and communicates with the fuel chamber 80 of the ring 75 through a series of small holes 79 . As shown in FIG. 4 , the ring 75 has a central fuel passage 81 at one end, the passage space of which is defined by a lining 82 . Three equally spaced arms 84 secure the bushing 82 to the circumference of the ring 75 . The space defined between the circumference of the ring 75 , the central bush 82 and the three arms 84 forms three arcuate holes 85 through which the air from the air channel 13 flows.

如图2所示,通道88将空气通道13与衬套82附近的环形燃料腔80连通起来。这样,来自空气通道13的空气便可以通过通道88和弧形孔85进入环75的燃料腔80。这一部分空气可以进一步通过附近的量孔区域19经衬套82进入到燃料通道81内。由此可见,在燃料喷射系统处于工作状态时,空气可以由空气通道13流出,在定量机构10的区域19周围形成径向向内的气流,从区域19送出一定量的燃料,而后,空气继续沿轴向运动,通过通道81进入到通道20内,再经过管46进入阀杆35的空心内腔中。因为有一些空气经通道88回流到空气通道13内,所以,气流的这种运动方式可以防止燃料的损失。Passage 88 communicates air passage 13 with annular fuel chamber 80 adjacent liner 82 as shown in FIG. 2 . Thus, air from the air passage 13 can enter the fuel cavity 80 of the ring 75 through the passage 88 and the arcuate hole 85 . This part of the air can further pass through the adjacent orifice area 19 through the liner 82 and into the fuel passage 81 . It can be seen that when the fuel injection system is in working condition, the air can flow out from the air channel 13, forming a radially inward airflow around the area 19 of the metering mechanism 10, sending a certain amount of fuel from the area 19, and then the air continues Move along the axial direction, enter the channel 20 through the channel 81 , and then enter the hollow cavity of the valve stem 35 through the tube 46 . This movement of the air flow prevents fuel loss because some air flows back into the air passage 13 via the passage 88.

环槽77、孔79和通道78为空气从空气通道13进入罩板38上的孔49提供了一个基本不节流的流道。空气可以从孔49进入到空心阀杆35内,并且也可以从衔铁41的外表面和套筒47之间流过,经空隙39进入到腔33内。空气通道13和腔33的这种连通方式保证了在腔33内有一股气流,并有足够的压力,以防止发生燃料从内腔33经衔铁41的来流或回流的积蓄。出现这种情况时,供给发动机的燃料的定量精度会降低。Groove 77, hole 79 and channel 78 provide a substantially unrestricted flow path for air from air channel 13 to hole 49 in cover plate 38. Air can enter the hollow valve stem 35 through the hole 49 , and can also flow between the outer surface of the armature 41 and the sleeve 47 , and enter the cavity 33 through the gap 39 . This communication between air passage 13 and cavity 33 ensures that there is an air flow in cavity 33 with sufficient pressure to prevent the accumulation of inflow or return flow of fuel from cavity 33 through armature 41. When this happens, the dosing accuracy of the fuel supplied to the engine is reduced.

套筒47在58处向外的边缘靠在罩板38的孔49的基底上。套筒47的下部装在壳体30的缩口50和套筒31的伸展部分51之间,这三个部件的重叠部分是焊接在一起的,以形成一个密实的燃料空气接口。The outward edge of the sleeve 47 at 58 rests on the base of the aperture 49 of the cover plate 38 . The lower portion of the sleeve 47 fits between the neck 50 of the housing 30 and the extension 51 of the sleeve 31, the overlapping portions of these three parts being welded together to form a solid fuel-air interface.

上述装置可以用在如图1所示的那种多缸机上。这种多缸机带有一个燃料和空气通道组件11,该组件包括对应于各缸的燃料定量装置10和喷射系统12。如图5,喷射系统12的套筒31装在发动机缸盖2上适当的台阶孔57内,这样从喷口32中喷出的燃料直接进入缸内的燃烧室里。套筒31上的密封环16压紧在缸盖适当的表面上进行密封。如螺栓8之类的紧机构将通道组件11固定在缸盖2上。这样通道组件11与喷射系统12组合在一起,而喷射系统又是与缸盖组合在一起的。孔49内的“0”形环52在通道组件11和套筒47的外缘58之间形成密封,以防止在通道组件11和喷射系统12之间产生燃料或空气的泄漏。The above-mentioned device can be used on a multi-cylinder machine of the kind shown in FIG. 1 . This multi-cylinder engine has a fuel and air passage assembly 11 which includes a fuel metering device 10 and an injection system 12 corresponding to each cylinder. As shown in Figure 5, the sleeve 31 of the injection system 12 is installed in the appropriate stepped hole 57 on the engine cylinder head 2, so that the fuel sprayed from the nozzle 32 directly enters the combustion chamber in the cylinder. The sealing ring 16 on the sleeve 31 is pressed against the appropriate surface of the cylinder head for sealing. Tightening means such as bolts 8 secure the channel assembly 11 to the cylinder head 2 . The channel assembly 11 is thus combined with the injection system 12 which in turn is combined with the cylinder head. O-ring 52 in bore 49 forms a seal between channel assembly 11 and outer edge 58 of sleeve 47 to prevent fuel or air leakage between channel assembly 11 and injection system 12 .

如图5所示,发动机缸盖上有冷却腔及其通道53、54和55,还有一个火花塞孔56。喷射系统12装在台阶孔52内,喷射系统的外壳30有一部分暴露在冷却腔54内,以便直接冷却喷射机构,将电磁线圈40产生的热量带走,并限制热量从燃烧室传到喷射系统和定量装置。As shown in FIG. 5 , there are cooling chambers and passages 53 , 54 and 55 on the cylinder head of the engine, as well as a spark plug hole 56 . The injection system 12 is installed in the stepped hole 52, and a part of the casing 30 of the injection system is exposed in the cooling cavity 54, so as to directly cool the injection mechanism, take away the heat generated by the electromagnetic coil 40, and limit the heat transfer from the combustion chamber to the injection system and quantitative devices.

图8表示了一种对图2中的空气控制环75的改进结构。在该图所示的结构中,套筒110和燃料导管114代替了图2的空气控制环74和衬套82。FIG. 8 shows a modification of the air control ring 75 in FIG. 2 . In the configuration shown in this figure, sleeve 110 and fuel conduit 114 replace air control ring 74 and liner 82 of FIG. 2 .

应该注意到套筒110的结构是对已公开的这类结构的一种改进。套筒110与燃料定量装置10的孔109之间是过盈配合,与通道组件11的孔111间最好是轻度的压配合。“0”形环112可以防止燃料从供油通道14中泄漏出来。It should be noted that the configuration of the sleeve 110 is an improvement over the type disclosed. There is an interference fit between the sleeve 110 and the hole 109 of the fuel dosing device 10 , and a slight press fit with the hole 111 of the channel assembly 11 is preferred. The “O” ring 112 prevents fuel from leaking out of the fuel supply passage 14 .

燃料定量装置10的喷口是装在113处的,它正对着与套筒110为一体的燃料导管114,这样定量的燃料便进入到燃料腔120内。燃料喷系统12与腔120相通,腔120的燃料流到喷射系统12内。喷射系统12的结构与前面图2提到的结构相同。The nozzle of fuel dosing device 10 is contained at 113 places, and it just faces the fuel conduit 114 that is one with sleeve 110, and quantitative fuel just enters in the fuel chamber 120 like this. The fuel injection system 12 communicates with the cavity 120 , and the fuel in the cavity 120 flows into the injection system 12 . The structure of the injection system 12 is the same as that mentioned above in FIG. 2 .

燃料腔120通过孔121、燃料导管114周围的环形通道122和其间的弧形通道124与空气通道13相通。孔121和环形通道122的外壁是由预先开的燃料定量装置10和套筒110上相互平行的孔构成的,弧形通道124是由这两孔的间壁切割掉的部分形成的。这种加工成形的方法,使上述两孔间的壁125保持不变,且延长至燃料导管114的重叠部分,同时还在180°的弧度范围内形成一部分锥面。应该注意到:腔120、孔121、环形通道122和弧形通道124是每个定量装置10和喷射系统12都有的,且供油通道14和回油通道15及供气通道13也是每个定量装置和喷射系统都有的。斜面126能够把从面上反弹过来的燃料引入到喷射系统12中,而不是直接让这些燃料返回环形通道122。The fuel chamber 120 communicates with the air passage 13 through the hole 121 , the annular passage 122 around the fuel conduit 114 and the arc passage 124 therebetween. The outer walls of the hole 121 and the annular passage 122 are formed by the holes parallel to each other on the pre-opened fuel metering device 10 and the sleeve 110, and the arc-shaped passage 124 is formed by cutting off the partition walls of these two holes. This processing and forming method keeps the wall 125 between the two holes unchanged and extends to the overlapping portion of the fuel conduit 114, and at the same time forms a part of the tapered surface within an arc of 180°. It should be noted that the cavity 120, the hole 121, the annular passage 122 and the arc passage 124 are all for each dosing device 10 and the injection system 12, and the oil supply passage 14, the oil return passage 15 and the air supply passage 13 are also for each There are both dosing devices and injection systems. The ramp 126 can introduce fuel that bounces off the face into the injection system 12 instead of returning the fuel directly to the annular passage 122 .

在使用中,当处于燃料喷射相位时,有一股气流从通道13流出,经孔121、弧形通道124和环形通道122进入到腔120内,然后再经腔120进入到燃料喷射系统12中,空气混合着已由燃料定量装置10送进腔120内的燃料进入到燃料喷射系统12中,并再经此喷入到发动机气缸内。In use, when in the fuel injection phase, an air flow flows out from the channel 13, enters the cavity 120 through the hole 121, the arc channel 124 and the annular channel 122, and then enters the fuel injection system 12 through the cavity 120, The air mixed with the fuel that has been sent into the chamber 120 by the fuel metering device 10 enters the fuel injection system 12, and then is injected into the engine cylinder through this.

在开始将燃料喷入发动机之前,也就是基本上还没有气流从空气通道13进入到腔120内时,一般不将燃料,或至少其中一部分燃料喷入到腔120内。孔121及通道122和124的结构是这样的。让所有具有从腔120回流到空气通道13中趋势的燃料流过一个螺旋通路。从定量装置10流出的燃料中有一些从腔120壁面反弹过来的油粒,这些油粒很可能附着在腔120或环形通道122的另一个表面上,这样油粒的动能就损失了,并且/或者将燃料引到一条可以避免其漏入空气通道13的通路。如在环形通道122上一样,环形通道的作用是提供一个唯一的进口,所有来自腔120的燃料只能从该进口进入到达空气通道13的通路上。Fuel, or at least a portion of it, is generally not injected into cavity 120 until fuel injection into the engine begins, ie, when there is substantially no air flow from air passage 13 into cavity 120 . The structure of the hole 121 and the channels 122 and 124 is as follows. All fuel which has a tendency to flow back from chamber 120 into air channel 13 flows through a spiral path. In the fuel flowing out from the dosing device 10, there are some oil particles rebounded from the wall of the chamber 120, and these oil particles are likely to be attached to the other surface of the chamber 120 or the annular passage 122, so that the kinetic energy of the oil particles is lost, and/ Or lead the fuel to a path that prevents it from leaking into the air channel 13 . As on annular passage 122, the function of the annular passage is to provide a single inlet from which all fuel from chamber 120 can only enter on its way to air passage 13.

这种作用的优点是有一个基本不节流的流区,以使空气流入腔内,而油粒只能在相反的方向上从一个很小的孔中流过。The advantage of this action is that there is a substantially unrestricted flow area to allow air to flow into the cavity, while oil particles can only flow in the opposite direction through a very small orifice.

这种防止燃料从在图2中为通道20而在图8中为腔室120泄漏到空气通道13的方法,能够提高喷入发动机燃料量的定量精度,从而提高发动机燃料效率和排放控制水平,同时还可以避免燃料在空气通道上积蓄,以及由此产生的清洁空气通道的问题。This method of preventing fuel leakage from passage 20 in FIG. 2 and chamber 120 in FIG. 8 to air passage 13 can improve the quantitative accuracy of the amount of fuel injected into the engine, thereby improving engine fuel efficiency and emission control level, At the same time, it is possible to avoid accumulation of fuel in the air passages and the resulting problem of cleaning the air passages.

因为燃料从定量装置10进入到通道20内要克服腔内的空气压力,该压力大致为空气通道13内的压力,所以有必要根据这个空气压力调整燃料的压力,以使燃料的定量精度达到要求。多个定量装置和喷射系统是装在一个整体式的通道组件11中的,因此装在通道组件11中的单个调压器要将所有的定量装置和喷射系统的压力调整到需要的值上。Because the fuel enters the channel 20 from the dosing device 10 to overcome the air pressure in the cavity, which is roughly the pressure in the air channel 13, so it is necessary to adjust the fuel pressure according to the air pressure so that the quantitative accuracy of the fuel meets the requirements. . Multiple dosing devices and injection systems are housed in an integral channel assembly 11, so a single pressure regulator in channel assembly 11 regulates the pressures of all the dosing devices and injection systems to desired values.

图6是一种典型调压器的附图。调压器60上有一个本体61,本体上有燃料部分62和空气部分63,这两部分是由锻造出的边缘64固接在一起的。燃料部分62与孔56是过盈配合。孔56穿过通道组件11的外壁21,还通过壁74位于供油通道14和回油通道15之间的部分。回油通道15通过燃料部分62周壁上的孔59与燃料部分62的中心空腔相通。在本体61的燃料部分62和通道组件11的壁面之间有一“ 0”形密封环65。燃料部分62也可以部分地穿过壁25位于供油通道14和空气通道13之间的部分,同时空气部分63穿过壁25的其它部分进入到空气通道13内。Figure 6 is a drawing of a typical voltage regulator. The pressure regulator 60 has a body 61 having a fuel portion 62 and an air portion 63 which are held together by a forged edge 64 . Fuel portion 62 is an interference fit with bore 56 . The hole 56 passes through the outer wall 21 of the channel assembly 11 and also through the portion of the wall 74 between the oil supply channel 14 and the oil return channel 15 . The oil return channel 15 communicates with the central cavity of the fuel part 62 through the hole 59 on the peripheral wall of the fuel part 62 . There is an "O" shaped sealing ring 65 between the fuel portion 62 of the body 61 and the wall of the channel assembly 11. The fuel portion 62 may also partly pass through the portion of the wall 25 between the fuel supply passage 14 and the air passage 13 , while the air portion 63 passes through the other portion of the wall 25 into the air passage 13 .

燃料部分62和空气部分63两个相对的轴肩箍紧一个膜片66,以隔开燃料和空气。在其正常的工作状态下,膜片是可以弯曲的。预先加载的弹簧67压在压板68上。压板是紧固在膜片66上的。弹簧施加的力可由调整塞69调整。调整塞的中心有一个孔,有用以连通空气通道13和空气部分63的内部。Two opposing shoulders of the fuel portion 62 and the air portion 63 grip a diaphragm 66 to separate the fuel from the air. In its normal working condition, the diaphragm is flexible. A preloaded spring 67 presses against a pressure plate 68 . The pressure plate is fastened to the diaphragm 66 . The force exerted by the spring can be adjusted by the adjustment plug 69 . There is a hole in the center of the adjustment plug, which is used to communicate with the inside of the air passage 13 and the air part 63 .

压板68上带有一个阀盘70,该阀盘70与套筒71共同动作,套筒71限定了孔72。本体61上有螺纹孔73,回油连接器3拧入该孔,释放的燃料便可以流回到油箱内。如图7的具体描述,阀盘70上有个与之做成一体的球头90,该球头置于压板68的圆锥形腔室91中,档板92将球头90卡住,组装在腔室中。压板68的锻造边缘93在整个圆周上将档板固定。档板92上开一个从中心孔94到周边的沟槽,以便阀盘70的颈部95进入到中心孔94内。弹簧96的推动作用,使球头90靠向压板92,保证阀盘70对中。这种结构提高了带有出口套筒71的阀盘70的密封精度。The pressure plate 68 carries a valve disc 70 which cooperates with a sleeve 71 which defines an aperture 72 . There is a threaded hole 73 on the body 61, and the oil return connector 3 is screwed into the hole, so that the released fuel can flow back into the fuel tank. As specifically described in Figure 7, there is a ball head 90 integrated with it on the valve disc 70, the ball head is placed in the conical chamber 91 of the pressure plate 68, the baffle plate 92 clamps the ball head 90, assembled in chamber. The forged edge 93 of the pressure plate 68 secures the barrier over its entire circumference. A groove is opened on the baffle plate 92 from the central hole 94 to the periphery, so that the neck 95 of the valve disc 70 enters in the central hole 94 . The pushing effect of the spring 96 makes the ball head 90 lean against the pressing plate 92 to ensure the centering of the valve disc 70 . This structure improves the sealing accuracy of the valve disc 70 with the outlet sleeve 71 .

应该了解到,上述调压器的结构还可以改变,使其具有装在膜片66上的套筒71和静止的阀盘。It should be understood that the construction of the pressure regulator described above could also be modified to have a sleeve 71 mounted on the diaphragm 66 and a stationary valve disc.

在使用过程中,如果由于膜片66上承受的气压和弹簧67的综合作用效果,使燃料压力低于预定值,则阀盘70将停止在将孔72关阀的位置(如图示)。如果压力不断升高,直至足以克服共同作用在膜片66上的气压和弹簧67的负载,那么先是膜片如图中所示向右弯曲,进而推动阀盘移动,打开出口72,这时释放的燃料便经孔72回流到油箱内。During use, if the fuel pressure is lower than a predetermined value due to the combined effect of the air pressure on the diaphragm 66 and the spring 67, the valve disc 70 will stop at the position for closing the orifice 72 (as shown). If the pressure continues to increase until it is sufficient to overcome the combined air pressure on the diaphragm 66 and the load of the spring 67, then the diaphragm first bends to the right as shown in the figure, and then pushes the valve disc to move, opening the outlet 72, and release The fuel just returns in the fuel tank through hole 72.

因此上述这种结构的调压器基本上可以装在通道组件11里,这样就不会增加发动机和燃料系统的外形尺寸。同时,在该结构中,由于通道组件中有一定量的燃料,可以抑制调压器工作时产生的压力波动。Therefore, the pressure regulator with the above-mentioned structure can basically be installed in the channel assembly 11, so that the external dimensions of the engine and the fuel system will not be increased. At the same time, in this structure, since there is a certain amount of fuel in the channel assembly, the pressure fluctuation generated when the pressure regulator is working can be suppressed.

应该了解到,上述的燃料喷射系统可以用于各种形式的内燃机,如不论是四冲程或是二冲程的发动机。采用上述燃料喷射系统的发动机特别适用于作为各种运输工具的发动机,如用作飞机、车辆和船只等的发动机、在船只上使用时,可用作外装船用发动机。It should be understood that the fuel injection system described above can be used with various types of internal combustion engines, whether four-stroke or two-stroke. The engine employing the above-mentioned fuel injection system is particularly suitable as an engine of various means of transportation, such as an engine of an airplane, a vehicle, and a ship, and when used on a ship, it can be used as an external marine engine.

Claims (5)

1.一种内燃机燃料喷射系统,包括:1. A fuel injection system for an internal combustion engine, comprising: 一本体(18),其中具有与一个喷口内腔(33)连通的燃料腔(80),有选择地输送燃料到该燃料腔(80)的定量装置(10),a body (18) having therein a fuel chamber (80) communicating with a nozzle lumen (33), a dosing device (10) for selectively delivering fuel to the fuel chamber (80), 一个本体(18)内的喷口(32),其在该内腔(33)和本体(18)外部之间形成连通,a spout (32) in the body (18), which establishes communication between the lumen (33) and the exterior of the body (18), 阀门装置(34,35)具有一个阀件(34),该阀件(34)宜于与该喷口(32)配合,以便有选择地打开和关闭该喷口(32),还具有一个装在该阀件(34)上的阀杆(35),The valve means (34, 35) has a valve member (34) adapted to cooperate with the spout (32) to selectively open and close the spout (32), and also has a The valve stem (35) on the valve member (34), 在本体(18)内可有选择地操纵的电磁装置(40,41),该电磁装置(40,41)可操纵地连接到该阀杆(35)上,以将该阀件(34)移动以便打开和关闭该喷口(32),A selectively operable electromagnetic device (40, 41) within the body (18), which is operatively connected to the valve stem (35) to move the valve member (34) to open and close the spout (32), 用以至少在该喷口(32)打开以便从燃料腔(80)向该敞开的喷口(32)并通过该喷口(32)供应燃料时给燃料腔(80)供气的供气装置,air supply means for supplying air to the fuel chamber (80) at least when the nozzle (32) is open for supplying fuel from the fuel chamber (80) to the open nozzle (32) and through the nozzle (32), 其特征在于该阀杆(35)从该喷口内腔(33)通过电磁装置(40,41)延伸到燃料腔(80),和一个通过该阀杆(35)将该喷口内腔(33)与该燃料腔(80)连通的通道(20),从而使燃料腔(80)的燃料通过阀杆通道(20)和喷口内腔(33)输送到该敞开的喷口(32)并通过该喷口(32)。It is characterized in that the valve stem (35) extends from the nozzle cavity (33) to the fuel chamber (80) through the electromagnetic device (40, 41), and a valve stem (35) extends the nozzle cavity (33) A passage (20) communicating with the fuel chamber (80) so that fuel from the fuel chamber (80) is delivered to the open nozzle (32) through the valve stem passage (20) and the nozzle lumen (33) and through the nozzle (32). 2.如权利要求1所述的燃料喷射系统,其特征在于该电磁装置(40,41)具有一个静止的电磁线圈(40),该电磁线圈(40)同心地装在该阀杆(35)周围,还具一个有固定到该阀杆(35)上的衔铁(41)。2. The fuel injection system according to claim 1, characterized in that the electromagnetic device (40, 41) has a stationary electromagnetic coil (40), which is concentrically mounted on the valve stem (35) Around, also have an armature (41) that is fixed on this valve rod (35). 3.如权利要求2所述的燃料喷射系统,其特征在于该衔铁(41)基本上位于该阀杆(35)和该电磁线圈(40)之间的环形空间内。3. The fuel injection system according to claim 2, characterized in that the armature (41) is located substantially in the annular space between the valve stem (35) and the electromagnetic coil (40). 4.如权利要求1所述的燃料喷射系统,其特征在于该阀杆(35)是空心并在其靠近该阀件(34)处的壁面上有一个小孔(43),以使燃料从该空心阀杆(35)内部经过进入到该喷口内腔(33)。4. The fuel injection system according to claim 1, characterized in that the valve stem (35) is hollow and has a small hole (43) on its wall near the valve member (34), so that fuel flows from The interior of the hollow valve stem (35) passes into the spout cavity (33). 5.一种内燃机喷射系统具有如上述权利要求1至4中任意一个中所述的装置以便用以向内燃机喷射燃料。5. An injection system for an internal combustion engine having a device as claimed in any one of claims 1 to 4 for injecting fuel into an internal combustion engine.
CN 91104728 1987-04-03 1991-07-08 Improved Fuel Injection System of Internal Combustion Engine Expired - Fee Related CN1034361C (en)

Applications Claiming Priority (3)

Application Number Priority Date Filing Date Title
AUPI01246 1987-04-03
AUPI124687 1987-04-03
CN88102779A CN1013984B (en) 1987-04-03 1988-03-31 Engine Fuel Injection System

Related Parent Applications (1)

Application Number Title Priority Date Filing Date
CN88102779A Division CN1013984B (en) 1987-04-03 1988-03-31 Engine Fuel Injection System

Publications (2)

Publication Number Publication Date
CN1061464A CN1061464A (en) 1992-05-27
CN1034361C true CN1034361C (en) 1997-03-26

Family

ID=25643253

Family Applications (1)

Application Number Title Priority Date Filing Date
CN 91104728 Expired - Fee Related CN1034361C (en) 1987-04-03 1991-07-08 Improved Fuel Injection System of Internal Combustion Engine

Country Status (1)

Country Link
CN (1) CN1034361C (en)

Families Citing this family (2)

* Cited by examiner, † Cited by third party
Publication number Priority date Publication date Assignee Title
DE102012224004A1 (en) * 2012-12-20 2014-06-26 Robert Bosch Gmbh High-pressure injection
CN109519578A (en) * 2018-12-26 2019-03-26 上海喆焰能源科技有限公司 A kind of natural gas temperature-control safety valve

Also Published As

Publication number Publication date
CN1061464A (en) 1992-05-27

Similar Documents

Publication Publication Date Title
CN88102779A (en) Improvement of Engine Fuel Injection System
EP0876553B1 (en) Method and arrangement for mounting fuel rails
US4771754A (en) Pneumatic direct cylinder fuel injection system
US4966120A (en) Fuel injection system assembly
US5056309A (en) Internal combustion engine, particularly otto engine
US5094217A (en) Air fuel injection system
US5662077A (en) Apparatus for improving intake charge vaporization and induction for an internal combustion engine
US5123399A (en) Air fuel injector assembly
CN1127617C (en) Fuel feeding device of engine
CA3009556A1 (en) Internal combustion engine with gas feeding system
CN1312886A (en) Fuel injection system control method
US6655337B2 (en) V-type 2-cylinder engine
US5237966A (en) Fuel injection system for the two cycle engine
CN1034361C (en) Improved Fuel Injection System of Internal Combustion Engine
US20040050376A1 (en) Stratified scavenging mechanism of a two-stroke engine
CN1871427B (en) Internal combustion engine, an engine head and a fuel distribution line
JP3594964B2 (en) Especially internal combustion engine with fuel injection device such as single cylinder diesel engine
EP0421356A1 (en) Fuel injection system for an engine
US6837220B2 (en) Multiple cylinder engine
JP2761422B2 (en) Fuel injection engine
TW512201B (en) Two-stroke-cycle internal combustion engine using pneumatically assisted direct fuel injection
CN1056912C (en) Fuel jetting method for internal combustion engine, device and fuel jetting valve therefor
JP4220510B2 (en) V-type 2-cylinder engine
CN86100476A (en) Fuel supply with fuel atomizer
CN219139242U (en) Air clamping direct injection system structure of aviation heavy oil piston engine

Legal Events

Date Code Title Description
C10 Entry into substantive examination
SE01 Entry into force of request for substantive examination
C06 Publication
PB01 Publication
C14 Grant of patent or utility model
GR01 Patent grant
C19 Lapse of patent right due to non-payment of the annual fee
CF01 Termination of patent right due to non-payment of annual fee