CN103414132A - Wall wiring cassette - Google Patents
Wall wiring cassette Download PDFInfo
- Publication number
- CN103414132A CN103414132A CN2013103677584A CN201310367758A CN103414132A CN 103414132 A CN103414132 A CN 103414132A CN 2013103677584 A CN2013103677584 A CN 2013103677584A CN 201310367758 A CN201310367758 A CN 201310367758A CN 103414132 A CN103414132 A CN 103414132A
- Authority
- CN
- China
- Prior art keywords
- junction box
- main body
- slide rail
- chute
- wall
- Prior art date
- Legal status (The legal status is an assumption and is not a legal conclusion. Google has not performed a legal analysis and makes no representation as to the accuracy of the status listed.)
- Pending
Links
Images
Landscapes
- Connections Arranged To Contact A Plurality Of Conductors (AREA)
Abstract
本发明公开了一种墙壁接线暗盒,由接线暗盒主体及金属支架构成,金属支架至少对应设置两个,由滑轨及固定板构成,且滑轨与固定板呈“L”状,所述的固定板上设置至少一个长孔固定螺孔及至少一个定位螺栓孔,滑轨一面为水平面,另一面设置滑槽,接线暗盒主体至少两个对应外侧面设置与滑槽对应的滑块条,滑轨及固定板为一体式结构,滑块条与接线暗盒主体为一体式结构。本发明安装方便,极大的增加了接线暗盒安装的稳定性,并且极大的方便接线暗盒主体损坏后更换操作,且在更换接线暗盒主体的同时不对墙体造成损害,从而在提升接线暗盒主体安装质量的同时,也极大的保护墙面不受损害,提高了接线暗盒主体安装的美观度。
The invention discloses a wall junction box, which is composed of a main body of the junction box and a metal bracket, at least two metal brackets are arranged correspondingly, and is composed of a slide rail and a fixing plate, and the slide rail and the fixing plate are in an "L" shape. At least one long hole fixing screw hole and at least one positioning bolt hole are arranged on the fixed plate, one side of the slide rail is a horizontal plane, and the other side is provided with a chute, and at least two corresponding outer sides of the main body of the junction box are provided with slider bars corresponding to the chute. The rail and the fixed plate are integrated, and the slider bar and the main body of the junction box are integrated. The invention is easy to install, greatly increases the stability of the installation of the junction box, and greatly facilitates the replacement operation after the main body of the junction box is damaged, and does not cause damage to the wall while replacing the main body of the junction box, so that the main body of the junction box is lifted. While the installation quality is high, the wall surface is also greatly protected from damage, which improves the aesthetics of the installation of the main body of the junction box.
Description
技术领域 technical field
本发明涉及一种墙壁接线暗盒,属电力安装工具领域。 The invention relates to a wall junction box, which belongs to the field of electric installation tools.
背景技术 Background technique
墙壁接线暗盒是目前众多终端用电户的首选设备,其几乎广泛应用于各个领域之中,其最大的使用特定就是可以将做种电气设备集中管理并埋设在墙壁中,但目前市面上所使用的接线盒暗,在安装时,需要在墙壁上打孔然后利用螺栓将其直接固定,但当接线暗盒因损坏等原因需要更换时,需要多次反复使用同一在墙壁上的螺栓孔,但多次使用后极易造成在墙壁上的螺栓孔损坏甚至导致墙壁损坏而必须更换接线盒的安装位置,从而在增加了接线盒的安装难度的同时,不仅严重降低了美观效果也对墙壁结构造成了巨大的损害。 The wall junction box is the preferred equipment for many end-users at present, and it is widely used in almost every field. The junction box is dark. When installing, it is necessary to drill holes on the wall and then fix it directly with bolts. However, when the junction box needs to be replaced due to damage or other reasons, it is necessary to use the same bolt hole on the wall repeatedly. After the first use, it is very easy to cause damage to the bolt holes on the wall or even damage the wall, and the installation position of the junction box must be replaced, which increases the difficulty of installation of the junction box, not only seriously reduces the aesthetic effect but also causes damage to the wall structure. Huge damage.
发明内容 Contents of the invention
本发明目的就在于克服上述不足,提供一种墙壁接线暗盒。 The purpose of the present invention is to overcome the above disadvantages and provide a wall junction box.
为实现上述目的,本发明是通过以下技术方案来实现: To achieve the above object, the present invention is achieved through the following technical solutions:
一种墙壁接线暗盒,由接线暗盒主体及金属支架构成,所述金属支架至少对应设置两个,由滑轨及固定板构成,且滑轨与固定板呈“L”状,所述的固定板上设置至少一个长孔固定螺孔及至少一个定位螺栓孔,所述的滑轨一面为水平面,另一面设置滑槽,所述的接线暗盒主体至少两个对应外侧面设置与滑槽对应的滑块条,所述的滑轨及固定板为一体式结构,所述的滑块条与接线暗盒主体为一体式结构。 A wall junction box, which is composed of a main body of the junction box and a metal bracket, at least two metal brackets are arranged correspondingly, and is composed of a slide rail and a fixing plate, and the slide rail and the fixing plate are in an "L" shape, and the fixing plate At least one long hole fixing screw hole and at least one positioning bolt hole are arranged on the top, one side of the slide rail is a horizontal plane, and the other side is provided with a chute, and at least two corresponding outer sides of the main body of the junction box are provided with slides corresponding to the chute. The block bar, the slide rail and the fixing plate are of an integral structure, and the slider bar and the junction box main body are of an integral structure.
滑槽为“V”型槽或燕尾槽。 The chute is "V" groove or dovetail groove.
本发明 this invention
安装方便,极大的增加了接线暗盒安装的稳定性,并且极大的方便接线暗盒主体损坏后更换操作,且在更换接线暗盒主体的同时不对墙体造成损害,从而在提升接线暗盒主体安装质量的同时,也极大的保护墙面不受损害,提高了接线暗盒主体安装的美观度。 It is easy to install, greatly increases the stability of the installation of the junction box, and greatly facilitates the replacement operation after the main body of the junction box is damaged, and does not cause damage to the wall while replacing the main body of the junction box, thereby improving the installation quality of the main body of the junction box At the same time, it also greatly protects the wall from damage and improves the aesthetics of the installation of the main body of the junction box.
附图说明 Description of drawings
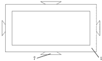
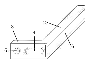
图1为金属支架结构示意图; Fig. 1 is the structural schematic diagram of metal support;
图2为接线暗盒主体结构示意图。 Fig. 2 is a schematic diagram of the main structure of the junction box.
具体实施方式 Detailed ways
如图1和2所示,一种墙壁接线暗盒,由接线暗盒主体1及金属支架构成,所述金属支架至少对应设置两个,由滑轨2及固定板3构成,且滑轨2与固定板3呈“L”状,所述的固定板3上设置至少一个长孔固定螺孔4及至少一个定位螺栓孔5,所述的滑轨2一面为水平面,另一面设置滑槽6,所述的接线暗盒主体1至少两个对应外侧面设置与滑槽6对应的滑块条7,所述的滑轨2及固定板3为一体式结构,所述的滑块条7与接线暗盒主体1为一体式结构。
As shown in Figures 1 and 2, a wall junction box is composed of a junction box
在对接线暗盒主体安装时,首先在墙壁的预留安装槽里通过金属架上的定位螺栓孔将其固定安装好,然后将接线暗盒主体通过滑块与滑槽连接防止到墙壁预留的安装槽里,并通过金属架固定板上设置的长孔固定螺孔将接线暗盒主体安装定位即可。 When installing the main body of the junction box, first fix it in the reserved installation slot on the wall through the positioning bolt holes on the metal frame, and then connect the main body of the junction box to the chute through the slider to prevent it from being installed on the wall. The main body of the junction box can be installed and positioned through the long hole fixing screw holes provided on the metal frame fixing plate.
当接线暗盒主体损坏时,只需要松开金属架固定板上设置的长孔固定螺孔处的螺栓即可将接线暗盒主体取出并更换安装新的接线暗盒主体,从而避免了传统的多次重复安装接线暗盒主体时对墙体造成的损害。 When the main body of the junction box is damaged, you only need to loosen the bolts at the long hole fixing screw holes on the metal frame fixing plate to take out the main body of the junction box and replace it with a new one, thus avoiding the traditional multiple repetitions Damage to the wall caused by the installation of the body of the junction box.
Claims (2)
Priority Applications (1)
| Application Number | Priority Date | Filing Date | Title |
|---|---|---|---|
| CN2013103677584A CN103414132A (en) | 2013-08-22 | 2013-08-22 | Wall wiring cassette |
Applications Claiming Priority (1)
| Application Number | Priority Date | Filing Date | Title |
|---|---|---|---|
| CN2013103677584A CN103414132A (en) | 2013-08-22 | 2013-08-22 | Wall wiring cassette |
Publications (1)
| Publication Number | Publication Date |
|---|---|
| CN103414132A true CN103414132A (en) | 2013-11-27 |
Family
ID=49607125
Family Applications (1)
| Application Number | Title | Priority Date | Filing Date |
|---|---|---|---|
| CN2013103677584A Pending CN103414132A (en) | 2013-08-22 | 2013-08-22 | Wall wiring cassette |
Country Status (1)
| Country | Link |
|---|---|
| CN (1) | CN103414132A (en) |
Cited By (6)
| Publication number | Priority date | Publication date | Assignee | Title |
|---|---|---|---|---|
| CN104224487A (en) * | 2014-09-24 | 2014-12-24 | 河南科技大学第一附属医院 | Radial artery puncturing arm support for catheter bed |
| CN106786235A (en) * | 2016-12-14 | 2017-05-31 | 浙江亚厦装饰股份有限公司 | A kind of spool or wire casing fastener and installation method |
| CN107017590A (en) * | 2017-04-25 | 2017-08-04 | 中国五冶集团有限公司 | A kind of electric box built-in process |
| CN107060329A (en) * | 2017-05-24 | 2017-08-18 | 中建四局第三建筑工程有限公司 | A kind of line box for being easy to be close to vertical formwork and its installation method |
| CN108183368A (en) * | 2017-12-21 | 2018-06-19 | 张耀东 | A kind of magazine |
| CN108429222A (en) * | 2018-05-16 | 2018-08-21 | 江西三龙电气有限公司 | A kind of outdoor high voltage cable branch box |
Citations (6)
| Publication number | Priority date | Publication date | Assignee | Title |
|---|---|---|---|---|
| CN2100704U (en) * | 1991-09-29 | 1992-04-01 | 湖南省桃源县轻型汽车修造厂 | Integral-extension secret junction box |
| JPH09329115A (en) * | 1996-06-10 | 1997-12-22 | Burest Kogyo Kenkyusho Co Ltd | Long bolt support for light stud |
| JP2001037046A (en) * | 1999-05-05 | 2001-02-09 | Thomas & Betts Corp <T&B> | Controllable two piece clip for fitting article to wall stud |
| US7378590B1 (en) * | 2006-12-15 | 2008-05-27 | Greg Herth | Electrical box with multi-mount features |
| CN201230179Y (en) * | 2008-07-11 | 2009-04-29 | 王广柱 | Embedded wire branching box for thin wall |
| CN201689995U (en) * | 2010-04-12 | 2010-12-29 | 南银燕 | Junction box of batch meter |
-
2013
- 2013-08-22 CN CN2013103677584A patent/CN103414132A/en active Pending
Patent Citations (6)
| Publication number | Priority date | Publication date | Assignee | Title |
|---|---|---|---|---|
| CN2100704U (en) * | 1991-09-29 | 1992-04-01 | 湖南省桃源县轻型汽车修造厂 | Integral-extension secret junction box |
| JPH09329115A (en) * | 1996-06-10 | 1997-12-22 | Burest Kogyo Kenkyusho Co Ltd | Long bolt support for light stud |
| JP2001037046A (en) * | 1999-05-05 | 2001-02-09 | Thomas & Betts Corp <T&B> | Controllable two piece clip for fitting article to wall stud |
| US7378590B1 (en) * | 2006-12-15 | 2008-05-27 | Greg Herth | Electrical box with multi-mount features |
| CN201230179Y (en) * | 2008-07-11 | 2009-04-29 | 王广柱 | Embedded wire branching box for thin wall |
| CN201689995U (en) * | 2010-04-12 | 2010-12-29 | 南银燕 | Junction box of batch meter |
Cited By (7)
| Publication number | Priority date | Publication date | Assignee | Title |
|---|---|---|---|---|
| CN104224487A (en) * | 2014-09-24 | 2014-12-24 | 河南科技大学第一附属医院 | Radial artery puncturing arm support for catheter bed |
| CN106786235A (en) * | 2016-12-14 | 2017-05-31 | 浙江亚厦装饰股份有限公司 | A kind of spool or wire casing fastener and installation method |
| CN106786235B (en) * | 2016-12-14 | 2018-05-29 | 浙江亚厦装饰股份有限公司 | A kind of spool or wire casing fastener and installation method |
| CN107017590A (en) * | 2017-04-25 | 2017-08-04 | 中国五冶集团有限公司 | A kind of electric box built-in process |
| CN107060329A (en) * | 2017-05-24 | 2017-08-18 | 中建四局第三建筑工程有限公司 | A kind of line box for being easy to be close to vertical formwork and its installation method |
| CN108183368A (en) * | 2017-12-21 | 2018-06-19 | 张耀东 | A kind of magazine |
| CN108429222A (en) * | 2018-05-16 | 2018-08-21 | 江西三龙电气有限公司 | A kind of outdoor high voltage cable branch box |
Similar Documents
| Publication | Publication Date | Title |
|---|---|---|
| CN103414132A (en) | Wall wiring cassette | |
| CN204882667U (en) | Electric energy meter | |
| CN205196188U (en) | Tight lock power adjustable wedge locking strip | |
| CN204835454U (en) | Adjustable cable wire rack | |
| CN203119313U (en) | Trapezoid busbar support | |
| CN204889409U (en) | Frame curtain frame mil mosaic structure | |
| CN204141051U (en) | Assembly type cable bracket | |
| CN204256011U (en) | Terminal box | |
| CN205480080U (en) | A wall built -up support for installing electric cabinet | |
| CN107768178B (en) | Copper busbar fixing device | |
| CN205632169U (en) | Electrically conductive commodity circulation track | |
| CN205033122U (en) | Circuit breaker insulating cylinder pre -installation anchor clamps | |
| CN203560697U (en) | Device mount | |
| CN204257328U (en) | For the adjustable copper bar installation structure of dry-type transformer case | |
| CN203926271U (en) | A kind of simple and easy chute-type car enclosure panel link | |
| CN202362339U (en) | Terminal box | |
| CN202103322U (en) | Electric appliance element installing base | |
| CN205342130U (en) | A screw clamping mechanism for clamping electrodes for mold processing | |
| CN204012207U (en) | Regulator cubicle electric component installed part | |
| CN204297876U (en) | Driving frame | |
| CN103517609A (en) | Stand column for equipment cabinet door frame and equipment cabinet door frame with stand column | |
| CN203676523U (en) | Base drawer basket | |
| CN203420098U (en) | Fixed blade fixing rack | |
| CN106300121A (en) | The low-tension switch cabinet vertical row of abnormity specification | |
| CN204258042U (en) | The lead sealing board mounting structure of low-voltage cabinet |
Legal Events
| Date | Code | Title | Description |
|---|---|---|---|
| C06 | Publication | ||
| PB01 | Publication | ||
| ASS | Succession or assignment of patent right |
Owner name: JIAOZUO POWER SUPPLY COMPANY, STATE GRID HUNAN ELE Effective date: 20131115 Owner name: STATE ELECTRIC NET CROP. Free format text: FORMER OWNER: JIAOZUO POWER SUPPLY COMPANY, STATE GRID HUNAN ELECTRIC POWER COMPANY Effective date: 20131115 |
|
| C41 | Transfer of patent application or patent right or utility model | ||
| COR | Change of bibliographic data |
Free format text: CORRECT: ADDRESS; FROM: 454150 JIAOZUO, HENAN PROVINCE TO: 100031 XICHENG, BEIJING |
|
| TA01 | Transfer of patent application right |
Effective date of registration: 20131115 Address after: 100031 West Street, Beijing, Xicheng District, No. 86, No. Applicant after: State Grid Corporation of China Applicant after: Jiaozuo Power Supply Company of State Grid Henan Electric Power Company Address before: 454150 Jiaozuo power supply company, State Grid, Henan electric power company, No. 299, South Tower Road, Jiaozuo, Henan Applicant before: Jiaozuo Power Supply Company of State Grid Henan Electric Power Company |
|
| C10 | Entry into substantive examination | ||
| SE01 | Entry into force of request for substantive examination | ||
| RJ01 | Rejection of invention patent application after publication |
Application publication date: 20131127 |
|
| RJ01 | Rejection of invention patent application after publication |
