CN103367897A - 小型化高隔离度宽频带双极化印刷偶极子天线 - Google Patents

小型化高隔离度宽频带双极化印刷偶极子天线 Download PDF

Info

Publication number
CN103367897A
CN103367897A CN2013102879485A CN201310287948A CN103367897A CN 103367897 A CN103367897 A CN 103367897A CN 2013102879485 A CN2013102879485 A CN 2013102879485A CN 201310287948 A CN201310287948 A CN 201310287948A CN 103367897 A CN103367897 A CN 103367897A
Authority
CN
China
Prior art keywords
antenna dielectric
antenna
dielectric board
board
dielectric plate
Prior art date
Legal status (The legal status is an assumption and is not a legal conclusion. Google has not performed a legal analysis and makes no representation as to the accuracy of the status listed.)
Granted
Application number
CN2013102879485A
Other languages
English (en)
Other versions
CN103367897B (zh
Inventor
杨仕文
苟俨山
李潇
顾爱军
何小峰
石星宇
刘传
Current Assignee (The listed assignees may be inaccurate. Google has not performed a legal analysis and makes no representation or warranty as to the accuracy of the list.)
University of Electronic Science and Technology of China
Original Assignee
University of Electronic Science and Technology of China
Priority date (The priority date is an assumption and is not a legal conclusion. Google has not performed a legal analysis and makes no representation as to the accuracy of the date listed.)
Filing date
Publication date
Application filed by University of Electronic Science and Technology of China filed Critical University of Electronic Science and Technology of China
Priority to CN201310287948.5A priority Critical patent/CN103367897B/zh
Publication of CN103367897A publication Critical patent/CN103367897A/zh
Application granted granted Critical
Publication of CN103367897B publication Critical patent/CN103367897B/zh
Expired - Fee Related legal-status Critical Current
Anticipated expiration legal-status Critical

Links

Images

Landscapes

  • Variable-Direction Aerials And Aerial Arrays (AREA)
  • Aerials With Secondary Devices (AREA)

Abstract

本发明公开了一种小型化高隔离度宽频带双极化印刷偶极子天线,属一种偶极子天线,包括反射板、第一天线介质板以及呈交叉固定的第二天线介质板与第三天线介质板,所述的第二天线介质板与第三天线介质板安装在反射板上,所述的第一天线介质板通过定位孔固定在第二天线介质板与第三天线介质板的上方,所述第一天线介质板与反射板平行,且由至少三个支撑柱固定并分别置于第二天线介质板与第三天线介质板的上端面和下端面。本发明最大的创新在于,将三角形偶极子臂和矩形偶极子臂结合,实现了小尺寸的印刷形式的偶极子天线,并且同时获得了宽频带、高隔离度、低交叉极化等优良性能。

Description

小型化高隔离度宽频带双极化印刷偶极子天线
技术领域
本发明涉及一种偶极子天线,更具体的说,本发明主要涉及一种小型化高隔离度宽频带双极化印刷偶极子天线。
背景技术
在过去十多年,3G系统已经日趋成熟并在我国广泛被使用,用于下一代移动通信的IMT-Advanced通信系统的研究成为现阶段的重中之重。2012年1月18日,国际电信联盟在日内瓦举行的2012年无线电通信全会全体会议上,正式审议通过将LTE-Advanced和Wireless MAN-Advanced(802.16m)技术规范确立为IMT-Advanced(俗称“4G”)国际标准,中国主导制定的TD-LTE-Advanced和FDD-LTE-Advance同时并列成为4G国际标准。作为高新技术的通信行业,因其在当今社会有着举足轻重的地位,已被国家列入重点支持的十大产业之一。为了确保我国在未来的通信标准制定和技术研究中取得领先地位,必须迅速开展对IMT-Advanced相关方面的技术研究工作。研究满足IMT-Advanced系统要求的基站硬件设备则是进行相关通信技术研究的基础。
IMT-Advanced是ITU为满足未来10~15年全球移动通信需求而启动的,包括了超越IMT-2000的新性能,后者自2000年以来已经广泛部署,被称为第三代移动技术。现在,国际电联已经规范了下一代全球宽带通信—IMT-Advanced的标准,该技术可提供各种移动和固定网络支持的分组电信业务。新系统可大大提高传输速度,降低成本,推动多媒体应用,改善无线通信资源管理。IMT-Advanced技术需要实现高的数据率和大的系统容量,目标峰值速率为:低速移动、热点覆盖场景下1Gbit/s以上,高速移动、广域覆盖场景下100Mbit/s。
在IMT-advanced系统中,智能天线、波束形成是不可缺少的重要技术。基站天线在移动通信系统中扮演着承上启下的作用,是电磁波发射和接受的传感器。天线的性能对整个通信系统起着决定性的作用,其成本投入仅占到整个基站总成本的百分之几的天线,然而其性能的优良却可影响基站系统可靠性的30%~50%,因此,一副高性能的天线可放宽系统的设计要求且提高整个系统的性能。IMT-Advanced系统要求基站天线工作在1710MHz~2690MHz频段内,相对带宽为44.5%。电压驻波比(VSWR)小于1.5。
在移动通信中,印刷偶极子天线因其具有带宽宽,重量轻,结构简单、易于集成、易于批量生产的优点而被广泛应用。但是在良好性能的前提下,一般的偶极子天线具有宽频带的同时剖面或者面积都比较大。国内外众多专家学者对偶极子天线进行了广泛而深入的研究。香港城市大学Kwai-Man Luk等人在专利US7843389B2中公布了一种宽带磁电偶极子天线。将电偶极子和磁偶极子有效结合,利用他们方向图互补的原理,实现了在宽频带内低交叉极化,方向图对称,增益稳定的性能。此天线实现了大于50%的带宽,并且剖面较低,能实现双极化特性。但是由于采用金属结构,使得加工精度及重量方面不好控制,并且其馈电结构使得天线整体平面尺寸大于一般偶极子天线。RongLin Li在IEEETRANSACTIONS ON ANTENNAS AND PROPAGATION,2009.发表的题为“Equivalent-Circuit Analysis of a Broadband Printed Dipole with Adjusted IntegratedBalun and an Array for Base Station Applications”中介绍了一种印刷偶极子天线单元,该天线工作带宽为1.7GHz-2.5GHz。但是剖面高,且不具有双极化特性。重庆合基电讯科技有限公司在专利CN201120083758.8中公布了一种双极化偶极子天线。该天线具备一般偶极子天线的性能。但是其馈电结构使得天线具有剖面较高的劣势,不易于实现大型阵列结构。
发明内容
本发明的目的之一在于解决上述不足,提供一种小型化高隔离度宽频带双极化印刷偶极子天线,以期望解决现有技术中偶极子天线尺寸过大的问题。
为解决上述的技术问题,本发明采用以下技术方案:
本发明提供了一种小型化高隔离度宽带双极化印刷偶极子天线单元,包括反射板、第一天线介质板以及呈交叉固定的第二天线介质板与第三天线介质板,所述的第二天线介质板与第三天线介质板安装在反射板上,所述的第一天线介质板通过定位孔固定在第二天线介质板与第三天线介质板的上方,且所述天线第一介质板由至少三个支撑柱支撑并置于反射板以及第二天线介质板与第三天线介质板的上方。所述的第一天线介质板的下表面印有四个三角形贴片,所述第二天线介质板与第三天线介质板的其中一面上均印有一对矩形贴片,另一面分别印有馈电巴伦;所述的四个三角形贴片和四个矩形贴片一一对应分别相连,且短接在反射板之上;所述的馈电巴伦与同轴探针相连接。
进一步的技术方案是:所述的第二天线介质板与第三天线介质板呈正交固定,且第二天线介质板的下方靠近中心处与第三天线介质板的上方靠近中心处设置有相互配合的开口;所述第二天线介质板与第三天线介质板交叉固定后其上端面与下端面齐平。
进一步的技术方案是:所述的第二天线介质板与第三天线介质板的几何大小完全相同;所述馈电巴伦与其相正交的矩形贴片之间保持一定间隙,且所述的其中一个馈电巴伦中间弯折与另一个馈电巴伦隔开。
更进一步的技术方案是:所述的三角形贴片左右对称放置,大小形状完全一样,且三角形每个角均为锐角;所述的矩形贴片也是左右对称放置,大小形状也完全一样;且所述的三角形贴片的轴对称中心和矩形贴片的轴对称中心以及反射板和第一天线介质版的中心重合。所述的三角形贴片之间的间距与矩形贴片之间的间距一样大。
更进一步的技术方案是:所述的第一天线介质板下表面上设置的三角形贴片互相镜像的两对朝向分别为+/-45°;所述的第二天线介质板与第三天线介质板其中一面上设置的矩形贴片为+/-45°。
与现有技术相比,本发明的有益效果之一是:通过将平面印刷偶极子和垂直印刷偶极子相结合实现了偶极子天线的小型化。相对传统的双极化偶极子天线而言,有效的减小了剖面高度以及平面尺寸。天线单元在驻波小于1.5的情况下覆盖了1700MHz-2900MHz频段,并且在工作频带内,天线两端口隔离度大度39dB。本发明天线介质板上的偶极子臂通过印刷而成,结构简单,重量轻,易加工,成本低,有利于实现组阵后天线与馈电网络的集成,应用范围广阔。
附图说明
图1为用于说明本发明一个实施例的小型化高隔离度宽带双极化印刷偶极子天线单元结构的示意图;
图2为用于说明本发明一个实施例的印刷偶极子天线单元中的第一天线介质板的结构示意图;
图3为用于说明本发明一个实施例中印刷偶极子天线单元中的第二天线介质板的结构示意图;
图4为用于说明本发明一个实施例中印刷偶极子天线单元中的第三天线介质板的结构示意图;
图5为用于说明本发明一个实施例中印刷偶极子天线单元驻波比仿真结果坐标图;
图6为用于说明本发明一个实施例中印刷偶极子天线单元隔离度仿真结果坐标图;
图7为用于说明本发明一个实施例中印刷偶极子天线单元在1.7,2.3和2.9GHz处E面主极化和交叉极化仿真结果坐标图;
图8为用于说明本发明一个实施例中印刷偶极子天线单元在1.7,2.3和2.9GHz处H面主极化和交叉极化仿真结果坐标图;
图9为用于说明本发明一个实施例中印刷偶极子天线单元在工作频带1.7GHz-2.9GHz内增益仿真结果坐标图;
具体实施方式
下面结合附图对本发明作进一步阐述。
图1示出了本发明一个实施例的整体结构示意图,参考图1所示,本发明的一个实施例是一种小型化高隔离度宽频带双极化印刷偶极子天线单元,该天线单元中设有反射板1、第一天线介质板2以及呈交叉固定的第二天线介质板3与第三天线介质板4,所述的第二天线介质板3与第三天线介质板4安装在反射板1上,所述的第一天线介质板2通过定位孔10固定在第二天线介质板与第三天线介质板的上方,且所述第一天线介质板2由至少三个支撑柱5支撑并置于反射板1以及第二天线介质板3与第三天线介质板4的上方;正如图1所示出的,此处优选的技术方案是将支撑柱设置为四个,并且分布在第一天线介质板2的四个角附近。
参考图1和图2所示,所述的第一天线介质板2的下表面设有四个三角形贴片6充当偶极子臂,四个三角形贴片6成对称放置,大小完全一样且每个角都为锐角。每两个互相镜像的三角形贴片分别置于+/-45°方向。
参考图1,图3,图4所示,所述第二天线介质板3与第三天线介质板4的其中一面上均设有矩形贴片7充当偶极子臂,另一面分别设有馈电巴伦8;所述的馈电巴伦8与同轴探针9相连接。同样地,每两个互相镜像的矩形贴片也分别置于+/-45°方向。
再参考图1所示,所述的四个三角形贴片6和四个矩形贴片7一一对应分别相连,且短接在反射板1之上;四个三角形贴片6和四个矩形贴片7具有相同的轴对称中心及相同的中心间距。
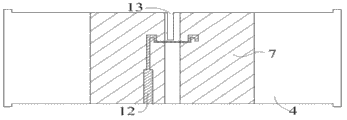
结合图3与图4所示,本发明用于解决技术问题更加优选的一个实施例是在上述的基础之上,将第二天线介质板3与第三天线介质板4呈正交固定,其目的为使其在安装时更易实现上述的四个三角形贴片6和四个矩形贴片7的两条对称线相平行或重合;且第二天线介质板3与第三天线介质板4之间固定的方式为在第二天线介质板3的下方靠近中心处与第三天线介质板4的上方靠近中心处设置有相互配合的开口13;所述第二天线介质板3与第三天线介质板4交叉固定后其上端面与下端面齐平,即如图1所示出的形式。基于前述所提到的第二天线介质板3与第三天线介质板4的结构,更加优选的实施方式是将它们的几何大小设置为完全相同。
本发明的发明人在其实验过程中,基于本发明思想设计出的一种小型化高隔离度宽频带双极化印刷偶极子天线单元驻波比仿真结果参考图5所示,由仿真结果可以看出两个端口在VSWR低于1.5的情况下相对带宽均为52%(1.7GHz—2.9GHz),实现了宽频带特性。
更进一步的,基于本发明的思想设计出的一种小型化高隔离度宽频带双极化印刷偶极子天线单元两端口的隔离度仿真结果参考图6所示。由仿真结果可以看出,在1.7GHz-2.9GHz整个频段,隔离度低于-39dB,实现了高隔离度特性。
当小型化高隔离度宽频带双极化印刷偶极子天线单元在-45°极化端口馈电时,在频率分别为1.7GHz,2.3GHz,2.9GHz仿真的E面主极化和交叉极化方向图参考图7所示。由方向图可以看出,E面交叉极化电平在法向均低于-20dB,且E面的主极化方向图在整个频带内保持稳定。
当小型化高隔离度宽频带双极化印刷偶极子天线单元在-45°极化端口馈电时,在频率分别为1.7GHz,2.3GHz,2.9GHz仿真的H面主极化和交叉极化方向图参考图8所示。由方向图可以看出,H面的交叉极化电平在法向均低于-20dB,且H面的主极化方向图在整个频带内依然比较稳定。。
更进一步,图9为分别在-45°和+45°极化端口馈电时,在1.7GHz到2.9GHz的范围内天线的增益随频率的变化曲线。由曲线可以看出,天线在整个工作频带范围内的增益在7.6-8.6dBi。
还需要说明的是,在本说明书中所谈到的“一个实施例”、“另一个实施例”、“实施例”、等,指的是结合该实施例描述的具体特征、结构或者特点包括在本申请概括性描述的至少一个实施例中。在说明书中多个地方出现同种表述不是一定指的是同一个实施例。进一步来说,结合任一实施例描述一个具体特征、结构或者特点时,所要主张的是结合其他实施例来实现这种特征、结构或者特点也落在本发明的范围内。
尽管这里参照本发明的多个解释性实施例对本发明进行了描述,但是,应该理解,本领域技术人员可以设计出很多其他的修改和实施方式,这些修改和实施方式将落在本申请公开的原则范围和精神之内。更具体地说,在本申请公开、附图和权利要求的范围内,可以对主题组合布局的组成部件和/或布局进行多种变型和改进。除了对组成部件和/或布局进行的变型和改进外,对于本领域技术人员来说,其他的用途也将是明显的。

Claims (5)

1.一种小型化高隔离度宽频带双极化印刷偶极子天线,包括反射板(1)、第一天线介质板(2)以及呈正交固定的第二天线介质板(3)与第三天线介质板(4),所述的第二天线介质板(3)与第三天线介质板(4)安装在反射板(1)上,所述的第一天线介质板(2)通过定位孔(10)固定在第二天线介质板(3)与第三天线介质板(4)的上方,且所述天线第一介质板(2)与反射板(1)平行,且由至少三个支撑柱(5)固定并分别置于第二天线介质板(3)与第三天线介质板(4)的上端面和下端面;其特征在于:所述的第一天线介质板(2)的下表面印有四个三角形贴片(6),所述第二天线介质板(3)与第三天线介质板(4)的其中一面上均印有矩形贴片(7,11),另一面分别印有馈电巴伦(8,12);所述的四个三角形贴片(6)和四个矩形贴片(7,11)一一对应分别相连,且短接在反射板(1)之上;所述的馈电巴伦(8,12)与同轴探针(9)相连接。
2.根据权利要求1所述的小型化高隔离度宽频带双极化印刷偶极子天线单元,其特征在于:所述的第二天线介质板(3)与第三天线介质板(4)呈正交固定,且第二天线介质板(3)的下方靠近中心处与第三天线介质板(4)的上方靠近中心处设置有相互配合的开口(13);所述第二天线介质板(3)与第三天线介质板(4)交叉固定后其上端面与下端面齐平;所述的反射板(1)的上表面与第二天线介质板(3)与第三天线介质板(4)的下端面重合;所述的第一天线介质板(2)的下表面与第二天线介质板(3)与第三天线介质板(4)的上端面重合。
3.根据权利要求1所述的小型化高隔离度宽频带双极化印刷偶极子天线单元,其特征在于:所述的第二天线介质板(3)与第三天线介质板(4)的几何大小完全相同;所述馈电巴伦(8,12)与矩形偶极子臂(7,11)之间保持一定间隙,且所述的其中一个馈电巴伦(12)中间弯折与另一个馈电巴伦(8)隔开。
4.根据权利要求1所述的小型化高隔离度宽频带双极化印刷偶极子天线单元,其特征在于:所述的三角形贴片(6)呈左右对称放置,大小形状完全一样;所述的矩形贴片(7,11)也呈左右对称放置,大小形状完全一样;且所述的三角形贴片(6)轴对称中心和矩形贴片(7,11)的轴对称中心以及反射板(1)和第一天线介质板(2)的中心重合;所述的三角形贴片(6)之间的间距和矩形贴片(7,11)之间的间距大小一样。
5.根据权利要求1或4所述的小型化高隔离度宽频带双极化印刷偶极子天线单元,其特征在于:所述的第一天线介质板(2)下表面上设置的每对互相镜像的三角形贴片(6)轴向为正负45度;所述的第二天线介质板(3)与第三天线介质板(4)其中一面上设置的每对互相镜像矩形贴片(7,11)也为正负45度。
CN201310287948.5A 2013-07-10 2013-07-10 小型化高隔离度宽频带双极化印刷偶极子天线 Expired - Fee Related CN103367897B (zh)

Priority Applications (1)

Application Number Priority Date Filing Date Title
CN201310287948.5A CN103367897B (zh) 2013-07-10 2013-07-10 小型化高隔离度宽频带双极化印刷偶极子天线

Applications Claiming Priority (1)

Application Number Priority Date Filing Date Title
CN201310287948.5A CN103367897B (zh) 2013-07-10 2013-07-10 小型化高隔离度宽频带双极化印刷偶极子天线

Publications (2)

Publication Number Publication Date
CN103367897A true CN103367897A (zh) 2013-10-23
CN103367897B CN103367897B (zh) 2015-02-18

Family

ID=49368735

Family Applications (1)

Application Number Title Priority Date Filing Date
CN201310287948.5A Expired - Fee Related CN103367897B (zh) 2013-07-10 2013-07-10 小型化高隔离度宽频带双极化印刷偶极子天线

Country Status (1)

Country Link
CN (1) CN103367897B (zh)

Cited By (17)

* Cited by examiner, † Cited by third party
Publication number Priority date Publication date Assignee Title
CN104377434A (zh) * 2013-08-13 2015-02-25 Ace技术株式会社 宽带基站天线辐射体
CN104868228A (zh) * 2014-02-25 2015-08-26 华为技术有限公司 双极化天线及天线阵列
CN105098377A (zh) * 2014-04-30 2015-11-25 西门子公司 双极化天线单元、双极化天线阵和无线电接入点
CN105186108A (zh) * 2015-09-24 2015-12-23 广东博纬通信科技有限公司 一种低剖面超宽频双极化高频振子单元
TWI572093B (zh) * 2015-07-30 2017-02-21 啟碁科技股份有限公司 天線系統
CN106654529A (zh) * 2016-12-29 2017-05-10 重庆邮电大学 一种高隔离度的紧凑型双极化微基站天线
CN107210541A (zh) * 2014-11-11 2017-09-26 株式会社Kmw 移动基站天线
CN108206327A (zh) * 2016-12-16 2018-06-26 罗森伯格技术(昆山)有限公司 基站天线辐射单元及基站天线
CN108346848A (zh) * 2018-02-10 2018-07-31 瑞德探测技术(深圳)有限公司 微波收发天线、控制模组、智能灯具及天线制造方法
CN111525234A (zh) * 2020-06-02 2020-08-11 Oppo广东移动通信有限公司 双极化天线及客户前置设备
CN111641048A (zh) * 2020-06-04 2020-09-08 肇庆市祥嘉盛科技有限公司 一种新型双极化双抛物面天线
WO2021068852A1 (zh) * 2019-10-09 2021-04-15 华南理工大学 基站、宽带双极化滤波磁电偶极子天线及其辐射单元
CN112751180A (zh) * 2019-10-31 2021-05-04 Oppo广东移动通信有限公司 天线模组及电子设备
CN112768888A (zh) * 2020-12-25 2021-05-07 网络通信与安全紫金山实验室 天线阵元和阵列天线
CN115241659A (zh) * 2022-06-27 2022-10-25 河南大学 一种高隔离度宽带三极化mimo天线
WO2024145734A1 (en) * 2023-01-03 2024-07-11 Commscope Technologies Llc Radiating elements having feed stalks with frequency selective surfaces and base station antennas including such radiating elements
CN118399074A (zh) * 2024-06-26 2024-07-26 广东工业大学 一种宽带±45°双极化全向天线单元及天线阵列

Citations (3)

* Cited by examiner, † Cited by third party
Publication number Priority date Publication date Assignee Title
US6057802A (en) * 1997-06-30 2000-05-02 Virginia Tech Intellectual Properties, Inc. Trimmed foursquare antenna radiating element
CN102437416A (zh) * 2011-08-25 2012-05-02 电子科技大学 一种带有寄生单元的宽带低交叉极化印刷偶极子天线
CN102800965A (zh) * 2012-07-23 2012-11-28 电子科技大学 一种宽带宽波束双极化偶极子天线

Patent Citations (3)

* Cited by examiner, † Cited by third party
Publication number Priority date Publication date Assignee Title
US6057802A (en) * 1997-06-30 2000-05-02 Virginia Tech Intellectual Properties, Inc. Trimmed foursquare antenna radiating element
CN102437416A (zh) * 2011-08-25 2012-05-02 电子科技大学 一种带有寄生单元的宽带低交叉极化印刷偶极子天线
CN102800965A (zh) * 2012-07-23 2012-11-28 电子科技大学 一种宽带宽波束双极化偶极子天线

Non-Patent Citations (3)

* Cited by examiner, † Cited by third party
Title
KA-MING MAK.ET AL: "A Shorted Bowtie Patch Antenna With a Cross Dipole for Dual Polarization", 《IEEE ANTENNAS AND WIRELESS PROPAGATION LETTERS》, vol. 6, 31 December 2007 (2007-12-31), XP011222342, DOI: doi:10.1109/LAWP.2007.893106 *
LAM SIU.ET AL: "A Dual-Polarized Magneto-Electric Dipole With Dielectric Loading", 《IEEE TRANSACTIONS ON ANTENNAS AND PROPAGATION》, vol. 57, no. 3, 31 March 2009 (2009-03-31), XP011254683 *
YANSHAN GOU,ET AL: "Wideband Dual-Polarized Printed Dipole Antenna with High Isolation", 《CROSS STRAIT QUAD-REGIONAL RADIO SCIENCE AND WIRELESS TECHNOLOGY CONFERENCE,2013》, 25 July 2013 (2013-07-25) *

Cited By (32)

* Cited by examiner, † Cited by third party
Publication number Priority date Publication date Assignee Title
CN104377434A (zh) * 2013-08-13 2015-02-25 Ace技术株式会社 宽带基站天线辐射体
CN104377434B (zh) * 2013-08-13 2017-12-05 Ace技术株式会社 宽带基站天线辐射体
CN104868228A (zh) * 2014-02-25 2015-08-26 华为技术有限公司 双极化天线及天线阵列
JP2017506852A (ja) * 2014-02-25 2017-03-09 華為技術有限公司Huawei Technologies Co.,Ltd. 偏波共用アンテナおよびアンテナアレイ
US10418725B2 (en) 2014-02-25 2019-09-17 Huawei Technologies Co., Ltd. Dual-polarized antenna and antenna array
CN104868228B (zh) * 2014-02-25 2018-05-11 华为技术有限公司 双极化天线及天线阵列
CN105098377A (zh) * 2014-04-30 2015-11-25 西门子公司 双极化天线单元、双极化天线阵和无线电接入点
EP3220482A4 (en) * 2014-11-11 2018-07-25 KMW Inc. Mobile communication base station antenna
CN107210541B (zh) * 2014-11-11 2020-11-13 株式会社Kmw 移动基站天线
US10622706B2 (en) 2014-11-11 2020-04-14 Kmw Inc. Mobile communication base station antenna
CN107210541A (zh) * 2014-11-11 2017-09-26 株式会社Kmw 移动基站天线
US9799963B2 (en) 2015-07-30 2017-10-24 Wistron Neweb Corp. Antenna system
TWI572093B (zh) * 2015-07-30 2017-02-21 啟碁科技股份有限公司 天線系統
CN105186108A (zh) * 2015-09-24 2015-12-23 广东博纬通信科技有限公司 一种低剖面超宽频双极化高频振子单元
CN108206327A (zh) * 2016-12-16 2018-06-26 罗森伯格技术(昆山)有限公司 基站天线辐射单元及基站天线
CN106654529B (zh) * 2016-12-29 2019-03-19 重庆邮电大学 一种高隔离度的紧凑型双极化微基站天线
CN106654529A (zh) * 2016-12-29 2017-05-10 重庆邮电大学 一种高隔离度的紧凑型双极化微基站天线
CN108346848B (zh) * 2018-02-10 2024-04-16 深圳市全智芯科技有限公司 微波收发天线、控制模组、智能灯具及天线制造方法
CN108346848A (zh) * 2018-02-10 2018-07-31 瑞德探测技术(深圳)有限公司 微波收发天线、控制模组、智能灯具及天线制造方法
US12074374B2 (en) 2019-10-09 2024-08-27 South China University Of Technology Base station, and broadband dual-polarized filtering magneto-electric dipole antenna and radiation unit thereof
WO2021068852A1 (zh) * 2019-10-09 2021-04-15 华南理工大学 基站、宽带双极化滤波磁电偶极子天线及其辐射单元
CN112751180A (zh) * 2019-10-31 2021-05-04 Oppo广东移动通信有限公司 天线模组及电子设备
US11962092B2 (en) 2019-10-31 2024-04-16 Guangdong Oppo Mobile Telecommunications Corp., Ltd. Antenna module and electronic device
CN111525234A (zh) * 2020-06-02 2020-08-11 Oppo广东移动通信有限公司 双极化天线及客户前置设备
CN111641048B (zh) * 2020-06-04 2021-07-27 肇庆市祥嘉盛科技有限公司 一种新型双极化双抛物面天线
CN111641048A (zh) * 2020-06-04 2020-09-08 肇庆市祥嘉盛科技有限公司 一种新型双极化双抛物面天线
CN112768888B (zh) * 2020-12-25 2022-06-07 网络通信与安全紫金山实验室 天线阵元和阵列天线
CN112768888A (zh) * 2020-12-25 2021-05-07 网络通信与安全紫金山实验室 天线阵元和阵列天线
CN115241659A (zh) * 2022-06-27 2022-10-25 河南大学 一种高隔离度宽带三极化mimo天线
CN115241659B (zh) * 2022-06-27 2024-07-26 河南大学 一种高隔离度宽带三极化mimo天线
WO2024145734A1 (en) * 2023-01-03 2024-07-11 Commscope Technologies Llc Radiating elements having feed stalks with frequency selective surfaces and base station antennas including such radiating elements
CN118399074A (zh) * 2024-06-26 2024-07-26 广东工业大学 一种宽带±45°双极化全向天线单元及天线阵列

Also Published As

Publication number Publication date
CN103367897B (zh) 2015-02-18

Similar Documents

Publication Publication Date Title
CN103367897B (zh) 小型化高隔离度宽频带双极化印刷偶极子天线
CN102299409B (zh) 一种用于IMT-Advanced系统的宽带双极化基站天线
US9972918B2 (en) Dual-frequency dual-polarized base station antenna for parallel dual feeding
CN115882220B (zh) 全双工应用的宽带高隔离磁电偶极子天线及通信设备
CN103490152A (zh) 一种集成巴伦馈电的宽带双极化印刷偶极子天线
CN102868017B (zh) 辐射装置及基于辐射装置的阵列天线
CN207624912U (zh) 一种双频偶极子天线及微基站
CN104733844A (zh) 平面宽带双极化基站天线
CN114976665B (zh) 一种加载频率选择表面辐射稳定的宽带双极化偶极子天线
WO2018040839A1 (zh) 一种低剖面基站天线辐射单元及天线
CN105609921A (zh) 小型高低频共轴双极化基站天线单元
CN107293863A (zh) 一种宽波束宽带双极化天线
CN108134197A (zh) 一体化四点差分馈电低剖面双极化振子单元及基站天线
CN210092341U (zh) 一种无外加电路的宽带双极化滤波偶极子天线
CN108777355A (zh) 一种低剖面宽带天线
CN103178341B (zh) 具有宽波束的q波段毫米波室内高速通信天线
CN105048079A (zh) 一种全向性圆极化平面天线
CN110233332A (zh) 基于枝节加载和寄生结构的基站天线
CN103490154B (zh) 一种基于双边缘谐振器加载的小型化三频带印刷天线
CN105789871A (zh) 一种适用于4g lte通信低剖面平面偶极子天线
CN102904011B (zh) 平衡微带线过渡全模双脊集成波导馈电对称振子印刷天线
CN207116688U (zh) 双频高增益全向天线
CN206225546U (zh) 具有稳定波瓣宽度和共模抑制特性的宽带差分多偶极子天线
CN108511892A (zh) 一种紧凑型多频带天线
CN111628286A (zh) 双频双圆极化天线

Legal Events

Date Code Title Description
C06 Publication
PB01 Publication
C10 Entry into substantive examination
SE01 Entry into force of request for substantive examination
C14 Grant of patent or utility model
GR01 Patent grant
CF01 Termination of patent right due to non-payment of annual fee
CF01 Termination of patent right due to non-payment of annual fee

Granted publication date: 20150218