CN103287683A - 钢珠滚轮定位装置 - Google Patents

钢珠滚轮定位装置 Download PDF

Info

Publication number
CN103287683A
CN103287683A CN2013102469122A CN201310246912A CN103287683A CN 103287683 A CN103287683 A CN 103287683A CN 2013102469122 A CN2013102469122 A CN 2013102469122A CN 201310246912 A CN201310246912 A CN 201310246912A CN 103287683 A CN103287683 A CN 103287683A
Authority
CN
China
Prior art keywords
steel ball
locating plate
hole
ball roller
registration device
Prior art date
Legal status (The legal status is an assumption and is not a legal conclusion. Google has not performed a legal analysis and makes no representation as to the accuracy of the status listed.)
Granted
Application number
CN2013102469122A
Other languages
English (en)
Other versions
CN103287683B (zh
Inventor
周天毫
Current Assignee (The listed assignees may be inaccurate. Google has not performed a legal analysis and makes no representation or warranty as to the accuracy of the list.)
Suzhou Suteng Electronic Technology Co Ltd
Original Assignee
Suzhou Suteng Electronic Technology Co Ltd
Priority date (The priority date is an assumption and is not a legal conclusion. Google has not performed a legal analysis and makes no representation as to the accuracy of the date listed.)
Filing date
Publication date
Application filed by Suzhou Suteng Electronic Technology Co Ltd filed Critical Suzhou Suteng Electronic Technology Co Ltd
Priority to CN201310246912.2A priority Critical patent/CN103287683B/zh
Publication of CN103287683A publication Critical patent/CN103287683A/zh
Application granted granted Critical
Publication of CN103287683B publication Critical patent/CN103287683B/zh
Expired - Fee Related legal-status Critical Current
Anticipated expiration legal-status Critical

Links

Images

Landscapes

  • Rollers For Roller Conveyors For Transfer (AREA)

Abstract

本发明涉及一种钢珠滚轮定位装置,包括承载座、安装在所述承载座上的定位组件,所述定位组件包括由上至下依次设置的第一定位板、第二定位板、第三定位板,所述第一定位板、第二定位板上分别开有第一通孔、第二通孔,所述第一通孔贯通所述第二通孔。本发明结构简单实用,操作方便,可快速定位钢珠滚轮,定位稳固,降低了产品在运输过程中的晃动和碰撞,保证了钢珠滚轮的质量,降低了企业的生产成本。

Description

钢珠滚轮定位装置
技术领域
本发明涉及一种定位装置,尤其涉及一种钢珠滚轮定位装置。
背景技术
    钢珠滚轮是用于传送带上的自动化生产线上的传动装置,是自动化流水线的非常重要的金属配件,其采用不锈钢材质,具有非常标准的精度。但是钢珠滚轮在运输过程中容易产生滚动,导致钢珠滚轮之间的相互碰撞,出现碰伤,损坏了钢珠滚轮的质量,无法使用,增大了企业的生产成本,因此,急需一种可以定位钢珠滚轮的装置,保证钢珠滚轮的质量。
发明内容
本发明克服了现有技术的不足,提供一种结构简单的钢珠滚轮定位装置。
为达到上述目的,本发明采用的技术方案为:一种钢珠滚轮定位装置,包括承载座、安装在所述承载座上的定位组件,所述定位组件包括由上至下依次设置的第一定位板、第二定位板、第三定位板,所述第一定位板、第二定位板上分别开有第一通孔、第二通孔,所述第一通孔贯通所述第二通孔。
本发明一个较佳实施例中,钢珠滚轮定位装置进一步包括所述承载座上开有第一凹槽,所述第一凹槽的前壁贯穿所述承载座。
本发明一个较佳实施例中,钢珠滚轮定位装置进一步包括所述第一凹槽的底壁上设置有凸起,所述凸起的后端与所述第一凹槽的后壁之间连接有隔板。
本发明一个较佳实施例中,钢珠滚轮定位装置进一步包括所述第三定位板的下端中心开有第二凹槽,所述隔板的后端位于所述第二凹槽内。
本发明一个较佳实施例中,钢珠滚轮定位装置进一步包括所述第一定位板、第二定位板、第三定位板的长度、厚度依次增大,所述第一定位板、第二定位板、第三定位板的宽度相等。
本发明一个较佳实施例中,钢珠滚轮定位装置进一步包括所述第一通孔、第二通孔均呈方形。
本发明一个较佳实施例中,钢珠滚轮定位装置进一步包括所述第一通孔与所述第二通孔的宽度相同。
本发明解决了背景技术中存在的缺陷,本发明结构简单实用,操作方便,可快速定位钢珠滚轮,定位稳固,降低了产品在运输过程中的晃动和碰撞,保证了钢珠滚轮的质量,降低了企业的生产成本。
附图说明
下面结合附图和实施例对本发明进一步说明。
图1是本发明的优选实施例的结构示意图;
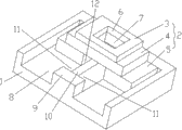
图中:1、承载座,2、定位组件,3、第一定位板,4、第二定位板,5、第三定位板,6、第一通孔,7、第二通孔,8、第一凹槽,9、凸起,10、隔板,11、转角,12、第二凹槽。
具体实施方式
现在结合附图和实施例对本发明作进一步详细的说明,这些附图均为简化的示意图,仅以示意方式说明本发明的基本结构,因此其仅显示与本发明有关的构成。
如图1所示,一种钢珠滚轮定位装置,包括承载座1、安装在承载座1上的定位组件2,承载座1呈矩形,定位组件2包括由上至下依次设置的第一定位板3、第二定位板4、第三定位板5,第一定位板3、第二定位板4上分别开有第一通孔6、第二通孔7,第一通孔6贯通第二通孔7。
本发明优选承载座1上开有第一凹槽8,第一凹槽8的前壁贯穿承载座1。
第一凹槽8的底壁上设置有凸起9,凸起9的前端面与承载座1的前端面在同一平面上,凸起9的后端与第一凹槽8的后壁之间连接有隔板10,隔板10与凸起9呈垂直设置,隔板10与凸起9形成两个转角11。
本发明优选第三定位板5的下端中心开有第二凹槽12,隔板10的后端位于第二凹槽12内。
为了提高定位装置的稳固性,第一定位板3、第二定位板4、第三定位板5的长度、厚度依次增大,第一定位板3、第二定位板4、第三定位板5的宽度相等。
为了对钢珠滚轮进行固定,同时不会造成应力集中,第一通孔6、第二通孔7均呈方形。第一通孔6与第二通孔7的宽度相同。
本发明在使用时,可将钢珠滚轮垂直放置卡入第一通孔6、第二通孔7内,将另外的钢珠滚轮横向放置卡入第一凹槽8内,钢珠滚轮的端部被转角11卡住,不会从第一凹槽8内滑出,钢珠滚轮定位稳固,保证了钢珠滚轮的质量。
以上依据本发明的理想实施例为启示,通过上述的说明内容,相关人员完全可以在不偏离本项发明技术思想的范围内,进行多样的变更以及修改。本项发明的技术性范围并不局限于说明书上的内容,必须要根据权利要求范围来确定技术性范围。

Claims (7)

1.一种钢珠滚轮定位装置,其特征在于:包括承载座、安装在所述承载座上的定位组件,所述定位组件包括由上至下依次设置的第一定位板、第二定位板、第三定位板,所述第一定位板、第二定位板上分别开有第一通孔、第二通孔,所述第一通孔贯通所述第二通孔。
2.根据权利要求1所述的钢珠滚轮定位装置,其特征在于:所述承载座上开有第一凹槽,所述第一凹槽的前壁贯穿所述承载座。
3.根据权利要求2所述的钢珠滚轮定位装置,其特征在于:所述第一凹槽的底壁上设置有凸起,所述凸起的后端与所述第一凹槽的后壁之间连接有隔板。
4.根据权利要求3所述的钢珠滚轮定位装置,其特征在于:所述第三定位板的下端中心开有第二凹槽,所述隔板的后端位于所述第二凹槽内。
5.根据权利要求1所述的钢珠滚轮定位装置,其特征在于:所述第一定位板、第二定位板、第三定位板的长度、厚度依次增大,所述第一定位板、第二定位板、第三定位板的宽度相等。
6.根据权利要求1所述的钢珠滚轮定位装置,其特征在于:所述第一通孔、第二通孔均呈方形。
7.根据权利要求6所述的钢珠滚轮定位装置,其特征在于:所述第一通孔与所述第二通孔的宽度相同。
CN201310246912.2A 2013-06-21 2013-06-21 钢珠滚轮定位装置 Expired - Fee Related CN103287683B (zh)

Priority Applications (1)

Application Number Priority Date Filing Date Title
CN201310246912.2A CN103287683B (zh) 2013-06-21 2013-06-21 钢珠滚轮定位装置

Applications Claiming Priority (1)

Application Number Priority Date Filing Date Title
CN201310246912.2A CN103287683B (zh) 2013-06-21 2013-06-21 钢珠滚轮定位装置

Publications (2)

Publication Number Publication Date
CN103287683A true CN103287683A (zh) 2013-09-11
CN103287683B CN103287683B (zh) 2015-12-02

Family

ID=49089334

Family Applications (1)

Application Number Title Priority Date Filing Date
CN201310246912.2A Expired - Fee Related CN103287683B (zh) 2013-06-21 2013-06-21 钢珠滚轮定位装置

Country Status (1)

Country Link
CN (1) CN103287683B (zh)

Citations (7)

* Cited by examiner, † Cited by third party
Publication number Priority date Publication date Assignee Title
GB1517672A (en) * 1977-01-27 1978-07-12 Cadbury Ltd Package
US4103773A (en) * 1977-12-05 1978-08-01 Haber Terry M Combination package and rack for pool balls
AU2001100578A4 (en) * 2001-11-21 2001-12-20 Davies Group Pty Ltd Container for golf accessories
CN101575025A (zh) * 2009-06-02 2009-11-11 谭钢 一种礼品酒盒
CN201559888U (zh) * 2009-12-28 2010-08-25 四川省宜宾五粮液集团有限公司 酒包装盒
CN201842314U (zh) * 2010-10-28 2011-05-25 东经纸品(温州)有限公司 带减震和固定装置的包装盒
CN203294486U (zh) * 2013-06-21 2013-11-20 苏州速腾电子科技有限公司 钢珠滚轮定位装置

Patent Citations (7)

* Cited by examiner, † Cited by third party
Publication number Priority date Publication date Assignee Title
GB1517672A (en) * 1977-01-27 1978-07-12 Cadbury Ltd Package
US4103773A (en) * 1977-12-05 1978-08-01 Haber Terry M Combination package and rack for pool balls
AU2001100578A4 (en) * 2001-11-21 2001-12-20 Davies Group Pty Ltd Container for golf accessories
CN101575025A (zh) * 2009-06-02 2009-11-11 谭钢 一种礼品酒盒
CN201559888U (zh) * 2009-12-28 2010-08-25 四川省宜宾五粮液集团有限公司 酒包装盒
CN201842314U (zh) * 2010-10-28 2011-05-25 东经纸品(温州)有限公司 带减震和固定装置的包装盒
CN203294486U (zh) * 2013-06-21 2013-11-20 苏州速腾电子科技有限公司 钢珠滚轮定位装置

Also Published As

Publication number Publication date
CN103287683B (zh) 2015-12-02

Similar Documents

Publication Publication Date Title
CN103538056A (zh) 有利于稳定运输螺杆的机械手
CN203294486U (zh) 钢珠滚轮定位装置
CN103287683A (zh) 钢珠滚轮定位装置
CN204173417U (zh) 型材放置架
CN203921957U (zh) 快速拆卸式托辊架
CN203486555U (zh) 具有止推装置的钢瓶输送线
CN204021152U (zh) 一种童车方向盘连接件
CN104911961A (zh) 一种轨道垫板连接结构
CN203956362U (zh) 用于导轨安装时的平面度调节机构
CN204060037U (zh) 沙滩服务亭
CN203992891U (zh) 一种卜型焊接工装
CN202828455U (zh) 一种玻璃运输架
CN201268020Y (zh) 一种用于沙滩椅上螺孔定位的模架
CN204077321U (zh) 车罩尾门连接扣
CN204061440U (zh) 一米线转换连接器
CN203392168U (zh) 玻璃运输架
CN105396941B (zh) 一种模具用连接架
CN205166460U (zh) 一种模具固定架
CN204038521U (zh) 一种可调节压紧装置
CN204242542U (zh) 一种新型左右滚动自动换幅广告牌画轴装置
CN103287725A (zh) 一种玻璃运输架
CN205733610U (zh) 一种适用范围较广的安装座
CN204549366U (zh) 瓶装生产线分瓶装置
CN204913172U (zh) 一种膜工件焊接装置
CN205166461U (zh) 一种工件支承装置

Legal Events

Date Code Title Description
C06 Publication
PB01 Publication
C10 Entry into substantive examination
SE01 Entry into force of request for substantive examination
C14 Grant of patent or utility model
GR01 Patent grant
CF01 Termination of patent right due to non-payment of annual fee
CF01 Termination of patent right due to non-payment of annual fee

Granted publication date: 20151202