CN103266663A - 一种桥架预埋件 - Google Patents
一种桥架预埋件 Download PDFInfo
- Publication number
- CN103266663A CN103266663A CN2013102142464A CN201310214246A CN103266663A CN 103266663 A CN103266663 A CN 103266663A CN 2013102142464 A CN2013102142464 A CN 2013102142464A CN 201310214246 A CN201310214246 A CN 201310214246A CN 103266663 A CN103266663 A CN 103266663A
- Authority
- CN
- China
- Prior art keywords
- isolation support
- spring
- built
- earthquake isolation
- rubber earthquake
- Prior art date
- Legal status (The legal status is an assumption and is not a legal conclusion. Google has not performed a legal analysis and makes no representation as to the accuracy of the status listed.)
- Pending
Links
- 229920001971 elastomer Polymers 0.000 claims abstract description 59
- 238000002955 isolation Methods 0.000 claims abstract description 52
- 229910000831 Steel Inorganic materials 0.000 claims abstract description 19
- 239000010959 steel Substances 0.000 claims abstract description 19
- 210000003205 muscle Anatomy 0.000 claims description 21
- 239000002184 metal Substances 0.000 claims description 5
- 239000004636 vulcanized rubber Substances 0.000 claims description 5
- 230000035939 shock Effects 0.000 abstract description 14
- NJPPVKZQTLUDBO-UHFFFAOYSA-N novaluron Chemical compound C1=C(Cl)C(OC(F)(F)C(OC(F)(F)F)F)=CC=C1NC(=O)NC(=O)C1=C(F)C=CC=C1F NJPPVKZQTLUDBO-UHFFFAOYSA-N 0.000 description 4
- 229920001084 poly(chloroprene) Polymers 0.000 description 3
- 230000007797 corrosion Effects 0.000 description 2
- 238000005260 corrosion Methods 0.000 description 2
- 230000005489 elastic deformation Effects 0.000 description 2
- 238000009413 insulation Methods 0.000 description 2
- 238000007789 sealing Methods 0.000 description 2
- 238000010586 diagram Methods 0.000 description 1
- 238000005516 engineering process Methods 0.000 description 1
- 230000004048 modification Effects 0.000 description 1
- 238000012986 modification Methods 0.000 description 1
Images
Landscapes
- Buildings Adapted To Withstand Abnormal External Influences (AREA)
- Vibration Prevention Devices (AREA)
Abstract
本发明提供一种桥架预埋件,包括橡胶隔震支座、内置弹簧、连接钢板和预埋筋,所述橡胶隔震支座为柱状,所述橡胶隔震支座设置在建筑物上下部之间,所述橡胶隔震支座上下两侧均有连接钢板,所述上部建筑物和下部建筑物内均有4个预埋筋,所述预埋筋绕橡胶隔震支座一周,所述预埋筋端部通过紧固件与连接钢板相连,所述橡胶隔震支座内有通孔,所述橡胶隔震支座通孔内有内置弹簧。本发明通过设计一种桥架预埋件,该预埋件在橡胶支座座内设置弹簧,从而可大大增大支座形变量,遇到大地震也可安全渡过。
Description
技术领域
本发明涉及建筑配件领域,特别涉及一种桥架预埋件。
背景技术
我国是地震灾害极多的国家之一,在地震灾害中房屋倒塌是一个主要原因,因此提高房屋抗震性能已经成为减少地震灾害的一个重中之重,传统建筑抗震体系已经不能满足现在对抗震的要求,因此新型隔震结构抗震体系因势而生,隔震结构与传统抗震结构体系相比,有以下优点:首先可明显有效地减轻结构的地震反应;在地面剧烈运动时,隔震上部结构仍处于弹性状态,对确保结构特别是某些重要建筑物的地震安全具有重要的意义;可降低房屋造价;遇到一些轻型地震不需要对房屋进行修复,传统的方式是设置橡胶支座进行隔震,但是这样弹性量有限,遇到大的地震仍然会发生倒塌。
发明内容
针对以上问题,本发明通过设计一种桥架预埋件,该预埋件在橡胶支座座内设置弹簧,从而可大大增大支座形变量,遇到大地震也可安全渡过,本发明提供一种桥架预埋件,包括橡胶隔震支座、内置弹簧、连接钢板和预埋筋,所述橡胶隔震支座为柱状,所述橡胶隔震支座设置在建筑物上下部之间,所述橡胶隔震支座上下两侧均有连接钢板,所述上部建筑物和下部建筑物内均有4个预埋筋,所述预埋筋绕橡胶隔震支座一周,所述预埋筋端部通过紧固件与连接钢板相连,所述橡胶隔震支座内有通孔,所述橡胶隔震支座通孔内有内置弹簧。
作为本发明的进一步改进,所述橡胶隔震支座内有1个或3个或5个通孔,当所述橡胶隔震支座内有3个通孔,3个通孔成三角形排列,当所述橡胶隔震支座内有5个通孔,4个通孔绕中间一个通孔一周,一个通孔适合于建筑物截面较小的情况,三个通孔适合于建筑物截面较大的情况,五个通孔由4个通孔绕中间一个通孔一周,这样支撑强度弹性形变效果最佳。
作为本发明的进一步改进,所述内置弹簧为橡胶弹簧,使用橡胶弹簧可防止水进入腐蚀弹簧。
作为本发明的进一步改进,所述内置弹簧为橡胶弹簧内有金属螺旋弹簧外有硫化橡胶,与全橡胶弹簧相比在硫化橡胶内设置金属螺旋弹簧强度形变效果最佳。
本发明为一种桥架预埋件,其采用在弹性隔震支座内设置内置弹簧,通过在弹性隔震支座内设置内置弹簧的方式提高支座形变量,进而降低地震给建筑物所带来的损害,进而提高建筑物的抗震性能,特别适合于震动较大的桥架使用。
附图说明
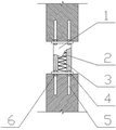
图1是本发明示意图;
图中的构件为:
1、橡胶隔震支座; 2、通孔; 3、内置弹簧; 4、连接钢板;
5、预埋筋; 6、紧固件。
具体实施方式
以下结合附图和实施例对发明做详细的说明:
本发明通过设计一种桥架预埋件,该预埋件在橡胶支座座内设置弹簧,从而可大大增大支座形变量,遇到大地震也可安全渡过。
作为本发明一种具体实施例,本发明提供结构示意图如图1所示一种桥架预埋件,包括橡胶隔震支座1、内置弹簧3、连接钢板4和预埋筋5,所述橡胶隔震支座1为柱状,所述橡胶隔震支座1设置在建筑物上下部之间,所述橡胶隔震支座1上下两侧均有连接钢板4,所述上部建筑物和下部建筑物内均有4个预埋筋5,所述预埋筋5绕橡胶隔震支座1一周,所述预埋筋5端部通过紧固件6与连接钢板4相连,所述橡胶隔震支座1内有一个通孔2,一个通孔2适合于建筑物截面较小的情况,所述橡胶隔震支座1通孔2内有内置弹簧3。
作为本发明另一种具体实施例,本发明提供一种桥架预埋件,包括橡胶隔震支座1、内置弹簧3、连接钢板4和预埋筋5,所述橡胶隔震支座1为柱状,所述橡胶隔震支座1设置在建筑物上下部之间,所述橡胶隔震支座1上下两侧均有连接钢板4,所述上部建筑物和下部建筑物内均有4个预埋筋5,所述预埋筋5绕橡胶隔震支座1一周,所述预埋筋5端部通过紧固件6与连接钢板4相连,所述橡胶隔震支座1内有三个通孔2,3个通孔2成三角形排列,三个通孔适合于建筑物截面较大的情况,所述橡胶隔震支座1通孔2内有内置弹簧3,所述内置弹簧3为橡胶弹簧,使用橡胶弹簧可防止水进入腐蚀弹簧。
作为本发明一种最佳具体实施例,本发明提供一种桥架预埋件,包括橡胶隔震支座1、内置弹簧3、连接钢板4和预埋筋5,所述橡胶隔震支座1为柱状,所述橡胶隔震支座1设置在建筑物上下部之间,所述橡胶隔震支座1上下两侧均有连接钢板4,所述上部建筑物和下部建筑物内均有4个预埋筋5,所述预埋筋5绕橡胶隔震支座1一周,所述预埋筋5端部通过紧固件6与连接钢板4相连,所述橡胶隔震支座1内有五个通孔2,4个通孔2绕中间一个通孔2一周,五个通孔2由4个通孔2绕中间一个通孔2一周,这样支撑强度弹性形变效果最佳,所述橡胶隔震支座1通孔2内有内置弹簧3,所述内置弹簧3为橡胶弹簧内有金属螺旋弹簧外有硫化橡胶,与全橡胶弹簧相比在硫化橡胶内设置金属螺旋弹簧强度形变效果最佳。
本发明为一种桥架预埋件,其采用在弹性隔震支座内设置内置弹簧,通过在弹性隔震支座内设置内置弹簧的方式提高支座形变量,进而降低地震给建筑物所带来的损害,进而提高建筑物的抗震性能,特别适合于震动较大的桥架使用。
以上所述,仅是本发明的较佳实施例而已,并非是对本发明作任何其他形式的限制,而依据本发明的技术实质所作的任何修改或等同变化,仍属于本发明所要求保护的范围。
Claims (6)
1.一种桥架预埋件,包括橡胶隔震支座(1)、内置弹簧(3)、连接钢板(4)和预埋筋(5),其特征在于:所述橡胶隔震支座(1)为柱状,所述橡胶隔震支座(1)设置在建筑物上下部之间,所述橡胶隔震支座(1)上下两侧均有连接钢板(4),所述上部建筑物和下部建筑物内均有4个预埋筋(5),所述预埋筋(5)绕橡胶隔震支座(1)一周,所述预埋筋(5)端部通过紧固件(6)与连接钢板(4)相连,所述橡胶隔震支座(1)内有通孔(2),所述橡胶隔震支座(1)通孔(2)内有内置弹簧(3)。
2.根据权利要求1所述的一种桥架预埋件,其特征在于:所述橡胶隔震支座(1)内有1个或3个或5个通孔(2)。
3.根据权利要求2所述的一种桥架预埋件,其特征在于:所述橡胶隔震支座(1)内有3个通孔(2),3个通孔(2)成三角形排列。
4.根据权利要求2所述的一种桥架预埋件,其特征在于:所述橡胶隔震支座(1)内有5个通孔(2),4个通孔(2)绕中间一个通孔(2)一周。
5.根据权利要求1所述的一种桥架预埋件,其特征在于:所述内置弹簧(3)为橡胶弹簧。
6.根据权利要求1所述的一种桥架预埋件,其特征在于:所述内置弹簧(3)为内有金属螺旋弹簧外有硫化橡胶的弹簧。
Priority Applications (1)
| Application Number | Priority Date | Filing Date | Title |
|---|---|---|---|
| CN2013102142464A CN103266663A (zh) | 2013-06-03 | 2013-06-03 | 一种桥架预埋件 |
Applications Claiming Priority (1)
| Application Number | Priority Date | Filing Date | Title |
|---|---|---|---|
| CN2013102142464A CN103266663A (zh) | 2013-06-03 | 2013-06-03 | 一种桥架预埋件 |
Publications (1)
| Publication Number | Publication Date |
|---|---|
| CN103266663A true CN103266663A (zh) | 2013-08-28 |
Family
ID=49010317
Family Applications (1)
| Application Number | Title | Priority Date | Filing Date |
|---|---|---|---|
| CN2013102142464A Pending CN103266663A (zh) | 2013-06-03 | 2013-06-03 | 一种桥架预埋件 |
Country Status (1)
| Country | Link |
|---|---|
| CN (1) | CN103266663A (zh) |
Cited By (3)
| Publication number | Priority date | Publication date | Assignee | Title |
|---|---|---|---|---|
| CN106935362A (zh) * | 2017-04-28 | 2017-07-07 | 广西欧讯科技服务有限责任公司 | 一种船舶用保密变压器 |
| CN107154302A (zh) * | 2017-04-28 | 2017-09-12 | 广西欧讯科技服务有限责任公司 | 一种船舶用变压器 |
| CN112411363A (zh) * | 2020-10-19 | 2021-02-26 | 中铁十六局集团有限公司 | 一种隔震支座的安装施工方法 |
Citations (7)
| Publication number | Priority date | Publication date | Assignee | Title |
|---|---|---|---|---|
| JPH04221142A (ja) * | 1990-10-17 | 1992-08-11 | Oiles Ind Co Ltd | 免震支持装置 |
| CN101709594A (zh) * | 2009-11-26 | 2010-05-19 | 广州大学 | 一种复合抗拉叠层橡胶隔震支座 |
| CN201686928U (zh) * | 2010-04-02 | 2010-12-29 | 新蒲建设集团有限公司 | 桥梁防震隔离装置 |
| CN202073031U (zh) * | 2011-05-03 | 2011-12-14 | 东南大学 | 多维减隔震铅芯橡胶支座 |
| CN202148612U (zh) * | 2011-03-30 | 2012-02-22 | 上海昭瑞减震科技有限公司 | 一种控制摇摆防提离的三向隔震装置 |
| CN102409777A (zh) * | 2011-09-30 | 2012-04-11 | 福州大学 | 一种结构三维隔震和抗倾覆装置 |
| CN203347014U (zh) * | 2013-06-03 | 2013-12-18 | 吴江市三达五金工具厂 | 一种桥架预埋件 |
-
2013
- 2013-06-03 CN CN2013102142464A patent/CN103266663A/zh active Pending
Patent Citations (7)
| Publication number | Priority date | Publication date | Assignee | Title |
|---|---|---|---|---|
| JPH04221142A (ja) * | 1990-10-17 | 1992-08-11 | Oiles Ind Co Ltd | 免震支持装置 |
| CN101709594A (zh) * | 2009-11-26 | 2010-05-19 | 广州大学 | 一种复合抗拉叠层橡胶隔震支座 |
| CN201686928U (zh) * | 2010-04-02 | 2010-12-29 | 新蒲建设集团有限公司 | 桥梁防震隔离装置 |
| CN202148612U (zh) * | 2011-03-30 | 2012-02-22 | 上海昭瑞减震科技有限公司 | 一种控制摇摆防提离的三向隔震装置 |
| CN202073031U (zh) * | 2011-05-03 | 2011-12-14 | 东南大学 | 多维减隔震铅芯橡胶支座 |
| CN102409777A (zh) * | 2011-09-30 | 2012-04-11 | 福州大学 | 一种结构三维隔震和抗倾覆装置 |
| CN203347014U (zh) * | 2013-06-03 | 2013-12-18 | 吴江市三达五金工具厂 | 一种桥架预埋件 |
Cited By (3)
| Publication number | Priority date | Publication date | Assignee | Title |
|---|---|---|---|---|
| CN106935362A (zh) * | 2017-04-28 | 2017-07-07 | 广西欧讯科技服务有限责任公司 | 一种船舶用保密变压器 |
| CN107154302A (zh) * | 2017-04-28 | 2017-09-12 | 广西欧讯科技服务有限责任公司 | 一种船舶用变压器 |
| CN112411363A (zh) * | 2020-10-19 | 2021-02-26 | 中铁十六局集团有限公司 | 一种隔震支座的安装施工方法 |
Similar Documents
| Publication | Publication Date | Title |
|---|---|---|
| CN103225259B (zh) | 一种可拉压弹性支座 | |
| CN103243644A (zh) | 变曲率自适应摩擦摆式减隔震支座 | |
| CN208718138U (zh) | 一种限位型锡芯橡胶隔震支座 | |
| CN105297619A (zh) | 一种改良型耗能减隔震支座 | |
| CN210529477U (zh) | 一种摇摆式桥墩支座 | |
| CN102677774A (zh) | 双导向型抗拉防倾覆隔震橡胶支座 | |
| CN107237419A (zh) | 一种在拉拔情况下隔震支座始终受压的隔震装置 | |
| CN102251472A (zh) | 一种多维减隔震铅芯橡胶支座 | |
| CN204570931U (zh) | 一种自复位减震球形支座 | |
| CN103266663A (zh) | 一种桥架预埋件 | |
| CN104047227B (zh) | 一种拼装式桥梁减震支座 | |
| CN202416162U (zh) | 拉索橡胶隔震限位支座 | |
| CN101864774B (zh) | 刚度可调节橡胶隔震垫 | |
| CN209555755U (zh) | 一种建筑隔震橡胶支座 | |
| CN203347014U (zh) | 一种桥架预埋件 | |
| CN213418131U (zh) | 一种建筑物抗震结构 | |
| CN104196144A (zh) | 一种隔震支座的分离式滑动抗拉装置 | |
| CN201330515Y (zh) | 串联复合基础隔震装置 | |
| CN102251698B (zh) | 薄板制旋转薄壳双联式房屋防地震安全生存设置 | |
| CN203403515U (zh) | 一种十字形钢柱结构 | |
| CN208455456U (zh) | 一种具有横向抗震支撑结构的三跨式绿色环保型桥梁 | |
| CN204715199U (zh) | 桥梁自适应横置式抗风抗震支座 | |
| CN202969620U (zh) | 一种竖向承载力高的自复位组合型隔震装置 | |
| CN205077392U (zh) | 一种改良型耗能减隔震支座 | |
| CN205663056U (zh) | 一种建筑减震结构 |
Legal Events
| Date | Code | Title | Description |
|---|---|---|---|
| C06 | Publication | ||
| PB01 | Publication | ||
| C10 | Entry into substantive examination | ||
| SE01 | Entry into force of request for substantive examination | ||
| C02 | Deemed withdrawal of patent application after publication (patent law 2001) | ||
| WD01 | Invention patent application deemed withdrawn after publication |
Application publication date: 20130828 |