CN103243889A - Fixing component assemblies and their accessories for fixing building exterior materials - Google Patents
Fixing component assemblies and their accessories for fixing building exterior materials Download PDFInfo
- Publication number
- CN103243889A CN103243889A CN201310051177XA CN201310051177A CN103243889A CN 103243889 A CN103243889 A CN 103243889A CN 201310051177X A CN201310051177X A CN 201310051177XA CN 201310051177 A CN201310051177 A CN 201310051177A CN 103243889 A CN103243889 A CN 103243889A
- Authority
- CN
- China
- Prior art keywords
- mentioned
- exterior material
- truss
- fixed
- fixing
- Prior art date
- Legal status (The legal status is an assumption and is not a legal conclusion. Google has not performed a legal analysis and makes no representation as to the accuracy of the status listed.)
- Pending
Links
- 239000000463 material Substances 0.000 title claims abstract description 74
- 230000000712 assembly Effects 0.000 title 1
- 238000000429 assembly Methods 0.000 title 1
- 238000010276 construction Methods 0.000 claims abstract description 10
- 238000005452 bending Methods 0.000 claims description 4
- 238000004904 shortening Methods 0.000 abstract 1
- 230000008878 coupling Effects 0.000 description 9
- 238000010168 coupling process Methods 0.000 description 9
- 238000005859 coupling reaction Methods 0.000 description 9
- 239000011810 insulating material Substances 0.000 description 7
- 238000009434 installation Methods 0.000 description 5
- 230000004048 modification Effects 0.000 description 3
- 238000012986 modification Methods 0.000 description 3
- 230000000694 effects Effects 0.000 description 2
- 238000000034 method Methods 0.000 description 2
- 229910000831 Steel Inorganic materials 0.000 description 1
- 239000000919 ceramic Substances 0.000 description 1
- 239000003086 colorant Substances 0.000 description 1
- 230000000295 complement effect Effects 0.000 description 1
- 239000000470 constituent Substances 0.000 description 1
- 238000010586 diagram Methods 0.000 description 1
- 229920001971 elastomer Polymers 0.000 description 1
- 238000009413 insulation Methods 0.000 description 1
- 230000035515 penetration Effects 0.000 description 1
- 230000000704 physical effect Effects 0.000 description 1
- 229920005749 polyurethane resin Polymers 0.000 description 1
- 239000002994 raw material Substances 0.000 description 1
- 239000010959 steel Substances 0.000 description 1
- 239000004575 stone Substances 0.000 description 1
- 238000003466 welding Methods 0.000 description 1
Images
Landscapes
- Finishing Walls (AREA)
Abstract
Description
技术领域technical field
本发明涉及用于固定建筑物外装材料的固定部件组件及其附属部件(FIXING DEVICE ASSEMBLY FOR FIXING EXTERIOR MATERIAL OFBUILDING AND COMPONENT OF THESAME),更具体地讲,涉及能够牢固地固定建筑物的外装材料的同时施工组装性优良且能够缩短施工时间从而能够提高施工性,并且能够使外装材料的毁损最小化的建筑物的外装材料固定用固定部件组件及其附属部件。The present invention relates to a fixing component assembly for fixing building exterior materials and its accessory parts (FIXING DEVICE ASSEMBLY FOR FIXING EXTERIOR MATERIAL OF BUILDING AND COMPONENT OF THESAME), more specifically, relates to a A fixing component assembly for fixing an exterior material of a building and its accessory parts, which are excellent in construction and assembly, can shorten construction time to improve constructability, and can minimize damage to the exterior material.
本发明要求韩国专利申请号第10-2012-0014942号和第10-2012-0126931号为优先权进行申请。The present invention claims Korean Patent Application No. 10-2012-0014942 and No. 10-2012-0126931 as priority claims.
背景技术Background technique
随着建筑物的大型化、多样化、以及高级化,对建筑外装材料的要求是具备具有耐久力的基本的物性、多种产品原材料、多种颜色和美学效果以及施工上的便利性和经济效果等。With the increase in size, diversification, and upgrading of buildings, the requirements for building exterior materials are basic physical properties with durability, various product raw materials, various colors, and aesthetic effects, as well as convenience and economy in construction. effects etc.
在设置这种建筑外装材料时,在无钢结构或混凝土墙的建筑物上必不可少的是如石材或陶瓷护墙板的用于设置建筑外装材料的桁架结构。In setting such building exterior materials, a truss structure for setting building exterior materials such as stone or ceramic clapboards is indispensable on buildings without steel structures or concrete walls.
图1中图示有根据现有技术的桁架设置构造。如图所示,在楼板1上设置用于设置建筑外装材料10的桁架3。上述桁架3由横向部件3a和纵向部件3b构成,上述横向部件3a和纵向部件3b在连接部彼此焊接从而形成桁架结构。而且,在上述横向部件3a上连接用于固定建筑外装材料10的设置托架5,并在上述设置托架5上固定建筑外装材料10从而能够在建筑物外墙上设置建筑外装材料10。A truss arrangement according to the prior art is illustrated in FIG. 1 . As shown in the figure, a
但在如上所述的根据现有技术的桁架结构上存在如下问题。However, there are following problems in the truss structure according to the prior art as described above.
现有的桁架结构使横向部件3a和纵向部件3b通过彼此焊接而连接,但横向部件3a和纵向部件3b的连接部分由于通过建筑物周边的车辆的震动等使得焊接部位裂开,或者由于水分或异物渗透使得连接部位分离,因而存在建筑外装材料有可能下落的危险性问题。In the existing truss structure, the
而且,由于需要使横向部件3a和纵向部件3b彼此连接,因而存在制作桁架时所需时间和费用增加的问题。Furthermore, since it is necessary to connect the
发明内容Contents of the invention
根据旨在达到这种目的的本发明的特征,本发明的用于固定建筑物外装材料的固定部件组件,用于在建筑物外部固定设置外装材料,理想的是,包括:固定设置于建筑物,并在一面形成有沿长度方向敞开的开口部和多个连接窗的桁架;用于固定设置上述外装材料的连接托架;以及使上述桁架与上述连接托架彼此连接,并由具有抗震性能的材料构成的抗震块。According to the features of the present invention aimed at achieving this purpose, the fixing component assembly for fixing building exterior materials of the present invention is used to fix and arrange exterior materials outside a building, ideally, including: , and a truss with an opening open along the length direction and a plurality of connection windows is formed on one side; a connection bracket for fixing the above-mentioned exterior material; Anti-seismic blocks made of high-quality materials.
理想的是,本发明的抗震块包括:与上述桁架的连接窗连接的桁架连接部;以及上述连接托架所连接的托架连接部。Ideally, the anti-seismic block of the present invention includes: a truss connecting portion connected to the connecting window of the truss; and a bracket connecting portion connected to the connecting bracket.
理想的是,本发明的抗震块进一步包括介于上述抗震块与上述桁架的结合面之间的抗震部件。Ideally, the anti-seismic block of the present invention further includes an anti-seismic component interposed between the bonding surfaces of the anti-seismic block and the truss.
理想的是,本发明的用于固定建筑物外装材料的固定部件组件包括:供上述连接托架连接,且横向延伸而形成的横向部件;以及与上述桁架连接,且使上述横向部件固定于上述桁架的扩张托架。Ideally, the fixing component assembly for fixing building exterior materials of the present invention includes: a transverse component formed by being connected with the above-mentioned connection bracket and extending laterally; Expansion brackets for trusses.
理想的是,本发明的扩张托架包括:固定于上述桁架的底板;以及形成于上述底板,且握持固定上述横向部件的握持部。Preferably, the expansion bracket of the present invention includes: a bottom plate fixed to the truss; and a holding portion formed on the bottom plate to hold and fix the horizontal member.
理想的是,本发明的握持部包括:从上述底板的一面正交地延伸的延伸板;以及分别以对彼此正交的关系形成于上述延伸板的末端和上述底板的一侧末端的握持槽。Ideally, the grip portion of the present invention includes: an extension plate extending orthogonally from one side of the base plate; holding slot.
理想的是,本发明的握持部的握持槽通过上述延伸板的末端和底板的末端折弯三段而形成,在上述折弯的末端形成钩结合坎,上述横向部件具备与上述钩结合坎钩结合的钩部。Ideally, the grip groove of the grip portion of the present invention is formed by bending the end of the extension plate and the end of the bottom plate in three sections, and a hook joint is formed at the bent end, and the above-mentioned cross member has a hook joint. The hook part where the hook and the hook are combined.
理想的是,本发明的横向部件由字形角构成,并为了与上述连接托架结合而在长度方向形成多个结合孔。Ideally, the transverse member of the present invention consists of Shaped corners, and in order to combine with the above-mentioned connection bracket, a plurality of coupling holes are formed in the length direction.
理想的是,本发明的用于固定建筑物外装材料的固定部件组件进一步包括供上述扩张托架连接,且与上述扩张托架一体固定于未设置上述桁架的建筑物外墙的辅助托架。Ideally, the fixing member assembly for fixing building exterior materials of the present invention further includes an auxiliary bracket connected to the expansion bracket and fixed integrally with the expansion bracket to the building exterior wall without the truss.
理想的是,本发明的用于固定建筑物外装材料的固定部件组件的抗震块用于彼此连接用来设置建筑外装材料的连接托架与固定设置于建筑物的桁架。Desirably, the anti-seismic block of the fixing member assembly for fixing building exterior materials of the present invention is used to connect a connection bracket for setting building exterior materials and a truss fixed to a building with each other.
理想的是,本发明的用于固定建筑物外装材料的固定部件组件的扩张托架与固定设置于建筑物的桁架连接,并用于使横向部件固定于上述桁架,该横向部件供用来设置建筑外装材料的连接托架连接。Ideally, the expansion bracket of the fixing member assembly for fixing building exterior materials of the present invention is connected to a truss fixedly arranged on a building, and is used to fix a transverse member to the above-mentioned truss, and the transverse member is used for setting the building exterior The connecting bracket of the material is connected.
理想的是,本发明的用于固定建筑物外装材料的固定部件组件的横向部件固定在与固定设置于建筑物的桁架连接的扩张托架上,且供用来设置建筑外装材料的连接托架连接,并横向延伸而形成。Ideally, the transverse members of the fixing member assembly for fixing building exterior materials of the present invention are fixed on expansion brackets connected to trusses fixedly arranged on buildings, and are connected by connecting brackets for setting building exterior materials. , and extended laterally.
附图说明Description of drawings
图1是表示根据现有技术的建筑外装材料用固定装置的局部立体图。Fig. 1 is a partial perspective view showing a fixing device for building exterior materials according to the prior art.
图2是表示用于固定根据本发明的建筑物外装材料的固定部件组件的桁架的设置状态的设置状态图。Fig. 2 is an installation state diagram showing an installation state of trusses for fixing a fixing member assembly of a building exterior material according to the present invention.
图3是表示用于固定根据本发明的建筑物外装材料的固定部件组件的剖视图。Fig. 3 is a sectional view showing a fixing member assembly for fixing a building exterior material according to the present invention.
图4是表示用于固定根据本发明的建筑物外装材料的固定部件组件的局部立体图。Fig. 4 is a partial perspective view showing a fixing member assembly for fixing the building exterior material according to the present invention.
图5是图4的主视图。Fig. 5 is a front view of Fig. 4 .
图6是图4的侧剖视图。FIG. 6 is a side sectional view of FIG. 4 .
图7是图4的横剖视图。FIG. 7 is a cross-sectional view of FIG. 4 .
图8是表示用于固定根据本发明的建筑物外装材料的固定部件组件的设置托架的立体图。Fig. 8 is a perspective view showing a setting bracket for fixing the fixing member assembly of the building exterior material according to the present invention.
图9是表示用于固定根据本发明的建筑物外装材料的固定部件组件的其它变形例的立体图。Fig. 9 is a perspective view showing another modified example of the fixing member assembly for fixing the building exterior material according to the present invention.
图10是图9的剖视图。FIG. 10 is a sectional view of FIG. 9 .
图11是图9的俯视图。FIG. 11 is a top view of FIG. 9 .
图12是图9的主视图。Fig. 12 is a front view of Fig. 9 .
图13是图9的局部立体图。FIG. 13 is a partial perspective view of FIG. 9 .
图14是表示用于固定根据本发明的建筑物外装材料的固定部件组件的其它变形例的扩张托架的立体图。Fig. 14 is a perspective view showing an expansion bracket of another modified example of the fixing member assembly for fixing the building exterior material according to the present invention.
图15是图14的剖视图。FIG. 15 is a sectional view of FIG. 14 .
图16是表示在用于固定根据本发明的建筑物外装材料的固定部件组件的其它变形例中设置了辅助托架的状态的立体图。16 is a perspective view showing a state in which an auxiliary bracket is provided in another modified example of the fixing member assembly for fixing the building exterior material according to the present invention.
图17是表示图16的另一个变形例的立体图。FIG. 17 is a perspective view showing another modified example of FIG. 16 .
具体实施方式Detailed ways
本发明的进一步性的各个目的、各个特征和各个长处通过下面的详细的说明和附图能够更加明了地理解。The further various objects, characteristics, and advantages of the present invention will be more clearly understood from the following detailed description and accompanying drawings.
下面参照附图更为详细地说明本发明的优选实施例。Preferred embodiments of the present invention will be described in more detail below with reference to the accompanying drawings.
图2至图16中图示有用于固定根据本发明的建筑物外装材料的固定部件组件及其附属部件的优选实施例。Preferred embodiments of a fixing member assembly and its accessory parts for fixing the building exterior material according to the present invention are illustrated in FIGS. 2 to 16 .
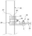
用于固定根据本发明的建筑物外装材料的固定部件组件可包括:与建筑物连接的桁架100;与上述桁架100连接的抗震块200;以及与上述抗震块200连接并固定建筑外装材料的连接托架300。The fixing component assembly for fixing the building exterior material according to the present invention may include: a
如图2所示,上述桁架100是支撑建筑外装材料10的基本支撑体,可与建筑物的梁或楼板直接连接。如图3所示,上述桁架100可由设置托架120而能够固定设置到楼板1。如图8所示,上述设置托架120包括支撑部件121、与上述支撑部件121连接的结合部件123。As shown in FIG. 2, the above-mentioned
在上述支撑部件121的前端部形成有支撑面121a,并在上述支撑面121a螺纹结合上述结合部件123,而在上述支撑面121a与上述结合部件123彼此螺纹结合时,上述桁架100也一起结合。在上述支撑面121a与上述结合部件123彼此结合的面可形成用于提高摩擦力的凸起形状等。A supporting
另一方面,如图3所示,设置于上述桁架100的后表面的绝热材料130为了进一步的绝热可选择性地设置在建筑外装材料10后表面。On the other hand, as shown in FIG. 3 , the
如图8所示,在设置上述绝热材料130时所使用的设置托架120上可进一步包括用于支撑绝热材料130的辅助支撑面121b。上述桁架100形成为内部空着的大致长方形,在上述桁架100形成有其前表面的中央部沿长度方向被切开的开口部101。于是,上述桁架100其横截面形状形成为大致如 As shown in FIG. 8 , the
而且,在上述桁架100中形成有开口部101的面上形成有以一定间距隔开而形成的多个连接窗103。在上述连接窗103中插入将在下面说明的抗震块200的桁架连接部220。Furthermore, a plurality of
在上述桁架100内部连接用于使上述桁架100和连接托架300彼此连接的抗震块200。如图4所示,上述抗震块200可包括:块主体210;与上述块主体210连接并与上述桁架100的连接窗103连接的桁架连接部220;以及用于连接上述连接托架300的托架连接部230。An
上述抗震块200的块主体210可由为了具有抗震性能而具有一定的弹性且为了支撑建筑外装材料而具有一定硬度的材料构成,最好是能够以聚氨酯树脂形成。The
上述块主体210包括与上述桁架100的连接窗103连接的桁架连接部220。上述桁架连接部220可由如凸起的形状形成,并可在上述块主体210的前表面形成为两个并仅隔开一定间距。The
在上述块主体210的桁架连接部220之间形成有向前方突出的突出端213。上述突出端213通过上述桁架100前表面的开口部101向前方突出。Protruding ends 213 protruding forward are formed between the
在上述突出端213的中央形成有上述托架连接部230。而且,在上述突出端213可形成用于提高与连接到上述托架连接部230的建筑外装材料10的摩擦力的摩擦部。上述摩擦部可由凹凸或网格形态形成。The
而且,在上述桁架连接部220可连接用于防止震动传递到上述桁架100的抗震部件240。上述抗震部件240可以由具有弹性的橡胶部件形成,在其中央形成用于上述桁架连接部220贯通的通孔。Furthermore, an
上述抗震块200的形状可根据上述抗震块200所连接的桁架100的形状而多样地形成。The shape of the
在上述抗震块200的托架连接部230连接用于固定设置建筑外装材料10的连接托架300。上述连接托架300包括:用于连接建筑物墙面和将在下面说明的支撑角部件320的固定角部件310;以及与上述固定角部件310连接且固定建筑外装材料10的支撑角部件320。A connecting
上述固定角部件310中央部折弯,在上述固定角部件310的上端部形成有用于连结连结组件330的连结孔311。在上述固定角部件310的折弯的下端部也形成有用于使螺栓B结合的结合孔(未图示)。The central portion of the fixed
而且,上述支撑角部件320也形成有结合孔312,螺栓B与螺母N通过上述结合孔312结合从而使上述支撑角部件320与固定角部件310彼此结合。Furthermore, the supporting
在上述支撑角部件320的前端具备用于固定建筑外装材料10的支撑端321。从上述支撑角部件320的前端向垂直的方向彼此隔开而形成两个上述支撑端321,且在两个支撑端321之间夹入上述建筑外装材料10。The
而且,在形成于上述固定角部件310的连结孔311连接用于将上述固定角部件310固定到上述托架连接部230的连结组件330。Furthermore, the
上述连结组件330包括连结套和连结螺栓,上述连结螺栓插入上述托架连接部230并在其前端连结上述连结螺母,从而上述连接托架300固定于抗震块200。The
图9至图15中图示有用于固定根据本发明的建筑物外装材料的固定部件组件的其它变形例。Other modifications of the fixing member assembly for fixing the building exterior material according to the present invention are illustrated in FIGS. 9 to 15 .
用于固定本发明的建筑物外装材料的固定部件组件的其它变形例包括:固定于建筑物的外墙且一侧具备握持部410的扩张托架400;与上述扩张托架400的握持部410握持结合的横向部件500;以及固定于上述横向部件500且外装材料所结合的支撑角部件320。Other modified examples of the fixing component assembly used to fix the building exterior material of the present invention include: an
如在附图中所图示,上述外墙与扩张托架400之间的固定和上述横向部件500与支撑角部件320之间的固定通过螺栓B和螺母N而结合,但并不限定于此,只要是能够固定它们彼此之间的构成则任何构成也无妨。As shown in the drawings, the fixing between the above-mentioned outer wall and the
参照图14和图15进一步说明上述扩张托架400。图14是图示了本发明的扩张托架400的立体图,图15是图14的侧视图。The
如在附图中所图示,上述扩张托架400是用于与上述横向部件500连接而横向扩张从而能够固定设置外装材料的部件。As shown in the drawings, the
上述扩张托架400整体上大致以T字形形态形成,包括底板401和形成于上述底板401上的握持部410。The
上述握持部410包括从底板401的中央部正交地延伸的延伸板411和分别形成于上述延伸板411的末端和上述底板401的一侧末端并以对彼此正交的关系形成的握持槽412。The
如图15所示,上述握持槽412可通过延伸板411的末端和底板401的末端向同一方向(例如,逆时针方向)折弯两段而形成。As shown in FIG. 15 , the holding
上述扩张托架400在形成握持槽412时,末端端部具有钩结合坎413,该钩结合坎的外表面可倒圆形成。与此相应地、在将在下面叙述的横向部件500的一端部形成有钩部。When the above-mentioned
上述扩张托架400形成有钩结合坎413从而提供更加牢固的结合力。The
而且,上述扩张托架400在螺栓B结合的底板401形成螺纹结合孔402,该螺纹结合孔402以长孔形态形成。附图中以纵向较长的长孔形态图示底板401的螺纹结合孔402。Furthermore, in the above-mentioned
而且,在形成有上述螺纹结合孔402的底板401上形成有凹凸部404,这样一来,在底板401与建筑物外墙以螺栓/螺母方式结合时可使垫圈(最好是弹簧垫圈)介于其间,在该垫圈的一侧面形成与底板401的凹凸部404相辅的凹凸部。由此,两个构成要素之间的结合力更加牢固。Moreover, a concavo-
接着,上述横向部件500由字形角构成,由此,其各端部分别夹入结合在上述扩张托架400的握持部410的握持槽412中。Next, the above-mentioned
在上述横向部件500的支撑角部件320所结合的一侧形成有沿长度方向具有规定间距的多个结合孔510。A plurality of
这里,在如在前面所说明那样扩张托架400上形成有钩结合坎413的情况下,在上述字形角的一端形成有钩部。Here, in the case where the hook
在图16中图示有用于固定本发明的建筑物外装材料的固定部件组件的扩张托架400和横向部件500设置于无桁架100的空间的状态。FIG. 16 shows a state in which an
为了在无上述桁架100的空间设置扩张托架400和横向部件500,需要有与桁架100的厚度对应的辅助托架700。上述辅助托架700是截面以字形状形成的部件,其由上述连结组件330而与上述扩张托架400结合从而一同固定于建筑物外墙。In order to install the
在设置上述辅助托架700的空间在与建筑物外墙1之间形成一定空间,因而在其间空间进一步设置另外的绝热材料130。此时,在上述绝热材料130形成上述辅助托架700的两端能够插入的切口131,并在上述切口131能够插入固定上述辅助托架700的两端。A certain space is formed between the space where the auxiliary bracket 700 is installed and the outer wall 1 of the building, and thus another
在如上所述那样施工的情况下,无须为了在绝热材料130中插入上述扩张托架400而刨开绝热材料130,因而具有工序变得简单的优点。In the case of construction as described above, there is an advantage that the process becomes simple because it is not necessary to cut the
图17图示了图16的扩张托架400的另一个变形例。FIG. 17 illustrates another modification of the
在这种本发明的基本的技术思想的范畴内,本领域技术人员当然可进行其它多种变形,本发明的权利范围应基于权利要求书解释。Within the category of the basic technical idea of the present invention, those skilled in the art can naturally make other various modifications, and the right scope of the present invention should be interpreted based on the claims.
Claims (12)
Applications Claiming Priority (4)
| Application Number | Priority Date | Filing Date | Title |
|---|---|---|---|
| KR1020120014942A KR101178175B1 (en) | 2012-02-14 | 2012-02-14 | Truss assembly for building exterior material and anti-shock block used therein |
| KR10-2012-0014942 | 2012-02-14 | ||
| KR1020120126931A KR101415328B1 (en) | 2012-11-09 | 2012-11-09 | Bracket device and angle assemble having the same for fixing a exterior material of building |
| KR10-2012-0126931 | 2012-11-09 |
Publications (1)
| Publication Number | Publication Date |
|---|---|
| CN103243889A true CN103243889A (en) | 2013-08-14 |
Family
ID=48923737
Family Applications (1)
| Application Number | Title | Priority Date | Filing Date |
|---|---|---|---|
| CN201310051177XA Pending CN103243889A (en) | 2012-02-14 | 2013-02-16 | Fixing component assemblies and their accessories for fixing building exterior materials |
Country Status (1)
| Country | Link |
|---|---|
| CN (1) | CN103243889A (en) |
Cited By (4)
| Publication number | Priority date | Publication date | Assignee | Title |
|---|---|---|---|---|
| CN103741918A (en) * | 2013-12-25 | 2014-04-23 | 安徽森泰塑木新材料有限公司 | Main keel installation structure for wall paving |
| CN103741924A (en) * | 2013-12-25 | 2014-04-23 | 安徽森泰塑木新材料有限公司 | Wallboard laying combined type clamping key mounting structure |
| CN103741923A (en) * | 2013-12-25 | 2014-04-23 | 安徽森泰塑木新材料有限公司 | Wallboard laying combined type clamping key |
| CN105275175A (en) * | 2014-07-01 | 2016-01-27 | 金汉娜 | Truss assembly for building exterior material |
Citations (5)
| Publication number | Priority date | Publication date | Assignee | Title |
|---|---|---|---|---|
| CN2448885Y (en) * | 2000-12-28 | 2001-09-19 | 崔茂瑜 | Back jointed dry hanging piece for building |
| CN1711400A (en) * | 2002-11-15 | 2005-12-21 | 马西米利亚诺·弗拉斯卡里网络商业公司 | Anchoring element for the linking of stanchion structures |
| KR100968438B1 (en) * | 2009-04-16 | 2010-07-07 | (주)부흥석재트러스 | Bolt and frame using the bolt |
| KR101030320B1 (en) * | 2010-10-25 | 2011-04-20 | 주식회사 유제이엔지니어링 | Structure reinforcement internal and external panel construction device |
| CN102312540A (en) * | 2011-06-29 | 2012-01-11 | 苏州金螳螂建筑装饰股份有限公司 | Vertical dry-hanging mounting structure of stone |
-
2013
- 2013-02-16 CN CN201310051177XA patent/CN103243889A/en active Pending
Patent Citations (5)
| Publication number | Priority date | Publication date | Assignee | Title |
|---|---|---|---|---|
| CN2448885Y (en) * | 2000-12-28 | 2001-09-19 | 崔茂瑜 | Back jointed dry hanging piece for building |
| CN1711400A (en) * | 2002-11-15 | 2005-12-21 | 马西米利亚诺·弗拉斯卡里网络商业公司 | Anchoring element for the linking of stanchion structures |
| KR100968438B1 (en) * | 2009-04-16 | 2010-07-07 | (주)부흥석재트러스 | Bolt and frame using the bolt |
| KR101030320B1 (en) * | 2010-10-25 | 2011-04-20 | 주식회사 유제이엔지니어링 | Structure reinforcement internal and external panel construction device |
| CN102312540A (en) * | 2011-06-29 | 2012-01-11 | 苏州金螳螂建筑装饰股份有限公司 | Vertical dry-hanging mounting structure of stone |
Cited By (5)
| Publication number | Priority date | Publication date | Assignee | Title |
|---|---|---|---|---|
| CN103741918A (en) * | 2013-12-25 | 2014-04-23 | 安徽森泰塑木新材料有限公司 | Main keel installation structure for wall paving |
| CN103741924A (en) * | 2013-12-25 | 2014-04-23 | 安徽森泰塑木新材料有限公司 | Wallboard laying combined type clamping key mounting structure |
| CN103741923A (en) * | 2013-12-25 | 2014-04-23 | 安徽森泰塑木新材料有限公司 | Wallboard laying combined type clamping key |
| CN103741923B (en) * | 2013-12-25 | 2016-02-03 | 安徽森泰塑木新材料有限公司 | Wallboard combined type card key |
| CN105275175A (en) * | 2014-07-01 | 2016-01-27 | 金汉娜 | Truss assembly for building exterior material |
Similar Documents
| Publication | Publication Date | Title |
|---|---|---|
| KR101683268B1 (en) | Wood panel combination structure using elastic body | |
| CN103243889A (en) | Fixing component assemblies and their accessories for fixing building exterior materials | |
| JP5546401B2 (en) | Floor structure for upper floors of wooden houses | |
| KR20130000374U (en) | Deck clip | |
| KR101794532B1 (en) | connector for flooring wood deck | |
| KR100924270B1 (en) | Deck clip | |
| KR20170056417A (en) | Deck assembly structure | |
| US8230655B2 (en) | Under rafter insulation system for a high pitched roof | |
| JP5648202B1 (en) | Hanging bolt reinforcement | |
| KR102025618B1 (en) | the improved lightweight roof frame structure for vibration proof and heat bridge proof | |
| JP2014077331A (en) | Heat insulated structure of floor | |
| JP2005344371A (en) | Floor structure and terrace deck | |
| KR200450013Y1 (en) | Fixing unit for exterior stone material and a fixing structure of exterior stone material using thereof | |
| KR102551781B1 (en) | Fixed Bracket Of Structure Truss | |
| CN217128700U (en) | Assembled small-space suspended ceiling | |
| KR101770393B1 (en) | clip for fixing interior materials | |
| KR101435603B1 (en) | Interior and exterior material, bracket for enhancing aseismicity | |
| JP5758839B2 (en) | Floor structure and construction method of floor structure | |
| KR100949550B1 (en) | Panel for contruction | |
| JP6334117B2 (en) | Roof ridge structure | |
| JP6893624B2 (en) | Metal exterior panel mounting bracket | |
| KR200436794Y1 (en) | Ceiling panels | |
| KR200453380Y1 (en) | Fastening clip for building construction | |
| JP3153424U (en) | Building support | |
| JP5149653B2 (en) | How to install ceiling insulation |
Legal Events
| Date | Code | Title | Description |
|---|---|---|---|
| C06 | Publication | ||
| PB01 | Publication | ||
| C10 | Entry into substantive examination | ||
| SE01 | Entry into force of request for substantive examination | ||
| C02 | Deemed withdrawal of patent application after publication (patent law 2001) | ||
| WD01 | Invention patent application deemed withdrawn after publication |
Application publication date: 20130814 |



