CN103241891A - 一种水体截污消污处理方法及工艺 - Google Patents
一种水体截污消污处理方法及工艺 Download PDFInfo
- Publication number
- CN103241891A CN103241891A CN 201210028326 CN201210028326A CN103241891A CN 103241891 A CN103241891 A CN 103241891A CN 201210028326 CN201210028326 CN 201210028326 CN 201210028326 A CN201210028326 A CN 201210028326A CN 103241891 A CN103241891 A CN 103241891A
- Authority
- CN
- China
- Prior art keywords
- water
- mud
- dirty
- sewage disposal
- disappears
- Prior art date
- Legal status (The legal status is an assumption and is not a legal conclusion. Google has not performed a legal analysis and makes no representation as to the accuracy of the status listed.)
- Granted
Links
- 238000005516 engineering process Methods 0.000 title claims abstract description 8
- 230000008030 elimination Effects 0.000 title abstract description 9
- 238000003379 elimination reaction Methods 0.000 title abstract description 9
- 238000003672 processing method Methods 0.000 title abstract 2
- XLYOFNOQVPJJNP-UHFFFAOYSA-N water Substances O XLYOFNOQVPJJNP-UHFFFAOYSA-N 0.000 claims abstract description 231
- 239000010865 sewage Substances 0.000 claims abstract description 106
- 238000000926 separation method Methods 0.000 claims abstract description 90
- 238000000034 method Methods 0.000 claims abstract description 23
- 239000004576 sand Substances 0.000 claims abstract description 19
- 239000010802 sludge Substances 0.000 claims abstract description 3
- 239000000945 filler Substances 0.000 claims description 17
- 102000010637 Aquaporins Human genes 0.000 claims description 16
- 108010063290 Aquaporins Proteins 0.000 claims description 16
- 238000001914 filtration Methods 0.000 claims description 13
- 239000000463 material Substances 0.000 claims description 13
- 238000007599 discharging Methods 0.000 claims description 10
- 238000007689 inspection Methods 0.000 claims description 10
- 208000028659 discharge Diseases 0.000 claims description 8
- 238000009825 accumulation Methods 0.000 claims description 6
- QVGXLLKOCUKJST-UHFFFAOYSA-N atomic oxygen Chemical compound [O] QVGXLLKOCUKJST-UHFFFAOYSA-N 0.000 claims description 6
- 230000000694 effects Effects 0.000 claims description 6
- 239000000706 filtrate Substances 0.000 claims description 6
- 244000005700 microbiome Species 0.000 claims description 6
- 239000001301 oxygen Substances 0.000 claims description 6
- 229910052760 oxygen Inorganic materials 0.000 claims description 6
- 238000001556 precipitation Methods 0.000 claims description 6
- 230000008021 deposition Effects 0.000 claims description 5
- 238000005273 aeration Methods 0.000 claims description 4
- 230000001954 sterilising effect Effects 0.000 claims description 4
- 235000020681 well water Nutrition 0.000 claims description 4
- 239000002349 well water Substances 0.000 claims description 4
- 230000015556 catabolic process Effects 0.000 claims description 3
- 238000006731 degradation reaction Methods 0.000 claims description 3
- 238000012856 packing Methods 0.000 claims description 3
- 229910000831 Steel Inorganic materials 0.000 claims description 2
- 239000011449 brick Substances 0.000 claims description 2
- 230000029087 digestion Effects 0.000 claims description 2
- 229920006351 engineering plastic Polymers 0.000 claims description 2
- 239000007789 gas Substances 0.000 claims description 2
- 235000003642 hunger Nutrition 0.000 claims description 2
- 239000011159 matrix material Substances 0.000 claims description 2
- 239000007769 metal material Substances 0.000 claims description 2
- 238000000746 purification Methods 0.000 claims description 2
- 230000037351 starvation Effects 0.000 claims description 2
- 239000010959 steel Substances 0.000 claims description 2
- 238000004659 sterilization and disinfection Methods 0.000 claims description 2
- 239000000126 substance Substances 0.000 claims description 2
- 230000007306 turnover Effects 0.000 claims description 2
- 210000001364 upper extremity Anatomy 0.000 claims description 2
- 239000002351 wastewater Substances 0.000 claims description 2
- 239000003344 environmental pollutant Substances 0.000 abstract 1
- 231100000719 pollutant Toxicity 0.000 abstract 1
- 238000003911 water pollution Methods 0.000 description 5
- 239000000356 contaminant Substances 0.000 description 1
- 230000002265 prevention Effects 0.000 description 1
- 230000000717 retained effect Effects 0.000 description 1
- 239000003403 water pollutant Substances 0.000 description 1
Images
Landscapes
- Treatment Of Sludge (AREA)
Abstract
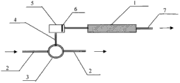
本发明提供一种水体截污消污处理方法及工艺,其主要特征在于在排水主管道2的排放前设截污井3,截污井3的出水端有截污溢流堰8,截污井3另连接截污旁通管4,在截污旁通管4之后连接沉砂格栅池5及泥水分离消污处理设施1,泥水分离消污处理设施1之后是排水管7,在截污井3中截污溢流堰8后是排水主管道2,泥水分离消污处理设施1由至少一个泥水分离消污处理装置构成,泥水分离消污处理装置内分为污水处理空间和污泥室10。该方法及工艺能够将雨污合流管网中的污水在排放水体前截留并进行消减,能够预防和减轻水体污染,并能够将污染物转移至专用处理装置进行处理。
Description
技术领域
本发明涉及一种污水处理工艺。
背景技术
对水体污染的治理在于对污染物的消除,有多种途径都可以实现水体污染物的消除。污染物一旦进入河道等水体后,进行消减的难度就增大,影响水体污染的重要因素之一在于污染物的输入,因此,截留污染物是控制水体污染的重要措施之一。累积的污染物主要以污泥的形式存在,污泥即是污染物,同时也富集了微生物,具有可降解性。污泥如果存在于河道水体中,除了污染水体,也难以进行处理。综合截污和污染物消减的因素,把污染物在进入水体前进行截留,并且将污染物及微生物菌群保留在特定环境进行处理,就能够同时实现截污和消污的作用。此外,在很多地区都存在排水管网交错,污水向雨水管中排放的问题,这是污染水体的一个重要因素。雨水管一般比较大,在非雨季的情况下,雨水管中的污水量有限,污水一般只在雨水管的下部流动,到了雨季,雨水管中水量大量提高,甚至满流,针对这个特点,可以利用水位高差,可对非雨季的污水进行截污处理,雨水期则通过溢流作用进行排水。由于大多数地区的一年中大多数时间是非雨季时间,因此对管道排水进行截污可以实现截留大量污染物,减轻污染物向水体的排放。将污染物集中到特定设施中,则有利于消减处理和管理。因此水体治理需要设计一种截污消污的工艺。
发明内容
本发明的目的是设计一种用于截留排水系统中的污染物并累积消减污染物的方法和处理工艺。
本发明的方法是将排水系统中的污水在进入水体之前拦截下来,输送到能够累积污泥且能够净化污水,降解有机物的设施中,设施有污水处理空间和污泥区,污水处理空间的过水截面设置生物菌群的载体,相对较大的过水截面能够降低过水流速沉淀和截留污染物的能力,设施中累积了大量的微生物菌群,利用累积微生物进行污染物消减,根据日常非雨季情况下雨污合流管道中污水量小的特点,在污水排放到水体之前的主管道上设置截污井,截污井中在出水方向的主管道前设置截污溢流堰,被截留的污水进入旁通截污管,然后流经沉砂格栅池后再进入泥水分离消污处理设施,泥水分离消污处理设施是由至少一个泥水分离消污处理装置构成,具有污泥累积和污水净化的功能,单个的泥水分离消污处理装置可进行串联或并联的组合,根据污泥量的大小,可在泥水分离消污处理设施中的第一个泥水分离消污处理装置之前设置或不设置沉淀消化池,通过对处理装置供氧条件的控制,单个泥水分离消污处理装置在隔绝氧气的情况下进行厌氧处理,或者在利用两个通气管高差的烟囱作用进行充气,实现兼氧或好氧处理,或者在敞开污水处理空间顶板或曝气情况下进行好氧处理,经过串联组合的泥水分离消污处理装置能够实现厌氧处理、A/O方式处理、A2O方式的污水处理,在泥水分离消污处理设施内流程的过水通道或过水洞口处至少设置一道浮动式闸板,正常情况下,水流从浮动式闸板中的过水洞口通过,水位上升时,闸板上升并挡住进出水的过水洞口,泥水分离消污处理装置由污水处理空间和污泥室构成,污泥室位于污水处理空间的侧面或者侧面及下面,沉积的污泥由侧壁的洞口或污水处理空间底板的洞口进入污泥室,在污水处理空间水流自上而下或者自下而上通过,在过水截面上设置填料或滤料或过滤装置,构成生物处理载体区,污水处理空间的顶面设或不设顶板,污泥室的顶面设顶板,顶板上有检查口,相对封闭的污水处理空间及污泥室的顶部侧壁上设至少一个通气管,通气管用来排放消化气,也可以在污水处理空间两个通气管,通气管立在室外通气口在顶部,两道通气立管设有高差,利用烟囱作用,实现空气的流动,污泥室底部沉积的污泥通过底部池外壁的排泥管排泥或者通过污泥室顶板上的活动盖板清掏,已处理污水在泥水分离消污处理设施之后可以设置或不设消毒装置进行消毒处理,一般情况下,污水经过截留和泥水分离消污处理设施的处理后排放水体,在下雨期间,水量和水位提高,雨水翻过截污井的截污堰排放水体,泥水分离消污处理设施中的浮动闸门随水位上浮,关闭过水通道或洞口,阻止外部水流对消污处理设施的水力冲击。
本发明的水体截污消污处理工艺的技术方案是在排水主管道排放水体前的管段上设置截污井,截污井中在出水方向的主管道前设置截污溢流堰,截污井内在排水主管道之外有旁通管,旁通管底标高不高于排水主管道的底标高,旁通管通向沉砂格栅池或沉砂格栅井,沉砂格栅池的下部是沉砂区,沉砂格栅池底低于旁通管管道的底标高,沉砂格栅池的排水出水口处的过水截面设格栅或滤网,沉砂格栅池直接或者通过管道与后面的泥水分离消污处理设施连通,泥水分离消污处理设施由至少一个单元的泥水分离消污处理装置构成,单个泥水分离消污处理装置由污水处理空间和污泥室构成,泥水分离消污处理装置的池壁上有进出污水的过水洞口,其中一端池壁上的过水洞口是进水口,另一端池壁上的过水洞口则是出水口,装置内部过水断面上设置了填料或过滤材料的处理层,污水处理空间的底板有至少一个底板排泥管或泥水空间分隔墙底部设有至少一个沉泥侧排口通向污泥室,多个泥水分离消污处理装置可进行串联或并联的组合,串联的泥水分离消污处理装置采用厌氧处理装置串联或者采用先厌氧处理装置再串联好氧处理装置或兼氧处理装置的流程,泥水分离消污处理设施中的第一个泥水分离消污处理装置之前设置或不设置沉淀消化池,污水处理空间的顶面设或不设顶板,污泥室的顶面设顶板,顶板上有检查口及活动盖板,相对封闭的污水处理空间及污泥室的顶部侧壁上设至少一个引向外部的通气管,污泥室的下部外壁上设或不设外排的排泥管,在泥水分离消污处理设施内处理装置的过水通道或过水洞口处至少设置一道浮动式闸板,泥水分离消污处理设施后设排水管,在泥水分离消污处理设施的末端或设施之后可以设置或不设消毒装置,泥水分离消污处理设施的结构采用钢筋混凝土建造或预制,或者砖砌池体,也可采用工程塑料、复合材料、金属材料等加工。
所述单个泥水分离消污处理装置内由处理装置池外壁、泥水空间分隔墙、污水处理空间底板围成污水处理空间,污水处理空间之外的侧部空间,或者污水处理空间之外的侧部空间及下部空间是污泥室,泥水空间分隔墙的底部有沉泥侧排口或者在污水处理空间底板有底板沉泥管,污水处理空间底板坡向沉泥管或侧排口,泥水分离消污处理装置内污水处理空间的对应两侧池壁上每侧至少有一个过水洞口或过水通道,在污水处理空间内的过水截面上设置填料或过滤材料,填料或过滤材料分布在整个过水截面,直接固定安装或者由托架托板安置,泥水分离消污处理装置内对应两侧的过水洞口或过水通道分别位于填料层或滤料层的上下两侧的池壁或分隔墙上,在污水处理空间的顶部可设置或不设置顶板,在污泥室的顶部设有顶板,顶板上设有活动盖板的检查口,装置内部空间的上部可有通气孔连通或者不连通,相对封闭的内部空间的上部至少有一道通气管通向外部,污泥室中活动盖板检查口下方的底部可设或不设凹形的沉泥槽,污泥室下部的外壁上设置或不设向外排放的排泥管,单个泥水分离消污处理装置内的污水处理空间可用分隔墙分隔为并联的两部分,也可以用导流分隔墙分为串联的两部分都有填料滤料的污水处理空间或一侧是填料滤料另一侧是过水通道的污水处理空间,导流分隔墙的上平面高出水面,下面高出底板之间是过水通道。
所述泥水分离消污处理装置的好氧处理是污水处理空间的上部可用顶板封闭,也可敞开不设顶板,在污水处理空间内可设或不设曝气装置及曝气管。
所述的浮动式闸板设置在池外壁过水洞口部位,中部有过水洞口且内部有气腔或浮子的闸板置于闸板槽内,闸板槽固定在池外壁过水洞口处,闸板与闸板槽之间有间隙,闸板上部与闸板槽上部有移动空间,闸板槽两侧及上下有闸板限位板或限位条架,闸板及闸板槽上的洞口对应侧壁过水洞口,闸板过水洞口下方的闸板面板面积及高度大于侧壁过水洞口的面积及高度,活动闸板上浮后,活动闸板过水洞口与池外壁过水洞口错开,活动闸板过水洞口下方的面板遮盖住池外壁过水洞口。
所述污水处理空间的底板沉泥管的下排口在污水处理空间底板的下平面以下,下排出口位于沉泥管的侧面,出口上缘与底板有间距,污水处理空间底板的下平面是水平的,或者靠污泥室检查口一侧的底面相对高。
所述泥水分离消污处理装置污水处理空间的上部敞开不设顶板,可在污水处理空间的上部水面种植或不种植水生植物。
所述截污旁通管的管底标高不高于排水主管道的管底标高,截污溢流堰的上平标高高出管道管底标高,截污溢流堰位于截污井出水端排水主管道的前面,且截断了管道的下部。
本发明能够减少雨污合流管道中的污水向水体排放,并且能够将污染物集中到具有降解污染物的处理装置中进行消污,有益之处在于截污和消污,防止水体污染,是一种预防和治理分散式水体污染的措施。
附图说明
以下结合附图及实例对本发明的结构进一步说明。
图1是本发明实施方案的截污工艺示意图。
图2是图1中截污井的俯视平面图。
图3是单个泥水分离消污处理装置设计方式一的俯视平面图。
图4是图3的A-A视图。
图5是图3的B-B视图。
图6是单个泥水分离消污处理装置设计方式二的截面视图。
图7是单个泥水分离消污处理装置设计方式三的俯视平面图。
图8是图7的C-C视图。
图9是单个泥水分离消污处理装置设计方式四的截面视图。
图10是单个泥水分离消污处理装置设计方式五的俯视平面图。
图11是图10的D-D视图。
图12是浮动式闸板的侧面剖视图。
图13是闸板面板视图。
附图中,1、泥水分离消污处理设施;2、排水主管道;3、截污井;4、截污旁通管;5、沉砂格栅池;6、格栅或滤网;7、排水管;8、截污溢流堰;9、过水洞口;10、污泥室;11、填料或过滤材料;12、泥水空间分隔墙;13、通气管;14、沉泥侧排口;15、污水处理室顶板;16、污水处理空间底板;17、底板沉泥管;18、排泥管;19、污泥室底板;20、池外壁;21、污泥室顶板;22、积泥槽;23、导流分隔墙;24、过水通道;25、污水处理空间分隔墙;26、活动闸板;27、闸板槽;28、闸板过水洞口;29、浮子或空腔;
具体实施方式
如图1、2、3、4、5、12、13所示的是采用泥水分离消污处理装置设计方式一的实施方案,在排水主管道2的排放前设截污井3,截污井3的出水端有截污溢流堰8,截污井3另连接截污旁通管4,在截污旁通管4之后连接沉砂格栅池5及泥水分离消污处理设施1,泥水分离消污处理设施1之后是排水管7,在截污井3中截污溢流堰8后是排水主管道2。泥水分离消污处理设施1由至少一个泥水分离消污处理装置构成,单个泥水分离消污处理装置由污水处理空间和污泥室10两部分,污泥室10位于污水处理空间侧部和下方,污水处理空间的过水截面上有填料或过滤材料11构成的区域,在污水处理空间与污泥室10之间由泥水空间分隔墙12分隔,泥水空间分隔墙的下部是连通污水处理孔与沉泥室10的沉泥侧排口14,泥水分离消污处理装置的两侧对应的侧壁上有过水洞口9,两侧的过水洞口9分别位于过水截面填料区的上方和下方的侧壁上。装置上部池外壁20设有通气管13,沉泥室10的底部有沉泥槽22,向外有排泥管18。在泥水分离消污处理设施1内部流程的过水洞口处设有浮动式闸门。
如图6所示的单个泥水分离消污处理装置的设计方式二是污泥室10位于污水处理空间的侧方,其他方面同设计方式一。
如图7、8所示的单个泥水分离消污处理装置的设计方式三是泥水分离消污处理装置中污水处理空间由导流分隔墙23分为串联的两个空间,在其中一个空间过水截面中设置了填料或过滤材料11,导流分隔墙23下部与污水处理空间底板16之间是过水通道24,其他方面同设计方式一。
如图9所示的单个泥水分离消污处理装置的设计方式四是泥水分离消污处理装置中污水处理空间由导流分隔墙23分为串联的两个空间,在两个空间的过水截面都设置了填料或过滤材料11,其他方面同设计方式一。
如图10、11所示的单个泥水分离消污处理装置的设计方式五是泥水分离消污处理装置中污水处理空间由污水处理空间分隔墙25分为两个并联的污水处理空间,在两个空间过水截面都设置填料或过滤材料11,其他方面同方式一。
Claims (7)
1.一种水体截污消污处理方法及工艺,其主要特征在于这种截污消污方法是将排水系统中的污水在进入水体之前拦截下来,输送到能够累积污泥且能够净化污水,降解有机物的设施中,设施有污水处理空间和污泥区,污水处理空间的过水截面设置生物菌群的载体,相对较大的过水截面能够降低过水流速沉淀和截留污染物的能力,设施中累积了大量的微生物菌群,利用累积微生物进行污染物消减,根据日常非雨季情况下雨污合流管道中污水量小的特点,在污水排放到水体之前的主管道上设置截污井,截污井中在出水方向的主管道前设置截污溢流堰,被截留的污水进入旁通截污管,然后流经沉砂格栅池后再进入泥水分离消污处理设施,泥水分离消污处理设施是由至少一个泥水分离消污处理装置构成,具有污泥累积和污水净化的功能,单个的泥水分离消污处理装置可进行串联或并联的组合,根据污泥量的大小,可在泥水分离消污处理设施中的第一个泥水分离消污处理装置之前设置或不设置沉淀消化池,通过对处理装置供氧条件的控制,单个泥水分离消污处理装置在隔绝氧气的情况下进行厌氧处理,或者在利用两个通气管高差的烟囱作用进行充气,实现兼氧或好氧处理,或者在敞开污水处理空间顶板或曝气情况下进行好氧处理,经过串联组合的泥水分离消污处理装置能够实现厌氧处理、A/O方式处理、A2O方式的污水处理,在泥水分离消污处理设施内流程的过水通道或过水洞口处至少设置一道浮动式闸板,正常情况下,水流从浮动式闸板中的过水洞口通过,水位上升时,闸板上升并挡住进出水的过水洞口,泥水分离消污处理装置由污水处理空间和污泥室构成,污泥室位于污水处理空间的侧面或者侧面及下面,沉积的污泥由侧壁的洞口或污水处理空间底板的洞口进入污泥室,在污水处理空间水流自上而下或者自下而上通过,在过水截面上设置填料或滤料或过滤装置,构成生物处理载体区,污水处理空间的顶面设或不设顶板,污泥室的顶面设顶板,顶板上有检查口,相对封闭的污水处理空间及污泥室的顶部侧壁上设至少一个通气管,通气管用来排放消化气,也可以在污水处理空间两个通气管,通气管立在室外通气口在顶部,两道通气立管设有高差,利用烟囱作用,实现空气的流动,污泥室底部沉积的污泥通过底部池外壁的排泥管排泥或者通过污泥室顶板上的活动盖板清掏,已处理污水在泥水分离消污处理设施之后可以设置或不设消毒装置进行消毒处理,一般情况下,污水经过截留和泥水分离消污处理设施的处理后排放水体,在下雨期间,水量和水位提高,雨水翻过截污井的截污堰排放水体,泥水分离消污处理设施中的浮动闸门随水位上浮,关闭过水通道或洞口,阻止外部水流对消污处理设施的水力冲击。
这种水体截污消污处理工艺的特征在于是在排水主管道排放水体前的管段上设置截污井,截污井中在出水方向的主管道前设置截污溢流堰,截污井内在排水主管道之外有旁通管,旁通管底标高不高于排水主管道的底标高,旁通管通向沉砂格栅池或沉砂格栅井,沉砂格栅池的下部是沉砂区,沉砂格栅池底低于旁通管管道的底标高,沉砂格栅池的排水出水口处的过水截面设格栅或滤网,沉砂格栅池直接或者通过管道与后面的泥水分离消污处理设施连通,泥水分离消污处理设施由至少一个单元的泥水分离消污处理装置构成,单个泥水分离消污处理装置由污水处理空间和污泥室构成,泥水分离消污处理装置的池壁上有进出污水的过水洞口,其中一端池壁上的过水洞口是进水口,另一端池壁上的过水洞口则是出水口,装置内部过水断面上设置了填料或过滤材料的处理层,污水处理空间的底板有至少一个底板排泥管或泥水空间分隔墙底部设有至少一个沉泥侧排口通向污泥室,多个泥水分离消污处理装置可进行串联或并联的组合,串联的泥水分离消污处理装置采用厌氧处理装置串联或者采用先厌氧处理装置再串联好氧处理装置或兼氧处理装置的流程,泥水分离消污处理设施中的第一个泥水分离消污处理装置之前设置或不设置沉淀消化池,污水处理空间的顶面设或不设顶板,污泥室的顶面设顶板,顶板上有检查口及活动盖板,相对封闭的污水处理空间及污泥室的顶部侧壁上设至少一个引向外部的通气管,污泥室的下部外壁上设或不设外排的排泥管,在泥水分离消污处理设施内处理装置的过水通道或过水洞口处至少设置一道浮动式闸板,泥水分离消污处理设施后设排水管,在泥水分离消污处理设施的末端或设施之后可以设置或不设消毒装置,泥水分离消污处理设施的结构采用钢筋混凝土建造或预制,或者砖砌池体,也可采用工程塑料、复合材料、金属材料等加工。
2.根据权利要求1所述的水体截污消污处理工艺,其特征在于所述单个泥水分离消污处理装置内由处理装置池外壁、泥水空间分隔墙、污水处理空间底板围成污水处理空间,污水处理空间之外的侧部空间,或者污水处理空间之外的侧部空间及下部空间是污泥室,泥水空间分隔墙的底部有沉泥侧排口或者在污水处理空间底板有底板沉泥管,污水处理空间底板坡向沉泥管或侧排口,泥水分离消污处理装置内污水处理空间的对应两侧池壁上每侧至少有一个过水洞口或过水通道,在污水处理空间内的过水截面上设置填料或过滤材料,填料或过滤材料分布在整个过水截面,直接固定安装或者由托架托板安置,泥水分离消污处理装置内对应两侧的过水洞口或过水通道分别位于填料层或滤料层的上下两侧的池壁或分隔墙上,在污水处理空间的顶部可设置或不设置顶板,在污泥室的顶部设有顶板,顶板上设有活动盖板的检查口,装置内部空间的上部可有通气孔连通或者不连通,相对封闭的内部空间的上部至少有一道通气管通向外部,污泥室中活动盖板检查口下方的底部可设或不设凹形的沉泥槽,污泥室下部的外壁上设置或不设向外排放的排泥管,单个泥水分离消污处理装置内的污水处理空间可用分隔墙分隔为并联的两部分,也可以用导流分隔墙分为串联的两部分都有填料滤料的污水处理空间或一侧是填料滤料另一侧是过水通道的污水处理空间,导流分隔墙的上平面高出水面,下面高出底板之间是过水通道。
3.根据权利要求1所述的水体截污消污处理工艺,其特征在于所述泥水分离消污处理装置的好氧处理是污水处理空间的上部可用顶板封闭,也可敞开不设顶板,在污水处理空间内可设或不设曝气装置及曝气管。
4.根据权利要求1所述浮动式闸板设置在池外壁过水洞口部位,中部有过水洞口且内部有气腔或浮子的闸板置于闸板槽内,闸板槽固定在池外壁过水洞口处,闸板与闸板槽之间有间隙,闸板上部与闸板槽上部有移动空间,闸板槽两侧及上下有闸板限位板或限位条架,闸板及闸板槽上的洞口对应侧壁过水洞口,闸板过水洞口下方的闸板面板面积及高度大于侧壁过水洞口的面积及高度,活动闸板上浮后,活动闸板过水洞口与池外壁过水洞口错开,活动闸板过水洞口下方的面板遮盖住池外壁过水洞口。
5.根据权利要求1所述的水体截污消污处理工艺,其特征在于所述的污水处理空间的底板沉泥管的下排口在污水处理空间底板的下平面以下,下排出口位于沉泥管的侧面,出口上缘与底板有间距,污水处理空间底板的下平面是水平的,或者靠污泥室检查口一侧的底面相对高。
6.根据权利要求1所述的水体截污消污处理工艺,其特征在于所述的泥水分离消污处理装置污水处理空间的上部敞开,可在水面种植或不种植水生植物。
7.根据权利要求1所述的水体截污消污处理工艺,其特征在于所述的截污溢流堰的上平标高高出管道管底标高,截污溢流堰位于截污井出水端排水主管道的前面,且截断了管道的下部。
Priority Applications (1)
| Application Number | Priority Date | Filing Date | Title |
|---|---|---|---|
| CN201210028326.6A CN103241891B (zh) | 2012-02-03 | 2012-02-03 | 一种水体截污消污处理方法及工艺 |
Applications Claiming Priority (1)
| Application Number | Priority Date | Filing Date | Title |
|---|---|---|---|
| CN201210028326.6A CN103241891B (zh) | 2012-02-03 | 2012-02-03 | 一种水体截污消污处理方法及工艺 |
Publications (2)
| Publication Number | Publication Date |
|---|---|
| CN103241891A true CN103241891A (zh) | 2013-08-14 |
| CN103241891B CN103241891B (zh) | 2016-05-04 |
Family
ID=48921804
Family Applications (1)
| Application Number | Title | Priority Date | Filing Date |
|---|---|---|---|
| CN201210028326.6A Expired - Fee Related CN103241891B (zh) | 2012-02-03 | 2012-02-03 | 一种水体截污消污处理方法及工艺 |
Country Status (1)
| Country | Link |
|---|---|
| CN (1) | CN103241891B (zh) |
Cited By (5)
| Publication number | Priority date | Publication date | Assignee | Title |
|---|---|---|---|---|
| CN104828954A (zh) * | 2015-04-27 | 2015-08-12 | 桂林市广泽科技开发有限公司 | 一种用于雨水/污水净化处理的微生物菌滤床 |
| CN106115979A (zh) * | 2016-08-24 | 2016-11-16 | 南京置格环保科技有限公司 | 一种原位截污分段处理污水的方法及其专用装置 |
| CN106186527A (zh) * | 2016-08-02 | 2016-12-07 | 河海大学 | 环境友好型污水一体化处理装置 |
| CN107522360A (zh) * | 2017-09-18 | 2017-12-29 | 浙江问源环保科技股份有限公司 | 一种排入河道的污水收集及处理系统 |
| CN113354200A (zh) * | 2021-06-11 | 2021-09-07 | 武汉市润绿环保科技有限公司 | 城镇生活废水处理系统 |
Family Cites Families (7)
| Publication number | Priority date | Publication date | Assignee | Title |
|---|---|---|---|---|
| CN2361630Y (zh) * | 1998-05-08 | 2000-02-02 | 刘飞 | 无动力生活污水处理装置 |
| JP2000233193A (ja) * | 1999-02-10 | 2000-08-29 | Planning Core Kenchiku Jimusho:Kk | 雨水と浴槽残り湯の再利用装置 |
| CN1257115C (zh) * | 2000-02-29 | 2006-05-24 | 黄斌夫 | 下水合流污水生化同步处理系统 |
| CN2863947Y (zh) * | 2005-12-20 | 2007-01-31 | 河海大学 | 控制城市面源污染的初期雨水截留系统 |
| CN2895402Y (zh) * | 2006-04-11 | 2007-05-02 | 赵峰 | 酸碱生态的过程接触消化池 |
| JP5140384B2 (ja) * | 2007-11-08 | 2013-02-06 | 積水化成品工業株式会社 | 雨水貯留装置とその施工方法 |
| CN101811800B (zh) * | 2009-08-28 | 2011-08-10 | 刘海亚 | 一种生活污水处理装置 |
-
2012
- 2012-02-03 CN CN201210028326.6A patent/CN103241891B/zh not_active Expired - Fee Related
Cited By (7)
| Publication number | Priority date | Publication date | Assignee | Title |
|---|---|---|---|---|
| CN104828954A (zh) * | 2015-04-27 | 2015-08-12 | 桂林市广泽科技开发有限公司 | 一种用于雨水/污水净化处理的微生物菌滤床 |
| CN106186527A (zh) * | 2016-08-02 | 2016-12-07 | 河海大学 | 环境友好型污水一体化处理装置 |
| CN106186527B (zh) * | 2016-08-02 | 2019-03-29 | 河海大学 | 环境友好型污水一体化处理装置 |
| CN106115979A (zh) * | 2016-08-24 | 2016-11-16 | 南京置格环保科技有限公司 | 一种原位截污分段处理污水的方法及其专用装置 |
| CN107522360A (zh) * | 2017-09-18 | 2017-12-29 | 浙江问源环保科技股份有限公司 | 一种排入河道的污水收集及处理系统 |
| CN107522360B (zh) * | 2017-09-18 | 2024-02-02 | 浙江问源环保科技股份有限公司 | 一种排入河道的污水收集及处理系统 |
| CN113354200A (zh) * | 2021-06-11 | 2021-09-07 | 武汉市润绿环保科技有限公司 | 城镇生活废水处理系统 |
Also Published As
| Publication number | Publication date |
|---|---|
| CN103241891B (zh) | 2016-05-04 |
Similar Documents
| Publication | Publication Date | Title |
|---|---|---|
| CN102101736B (zh) | 一种人工强化生态滤床污水处理系统及应用 | |
| CN102359172B (zh) | 一种城市生活小区雨水分流收集处理系统 | |
| WO2021174722A1 (zh) | 一种控制雨污合流溢流污染的调蓄净化系统及方法 | |
| CN102120677B (zh) | 多级污水处理用生物反应系统的制作方法及污水处理方法 | |
| KR101865618B1 (ko) | 블록 모듈형 초기우수처리장치 | |
| CN103241891A (zh) | 一种水体截污消污处理方法及工艺 | |
| CN202658040U (zh) | 一种水体截污消污处理装置 | |
| CN109734194A (zh) | 防堵塞与通气的潜流人工湿地系统 | |
| CN202063793U (zh) | 多级污水处理用生物反应系统 | |
| CN113149335A (zh) | 一种用于黑臭河道污水分层治理机构及综合整治系统 | |
| CN105174635A (zh) | 多级雨水生物处理装置 | |
| CN202080986U (zh) | 人工湿地出水回流装置 | |
| CN212403864U (zh) | 雨水梯级生态缓冲净化系统 | |
| CN113979603A (zh) | 一种填料可替换双层种植套筒活水式模块化人工湿地装置 | |
| CN107814439B (zh) | 一种新农村生活污水脱氮除磷净化湿地系统 | |
| CN215161978U (zh) | 一种浅层填料床泥水分离处理装置 | |
| CN112376352B (zh) | 一种海绵城市雨水收集净化综合系统 | |
| CN212403875U (zh) | 一种清水产流护坡系统 | |
| CN203768181U (zh) | 一种应用于雨水管网的阳台废水、初期雨水净化器 | |
| CN110981102B (zh) | 一种对水体污染生态环境修复的景观池及其使用方法 | |
| CN2313980Y (zh) | 化粪池净化器 | |
| CN214363910U (zh) | 一种城市雨水净化装置 | |
| CN219098913U (zh) | 一种三池化粪污水处理装置 | |
| CN205061812U (zh) | 多级雨水生物处理装置 | |
| CN210438578U (zh) | 一种复式景观型人工湿地系统 |
Legal Events
| Date | Code | Title | Description |
|---|---|---|---|
| C06 | Publication | ||
| PB01 | Publication | ||
| C10 | Entry into substantive examination | ||
| SE01 | Entry into force of request for substantive examination | ||
| C14 | Grant of patent or utility model | ||
| GR01 | Patent grant | ||
| CF01 | Termination of patent right due to non-payment of annual fee |
Granted publication date: 20160504 Termination date: 20180203 |
|
| CF01 | Termination of patent right due to non-payment of annual fee |