CN103240343A - Fine-adjusting device of iron clad forming tool - Google Patents

Fine-adjusting device of iron clad forming tool Download PDF

Info

Publication number
CN103240343A
CN103240343A CN2013101525619A CN201310152561A CN103240343A CN 103240343 A CN103240343 A CN 103240343A CN 2013101525619 A CN2013101525619 A CN 2013101525619A CN 201310152561 A CN201310152561 A CN 201310152561A CN 103240343 A CN103240343 A CN 103240343A
Authority
CN
China
Prior art keywords
iron
push rod
clad forming
fine
fixed
Prior art date
Legal status (The legal status is an assumption and is not a legal conclusion. Google has not performed a legal analysis and makes no representation as to the accuracy of the status listed.)
Pending
Application number
CN2013101525619A
Other languages
Chinese (zh)
Inventor
邵继胜
孙世海
赵红卫
刘丽红
曹晋
聂永福
李野
Current Assignee (The listed assignees may be inaccurate. Google has not performed a legal analysis and makes no representation or warranty as to the accuracy of the list.)
Harbin Aircraft Industry Group Co Ltd
Original Assignee
Harbin Aircraft Industry Group Co Ltd
Priority date (The priority date is an assumption and is not a legal conclusion. Google has not performed a legal analysis and makes no representation as to the accuracy of the date listed.)
Filing date
Publication date
Application filed by Harbin Aircraft Industry Group Co Ltd filed Critical Harbin Aircraft Industry Group Co Ltd
Priority to CN2013101525619A priority Critical patent/CN103240343A/en
Publication of CN103240343A publication Critical patent/CN103240343A/en
Pending legal-status Critical Current

Links

Images

Landscapes

  • Forklifts And Lifting Vehicles (AREA)

Abstract

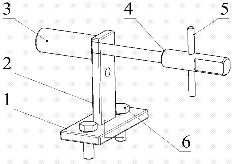
本发明属于航空机械领域,特别是涉及到一种包铁成形工装的微调装置,包括底座[1]、固定在底座[1]上的支撑板[2],在支撑板[2]的一侧设置有顶冒[3],另一侧通过螺纹孔[8]连接有推杆[4],推杆[4]与手柄[5]固定。本发明包铁成形模具用车间内的叉车放到设备的工作台面上,与包铁成形模具宽度一样,只要将模具的定位孔与设备上的定位孔保证前后对接准确,然后操作者用螺钉将微调装置固定在工作台上,通过手柄或者用扳手拧推杆,使顶冒的前端作用在包铁成形模具的凸模部位,由于拧推杆一端是螺纹,操作者可以用手很轻松的推动1吨左右的工装。可以精细准确的将模具定位孔与设备上的定位孔进行对接。

Figure 201310152561

The invention belongs to the field of aviation machinery, and in particular relates to a fine-tuning device for iron-clad forming tooling, which includes a base [1], a support plate [2] fixed on the base [1], and a support plate [2] on one side A top cap [3] is provided, and the other side is connected with a push rod [4] through a threaded hole [8], and the push rod [4] is fixed with the handle [5]. The forklift in the iron-clad forming mold of the present invention is placed on the working table of the equipment, which is the same as the width of the iron-clad forming mold. As long as the positioning holes of the mold and the positioning holes on the equipment are ensured to be connected accurately before and after, then the operator uses screws. The fine-tuning device is fixed on the workbench, and the push rod is screwed by the handle or a wrench, so that the front end of the top riser acts on the punch part of the iron-clad forming mold. Since one end of the screw push rod is threaded, the operator can easily push it by hand. About 1 ton of tooling. It can finely and accurately connect the positioning hole of the mold with the positioning hole on the equipment.

Figure 201310152561

Description

A kind of micromatic setting of iron clad shaping frock
Technical field
The invention belongs to the aviation machine field, particularly relate to a kind of micromatic setting of iron clad shaping frock.
Background technology
The iron clad shaping dies needs when clamping and will cooperate with fork truck, but the work top of iron clad forming machine equipment has only 200mm wide, on will the work top with the locating hole equipment that is put into just in time of mould, need fork truck to do all around motion, the movement before and after but the fork truck between cars on hand can only carry out, can't accomplish left and right sides translation, so all use the movement about the jaw promotion mould of equipment is done during each mold, but the fuse of jaw of long duration will blow, this also is occurrence that producer does not allow, thus since the weight of mould all each about 1 ton all be a job of wasting time and energy during to iron clad finishing die clamping.
Summary of the invention
Goal of the invention: a kind of micromatic setting of iron clad shaping frock is provided, and the operator can improve speed and the efficient of mould clamping with the movement about the very light promotion mould of hand.
Technical scheme: a kind of micromatic setting of iron clad shaping frock, comprise base 1, be fixed on the gripper shoe 2 on the base 1, be provided with the top in a side of gripper shoe 2 and emit 3, opposite side is connected with push rod 4 by screwed hole 8, and push rod 4 is fixing with handle 5.
Base 1 is fixed on the workbench by two screws 6.
The quantity of described screwed hole 8 is no less than 1.
Described handle 5 is cross structure, and a side is provided with mills flat 12.
Beneficial effect: iron clad shaping dies of the present invention is put on the work top of equipment with the fork truck in the workshop, the same with iron clad shaping dies width, as long as locating hole and the locating hole on the equipment of mould are guaranteed that tandem docking is accurate, the operator is fixed on micromatic setting on the workbench with screw then, twist push rod by handle or with spanner, the front end that the top is emitted acts on the punch position of iron clad shaping dies, because twisting push rod one end is screw thread, the operator can promote frock about 1 ton very easily with hand.Can be meticulous accurately the mould locating hole be docked with locating hole on the equipment.
Description of drawings
Fig. 1 is structural representation of the present invention.
Fig. 2 is base schematic diagram among the present invention.
Fig. 3 is gripper shoe schematic diagram of the present invention.
Fig. 4 emits schematic diagram for top among the present invention.
Fig. 5 is push rod schematic diagram among the present invention.
The specific embodiment
Below in conjunction with accompanying drawing invention is done to describe in further detail, seen also Fig. 1 to Fig. 5.
A kind of micromatic setting of iron clad shaping frock comprises base 1, is fixed on the gripper shoe 2 on the base 1, is provided with the top in a side of gripper shoe 2 and emits 3, and opposite side is connected with push rod 4 by screwed hole 8, and push rod 4 is fixing with handle 5.
Base 1 is fixed on the workbench by two screws 6.
The quantity of described screwed hole 8 is no less than 1.
Described handle 5 is cross structure, and a side is provided with mills flat 12.
During use, at first, with base 1, gripper shoe 2 is pressed the welding of Fig. 1 position together, emit 3 with the top, push rod 4, after handle 5 fits together by Fig. 1, the iron clad shaping dies is put on the work top of equipment with the fork truck in the workshop, near mould the most nearby screw 6 micromatic setting is fixed on the workbench, turning handle 5 advances push rod 4, allow the top emit 3 front end to act on the punch position of iron clad shaping dies, the operator just can promote frock very easily with hand like this, for the ease of using base 1 to manufacture slotted hole 7, screw thread and position according to screw thread 8 each models of mould size gripper shoe 2, this adopts as figure internal thread 9, external screw thread 10 sizes are M18, position, two places up and down, interference fit is generally joined with handle 5 by through hole 11 places, can make according to the different through holes 11 of mould and to get different value, can also make and mill flat 12 operators and turn push rod 4 with spanner, again according to different with the micromatic setting distance as the different shaping dies of Fig. 2, the top that can make different length emits 3 for operator's use, and meticulous finishing accurately carried out docking mission with the locating hole on mould locating hole and the equipment.
Iron clad shaping dies of the present invention is put on the work top of equipment with the fork truck in the workshop, the same with iron clad shaping dies width, as long as locating hole and the locating hole on the equipment of mould are guaranteed that tandem docking is accurate, the operator is fixed on micromatic setting on the workbench with screw then, twist push rod by handle or with spanner, making the front end that emits of top act on the punch position of iron clad shaping dies, is screw thread owing to twist push rod one end, and the operator can promote frock about 1 ton very easily with hand.Can be meticulous accurately the mould locating hole be docked with locating hole on the equipment.

Claims (4)

1.一种包铁成形工装的微调装置,其特征在于,包括底座[1]、固定在底座[1]上的支撑板[2],在支撑板[2]的一侧设置有顶冒[3],另一侧通过螺纹孔[8]连接有推杆[4],推杆[4]与手柄[5]固定。1. A fine-tuning device for iron-clad forming tooling, characterized in that it includes a base [1], a support plate [2] fixed on the base [1], and a top cap [2] is arranged on one side of the support plate [2] 3], the other side is connected with push rod [4] through threaded hole [8], and push rod [4] is fixed with handle [5]. 2.根据权利要求1所述的一种包铁成形工装的微调装置,其特征在于,底座[1]通过两颗螺钉[6]固定在工作台上。2. A fine-tuning device for iron-clad forming tooling according to claim 1, characterized in that the base [1] is fixed on the workbench by two screws [6]. 3.根据权利要求1所述的一种包铁成形工装的微调装置,其特征在于,所述螺纹孔[8]的数量不少于[1]个。3. A fine-tuning device for iron-clad forming tooling according to claim 1, characterized in that the number of said threaded holes [8] is not less than [1]. 4.根据权利要求1所述的一种包铁成形工装的微调装置,其特征在于,所述手柄[5]为十字架结构,一侧设置有铣扁[12]。4. A fine-tuning device for iron-clad forming tooling according to claim 1, characterized in that the handle [5] is a cross structure, and a milling flat [12] is provided on one side.
CN2013101525619A 2013-04-27 2013-04-27 Fine-adjusting device of iron clad forming tool Pending CN103240343A (en)

Priority Applications (1)

Application Number Priority Date Filing Date Title
CN2013101525619A CN103240343A (en) 2013-04-27 2013-04-27 Fine-adjusting device of iron clad forming tool

Applications Claiming Priority (1)

Application Number Priority Date Filing Date Title
CN2013101525619A CN103240343A (en) 2013-04-27 2013-04-27 Fine-adjusting device of iron clad forming tool

Publications (1)

Publication Number Publication Date
CN103240343A true CN103240343A (en) 2013-08-14

Family

ID=48920413

Family Applications (1)

Application Number Title Priority Date Filing Date
CN2013101525619A Pending CN103240343A (en) 2013-04-27 2013-04-27 Fine-adjusting device of iron clad forming tool

Country Status (1)

Country Link
CN (1) CN103240343A (en)

Cited By (3)

* Cited by examiner, † Cited by third party
Publication number Priority date Publication date Assignee Title
CN104512557A (en) * 2013-09-30 2015-04-15 哈尔滨飞机工业集团有限责任公司 Long mobile clamp
CN105666807A (en) * 2016-03-31 2016-06-15 上海迎润精密模塑有限公司 Taking-out device for mold sticking product
CN117428569A (en) * 2023-11-22 2024-01-23 中国第一汽车股份有限公司 Quick and lightweight mould adjustment system

Citations (6)

* Cited by examiner, † Cited by third party
Publication number Priority date Publication date Assignee Title
JPS56163049A (en) * 1980-05-21 1981-12-15 Nitto Seiko Co Ltd Device for adjusting die position of rotary forging machine
JPH0976018A (en) * 1995-09-18 1997-03-25 Amada Co Ltd Device for adjusting positioning of die in press bleak
US20030140747A1 (en) * 2002-01-25 2003-07-31 Norton Spiel Micro adjuster for paper punch die
CN102069202A (en) * 2010-12-30 2011-05-25 宁波鸿达电机模具有限公司 Large-pore diameter precision boring tool for machining center
CN202700991U (en) * 2012-07-13 2013-01-30 昆山三技机械有限公司 Three-dimensional adjustable outlet die device for wire drawing machine
CN202726119U (en) * 2012-09-17 2013-02-13 中国二十二冶集团有限公司 Bore hole alignment adjusting device

Patent Citations (6)

* Cited by examiner, † Cited by third party
Publication number Priority date Publication date Assignee Title
JPS56163049A (en) * 1980-05-21 1981-12-15 Nitto Seiko Co Ltd Device for adjusting die position of rotary forging machine
JPH0976018A (en) * 1995-09-18 1997-03-25 Amada Co Ltd Device for adjusting positioning of die in press bleak
US20030140747A1 (en) * 2002-01-25 2003-07-31 Norton Spiel Micro adjuster for paper punch die
CN102069202A (en) * 2010-12-30 2011-05-25 宁波鸿达电机模具有限公司 Large-pore diameter precision boring tool for machining center
CN202700991U (en) * 2012-07-13 2013-01-30 昆山三技机械有限公司 Three-dimensional adjustable outlet die device for wire drawing machine
CN202726119U (en) * 2012-09-17 2013-02-13 中国二十二冶集团有限公司 Bore hole alignment adjusting device

Cited By (3)

* Cited by examiner, † Cited by third party
Publication number Priority date Publication date Assignee Title
CN104512557A (en) * 2013-09-30 2015-04-15 哈尔滨飞机工业集团有限责任公司 Long mobile clamp
CN105666807A (en) * 2016-03-31 2016-06-15 上海迎润精密模塑有限公司 Taking-out device for mold sticking product
CN117428569A (en) * 2023-11-22 2024-01-23 中国第一汽车股份有限公司 Quick and lightweight mould adjustment system

Similar Documents

Publication Publication Date Title
CN204321682U (en) The two-sided tapping fixture of Multiaxial tapping machine
CN103240343A (en) Fine-adjusting device of iron clad forming tool
CN106345958A (en) Molding method for angled screw cap of airplane
CN103624161A (en) Bending and forming die of reinforcing rib plate
CN203679043U (en) Product blowing part die rack
CN203091485U (en) Hook plate bending device
CN203484833U (en) Electric hoist coiling block blank assembling and welding tool
CN205032630U (en) Quick rivet device of preceding jam plate support
CN202621818U (en) Multi-station riveting tool
CN204622417U (en) A kind of pendulum charging tray for rubber oil sea industry
CN207735937U (en) A kind of hollow piston turning head R arc hydraulic tools
CN204867147U (en) Continuous material feeding unit of punching press part
CN206241602U (en) A kind of device of energy Automatic Combined ironware and working of plastics
CN206250916U (en) A kind of clamp tool of electric motor end cap
CN204638795U (en) A kind of horizontal corrector
CN205519455U (en) Riveting apparatus
CN204585820U (en) A kind of automobile back tail lamp positioning constant pressure device
CN207309494U (en) A kind of distance rod ball pin skeleton processing tool
CN203738096U (en) Automatic pouring gate milling machine
CN204194569U (en) A kind of Novel framework frock punch die
CN204430813U (en) A kind of pneumatic oblique mould clamping device
CN204414449U (en) A kind of cutting machine for the processing of mobile phone moulding
CN204503987U (en) A kind of lower trailing arm bracket mould
CN203109408U (en) Shape cutting device of brake cylinder base plate of railway wagon
CN204089518U (en) A kind of armature spindle milling machine fixture

Legal Events

Date Code Title Description
C06 Publication
PB01 Publication
C10 Entry into substantive examination
SE01 Entry into force of request for substantive examination
C02 Deemed withdrawal of patent application after publication (patent law 2001)
WD01 Invention patent application deemed withdrawn after publication

Application publication date: 20130814