CN103201435A - 饮食垃圾处理装置 - Google Patents
饮食垃圾处理装置 Download PDFInfo
- Publication number
- CN103201435A CN103201435A CN2010800693912A CN201080069391A CN103201435A CN 103201435 A CN103201435 A CN 103201435A CN 2010800693912 A CN2010800693912 A CN 2010800693912A CN 201080069391 A CN201080069391 A CN 201080069391A CN 103201435 A CN103201435 A CN 103201435A
- Authority
- CN
- China
- Prior art keywords
- food garbage
- cutter
- pulverizing
- blade
- housing
- Prior art date
- Legal status (The legal status is an assumption and is not a legal conclusion. Google has not performed a legal analysis and makes no representation as to the accuracy of the status listed.)
- Pending
Links
Images
Classifications
-
- E—FIXED CONSTRUCTIONS
- E03—WATER SUPPLY; SEWERAGE
- E03C—DOMESTIC PLUMBING INSTALLATIONS FOR FRESH WATER OR WASTE WATER; SINKS
- E03C1/00—Domestic plumbing installations for fresh water or waste water; Sinks
- E03C1/12—Plumbing installations for waste water; Basins or fountains connected thereto; Sinks
- E03C1/26—Object-catching inserts or similar devices for waste pipes or outlets
- E03C1/266—Arrangement of disintegrating apparatus in waste pipes or outlets; Disintegrating apparatus specially adapted for installation in waste pipes or outlets
- E03C1/2665—Disintegrating apparatus specially adapted for installation in waste pipes or outlets
-
- B—PERFORMING OPERATIONS; TRANSPORTING
- B02—CRUSHING, PULVERISING, OR DISINTEGRATING; PREPARATORY TREATMENT OF GRAIN FOR MILLING
- B02C—CRUSHING, PULVERISING, OR DISINTEGRATING IN GENERAL; MILLING GRAIN
- B02C18/00—Disintegrating by knives or other cutting or tearing members which chop material into fragments
- B02C18/06—Disintegrating by knives or other cutting or tearing members which chop material into fragments with rotating knives
- B02C18/16—Details
- B02C18/18—Knives; Mountings thereof
Landscapes
- Engineering & Computer Science (AREA)
- Food Science & Technology (AREA)
- Environmental & Geological Engineering (AREA)
- Health & Medical Sciences (AREA)
- Life Sciences & Earth Sciences (AREA)
- Hydrology & Water Resources (AREA)
- Public Health (AREA)
- Water Supply & Treatment (AREA)
- Crushing And Pulverization Processes (AREA)
- Sink And Installation For Waste Water (AREA)
- Processing Of Solid Wastes (AREA)
Abstract
本发明提供饮食垃圾处理装置,其包含:上部开放用于投入饮食垃圾,且在一侧形成排出口用于排出粉碎的饮食垃圾的壳体;和安装在所述壳体的内侧,用于粉碎投入所述壳体内的饮食垃圾,以圆盘形状为本体在上部形成有突出刀刃和曲折刀刃的粉碎切割刀;和安装在所述壳体的内侧,将通过所述粉碎切割刀的饮食垃圾二次粉碎的第2切割刀;以及连接于使所述粉碎切割刀和所述第2切割刀旋转的旋转轴,提供旋转力使所述粉碎切割刀和所述第2切割刀旋转的马达。因此,由粉碎切割刀和第2切割刀可将饮食垃圾微细地粉碎,且粉碎切割刀的突出刀刃可以过滤异物质,防止由异物质损坏切割刀和饮食垃圾处理装置的故障,且粉碎切割刀的曲折刀刃和壳体的粉碎刀刃可以粉碎沿着壳体内侧面推挤尚未粉碎的纤维材质,且第2切割刀的一侧部曲折可以防止切割刀被纤维物质缠绕。另外,壳体内部具有突起和截水圈,可以防止向壳体内部流入的饮食垃圾和粉碎饮食垃圾产生的水分的溢流,且壳体内侧倾斜形成隔板可以顺畅地排出粉碎的饮食垃圾,且壳体的外侧具有音响发生部,可以减小由粉碎切割刀和第2切割刀的旋转粉碎饮食垃圾时产生的噪音。
Description
技术领域
本发明涉及饮食垃圾处理装置,更具体地说,本发明涉及将家庭或饮食店产生的饮食垃圾微细地粉碎后排出的饮食垃圾处理装置。
背景技术
一般设置于家庭或饮食店厨房洗碗槽下部的饮食垃圾处理装置是,在需要时驱动将饮食垃圾微细地粉碎后,通过排出管道向外部排出的构成。
这样的饮食垃圾处理装置设置在洗碗槽排水口的下部,利用以电动马达旋转的粉碎板或粉碎刀刃将饮食垃圾粉碎后,通过排出管道向外部排出的构成,虽然其可以便利地处理饮食垃圾,但是因为饮食垃圾以粉碎的状态向外部排出,在下水管道中不能分解,所以具有堵塞管道或恶臭向外部散出的问题,并具有使污水处理厂丧失处理能力的问题。
为了解决这样的问题,掲示在饮食垃圾粉碎后投入微生物来提高饮食垃圾处理效果的技术,提升饮食垃圾的分解,以缓解异味和下水道堵塞的现象。
但是,以标准的饮食垃圾处理装置为例,在饮食垃圾的粉碎过程中,依靠马达旋转的粉碎板或粉碎刀刃和水一起带动饮食垃圾旋转,沿着粉碎室的内侧面产生向上涌出的现象(漩涡),因此存在不能平滑地粉碎的问题。
另外,由于使用以单层形成的粉碎板或粉碎刀刃粉碎饮食垃圾,很难将饮食垃圾粉碎的细微,再加饮食垃圾可能包含像筷子的异物质,所以存在粉碎板和粉碎刀刃被破损的问题。
发明内容
发明所要解决的课题
本发明的目的是提供将投入饮食垃圾处理装置的饮食垃圾,利用粉碎切割刀和第2切割刀将其微细地粉碎,并具有突出刀刃和曲折刀刃用于过滤可能包含在饮食垃圾中像筷子等的异物质的饮食垃圾处理装置。
另外,本发明的另一目的是提供投入壳体中的饮食垃圾在粉碎时,对产生的水和粉碎的饮食垃圾用壳体抑留,防止向外流出,使粉碎的饮食垃圾通过排出口顺畅地排出,并具有音响发生部用于减小由2层构成的切割刀粉碎饮食垃圾所产生噪音的饮食垃圾处理装置。
用于解决课题的方法
本发明提供饮食垃圾处理装置,其包含:上部开放用于投入饮食垃圾,且在一侧形成排出口用于排出粉碎的饮食垃圾的壳体;和安装在所述壳体的内侧,用于粉碎投入所述壳体内的饮食垃圾,以圆盘形状为本体在上部形成有突出刀刃和曲折刀刃的粉碎切割刀;和安装在所述壳体的内侧,将通过所述粉碎切割刀的饮食垃圾二次粉碎的第2切割刀;以及连接于使所述粉碎切割刀和所述第2切割刀旋转的旋转轴,提供旋转力使所述粉碎切割刀和所述第2切割刀旋转的马达。
根据本发明的饮食垃圾处理装置,其特征是,所述粉碎切割刀具有圆盘形状的本体,在本体的中央上部可以形成将饮食垃圾粉碎的多个突出刀刃,在本体的外侧面可以形成一侧端部向上突出将向所述壳体投入的饮食垃圾粉碎的多个曲折刀刃,在所述圆盘形状的本体中央上部可以形成多个具有一定旋转角度的突出刀刃,所述多个曲折刀刃可以形成于所述多个突出刀刃之间,所述多个突出刀刃可以具有在所述本体与旋转方向垂直曲折突出且流入粉碎的饮食垃圾的注入口,在所述圆盘形状的本体分别可以形成与各个所述突出刀刃具备的注入口联通的流出孔。
另外,所述粉碎切割刀具有圆盘形状的本体,在所述本体的上部可以形成与所述本体的旋转方向垂直曲折并具有流入口的多个突出刀刃,所述多个突出刀刃可以从所述本体中央形成至外侧的圆周面末端,所述多个突出刀刃以一定旋转角度可以形成于所述本体的上部,并可以形成与所述流入口连通将流入所述流入口的饮食垃圾向下部移送的流出口。
另外,所述粉碎切割刀具有圆盘形状的本体,在所述本体的上部沿着旋转方向可以从外侧圆周面末端至本体中心部的中央向上部曲折形成多个曲折刀刃,所述多个曲折刀刃的形成可以具有一定的角度,所述多个曲折刀刃上可以形成将粉碎的饮食垃圾向下部移送的移送部。
另外,根据本发明的饮食垃圾处理装置的第2切割刀是由第1刀片部和第2刀片部形成,所述第2刀片部曲折使得可以位于比第1刀片部高的上部,所述第1刀片部与所述第2刀片部的一面可以向所述第2切割刀旋转的方向形成粉碎饮食垃圾的切削刀刃。
而且,根据本发明的饮食垃圾处理装置的所述壳体外侧的一侧面上可以形成投入微生物分解食物垃圾的微生物投入口,所述排出口可以与所述壳体内侧的隔板连接,并为了顺畅地排出饮食垃圾所述隔板可以倾斜形成。
另外,所述壳体的内侧,可以形成突起防止向所述壳体投入的饮食垃圾溢流排出,可以形成粉碎刀刃用于粉碎向所述壳体内侧面移动的饮食垃圾,以及可以形成截水圈防止粉碎所述饮食垃圾产生的水分溢流,而且在所述粉碎切割刀和所述第2切割刀驱动时,为了减小产生的噪音,在所述壳体的外侧可以具有产生旋律的音响发生部。
发明效果
根据本发明的粉碎切割刀及利用其的饮食垃圾处理装置具有如下的效果。
第一,由粉碎切割刀和第2切割刀可将饮食垃圾微细地粉碎,且粉碎切割刀的突出刀刃可以过滤异物质,防止由异物质损坏切割刀和饮食垃圾处理装置的故障。
第二,粉碎切割刀的曲折刀刃和壳体的粉碎刀刃可以粉碎沿着壳体内侧面推挤尚未粉碎的纤维材质,且第2切割刀的一侧部曲折可以防止切割刀被纤维物质缠绕。
第三,壳体内部具有突起和截水圈,可以防止向壳体内部流入的饮食垃圾和粉碎饮食垃圾产生的水分的溢流,且壳体内侧倾斜形成隔板可以顺畅地排出粉碎的饮食垃圾。
第四,壳体的外侧具有音响发生部,可以减小由粉碎切割刀和第2切割刀的旋转粉碎饮食垃圾时产生的噪音。
附图说明
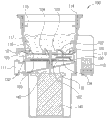
图1是根据本发明的饮食垃圾处理装置的整体外观斜视图。
图2是在图1中壳体内侧的粉碎切割刀的一实施例斜视图。
图3是在图1中壳体内侧的粉碎切割刀的另一实施例斜视图。
图4是在图1中壳体内侧的粉碎切割刀的又另一实施例斜视图。
图5是在图1中壳体内侧的第2切割刀的斜视图。
图6是图1的概念截面图。
图7是在图6的壳体内侧投入饮食垃圾的状态截面图。
图8是在图6的壳体内侧投入的饮食垃圾被粉碎切割刀和第2切割刀粉碎的状态斜视图。
图9是被图6的粉碎切割刀和第2切割刀粉碎的饮食垃圾从排出口排出的状态截面图。
具体实施方式
以下,结合附图对本发明的较佳实施例进行说明。
在本说明书及权利要求书中所使用的术语或单词不应限制在通常或字典上的意义来解释,基于发明者为了以最好的方法来说明其发明可以恰当地定义术语概念的原则上,应该以符合本发明技术思想的意义和概念来解释。
因此,在本说明书记载的实施例和在图面显示的构成只不过是本发明的较佳的一实施例而已,并不代表本发明的所有技术思想,但应当了解,提交本申请时可能存在可以替代本发明实施例的多种均等物和变形例。
参照图1和图2以及图5至图9,根据本发明的饮食垃圾处理装置100包含壳体110,粉碎切割刀120,第2切割刀130和马达150。
所述壳体110开放的形成上部,从开放的上部投入饮食垃圾时,投入所述壳体110内部的饮食垃圾被粉碎切割刀120和第2切割刀130粉碎,通过所述壳体110的一侧形成的排出口111向外部排出。
所述壳体110形成微生物投入部112,隔板116,在内接面突出的突起117和将向所述壳体110的内侧面移动的饮食垃圾粉碎的粉碎刀118。所述微生物的投入部112的作用是投入微生物分解向所述壳体110内部投入的饮食垃圾。
注入微生物的注入口(未显示)最好与依靠粉碎切割刀120的旋转在所述壳体110内部旋转的饮食垃圾的旋转方向平行的方向形成,其理由是为了防止旋转的饮食垃圾通过注入口(未显示)向微生物投入部112逆流。
所述微生物投入部112具有微生物喷射泵113,所述微生物喷射泵113的作用是将微生物喷射,向所述壳体110内部的微生物喷射根据驱动传感器(未显示)检测向所述壳体110内部投入饮食垃圾时,在所述微生物喷射泵112喷射微生物通过所述注入口(未显示)向所述壳体110内部注入微生物。
从所述壳体110开口上部插入的盖子114上形成用以防止在所述粉碎切割刀120粉碎饮食垃圾时产生的水分溢流的截水圈115。
所述盖子114上形成截水圈115不仅用以防止水分的逆流,所述盖子114的下端部与所述壳体110的内侧壁接触,其作用是防止饮食垃圾夹入所述壳体110和所述盖子114的空间部的现象。
所述截水圈115虽然在所述盖子114的下端部一体形成,但不限于此,例如可以不在所述盖子114的下端部形成,而是在所述壳体110的内侧面上部形成。
所述壳体110的内侧形成有隔板116,所述隔板116与形成在所述壳体110一侧的所述排出口111连接,所述隔板116不使用另外的吸入单元,亦可使由所述粉碎切割刀120和后述的第2切割刀粉碎的饮食垃圾顺畅地向所述排出口111移动。
所述壳体110的内侧形成在所述壳体110的内接面上突出的突起117,所述突起117的作用是向所述壳体110的内侧投入的饮食垃圾依靠所述粉碎切割刀120旋转时防止由于旋转力向外部流出,所述突起117较好以多种形状形成于所述壳体110的内接面。
对投入所述壳体110内粉碎的饮食垃圾由于所述盖子114上的截水圈115和所述突起117起到双重抑流。
在所述壳体110内侧面形成粉碎刀刃118,所述粉碎刀刃118位于比所述突起117更低的下部,与所述粉碎切割刀120一起执行将向所述壳体110投入并沿着所述壳体110内侧壁面移动的饮食垃圾粉碎的作用。
参照图2说明,在所述壳体110的内侧具有将投入所述壳体110的饮食垃圾一次粉碎的粉碎切割刀120的一例,在圆盘形状的本体121上部形成有3个突出刀刃122,虽然各所述突出刀刃121之间具有的角度为120度,但不限于此,为了作业的效率性,在所述本体121的上部可以形成3个以下或3个以上的所述突起刀刃122。
所述曲折刀刃125形成于所述多个突出刀刃122之间,投入壳体110内在所述壳体的中央部分经由突出刀刃122没有粉碎,由于旋转力向所述壳体110的内侧壁移动的饮食垃圾,由曲折刀刃125将其粉碎,所述突出刀刃122的作用是在壳体110中央部分粉碎向所述壳体110投入的饮食垃圾。
在所述突出刀刃122上具有流入口123,所述流入口123是流入由所述突出刀刃122和所述曲折刀刃123微细地粉碎的饮食垃圾。
在圆盘形状的所述本体121形成与多个突出刀刃122上具有的流入口123连通的流出口124,所述流出口124作用是将由所述突出刀刃122和所述曲折刀刃刃125粉碎并向所述流入口123流入的饮食垃圾向下部排出。
另外,参照图3说明粉碎切割刀120的另一例,具有圆盘形状的本体121,在所述本体121的上部形成多个突出刀刃122,所述突出刀刃122上具有与所述本体121的旋转方向垂直曲折的流入口123和与所述流入口123连通并将流入所述流入口123的饮食垃圾向下部移送的流出口124。
所述多个突出刀刃122是从所述本体121的中央形成至外侧圆周面末端,所述本体121的上部形成并具有一定的旋转角度,形成3个所述突出刀刃122,虽然各所述突出刀刃122之间的角度为120度,但不限于此,为了粉碎作业的效率性,可以形成3个以上或3个以下。
所述突出刀刃122的作用是不仅粉碎饮食垃圾,还可以过滤饮食垃圾中可能包含的像筷子等的异物质。
另外,参照图4说明所述粉碎切割刀120的另一例,具有圆盘形状的本体121,在所述本体121的上部向旋转方向从外侧圆周面末端到所述本体121中心部的中央向上部曲折形成曲折刀刃125。
在所述曲折刀刃125形成将粉碎的饮食垃圾向下部移送的移送部126,所述移送部126是向所述本体121的上部曲折的曲折刀刃125的空间部。
所述曲折刀刃125是在所述本体121的上部形成并具有一定的旋转角度,所述曲折刀刃125形成3个,虽然各所述曲折刀刃125之间的角度为120度,但不限于此,为了粉碎作业的效率性,可以形成3个以上或3个以下。
所述曲折刀刃125也是具有与所述突出刀刃122一样的作用,粉碎饮食垃圾及过滤饮食垃圾中可能包含的像筷子等的异物质。
所述壳体110的内侧,在所述粉碎切割刀120的下部具有将在所述切割刀120粉碎向下部移动的饮食垃圾微细地粉碎的第2切割刀130。
参照图5说明所述第2切割刀,所述第2切割刀130是由第1刀片部132和第2刀片部134形成,所述第1刀片部132和所述第2刀片部134的一面分别形成切削刀刃136,所述切削刀刃136是沿着所述第2切割刀130的旋转方向对应形成于所述第1刀片部132和所述第2刀片部134。
所述第2刀片部134曲折位于比第1刀片部132高的上部,所述第1刀片部132和所述第2刀片部134以不同的高度形成,曲折形成所述第2刀片部134的原因是为了减小由所述第2切割刀130微细地粉碎的饮食垃圾的纤维质缠绕第2切割刀的现象。
所述第2切割刀130的下部具有底盘160,在所述底盘160形成多个穿孔162,将由所述粉碎切割刀120和所述第2切割刀130微细地粉碎的饮食垃圾通过所述穿孔162向隔板116排出。
在所述壳体110的外侧具有音响发生部150,所述音响发生部150作用是减小驱动所述粉碎切割刀120和所述第2切割刀130粉碎饮食垃圾时产生的噪音,为了减小产生的噪音所述音响发生部150产生旋律。
所述音响发生部150最好是跟随提供旋转力旋转所述粉碎切割刀120和所述第2切割刀130的将后述的马达140一起驱动,其理由是因为所述马达140驱动时,所述粉碎切割刀120和所述第2切割刀130粉碎饮食垃圾产生噪音,停止马达140的驱动时,粉碎饮食垃圾的动作也停止,不会产生噪音。
由于所述隔板116上下划分的所述壳体110的上部具有所述粉碎切割刀120和所述第2切割刀130,所述壳体110的下部具有提供动力旋转所述粉碎切割刀120和所述第2切割刀130的马达140。
根据马达140提供的旋转力让所述粉碎切割刀120和所述第2切割刀130旋转将投入所述壳体110的饮食垃圾粉碎,在所述马达140提供的旋转力是依据与所述马达140连接的旋转轴142传送给所述粉碎切割刀120和所述第2切割刀130。
以所述马达140提供的旋转力旋转的所述粉碎切割刀120和所述第2切割刀130微细地粉碎饮食垃圾,所述粉碎的饮食垃圾经由所述壳体110的内侧形成的隔板116向排出口111移动,向所述壳体110外侧排出。
参照图7至图9,根据本发明实施例的饮食垃圾处理装置100,利用粉碎切割刀120和第2切割刀130粉碎向其投入的饮食垃圾,再将粉碎的饮食垃圾排出的过程,说明如下。
通过具有所述粉碎切割刀120和所述第2切割刀130的所述壳体110的上部开口部投入饮食垃圾,在投入的饮食垃圾上通过在所述壳体110形成的微生物投入部112注入分解饮食垃圾的微生物。
向所述壳体110的内部投入的饮食垃圾被所述粉碎切割刀120做1次粉碎,被所述粉碎切割刀120粉碎的饮食垃圾通过所述粉碎切割刀120上的注入口123和流出孔124向第2切割刀130移动。
通过所述注入口123和流出孔124移动的1次粉碎饮食垃圾,经由第2切割刀130更微细地粉碎,向所述第2切割刀130下部具有的所述底盘160移动,通过在所述底盘160上形成的多个穿孔162向形成在底盘162下部的隔板移动,经由倾斜形成的所述隔板116,向形成在所述壳体110一侧的排出口111移动,向饮食垃圾处理装置100的外部排出。
因此,根据本发明实施例的饮食垃圾处理装置100具有粉碎切割刀120和第2切割刀130可以微细地粉碎饮食垃圾,粉碎切割刀120的突出刀刃122及曲折刀刃125可以过滤饮食垃圾可能包含的异物质,防止由于异物质损坏切割刀和饮食垃圾处理装置100的故障,在壳体110内侧面具有粉碎刀刃118,可以粉碎由于切割刀120的旋转向壳体110内侧面推挤的饮食垃圾,第2切割刀130的一侧部曲可以防止第2切割刀130被纤维质缠绕的现象。
另外,在壳体110内部具有突起117和截水圈115,可以防止投入壳体110内部的饮食垃圾和粉碎饮食垃圾时产生水分溢流,在壳体110的内侧倾斜形成隔板116,可以顺畅地排出粉碎的饮食垃圾。
另外,在壳体110的外部具有音响发生装置150,粉碎切割刀120和第2切割刀130粉碎饮食垃圾时,利用音响发生部150发出的旋律可以减小产生的噪音。
以下,结合附图对本发明的另一实施例进行说明。
根据本发明的另一实施例的饮食垃圾处理装置100,根据本发明的一实施例除了饮食垃圾处理装置100的构成和粉碎切割刀120以外其余的构成相同。因此,以下,对与本发明的一实施例相同的构成省略其具体的说明,针对粉碎切割刀120的具体的构造进行说明。
图3是根据本发明另一实施例的饮食垃圾处理装置100所具有的粉碎切割刀120的图面。参照图3说明,所述粉碎切割刀120具有圆盘形状的本体121,在所述本体121的上部形成多个突出刀刃122,所述多个突出刀刃122上具有与所述本体121的旋转方向垂直曲折的注入口123和与所述注入口123连通并将流入所述注入口123的饮食垃圾向下部移送的流出孔124。
所述多个突出刀刃122是从所述本体121的中央形成至外侧圆周面末端,所述本体121的上部形成并具有一定的旋转角度,形成3个所述突出刀刃122,虽然各所述突出刀刃122之间的角度为120度,但不限于此,为了粉碎作业的效率性,可以形成3个以上或3个以下。
所述突出刀刃122的作用是不仅粉碎饮食垃圾,还可以过滤饮食垃圾中可能包含的像筷子等的异物质。
另外,参照图4说明所述粉碎切割刀120的另一例,具有圆盘形状的本体121,在所述本体121的上部向旋转方向从外侧圆周面末端到所述本体121中心部的中央向上部曲折形成曲折刀刃125。
在所述曲折刀刃125形成将粉碎的饮食垃圾向下部移送的移送部126,所述移送部126是向所述本体121的上部曲折的曲折刀刃125的空间部。
所述曲折刀刃125是在所述本体121的上部形成并具有一定的旋转角度,所述曲折刀刃125形成3个,虽然各所述曲折刀刃125之间的角度为120度,但不限于此,为了粉碎作业的效率性,可以形成3个以上或3个以下。
所述曲折刀刃125也具有与所述突出刀刃122一样的作用,粉碎饮食垃圾及过滤饮食垃圾中可能包含的像筷子等的异物质。
在本发明参照图面显示的实施例进行说明,但这只不过是例示而已,在本技术领域具有通常知识的技术人员,应该理解由此可以实施多种变形及均等的其他实施例。
因此,本发明的实质技术性保护范围,应该由附加的权利要求书的技术思想来限定。
产业上的可利用性
本发明是涉及将家庭或商店排出的饮食垃圾微细地粉碎的饮食垃圾处理装置。
Claims (14)
1.一种饮食垃圾处理装置,其特征是,包含:
上部开放用于投入饮食垃圾,且在一侧形成排出口用于排出粉碎的饮食垃圾的壳体;
安装在所述壳体的内侧,用于粉碎投入所述壳体内的饮食垃圾,以圆盘形状为本体在上部形成有突出刀刃和曲折刀刃的粉碎切割刀;
安装在所述壳体的内侧,将通过所述粉碎切割刀的饮食垃圾二次粉碎的第2切割刀;以及
连接于使所述粉碎切割刀和所述第2切割刀旋转的旋转轴,提供旋转力使所述粉碎切割刀和所述第2切割刀旋转的马达。
2.根据权利要求1所述的饮食垃圾处理装置,其特征是,所述粉碎切割刀具有圆盘形状的本体,在本体的中央上部形成将饮食垃圾粉碎的多个突出刀刃,
在本体的外侧面形成一侧端部向上突出将向所述壳体投入的饮食垃圾粉碎的多个曲折刀刃。
3.根据权利要求2所述的饮食垃圾处理装置,其特征是,在所述圆盘形状的本体中央上部形成多个具有一定旋转角度的突出刀刃,所述多个曲折刀刃形成于所述多个突出刀刃之间。
4.根据权利要求2所述的饮食垃圾处理装置,其特征是,所述多个突出刀刃具有在所述本体与旋转方向垂直曲折突出且流入粉碎的饮食垃圾的注入口,
在所述圆盘形状的本体分别形成与各个所述突出刀刃具备的注入口联通的流出孔。
5.根据权利要求1所述的饮食垃圾处理装置,其特征是,所述粉碎切割刀具有圆盘形状的本体,在所述本体的上部形成与所述本体的旋转方向垂直曲折并具有流入口的多个突出刀刃,所述多个突出刀刃从所述本体中央形成至外侧的圆周面末端。
6.根据权利要求5所述的饮食垃圾处理装置,其特征是,所述多个突出刀刃以一定旋转角度形成于所述本体的上部,并形成与所述流入口连通将流入所述流入口的饮食垃圾向下部移送的流出口。
7.根据权利要求1所述的饮食垃圾处理装置,其特征是,所述粉碎切割刀具有圆盘形状的本体,在所述本体的上部沿着旋转方向从外侧圆周面末端至本体中心部的中央向上部曲折形成多个曲折刀刃,所述多个曲折刀刃的形成具有一定的角度。
8.根据权利要求7所述的饮食垃圾处理装置,其特征是,所述多个曲折刀刃上形成将粉碎的饮食垃圾向下部移送的移送部。
9.根据权利要求1所述的饮食垃圾处理装置,其特征是,所述第2切割刀是由第1刀片部和第2刀片部形成,所述第2刀片部曲折使得位于比第1刀片部高的上部。
10.根据权利要求9所述的饮食垃圾处理装置,其特征是,在所述第1刀片部与所述第2刀片部的一面向所述第2切割刀旋转的方向形成粉碎饮食垃圾的切削刀刃。
11.根据权利要求1所述的饮食垃圾处理装置,其特征是,在所述壳体外侧的一侧面形成投入微生物分解食物垃圾的微生物投入口。
12.根据权利要求1所述的饮食垃圾处理装置,其特征是,所述排出口与所述壳体内侧的隔板连接,并为了顺畅地排出饮食垃圾所述隔板倾斜形成。
13.根据权利要求1所述的饮食垃圾处理装置,其特征是,所述壳体的内侧,形成突起防止向所述壳体投入的饮食垃圾溢流排出,形成粉碎刀刃用于粉碎向所述壳体内侧面移动的饮食垃圾,以及形成截水圈防止粉碎所述饮食垃圾产生的水分溢流。
14.根据权利要求1所述的饮食垃圾处理装置,其特征是,在所述粉碎切割刀和所述第2切割刀驱动时,为了减小产生的噪音,在所述壳体的外侧具有产生旋律的音响发生部。
Applications Claiming Priority (7)
| Application Number | Priority Date | Filing Date | Title |
|---|---|---|---|
| KR1020100095295A KR101061522B1 (ko) | 2010-09-30 | 2010-09-30 | 분쇄 커터 |
| KR10-2010-0095295 | 2010-09-30 | ||
| KR1020100100864A KR101051425B1 (ko) | 2010-10-15 | 2010-10-15 | 음식물 쓰레기 처리 장치 |
| KR10-2010-0100864 | 2010-10-15 | ||
| KR1020100112323A KR20120050863A (ko) | 2010-11-11 | 2010-11-11 | 음식물 쓰레기 처리 장치 |
| KR10-2010-0112323 | 2010-11-11 | ||
| PCT/KR2010/008147 WO2012043926A1 (ko) | 2010-09-30 | 2010-11-18 | 음식물 쓰레기 처리 장치 |
Publications (1)
| Publication Number | Publication Date |
|---|---|
| CN103201435A true CN103201435A (zh) | 2013-07-10 |
Family
ID=45893346
Family Applications (1)
| Application Number | Title | Priority Date | Filing Date |
|---|---|---|---|
| CN2010800693912A Pending CN103201435A (zh) | 2010-09-30 | 2010-11-18 | 饮食垃圾处理装置 |
Country Status (3)
| Country | Link |
|---|---|
| JP (1) | JP2013518711A (zh) |
| CN (1) | CN103201435A (zh) |
| WO (1) | WO2012043926A1 (zh) |
Cited By (5)
| Publication number | Priority date | Publication date | Assignee | Title |
|---|---|---|---|---|
| CN103394503A (zh) * | 2013-08-26 | 2013-11-20 | 邓燕钧 | 商用废弃食物处理器 |
| CN104399566A (zh) * | 2014-10-30 | 2015-03-11 | 温玉友 | 预处理粉碎装置 |
| CN105540112A (zh) * | 2016-01-15 | 2016-05-04 | 骆民强 | 一种餐厨垃圾预处理装置及含其装置的收运车 |
| CN107100239A (zh) * | 2017-05-08 | 2017-08-29 | 佛山市顺德区美的洗涤电器制造有限公司 | 垃圾粉碎机的腔体结构和垃圾粉碎机 |
| CN112718143A (zh) * | 2020-09-17 | 2021-04-30 | 江苏吉能达环境能源科技有限公司 | 一种选粉机的多层筛选装置 |
Families Citing this family (6)
| Publication number | Priority date | Publication date | Assignee | Title |
|---|---|---|---|---|
| ITUA20161778A1 (it) * | 2016-03-17 | 2017-09-17 | Sanitrade S R L | Dispositivo per il trattamento di rifiuti |
| CN106223427A (zh) * | 2016-08-29 | 2016-12-14 | 朱玉俊 | 一种防堵塞的下水弯头 |
| KR102339772B1 (ko) * | 2019-12-10 | 2021-12-15 | 정용배 | 미생물 액상발효를 이용한 음식물 쓰레기 파분쇄 및 분해장치 |
| CN111395463B (zh) * | 2020-03-20 | 2021-02-12 | 李玉如 | 一种防堵洗菜池 |
| KR102381139B1 (ko) * | 2021-05-31 | 2022-03-30 | 나민수 | 음식물쓰레기의 협잡물 파쇄 시스템 |
| CN115634760B (zh) * | 2022-09-26 | 2025-07-18 | 珠海格力电器股份有限公司 | 一种研磨组件、厨余垃圾处理器及其控制方法 |
Citations (7)
| Publication number | Priority date | Publication date | Assignee | Title |
|---|---|---|---|---|
| KR19990037897A (ko) * | 1999-02-13 | 1999-05-25 | 신동환 | 음식물분쇄기용커터 |
| JP2006334564A (ja) * | 2005-06-06 | 2006-12-14 | Sekisui Aqua System Kk | ディスポーザ |
| KR20080003682U (ko) * | 2007-02-28 | 2008-09-02 | 이을석 | 싱크대용 음식물 쓰레기 분쇄장치를 위한 회전날 |
| CN201260978Y (zh) * | 2008-04-18 | 2009-06-24 | 安广虎 | 一种家庭用食物垃圾处理器 |
| CN201443106U (zh) * | 2009-04-02 | 2010-04-28 | 张建明 | 生活垃圾粉碎装置 |
| CN201445988U (zh) * | 2009-04-01 | 2010-05-05 | 刘志吕 | 一种食物垃圾处理器刀盘 |
| KR20100070454A (ko) * | 2008-12-18 | 2010-06-28 | 정복연 | 음식물 쓰레기 분쇄기 |
Family Cites Families (10)
| Publication number | Priority date | Publication date | Assignee | Title |
|---|---|---|---|---|
| JPS61216753A (ja) * | 1985-03-22 | 1986-09-26 | 中西 一陽 | デイスポ−ザ |
| JPS648948U (zh) * | 1987-07-06 | 1989-01-18 | ||
| JP2911331B2 (ja) * | 1993-02-26 | 1999-06-23 | 三洋電機株式会社 | 調理機 |
| JPH0717342U (ja) * | 1993-08-27 | 1995-03-28 | 株式会社宝機材 | 生ゴミ粉砕機 |
| JPH07194991A (ja) * | 1993-12-29 | 1995-08-01 | Daiee Corp Kk | ディスポーザー |
| JPH10230183A (ja) * | 1997-02-19 | 1998-09-02 | Fuji Electric Co Ltd | 粉砕器 |
| JP2003305379A (ja) * | 2002-04-16 | 2003-10-28 | Inax Corp | ディスポーザ |
| JP2008126094A (ja) * | 2006-11-16 | 2008-06-05 | Furomu Kogyo:Kk | ディスポーザの回転板 |
| KR20070059033A (ko) * | 2007-05-14 | 2007-06-11 | 안광호 | 2단 칼날 구조와 자체 정화 구조를 가진 가정용 음식물처리기 |
| KR20100000350U (ko) * | 2008-07-02 | 2010-01-12 | 이을석 | 음식물 쓰레기 처리장치용 분쇄칼 어셈블리 |
-
2010
- 2010-11-18 CN CN2010800693912A patent/CN103201435A/zh active Pending
- 2010-11-18 WO PCT/KR2010/008147 patent/WO2012043926A1/ko not_active Ceased
- 2010-11-18 JP JP2012551901A patent/JP2013518711A/ja active Pending
Patent Citations (7)
| Publication number | Priority date | Publication date | Assignee | Title |
|---|---|---|---|---|
| KR19990037897A (ko) * | 1999-02-13 | 1999-05-25 | 신동환 | 음식물분쇄기용커터 |
| JP2006334564A (ja) * | 2005-06-06 | 2006-12-14 | Sekisui Aqua System Kk | ディスポーザ |
| KR20080003682U (ko) * | 2007-02-28 | 2008-09-02 | 이을석 | 싱크대용 음식물 쓰레기 분쇄장치를 위한 회전날 |
| CN201260978Y (zh) * | 2008-04-18 | 2009-06-24 | 安广虎 | 一种家庭用食物垃圾处理器 |
| KR20100070454A (ko) * | 2008-12-18 | 2010-06-28 | 정복연 | 음식물 쓰레기 분쇄기 |
| CN201445988U (zh) * | 2009-04-01 | 2010-05-05 | 刘志吕 | 一种食物垃圾处理器刀盘 |
| CN201443106U (zh) * | 2009-04-02 | 2010-04-28 | 张建明 | 生活垃圾粉碎装置 |
Cited By (7)
| Publication number | Priority date | Publication date | Assignee | Title |
|---|---|---|---|---|
| CN103394503A (zh) * | 2013-08-26 | 2013-11-20 | 邓燕钧 | 商用废弃食物处理器 |
| CN104399566A (zh) * | 2014-10-30 | 2015-03-11 | 温玉友 | 预处理粉碎装置 |
| CN104399566B (zh) * | 2014-10-30 | 2017-09-22 | 江苏宝能环保科技有限责任公司 | 生活垃圾处理设备 |
| CN105540112A (zh) * | 2016-01-15 | 2016-05-04 | 骆民强 | 一种餐厨垃圾预处理装置及含其装置的收运车 |
| CN105540112B (zh) * | 2016-01-15 | 2017-08-22 | 骆民强 | 一种餐厨垃圾预处理装置及含其装置的收运车 |
| CN107100239A (zh) * | 2017-05-08 | 2017-08-29 | 佛山市顺德区美的洗涤电器制造有限公司 | 垃圾粉碎机的腔体结构和垃圾粉碎机 |
| CN112718143A (zh) * | 2020-09-17 | 2021-04-30 | 江苏吉能达环境能源科技有限公司 | 一种选粉机的多层筛选装置 |
Also Published As
| Publication number | Publication date |
|---|---|
| WO2012043926A1 (ko) | 2012-04-05 |
| JP2013518711A (ja) | 2013-05-23 |
Similar Documents
| Publication | Publication Date | Title |
|---|---|---|
| CN103201435A (zh) | 饮食垃圾处理装置 | |
| KR101051425B1 (ko) | 음식물 쓰레기 처리 장치 | |
| KR20070059033A (ko) | 2단 칼날 구조와 자체 정화 구조를 가진 가정용 음식물처리기 | |
| KR102530299B1 (ko) | 합체 구성하는 씽크대 분리형 음식물 자동분쇄처리장치 | |
| KR101319883B1 (ko) | 미세 분쇄를 위한 디스포저 | |
| CN105688472A (zh) | 化工用过滤装置 | |
| US11766675B2 (en) | Special improvement package to heavy duty grinders for processing thick wastes and slick wipes in commercial and residential applications and use called a gorilla grinder | |
| CN103191810B (zh) | 一种厨卫垃圾处理器 | |
| KR101389577B1 (ko) | 폐음식물용 파쇄기 | |
| CN210565125U (zh) | 一种防堵污水泵 | |
| KR20150074442A (ko) | 싱크대 설치형 음식물쓰레기 분쇄기 및 이를 이용한 음식물쓰레기 처리장치 | |
| KR20170079404A (ko) | 음식물쓰레기 처리장치 | |
| KR101450206B1 (ko) | 오존을 활용한 싱크대용 음식물 쓰레기 분쇄 처리장치 | |
| CN104259184B (zh) | 一种优质垃圾生化一体机 | |
| CN211849790U (zh) | 一种磨盘式垃圾处理机 | |
| KR101227370B1 (ko) | 음식물 쓰레기 처리 장치 | |
| JP6169672B2 (ja) | 生ごみ粉砕機及び生ごみ処理装置 | |
| KR20120050863A (ko) | 음식물 쓰레기 처리 장치 | |
| CN208718021U (zh) | 一种厨房污水防堵装置 | |
| KR20140057003A (ko) | 음식물 쓰레기 분쇄장치 | |
| CN112482515B (zh) | 垃圾处理器 | |
| KR101388561B1 (ko) | 회전수가 다른 이중 분쇄커터를 구비한 음식물 쓰레기 처리장치 | |
| KR20150104456A (ko) | 음식물쓰레기 처리기용 분쇄기 및 이를 구비한 음식물쓰레기 처리기 | |
| KR101061522B1 (ko) | 분쇄 커터 | |
| JPH07194991A (ja) | ディスポーザー |
Legal Events
| Date | Code | Title | Description |
|---|---|---|---|
| C06 | Publication | ||
| PB01 | Publication | ||
| C10 | Entry into substantive examination | ||
| SE01 | Entry into force of request for substantive examination | ||
| C02 | Deemed withdrawal of patent application after publication (patent law 2001) | ||
| WD01 | Invention patent application deemed withdrawn after publication |
Application publication date: 20130710 |