CN103159380A - 一种零能耗人工湿地污水处理系统及方法 - Google Patents

一种零能耗人工湿地污水处理系统及方法 Download PDF

Info

Publication number
CN103159380A
CN103159380A CN2013101216526A CN201310121652A CN103159380A CN 103159380 A CN103159380 A CN 103159380A CN 2013101216526 A CN2013101216526 A CN 2013101216526A CN 201310121652 A CN201310121652 A CN 201310121652A CN 103159380 A CN103159380 A CN 103159380A
Authority
CN
China
Prior art keywords
water
siphon
sewage
layer
pipe
Prior art date
Legal status (The legal status is an assumption and is not a legal conclusion. Google has not performed a legal analysis and makes no representation as to the accuracy of the status listed.)
Pending
Application number
CN2013101216526A
Other languages
English (en)
Inventor
迟斌
徐甜
王星星
Current Assignee (The listed assignees may be inaccurate. Google has not performed a legal analysis and makes no representation or warranty as to the accuracy of the list.)
SHANDONG HONGMEI WATER AFFAIR TECHNOLOGY Co Ltd
Original Assignee
SHANDONG HONGMEI WATER AFFAIR TECHNOLOGY Co Ltd
Priority date (The priority date is an assumption and is not a legal conclusion. Google has not performed a legal analysis and makes no representation as to the accuracy of the date listed.)
Filing date
Publication date
Application filed by SHANDONG HONGMEI WATER AFFAIR TECHNOLOGY Co Ltd filed Critical SHANDONG HONGMEI WATER AFFAIR TECHNOLOGY Co Ltd
Priority to CN2013101216526A priority Critical patent/CN103159380A/zh
Publication of CN103159380A publication Critical patent/CN103159380A/zh
Pending legal-status Critical Current

Links

Images

Landscapes

  • Biological Treatment Of Waste Water (AREA)
  • Purification Treatments By Anaerobic Or Anaerobic And Aerobic Bacteria Or Animals (AREA)

Abstract

本发明公开了一种零能耗人工湿地污水处理系统及方法,由污水预处理系统、自动虹吸系统、人工湿地净化系统和集水系统四部分组成,所述污水预处理系统包括三格化粪池和通过管路与其连接污水虹吸水池,自动虹吸系统置于污水虹吸水池中,人工湿地净化系统与自动虹吸系统连接,集水系统通过管路与人工湿地净化系统连接;人工湿地净化系统为由基质层、植物、微生物、水体组成的生态系统,其结构自上而下为由根系层、布水层、基质层、集水层以及防渗层。本发明将污水处理与湿地植物结合起来,靠液位差产生的重力自动运行,处理工艺稳定可靠,运行费用低,氮磷去除能力强,有利于地下空气的呼吸交换,处理效果好,无污泥排放。

Description

一种零能耗人工湿地污水处理系统及方法
技术领域
本发明涉及一种人工湿地污水处理系统及方法,适用于乡村、别墅、度假村等居住区的污水处理,属于污水处理技术领域。
背景技术
随着农村连片整治以及度假村旅游业的发展,远离城市的分散居民区的生活污水治理越来越受到人们的关注。由于各片区比较分散,以及乡村地势复杂多变,污水处理难以采取建立集中式管网收集体系和大型污水处理厂的方式。一般采用分散式污水处理的方式。目前分散式污水处理通常采用的工艺主要有活性污泥法的氧化沟工艺、延时曝气工艺、序批式活性污泥法及其变形工艺;生物膜法的生物转盘、接触氧化及生物滤池工艺,以及湿地、稳定塘等自然处理工艺。分散式污水处理系统可以克服集中式处理的许多不便之处,这种方式具有以下优点:不依赖于复杂的基础设施(如大规模供电供水系统),受外界影响小;系统自主建设,运行和维护管理比较方便;不易受到不可预知的人为破坏;可应用于各种场合和规模;处理后污水易于进行回用。尤其在我国,经济还不是特别发达,力求资源的节省和回收利用,达到保护环境的目的,运用分散式污水处理系统能较低成本的达到所需目的。但同大城市污水处理相比,分散居民区污水处理面临的主要问题有:①设备运行不平稳,出水难达标;②相对昂贵的建设费用;③与农村生活水平相比较,运行费用较高;④缺乏专人值守,运行和维护水平较低;⑤污泥抽吸处理与处置不当。
发明内容
本发明所要解决的技术问题是针对现有技术存在的问题,提供一种经济有效的分散居民区生活污水的处理系统及方法。
为解决这一技术问题,本发明提供了一种零能耗人工湿地污水处理系统,由污水预处理系统、自动虹吸系统、人工湿地净化系统和集水系统四部分组成,所述污水预处理系统包括三格化粪池和通过管路与其连接污水虹吸水池,自动虹吸系统置于污水虹吸水池中,人工湿地净化系统与自动虹吸系统连接,集水系统通过管路与人工湿地净化系统连接。
所述自动虹吸系统包括设于污水虹吸水池中的虹吸管、虹吸罩、导气管和过滤罩,所述虹吸管为U型结构,其一端为进水端,另一端折弯后与T型管连接, T型管的垂直端高于高水位为溢流管,水平端与人工湿地净化系统连接;虹吸罩为一下底开口的圆柱体,倒置在虹吸管的进水端;导气管为两端长度不同的倒置U型结构,其长端穿过虹吸罩的罩底插入虹吸管的进水端;虹吸罩外罩过滤罩。
所述人工湿地净化系统为由基质层、植物、微生物、水体组成的生态系统,其结构自上而下为由根系层、布水层、基质层、集水层以及防渗层。
所述根系层由土壤与种植在土壤中的植物构成。
所述基质层由人工合成具有固磷脱氮催化活性的无机材料构成,可以是粉煤灰、粉碎炉渣、烧结陶瓷粉和人工土壤以一种或几种复合而成,或是以生产聚合氯化铝的废渣、生石灰、粉煤灰、粘结剂为原料,经混合、熟化、烘干、造粒、焙烧、粉碎后等到的合成材料。
所述布水层由布水管和砾石构成,布水管上设置均匀分布的喷水孔,布水管排列可以根据地形布置一排或多排并联,布置于人工湿地净化系统的砾石层中,通过管道和虹吸管6相连,
所述集水层包括砾石、集水管和清水集水池,集水管上均匀开有小孔,集水管附近有颗粒较大的砾石包裹,通过人工湿地净化系统净化的水汇入集水管通过重力流入清水集水池。
所述防渗层为不透水的防渗材料制成,可以是混凝土结构、或是塑料隔离层、或玻璃钢制品。
本发明还提供了一种零能耗人工湿地污水处理方法,包括以下步骤:
1)、生活污水涓流进入三格化粪池,经过三格化粪池发酵处理的污水自流进入污水虹吸水池;
2)、污水虹吸水池的污水液位上升,当上升到高水位时,在重力作用下,液体透过过滤罩经自动虹吸系统进入地埋式布水管,同时液位下降;
3)、在自然水位差的压力下,人工湿地净化系统的布水管喷孔自动均匀喷水;
4)、当污水虹吸水池的水位降低到低水位,虹吸管内进入空气,自动停止排水;
5)进入人工湿地净化系统的水通过基质层、微生物、植物的综合作用处理后,慢慢渗入到人工湿地净化系统底层的集水层;
6)在集水层的水自流进入清水集水池;
7)清水集水池的水可以达标排放,也可以作为二次水用于林园或农田浇灌。
有益效果:本发明将污水处理与湿地植物有机结合起来,不仅具有具有景观功能,而且基建和设备投资费用低,由于是靠液位差产生的重力自动运行,处理工艺稳定可靠,运行管理简单、运行费用低:设备埋于地下,在地温的作用下温度恒定,受季节影响小,适合于微生物的代谢,间歇式布水,即有利于布水均匀,还能向人工湿地中带入氧气,有利于地下空气的呼吸交换,处理效果好,在生物多级净化和化学催化的联合作用下,氮磷去除能力强、处理水质好,出水达到国家《城镇污水处理厂污染物排放标准》中一级A标准(GB18918-2002),无污泥排放。
附图说明
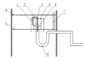
图1为本发明的剖面结构示意图;
图2为本发明的虹吸系统结构示意图。
图中:1过滤罩、2导气管、3罩底、4虹吸罩、5支撑筋、6虹吸管、7溢流管、8根系层、9基质层、10布水层、11集水层、12防渗层、13三格化肥池、14污水虹吸水池、15清水集水池;a高水位、b低水位。
具体实施方式
本发明是在分散居民区的三格化粪池的基础上,进行延续污水的深度净化处理工艺。
下面结合附图及实施例对本发明做具体描述。
图1所示为本发明的剖面结构示意图;
本发明提供了一种零能耗人工湿地污水处理系统,由污水预处理系统、自动虹吸系统、人工湿地净化系统和集水系统四部分组成,所述污水预处理系统包括三格化粪池13和通过管路与其连接污水虹吸水池14,自动虹吸系统置于污水虹吸水池14中,人工湿地净化系统与自动虹吸系统连接,集水系统通过管路与人工湿地净化系统连接。
图2所示为本发明的虹吸系统结构示意图。
所述自动虹吸系统包括设于污水虹吸水池14中的虹吸管6、虹吸罩4、导气管2和过滤罩1。
所述虹吸管6为U型结构,其一端为进水端,另一端折弯后与T型管连接, T型管的垂直端高于高水位为溢流管7,水平端与人工湿地净化系统连接。
所述虹吸罩4为一下底开口的圆柱体,倒置在虹吸管6的进水端.
所述导气管2为两端长度不同的倒置U型结构,其长端穿过虹吸罩4的罩底3插入虹吸管6的进水端,用来调节虹吸罩内的压力。
所述虹吸罩4外罩过滤罩1,用来阻隔大型悬浮物。
所述在虹吸管6和虹吸罩4之间设置有支撑筋5。
自动虹吸系统可以间歇式流出污水,以保证布水管道布水时处于充满状态,达到均匀布水的目的,同时布水时也可以将空气带入,以满足生物代谢的需求。
所述人工湿地净化系统为由基质层、植物、微生物、水体组成的生态系统,其结构自上而下为由根系层8、布水层10、基质层9、集水层11以及防渗层12。
所述根系层8由土壤与种植在土壤中的植物构成。不同的植物类型对不同的污染物也有一定的针对性。如茭白、芦苇对氮磷污染物有较好的去除作用,宽叶香蒲对铅、锌、镉等总金属有较好的去除作用。
所述基质层9由人工合成具有固磷脱氮催化活性的无机材料构成,可以是粉煤灰、粉碎炉渣、烧结陶瓷粉和人工土壤以一种或几种复合而成,或是以生产聚合氯化铝的废渣、生石灰、粉煤灰、粘结剂为原料,经混合、熟化、烘干、造粒、焙烧、粉碎后等到的合成材料。
基质层9是污水处理的主要场所,也是微生物的主要载体。通过物理吸附、离子交换、螯合、沉淀、及氧化还原反应实现对污染物质的去除。挺水植物可以直接吸附污水中的溶解性营养物质,还可以过滤、吸附、富集重金属和一些有毒有害物质。人工湿地净化系统中的氧主要来自挺水植物根系传输、进水携带。人工湿地净化系统中挺水植物将空气中的氧运输到根部,经过植物根部的扩散在植物根系周围依次出现厌氧、缺氧、好氧环境,有利于硝化、反硝化反应和微生物聚磷,从而达到脱氮除磷和去除有机物的目的。
所述布水层10由布水管和砾石构成,布水管上设置均匀分布的喷水孔,布水管排列可以根据地形布置一排或多排并联,布置于人工湿地净化系统的砾石层中,通过管道和虹吸管6相连。
所述集水层11包括砾石、集水管和清水集水池15,清水集水层15的底部为防渗层12,集水管上均匀开有小孔,集水管附近有颗粒较大的砾石包裹,通过人工湿地净化系统净化的水汇入集水管通过重力流入清水集水池15。
所述防渗层12为不透水的防渗材料制成,可以是混凝土结构、或是塑料隔离层、或玻璃钢制品。
本发明的工艺过程及处理方法如下:
具体包括以下步骤:
1)、生活污水涓流进入三格化粪池13,经过三格化粪池13发酵处理的污水自流进入污水虹吸水池14;
2)、污水虹吸水池14的污水液位上升,当上升到高水位a时,在重力作用下,液体透过过滤罩1经自动虹吸系统进入地埋式布水管,同时液位下降;
3)、在自然水位差的压力下,人工湿地净化系统的布水管喷孔自动均匀喷水;
4)、当污水虹吸水池14的水位降低到低水位b,虹吸管6内进入空气,自动停止排水;
5)进入人工湿地净化系统的水通过基质层9、微生物、植物的综合作用处理后,慢慢渗入到人工湿地净化系统底层的集水层11;
6)在集水层11的水自流进入清水集水池15;
7)清水集水池15的水可以达标排放,也可以作为二次水用于林园或农田浇灌。
本发明将污水处理与湿地植物有机结合起来,不仅具有具有景观功能,而且基建和设备投资费用低,由于是靠液位差产生的重力自动运行,处理工艺稳定可靠,运行管理简单、运行费用低:设备埋于地下,在地温的作用下温度恒定,受季节影响小,适合于微生物的代谢,间歇式布水,即有利于布水均匀,还能向人工湿地中带入氧气,有利于地下空气的呼吸交换,处理效果好,在生物多级净化和化学催化的联合作用下,氮磷去除能力强、处理水质好,出水达到国家《城镇污水处理厂污染物排放标准》中一级A标准(GB18918-2002),无污泥排放。
本发明上述实施方案,只是举例说明,不是仅有的,所有在本发明范围内或等同本发明的范围内的改变均被本发明包围。

Claims (7)

1.一种零能耗人工湿地污水处理系统,其特征在于:由污水预处理系统、自动虹吸系统、人工湿地净化系统和集水系统四部分组成,所述污水预处理系统包括三格化粪池(13)和通过管路与其连接污水虹吸水池(14),自动虹吸系统置于污水虹吸水池(14)中,人工湿地净化系统与自动虹吸系统连接,集水系统通过管路与人工湿地净化系统连接;
所述自动虹吸系统包括设于污水集水池(14)中的虹吸管(6)、虹吸罩(4)、导气管(2)和过滤罩(1),所述虹吸管(6)为U型结构,其一端为进水端,另一端折弯后与T型管连接, T型管的垂直端高于高水位为溢流管(7),水平端与人工湿地净化系统连接;虹吸罩(4)为一下底开口的圆柱体,倒置在虹吸管(6)的进水端;导气管(2)为两端长度不同的倒置U型结构,其长端穿过虹吸罩(4)的罩底(3)插入虹吸管(6)的进水端;虹吸罩(4)外罩过滤罩(1);
所述人工湿地净化系统为由基质层、植物、微生物、水体组成的生态系统,其结构自上而下为由根系层(8)、布水层(10)、基质层(9)、集水层(11)以及防渗层(12)。
2.根据权利要求1所述的零能耗人工湿地污水处理系统,其特征在于:所述根系层8由土壤与种植在土壤中的植物构成。
3.根据权利要求1所述的零能耗人工湿地污水处理系统,其特征在于:所述基质层9由人工合成具有固磷脱氮催化活性的无机材料构成,可以是粉煤灰、粉碎炉渣、烧结陶瓷粉和人工土壤以一种或几种复合而成,或是以生产聚合氯化铝的废渣、生石灰、粉煤灰、粘结剂为原料,经混合、熟化、烘干、造粒、焙烧、粉碎后等到的合成材料。
4.根据权利要求1所述的零能耗人工湿地污水处理系统,其特征在于:所述布水层(10)由布水管和砾石构成,布水管上设置均匀密布的喷水孔,可以多支并联,通过管道和虹吸管(6)相连,布水管埋于人工湿地净化系统的砾石层中。
5.根据权利要求1所述的零能耗人工湿地污水处理系统,其特征在于:所述集水层(11)包括砾石、集水管和清水集水池(15),集水管上均匀开有小孔,集水管附近有颗粒较大的砾石包裹,通过人工湿地净化系统净化的水汇入集水管通过重力流入清水集水池(15)。
6.根据权利要求1~5所述的零能耗人工湿地污水处理系统,其特征在于:所述防渗层(12)为不透水的防渗材料制成,可以是混凝土结构、或是塑料隔离层、或玻璃钢制品。
7.一种零能耗人工湿地污水处理方法,其特征在于:包括以下步骤:
1)生活污水涓流进入三格化粪池(13),经过三格化粪池(13)发酵处理的污水自流进入污水虹吸水池(14);
2)污水虹吸水池(14)的污水液位上升,当上升到高水位(a)时,在重力作用下,液体透过过滤罩(1)经自动虹吸系统进入地埋式布水管,同时液位下降;
3)在自然水位差的压力下,人工湿地净化系统的布水管喷孔自动均匀喷水;
4)当污水虹吸水池(14)的水位降低到低水位(b),虹吸管(6)内进入空气,自动停止排水;
5)进入人工湿地净化系统的水通过基质层(9)、微生物、植物的综合作用处理后,慢慢渗入到人工湿地净化系统底层的集水层(11);
6)在集水层(11)的水自流进入清水集水池(15);
7)清水集水池(15)的水可以达标排放,也可以作为二次水用于林园或农田浇灌。
CN2013101216526A 2013-04-10 2013-04-10 一种零能耗人工湿地污水处理系统及方法 Pending CN103159380A (zh)

Priority Applications (1)

Application Number Priority Date Filing Date Title
CN2013101216526A CN103159380A (zh) 2013-04-10 2013-04-10 一种零能耗人工湿地污水处理系统及方法

Applications Claiming Priority (1)

Application Number Priority Date Filing Date Title
CN2013101216526A CN103159380A (zh) 2013-04-10 2013-04-10 一种零能耗人工湿地污水处理系统及方法

Publications (1)

Publication Number Publication Date
CN103159380A true CN103159380A (zh) 2013-06-19

Family

ID=48582959

Family Applications (1)

Application Number Title Priority Date Filing Date
CN2013101216526A Pending CN103159380A (zh) 2013-04-10 2013-04-10 一种零能耗人工湿地污水处理系统及方法

Country Status (1)

Country Link
CN (1) CN103159380A (zh)

Cited By (8)

* Cited by examiner, † Cited by third party
Publication number Priority date Publication date Assignee Title
CN103583326A (zh) * 2013-10-22 2014-02-19 重庆市才诗科技发展中心 白芨和茄子有机复合农场
CN104140183A (zh) * 2014-08-26 2014-11-12 沈田国 新农村生活污水处理系统
CN104150595A (zh) * 2014-07-25 2014-11-19 张列宇 一种地表漫流生物处理系统和处理方法
CN106396086A (zh) * 2016-05-18 2017-02-15 广东工业大学 一种新型脉冲生物自动除藻器与其除藻方法
CN106830345A (zh) * 2017-03-30 2017-06-13 陶玲 一种处理含Pb废水的人工湿地基质配方及其系统
CN110436717A (zh) * 2019-09-06 2019-11-12 重庆大学 一种具有脉冲配水和模块化人工湿地的污水处理系统
CN113354088A (zh) * 2021-04-30 2021-09-07 东南大学 一种饲草型落干式人工湿地处理农村生活污水尾水的装置
CN113698030A (zh) * 2021-08-03 2021-11-26 贵州格淋生态环境工程有限公司 一种mrs净水系统

Citations (4)

* Cited by examiner, † Cited by third party
Publication number Priority date Publication date Assignee Title
US5898375A (en) * 1997-02-24 1999-04-27 Fluid Dynamic Siphons, Inc. Siphon alarm and restarting mechanism
CN201272717Y (zh) * 2008-09-11 2009-07-15 北京科技大学 一种间歇式无动力垂直流型人工湿地处理污水系统
CN101671092A (zh) * 2009-10-12 2010-03-17 中国农业大学 一种组合潮汐流人工湿地污水处理系统及方法
CN203187497U (zh) * 2013-04-10 2013-09-11 山东泓美水务科技有限公司 一种零能耗人工湿地污水处理系统

Patent Citations (4)

* Cited by examiner, † Cited by third party
Publication number Priority date Publication date Assignee Title
US5898375A (en) * 1997-02-24 1999-04-27 Fluid Dynamic Siphons, Inc. Siphon alarm and restarting mechanism
CN201272717Y (zh) * 2008-09-11 2009-07-15 北京科技大学 一种间歇式无动力垂直流型人工湿地处理污水系统
CN101671092A (zh) * 2009-10-12 2010-03-17 中国农业大学 一种组合潮汐流人工湿地污水处理系统及方法
CN203187497U (zh) * 2013-04-10 2013-09-11 山东泓美水务科技有限公司 一种零能耗人工湿地污水处理系统

Cited By (11)

* Cited by examiner, † Cited by third party
Publication number Priority date Publication date Assignee Title
CN103583326A (zh) * 2013-10-22 2014-02-19 重庆市才诗科技发展中心 白芨和茄子有机复合农场
CN103583326B (zh) * 2013-10-22 2016-05-25 重庆市喜植机械设备有限公司 白芨和茄子有机复合农场
CN104150595A (zh) * 2014-07-25 2014-11-19 张列宇 一种地表漫流生物处理系统和处理方法
CN104150595B (zh) * 2014-07-25 2016-05-04 北京建筑大学 一种地表漫流生物处理系统和处理方法
CN104140183A (zh) * 2014-08-26 2014-11-12 沈田国 新农村生活污水处理系统
CN106396086A (zh) * 2016-05-18 2017-02-15 广东工业大学 一种新型脉冲生物自动除藻器与其除藻方法
CN106830345A (zh) * 2017-03-30 2017-06-13 陶玲 一种处理含Pb废水的人工湿地基质配方及其系统
CN110436717A (zh) * 2019-09-06 2019-11-12 重庆大学 一种具有脉冲配水和模块化人工湿地的污水处理系统
CN110436717B (zh) * 2019-09-06 2024-02-27 重庆大学 一种具有脉冲配水和模块化人工湿地的污水处理系统
CN113354088A (zh) * 2021-04-30 2021-09-07 东南大学 一种饲草型落干式人工湿地处理农村生活污水尾水的装置
CN113698030A (zh) * 2021-08-03 2021-11-26 贵州格淋生态环境工程有限公司 一种mrs净水系统

Similar Documents

Publication Publication Date Title
CN101492230B (zh) 一种养殖废水综合处理工艺及系统
CN101973637B (zh) 一种处理农村生活污水的河道净化系统
CN202099163U (zh) 用于污水处理的组合式分层生物滤池
CN107055754B (zh) 一种强化处理农村生活污水的循环零价铁生物滤池
CN103159380A (zh) 一种零能耗人工湿地污水处理系统及方法
CN104326555B (zh) 一种北方农村生活污水复合处理系统及方法
CN204824550U (zh) 一种用于农村生活污水处理的装置
CN102701448B (zh) 一种农村生活污水资源化处理装置
CN201485358U (zh) 一种生活污水生态处理系统
CN103613240B (zh) 多级生态净化治理污水的装置及方法
CN104355490B (zh) 一种农村生活污水中污染物质的去除装置及去除方法
CN203187497U (zh) 一种零能耗人工湿地污水处理系统
CN107162337B (zh) 一种寒旱地区农村生活污水多介质生态处理系统及方法
CN103172223B (zh) 零能耗土地吸附床污水处理系统及方法
CN103864214B (zh) 一种地埋式污水生态处理系统
CN109879528A (zh) 农村生活污水自驱动景观生态化的处理方法及系统
CN203021402U (zh) 一种内碳源-富氧梯级组合人工湿地工程化反应器
CN205368030U (zh) 一种氨氮与总氮强化去除的垂直潜流人工湿地系统
CN105601043B (zh) 一种村镇生活污水生态化微动力处理系统
CN204237675U (zh) 一种生活污水处理及回用系统
CN207047066U (zh) 一种村镇生活污水田园景观式综合处理系统
CN102515434A (zh) 一种复合塔式生态滤池污水处理方法
CN114524589A (zh) 一种生态低能耗高效层叠渗滤污水处理系统与方法
Li et al. Overview of rural domestic sewage treatment technology
CN204281506U (zh) 一种农村生活污水中污染物质的去除装置

Legal Events

Date Code Title Description
C06 Publication
PB01 Publication
C10 Entry into substantive examination
SE01 Entry into force of request for substantive examination
WD01 Invention patent application deemed withdrawn after publication

Application publication date: 20130619