CN103004374A - 一种夹剪一体式采摘机器人末端执行器 - Google Patents
一种夹剪一体式采摘机器人末端执行器 Download PDFInfo
- Publication number
- CN103004374A CN103004374A CN2012105285056A CN201210528505A CN103004374A CN 103004374 A CN103004374 A CN 103004374A CN 2012105285056 A CN2012105285056 A CN 2012105285056A CN 201210528505 A CN201210528505 A CN 201210528505A CN 103004374 A CN103004374 A CN 103004374A
- Authority
- CN
- China
- Prior art keywords
- blade
- clamping surface
- screw
- clamping face
- handed
- Prior art date
- Legal status (The legal status is an assumption and is not a legal conclusion. Google has not performed a legal analysis and makes no representation as to the accuracy of the status listed.)
- Pending
Links
- 239000012636 effector Substances 0.000 title abstract 2
- 230000005540 biological transmission Effects 0.000 claims abstract 3
- 235000013399 edible fruits Nutrition 0.000 abstract 5
- 238000004064 recycling Methods 0.000 abstract 1
Images
Landscapes
- Manipulator (AREA)
Abstract
本发明公开了一种夹剪一体式采摘机器人末端执行器,涉及农业机器人领域。由单电机传动系统和夹剪一体指端结构组成。电机通过锥齿轮传动带动双向螺杆转动,从而经左旋螺母、右旋螺母和两滑套带动两摆杆摆动,使左刀刃、左夹持面和右刀刃、右夹持面合拢。当左夹持面与右夹持面接触果梗后,两弹簧受到压缩,使左夹持面相对左刀刃向后平移,左夹持面与右夹持面夹紧果梗的同时,左刀刃和右刀刃继续相对合拢完成对果梗的切断。仅通过单电机的驱动,实现果梗夹持和切断的一体作业,保证果实的采摘与回收,结构简单小巧,大大降低了控制难度并增强了实用性。
Description
技术领域
本发明涉及农业机器人领域,特别涉及一种夹剪一体式采摘机器人末端执行器。
背景技术
现有果实采摘机器人末端执行器主要包括直接剪切式、果实夹持式、果梗夹持式三个大类。直接剪切式末端执行器仅具有剪切动作,通过对果梗直接切断,使果实直接落地或通过软管等接果进行收储(Shinsuke Kitamura,Koichi Oka. Recognition and Cutting System of Sweet Pepper for Picking Robot in Greenhouse Horticulture. Proceedings of the IEEE International Conference on Mechatronics & Automation, 2005:1807-1812.);果实夹持式末端执行器通过手指可靠夹持果实,再以切割等方式完成对果、梗的分离(M. Monta, N. Kondo, K.C. Ting. End-Effectors for Tomato Harvesting Robot. Artificial Intelligence Review, 1998, 12: 11-25; Michael W. Hannan, Thomas F. Burks. Current Developments in Automated Citrus Harvesting. ASAE/CSAE Annual International Meeting, 2004: 1-10. );果梗夹持式末端执行器则通过夹持并剪断果梗实现采摘(D. M. Bulanon, T. Kataoka. Fruit Detection System and an End Effector for Robotic Harvesting of Fuji Apples. Agric Eng Int: CIGR Journal, 12(1): 203-210; Seiichi Arima, Naoshi Kondo, Hiroshi Nakamura. Development of Robotic System for Cucumber Harvesting. JARQ, 1996,30:233-238. );其中直接切断式末端执行器结构简单,但果实落地的损伤严重,而软管接果受到植株冠层内有限空间的限制,并当多数情况下末端执行器姿态无法保证软管口位于果实正下方时,造成接果的失败;果实夹持式末端执行器夹持可靠,果实姿态稳定,利于后续果、梗分离作业和果实的回收,但保证果实损伤的柔性夹持必须基于力、滑动等感知的反馈与伺服控制,装备成本高且可靠性差,控制难度过大;果梗夹持式末端执行器有效避免了夹持对果实的损伤,对于果、梗连接力较佳的果实类型及成熟期而言,具有突出优势,但目前开发的果梗夹持式末端执行器分别由单独动力实现果梗的夹持和切割,造成末端执行器的结构与控制仍然较复杂,且作业效率和成功率受限。
发明内容
为了克服现有温室果蔬机器人采摘后收集与温室现场运输装备的不足,本发明提供一种夹剪一体式采摘机器人末端执行器,实现机器人采摘中对果梗的夹持和剪切一体化作业。
本发明解决其技术问题所采用的技术方案是:一种夹剪一体式采摘机器人末端执行器,其特征在于:所述末端执行器由单电机传动系统和夹剪一体指端结构组成,由单电机传动系统、夹剪一体指端结构组成:所述单电机传动系统包括安装座、壳体、前盖、摆杆、双向螺杆、滑套、左旋螺母、右旋螺母,电机轴端锥齿轮、螺杆轴间锥齿轮和电机;电机固定于壳体上,电机轴端锥齿轮固定于电机的输出轴上;双向螺杆具有对称的左旋和右旋两段螺纹,双向螺杆的两端通过滚动轴承支撑于壳体上,螺杆轴间锥齿轮固定于双向螺杆的左旋螺纹和右旋螺纹之间并与电机轴端锥齿轮啮合;两摆杆的一端对称铰接于壳体上,两滑套分别安装于两摆杆上并能相对于摆杆滑动,两滑套分别于左旋螺母和右旋螺母铰接,左旋螺母和右旋螺母对称安装于双向螺杆的左旋螺纹和右旋螺纹上组成螺旋传动。
所述夹剪一体指端结构包括固定板、左刀刃、左夹持面、右夹持面、螺柱、弹簧和右刀刃;左刀刃和右刀刃分别固定于两摆杆的前端,固定板与左刀刃固定,固定板上开有两互相平行的通孔,左夹持面内侧开有两互相平行的螺纹孔,两螺柱分别穿过固定板上的两通孔并旋紧于左夹持面内侧的螺纹孔内,两螺柱上位于固定板和左夹持面之间的部分分别套有弹簧。
所述前盖固定于壳体的前端,前盖上沿平行双向螺杆方向开有长通槽,两摆杆自长通槽伸出,长通槽约束两摆杆在平行于双向螺杆的同一平面内运动。
所述弹簧的长度应保证弹簧未受力状态下左刀刃的刃口与左夹持面的外侧轮廓相重合;右刀刃和右夹持面固定,右刀刃的刃口与右夹持面的外侧轮廓相重合,外凸的左刀刃刃口、左夹持面外侧轮廓曲线与内凹的右刀刃、右夹持面外侧轮廓曲线形状一致。
电机通过锥齿轮传动带动双向螺杆转动,从而经左旋螺母、右旋螺母和两滑套带动两摆杆摆动,使左刀刃、左夹持面和右刀刃、右夹持面合拢,当左夹持面与右夹持面接触果梗后,两弹簧受到压缩,使左夹持面相对左刀刃向后平移,左夹持面与右夹持面夹紧果梗的同时,左刀刃和右刀刃继续相对合拢完成对果梗的切断。
本发明的有益效果是,仅通过单电机的驱动,实现果梗夹持和切断的一体作业,保证果实的采摘与回收,结构简单小巧,大大降低了控制难度并增强了实用性。
附图说明
图1为夹剪一体式采摘机器人末端执行器外观示意图;
图2为夹剪一体式采摘机器人末端执行器内部传动结构示意图;
图3为夹剪一体式采摘机器人末端执行器传动机构运动简图;
图4为夹剪一体指端结构示意图;
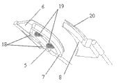
图中,1.安装座,2.壳体,3.前盖,4.摆杆,5.固定板,6.左刀刃,7.左夹持面,8.右夹持面,9.长通槽,10.腕部安装孔,11.双向螺杆,12.滑套,13.左旋螺母,14.右旋螺母,15. 电机轴端锥齿轮,16. 螺杆轴间锥齿轮,17.电机,18.螺柱,19.弹簧,20.右刀刃。
具体实施方式
如图1~图4所示,该温室果蔬接运机器人由单电机传动系统、夹剪一体指端结构组成。
其中单电机传动系统包括安装座1、壳体2、前盖3、摆杆4、双向螺杆11、滑套12、左旋螺母13、右旋螺母14,电机轴端锥齿轮15、螺杆轴间锥齿轮16和电机17;电机17固定于壳体2上,电机轴端锥齿轮15固定于电机17的输出轴上,双向螺杆11具有对称的左旋和右旋两段螺纹,双向螺杆11的两端通过滚动轴承支撑于壳体2上,螺杆轴间锥齿轮16固定于双向螺杆11的左旋螺纹和右旋螺纹之间,两摆杆4的一端对称铰接于壳体2上,两滑套12分别安装于两摆杆4上并相对于摆杆4滑动,两滑套12分别与左旋螺母13和右旋螺母14铰接,左旋螺母13和右旋螺母14对称安装于双向螺杆11的左旋螺纹和右旋螺纹上组成螺旋传动,安装座1和前盖3分别固定于壳体2的后端和前端,前盖3上沿平行双向螺杆11方向开有长通槽9,两摆杆4自长通槽9伸出,安装座1上开有若干腕部安装孔10,通过腕部安装孔10使夹剪一体式采摘机器人末端执行器安装于机械手的腕部。
其中夹剪一体指端结构包括固定板5、左刀刃6、左夹持面7、右夹持面8、螺柱18、弹簧19和右刀刃20。左刀刃6和右刀刃20分别固定于两摆杆4的前端,固定板5与左刀刃6固定,固定板5上开有两互相平行的通孔,左夹持面7内侧开有两互相平行的螺纹孔,两螺柱18分别穿过固定板5上的两通孔并旋紧于左夹持面7内侧的螺纹孔内,两螺柱18上在固定板5和左夹持面7之间分别套有弹簧19,在弹簧19未受力状态下左刀刃6的刃口与左夹持面7的外侧轮廓相重合,右刀刃20和右夹持面8固定,右刀刃20的刃口与右夹持面8的外侧轮廓相重合,外凸的左刀刃6刃口、左夹持面7外侧轮廓曲线与内凹的右刀刃20、右夹持面8外侧轮廓曲线形状一致。
夹剪一体式采摘机器人末端执行器作业时,机械手将夹剪一体式采摘机器人末端执行器送至采摘位置,使果梗进入左刀刃6和右刀刃20之间,并使左夹持面7和右夹持面8位于靠近果实一侧,电机17转动,通过电机轴端锥齿轮15和螺杆轴间锥齿轮16的传动,驱动双向螺杆11转动,从而带动左旋螺母13和右旋螺母14沿双向螺杆11对称靠近,使两滑套12在靠近或远离的同时分别沿两摆杆4滑动,推动两摆杆4分别绕两摆杆4与壳体2的铰接点转动,使两摆杆4合拢,前盖3上的长通槽9约束两摆杆4 在平行于双向螺杆11的同一平面内运动,当左夹持面7与右夹持面8接触果梗后,随着两摆杆4的继续合拢,两弹簧19受到压缩,两螺柱18沿固定板5的通孔向后滑动,带动左夹持面7相对左刀刃6产生向后的平移,从而使左夹持面7与右夹持面8夹紧果梗的同时,左刀刃6和右刀刃20继续相对合拢完成对果梗的切断,果梗被切断后,左夹持面7与右夹持面8夹紧果实上的剩余果梗,并由机械手带动完成对果实的回收。
Claims (3)
1.一种夹剪一体式采摘机器人末端执行器,其特征在于:由单电机传动系统、夹剪一体指端结构组成:
所述单电机传动系统包括安装座(1)、壳体(2)、前盖(3)、摆杆(4)、双向螺杆(11)、滑套(12)、左旋螺母(13)、右旋螺母(14),电机轴端锥齿轮(15)、螺杆轴间锥齿轮(16)和电机(17);电机(17)固定于壳体(2)上,电机轴端锥齿轮(15)固定于电机(17)的输出轴上;双向螺杆(11)具有对称的左旋和右旋两段螺纹,双向螺杆(11)的两端通过滚动轴承支撑于壳体(2)上,螺杆轴间锥齿轮(16)固定于双向螺杆(11)的左旋螺纹和右旋螺纹之间并与电机轴端锥齿轮(15)啮合;两摆杆(4)的一端对称铰接于壳体(2)上,两滑套(12)分别安装于两摆杆(4)上并能相对于摆杆(4)滑动,两滑套(12)分别于左旋螺母(13)和右旋螺母(14)铰接,左旋螺母(13)和右旋螺母(14)对称安装于双向螺杆(11)的左旋螺纹和右旋螺纹上组成螺旋传动;
所述夹剪一体指端结构包括固定板(5)、左刀刃(6)、左夹持面(7)、右夹持面(8)、螺柱(18)、弹簧(19)和右刀刃(20);左刀刃(6)和右刀刃(20)分别固定于两摆杆(4)的前端,固定板(5)与左刀刃(6)固定,固定板(5)上开有两互相平行的通孔,左夹持面(7)内侧开有两互相平行的螺纹孔,两螺柱(18)分别穿过固定板(5)上的两通孔并旋紧于左夹持面(7)内侧的螺纹孔内,两螺柱(18)上位于固定板(5)和左夹持面(7)之间的部分分别套有弹簧(19)。
2.根据权利要求1所述的夹剪一体式采摘机器人末端执行器,其特征在于:前盖(3)固定于壳体(2)的前端,前盖(3)上沿平行双向螺杆(11)方向开有长通槽(9),两摆杆(4)自长通槽(9)伸出,长通槽(9)约束两摆杆(4) 在平行于双向螺杆(11)的同一平面内运动。
3.根据权利要求1所述的夹剪一体式采摘机器人末端执行器,其特征在于:所述弹簧(19)的长度应保证弹簧未受力状态下左刀刃(6)的刃口与左夹持面(7)的外侧轮廓相重合;右刀刃(20)和右夹持面(8)固定,右刀刃(20)的刃口与右夹持面(8)的外侧轮廓相重合,外凸的左刀刃(6)刃口、左夹持面(7)外侧轮廓曲线与内凹的右刀刃(20)、右夹持面(8)外侧轮廓曲线形状一致。
Priority Applications (1)
| Application Number | Priority Date | Filing Date | Title |
|---|---|---|---|
| CN2012105285056A CN103004374A (zh) | 2012-12-11 | 2012-12-11 | 一种夹剪一体式采摘机器人末端执行器 |
Applications Claiming Priority (1)
| Application Number | Priority Date | Filing Date | Title |
|---|---|---|---|
| CN2012105285056A CN103004374A (zh) | 2012-12-11 | 2012-12-11 | 一种夹剪一体式采摘机器人末端执行器 |
Publications (1)
| Publication Number | Publication Date |
|---|---|
| CN103004374A true CN103004374A (zh) | 2013-04-03 |
Family
ID=47953905
Family Applications (1)
| Application Number | Title | Priority Date | Filing Date |
|---|---|---|---|
| CN2012105285056A Pending CN103004374A (zh) | 2012-12-11 | 2012-12-11 | 一种夹剪一体式采摘机器人末端执行器 |
Country Status (1)
| Country | Link |
|---|---|
| CN (1) | CN103004374A (zh) |
Cited By (22)
| Publication number | Priority date | Publication date | Assignee | Title |
|---|---|---|---|---|
| CN105500341A (zh) * | 2016-01-13 | 2016-04-20 | 燕山大学 | 四自由度3sprr+sp型混联机器人柔性手 |
| CN105580558A (zh) * | 2015-12-10 | 2016-05-18 | 重庆福悦安科技有限公司 | 茶叶采摘剪刀 |
| CN106239541A (zh) * | 2016-09-20 | 2016-12-21 | 上海未来伙伴机器人有限公司 | 一种无人机轻型手爪 |
| CN106378788A (zh) * | 2016-10-19 | 2017-02-08 | 上海未来伙伴机器人有限公司 | 一种无人机手抓装置 |
| CN106576604A (zh) * | 2016-12-06 | 2017-04-26 | 南昌大学 | 果蔬采摘抓取器 |
| CN106941869A (zh) * | 2017-05-02 | 2017-07-14 | 池州市神洲生态农业有限公司 | 一种手持式金丝皇菊采摘装置 |
| CN107750644A (zh) * | 2017-10-31 | 2018-03-06 | 江苏理工学院 | 一种便携式水果采摘器 |
| CN107961077A (zh) * | 2017-12-15 | 2018-04-27 | 南京航空航天大学 | 操控导管-导丝的血管介入手术机器人从手 |
| CN108293418A (zh) * | 2018-02-12 | 2018-07-20 | 中国计量大学 | 果实串采摘机械手末端执行器及其采摘方法 |
| CN108551883A (zh) * | 2018-06-25 | 2018-09-21 | 南京工程学院 | 一种采摘机器人末端执行器 |
| CN108781754A (zh) * | 2018-05-29 | 2018-11-13 | 杭州电子科技大学 | 柑橘辅助采摘器及其采摘方法 |
| CN108858264A (zh) * | 2018-09-25 | 2018-11-23 | 福建工程学院 | 一种咬合式剪切机械手 |
| CN108966829A (zh) * | 2018-09-16 | 2018-12-11 | 石河子大学 | 一种基于红花采摘的仿形定位装置 |
| CN109352672A (zh) * | 2018-11-26 | 2019-02-19 | 镇江震东电光源有限公司 | 一种灯芯柱的夹持装置 |
| CN109526387A (zh) * | 2019-01-16 | 2019-03-29 | 王永祥 | 用于板栗的采摘剥壳一体机 |
| CN110279440A (zh) * | 2019-06-27 | 2019-09-27 | 青岛市中心医院 | 一种消化道肿瘤活检组织专用取样器 |
| CN110393087A (zh) * | 2019-09-02 | 2019-11-01 | 四川省农业机械研究设计院 | 茶园嫩叶仿形采摘装置 |
| CN110558043A (zh) * | 2019-10-21 | 2019-12-13 | 南京工程学院 | 一种果梗夹剪式采摘机器人末端执行器 |
| CN110972716A (zh) * | 2018-10-03 | 2020-04-10 | 成都大学 | 一种水果采摘机器人自动化末端执行器 |
| CN111194610A (zh) * | 2020-03-13 | 2020-05-26 | 中国计量大学 | 番茄果实串采摘机械手末端执行器及其采摘方法 |
| CN111744621A (zh) * | 2020-07-10 | 2020-10-09 | 刘庆 | 一种新型垃圾分类粉碎用垃圾车 |
| CN114931024A (zh) * | 2022-04-22 | 2022-08-23 | 新疆大学 | 一种夹持切割果梗的单驱动葡萄采摘机器人末端执行器 |
Citations (6)
| Publication number | Priority date | Publication date | Assignee | Title |
|---|---|---|---|---|
| JPH02249420A (ja) * | 1989-03-24 | 1990-10-05 | Iseki & Co Ltd | 果実等の収穫装置 |
| CN2861018Y (zh) * | 2005-12-23 | 2007-01-24 | 殷秋强 | 包装机的机械手装置 |
| CN101019484A (zh) * | 2007-03-06 | 2007-08-22 | 江苏大学 | 果蔬采摘机器人末端执行器 |
| CN101019485A (zh) * | 2007-03-06 | 2007-08-22 | 江苏大学 | 球形果实采摘机器人末端执行器及其控制方法 |
| CN102668818A (zh) * | 2012-05-22 | 2012-09-19 | 中国农业大学 | 一种多瓜果采摘机器人的末端执行器 |
| CN203057880U (zh) * | 2012-12-11 | 2013-07-17 | 江苏大学 | 一种夹剪一体式采摘机器人末端执行器 |
-
2012
- 2012-12-11 CN CN2012105285056A patent/CN103004374A/zh active Pending
Patent Citations (6)
| Publication number | Priority date | Publication date | Assignee | Title |
|---|---|---|---|---|
| JPH02249420A (ja) * | 1989-03-24 | 1990-10-05 | Iseki & Co Ltd | 果実等の収穫装置 |
| CN2861018Y (zh) * | 2005-12-23 | 2007-01-24 | 殷秋强 | 包装机的机械手装置 |
| CN101019484A (zh) * | 2007-03-06 | 2007-08-22 | 江苏大学 | 果蔬采摘机器人末端执行器 |
| CN101019485A (zh) * | 2007-03-06 | 2007-08-22 | 江苏大学 | 球形果实采摘机器人末端执行器及其控制方法 |
| CN102668818A (zh) * | 2012-05-22 | 2012-09-19 | 中国农业大学 | 一种多瓜果采摘机器人的末端执行器 |
| CN203057880U (zh) * | 2012-12-11 | 2013-07-17 | 江苏大学 | 一种夹剪一体式采摘机器人末端执行器 |
Cited By (27)
| Publication number | Priority date | Publication date | Assignee | Title |
|---|---|---|---|---|
| CN105580558A (zh) * | 2015-12-10 | 2016-05-18 | 重庆福悦安科技有限公司 | 茶叶采摘剪刀 |
| CN105500341A (zh) * | 2016-01-13 | 2016-04-20 | 燕山大学 | 四自由度3sprr+sp型混联机器人柔性手 |
| CN106239541A (zh) * | 2016-09-20 | 2016-12-21 | 上海未来伙伴机器人有限公司 | 一种无人机轻型手爪 |
| CN106378788A (zh) * | 2016-10-19 | 2017-02-08 | 上海未来伙伴机器人有限公司 | 一种无人机手抓装置 |
| CN106576604A (zh) * | 2016-12-06 | 2017-04-26 | 南昌大学 | 果蔬采摘抓取器 |
| CN106941869A (zh) * | 2017-05-02 | 2017-07-14 | 池州市神洲生态农业有限公司 | 一种手持式金丝皇菊采摘装置 |
| CN107750644A (zh) * | 2017-10-31 | 2018-03-06 | 江苏理工学院 | 一种便携式水果采摘器 |
| CN107750644B (zh) * | 2017-10-31 | 2023-11-03 | 江苏理工学院 | 一种便携式水果采摘器 |
| CN107961077A (zh) * | 2017-12-15 | 2018-04-27 | 南京航空航天大学 | 操控导管-导丝的血管介入手术机器人从手 |
| CN108293418A (zh) * | 2018-02-12 | 2018-07-20 | 中国计量大学 | 果实串采摘机械手末端执行器及其采摘方法 |
| CN108293418B (zh) * | 2018-02-12 | 2024-01-30 | 中国计量大学 | 果实串采摘机械手末端执行器及其采摘方法 |
| CN108781754B (zh) * | 2018-05-29 | 2019-12-24 | 杭州电子科技大学 | 柑橘辅助采摘器及其采摘方法 |
| CN108781754A (zh) * | 2018-05-29 | 2018-11-13 | 杭州电子科技大学 | 柑橘辅助采摘器及其采摘方法 |
| CN108551883A (zh) * | 2018-06-25 | 2018-09-21 | 南京工程学院 | 一种采摘机器人末端执行器 |
| CN108966829A (zh) * | 2018-09-16 | 2018-12-11 | 石河子大学 | 一种基于红花采摘的仿形定位装置 |
| CN108858264B (zh) * | 2018-09-25 | 2023-06-02 | 福建工程学院 | 一种咬合式剪切机械手 |
| CN108858264A (zh) * | 2018-09-25 | 2018-11-23 | 福建工程学院 | 一种咬合式剪切机械手 |
| CN110972716A (zh) * | 2018-10-03 | 2020-04-10 | 成都大学 | 一种水果采摘机器人自动化末端执行器 |
| CN109352672A (zh) * | 2018-11-26 | 2019-02-19 | 镇江震东电光源有限公司 | 一种灯芯柱的夹持装置 |
| CN109526387A (zh) * | 2019-01-16 | 2019-03-29 | 王永祥 | 用于板栗的采摘剥壳一体机 |
| CN110279440A (zh) * | 2019-06-27 | 2019-09-27 | 青岛市中心医院 | 一种消化道肿瘤活检组织专用取样器 |
| CN110393087A (zh) * | 2019-09-02 | 2019-11-01 | 四川省农业机械研究设计院 | 茶园嫩叶仿形采摘装置 |
| CN110558043A (zh) * | 2019-10-21 | 2019-12-13 | 南京工程学院 | 一种果梗夹剪式采摘机器人末端执行器 |
| CN110558043B (zh) * | 2019-10-21 | 2024-03-29 | 南京工程学院 | 一种果梗夹剪式采摘机器人末端执行器 |
| CN111194610A (zh) * | 2020-03-13 | 2020-05-26 | 中国计量大学 | 番茄果实串采摘机械手末端执行器及其采摘方法 |
| CN111744621A (zh) * | 2020-07-10 | 2020-10-09 | 刘庆 | 一种新型垃圾分类粉碎用垃圾车 |
| CN114931024A (zh) * | 2022-04-22 | 2022-08-23 | 新疆大学 | 一种夹持切割果梗的单驱动葡萄采摘机器人末端执行器 |
Similar Documents
| Publication | Publication Date | Title |
|---|---|---|
| CN103004374A (zh) | 一种夹剪一体式采摘机器人末端执行器 | |
| CN203057880U (zh) | 一种夹剪一体式采摘机器人末端执行器 | |
| Kondo et al. | Development of an end-effector for a tomato cluster harvesting robot | |
| CN102227973B (zh) | 球状果实采摘机器人末端执行器 | |
| Ling et al. | Sensing and end-effector for a robotic tomato harvester | |
| CN111010993B (zh) | 一种番茄串收的机械手末端装置及其采摘方法 | |
| CN105835082B (zh) | 一种电磁机械抓手装置 | |
| CN202050707U (zh) | 球状果实采摘机器人末端执行器 | |
| CN104589366B (zh) | 一种变胞式多功能机械手爪 | |
| CN108605508A (zh) | 一种球形果蔬采摘机器人的末端执行器 | |
| CN205928703U (zh) | 刚柔耦合可转位手指的欠驱动机械手 | |
| CN104206121A (zh) | 一种草莓采摘末端执行器及其工作过程 | |
| CN108184431A (zh) | 一种果实采摘机器人末端执行器及采摘方法 | |
| CN106233938A (zh) | 串型水果采摘机器人的末端执行器 | |
| CN109937694B (zh) | 一种果实采摘收获机 | |
| CN105415392A (zh) | 一种大范围抓取欠驱动多适应机械手 | |
| CN210695008U (zh) | 基于柔性抓持与夹剪一体的果蔬采摘执行器 | |
| CN108551883A (zh) | 一种采摘机器人末端执行器 | |
| Oliveira et al. | End-effectors for harvesting manipulators-state of the art review | |
| CN206821311U (zh) | 一种单轴伺服的水果采摘机械手 | |
| Jia et al. | Integrated gripper and cutter in a mobile robotic system for harvesting greenhouse products | |
| CN208675820U (zh) | 一种采摘机器人末端执行器 | |
| Feng | End-effector technologies | |
| CN103749093B (zh) | 一种便携式果实采摘钳 | |
| Huangfei | Design and research on the end actuator of tomato picking robot |
Legal Events
| Date | Code | Title | Description |
|---|---|---|---|
| C06 | Publication | ||
| PB01 | Publication | ||
| C10 | Entry into substantive examination | ||
| SE01 | Entry into force of request for substantive examination | ||
| C02 | Deemed withdrawal of patent application after publication (patent law 2001) | ||
| WD01 | Invention patent application deemed withdrawn after publication |
Application publication date: 20130403 |