CN102913366A - Inline closed type hydroelectric generation system - Google Patents

Inline closed type hydroelectric generation system Download PDF

Info

Publication number
CN102913366A
CN102913366A CN2012102712618A CN201210271261A CN102913366A CN 102913366 A CN102913366 A CN 102913366A CN 2012102712618 A CN2012102712618 A CN 2012102712618A CN 201210271261 A CN201210271261 A CN 201210271261A CN 102913366 A CN102913366 A CN 102913366A
Authority
CN
China
Prior art keywords
inline
enclosed
power system
hydroelectric power
water
Prior art date
Legal status (The legal status is an assumption and is not a legal conclusion. Google has not performed a legal analysis and makes no representation as to the accuracy of the status listed.)
Granted
Application number
CN2012102712618A
Other languages
Chinese (zh)
Other versions
CN102913366B (en
Inventor
杨洪兴
陈建
Current Assignee (The listed assignees may be inaccurate. Google has not performed a legal analysis and makes no representation or warranty as to the accuracy of the list.)
Hong Kong Polytechnic University HKPU
Original Assignee
Hong Kong Polytechnic University HKPU
Priority date (The priority date is an assumption and is not a legal conclusion. Google has not performed a legal analysis and makes no representation as to the accuracy of the date listed.)
Filing date
Publication date
Application filed by Hong Kong Polytechnic University HKPU filed Critical Hong Kong Polytechnic University HKPU
Publication of CN102913366A publication Critical patent/CN102913366A/en
Application granted granted Critical
Publication of CN102913366B publication Critical patent/CN102913366B/en
Active legal-status Critical Current
Anticipated expiration legal-status Critical

Links

Images

Landscapes

  • Other Liquid Machine Or Engine Such As Wave Power Use (AREA)
  • Hydraulic Turbines (AREA)

Abstract

一种适用于封闭环境中的内联式水力发电系统(100),装设于具有开孔的管道(200),所述内联闭式水力发电系统包括:联接装置(1)、动力输入装置(2)和发电装置(3)。联接装置包括固定于开孔处并与管道连通的喉管(11)。动力输入装置包括垂直涡轮(22),垂直涡轮为球形多叶片中空涡轮,具有柱形的栅栏式框架以及自栅栏式框架的多个栅柱向外延伸出的多个弯曲叶片(222),叶片的弯曲方向一致且与垂直涡轮的旋转方向相反;垂直涡轮还具有自栅栏式框架一端延伸出的传动轴(221),动力输入装置穿过喉管置于管道中,水流推动垂直涡轮旋转,并将旋转动力通过传动轴输出。发电装置传动连接于传动轴,用于将传动轴的动能转化为电能。本发明可以在较低流速和较小直径的水管中安装发电。

Figure 201210271261

An inline hydropower generation system (100) suitable for use in a closed environment, installed on a pipe (200) with an opening. The inline closed hydropower generation system includes: a coupling device (1), a power input device (2) and power generation device (3). The coupling device includes a pipe (11) fixed at the opening and connected to the pipe. The power input device includes a vertical turbine (22). The vertical turbine is a spherical multi-blade hollow turbine with a cylindrical fence frame and a plurality of curved blades (222) extending outward from multiple grid columns of the fence frame. The blades The bending direction is consistent and opposite to the rotation direction of the vertical turbine; the vertical turbine also has a drive shaft (221) extending from one end of the fence frame, the power input device is placed in the pipe through the throat, and the water flow drives the vertical turbine to rotate, and The rotational power is output through the transmission shaft. The power generation device is connected to the transmission shaft and is used to convert the kinetic energy of the transmission shaft into electrical energy. The present invention enables installation of power generation in water pipes with lower flow rates and smaller diameters.

Figure 201210271261

Description

Inline enclosed hydroelectric power system
Technical field
The present invention relates to hydraulic power generation technology, be specifically related to a kind of being easily installed in drinking water or the salt water pipe, utilize the kinetic energy of water in the pipe and the inline enclosed hydroelectric power system that unnecessary head generates electricity.
Background technique
In a city, drinking water and salt water (middle water) supply generally is to distribute to numerous buildings by the foggara network of complexity to use.For guaranteeing the reliability of drinking water and salt water supply, water flow velocity, hydraulic pressure and the leakage situation of monitoring under ground piping are extremely important.Even if the market has different sensors and instrument to measure water flow velocity, hydraulic pressure and leakage situation, be very difficult but sometimes will obtain continuous and suitable power supply supply along the line at pipeline.On the one hand, although pipe network may have the high voltage supply cable along the line, therefrom obtain a small amount of electric power and supply monitoring equipment and in engineering, safety, cost and management, all have any problem.On the other hand, the current in the water pipe are a kind of cleaning and the energy continuously just, and consuming the part head is enough to supply normally stable work of monitoring equipment.In addition, have unnecessary head on some water supply networks in the open air, this head can convert power supply to fully to the application of detection and field illuminating etc.
Compare with general hydroelectric power system, utilize the requirement of generating electricity of current in the water pipe can not pollute water (especially drinking water), can not cause leakage, can not cause too large loss of pressure head and under relatively low flow velocity, operate.The system that utilizes the current in the water pipe to generate electricity can be divided into non-inline enclosed and inline enclosed two classes.Non-inline closed system needs an existing pipeline excision part is changed the pipeline that includes water turbine.The method is because pipework is complicated, and required engineering space is large and engineering time is longer, carries out such installing engineering meeting in the thickly populated city pedestrian and traffic are made troubles.Inline closed system only needs trunnion on existing pipeline punches and welds, and then water turbine is inserted and just can.The method is because pipework is simpler, and required engineering space is less and engineering time is shorter, is particularly suitable for carrying out in the thickly populated city installing engineering.
Because in inline closed system, water (flow) direction becomes 90 degree with the water turbine rotating shaft, therefore must use the vertical shaft turbine design.Existing vertical shaft turbine generally adopts resistance type turbine and lift-type turbine.Two kinds of turbines generally all are applied in the open environment.Figure 11 shows that the schematic representation of resistance type (Savonius) turbine that is applied in the open environment, as shown in figure 11, the resistance type turbine of prior art has a framework, described framework comprises end face 81 and bottom surface 82, have two semi-cylindrical shaped blades 83 that are fixed in end face 81 and bottom surface 82 between end face 81 and the bottom surface 82, promote blade 83 when current pass through the resistance type turbine, make turbine center on axle center 84 rotations, the output torque is used for generating electricity.This traditional resistance type turbine efficiency is low, and if in open environment the excessive or lobe numbers of blade gap cross at most and can cause decrease in efficiency.
About lift-type turbine prior art the example that is applied in the enclosed environment is arranged, for example the inline closed system of U.S. Northwest PowerPipe company production has just adopted ball formula Gorlov lift-type (lift-type) turbine, but in view of the lift-type turbine is compared with the resistance type turbine, could be better in the lift-type turbine situation that only, blade tip flow velocity higher at flow velocity is larger be electric energy with the kinetic transformation of water, therefore this system need be applied in the above pipeline of 1200mm diameter, or flow rate of water flow reaches in the above situation of 3m/s and just can effectively generate electricity.But incity, the city general diameter of ground end water pipe is less, and flow rate of water flow is low, so this design and inapplicable.
Therefore, related domain need to propose a kind of inline enclosed hydroelectric power system that can install in the water pipe of low flow velocity and small diameter.
Summary of the invention
The objective of the invention is to propose a novel inline enclosed hydroelectric power system that utilizes the current in the water pipe to generate electricity, be suitable for using in the water pipe of low flow velocity and small diameter in the city.
For achieving the above object, the present invention adopts following technological scheme:
The present invention proposes a kind of inline enclosed hydroelectric power system, is installed in the pipeline with perforate, and inline enclosed hydroelectric power system comprises: coupling arrangement, comprise trunnion, and trunnion is fixed in tapping also and pipeline communication; Power input device, comprise vertical turbine, vertical turbine of the present invention is spherical multiple-blade hollow turbine, railing frame and extend outward a plurality of curved vane from a plurality of stakes of railing frame, and the bending direction of a plurality of curved vane is consistent and opposite with the sense of rotation of vertical turbine; Vertical turbine also has from the extended transmission shaft of this railing frame one end, and power input device passes trunnion and places pipeline, and current promote the vertical turbine rotation, and rotating power is exported by transmission shaft; Electricity generating device is in transmission connection in transmission shaft, and the kinetic transformation that is used for transmission shaft is electric energy.
In an embodiment of the present invention, power input device also comprises the entrance slip ring that is installed in the vertical turbine upstream, and the entrance slip ring is with the current deflecting vertical turbine, and the flow rate of water flow of entrance slip ring water outlet is greater than the flow velocity of water inlet current.
In an embodiment of the present invention, the entrance slip ring comprises afflux section and auxiliary section, afflux section has the flow concentration hole along duct orientation, and the sectional area of flow concentration hole is along water flow in pipeline direction convergent, and the auxiliary section vertically extends and is the arc-shaped flaky that cooperates with the trunnion madial wall from an end of afflux section.
In an embodiment of the present invention, the outer sealing material that is arranged with for sealed entry slip ring and pipeline gap of afflux section.
In an embodiment of the present invention, be provided with in the flow concentration hole for the bootstrap block that guides current.
In an embodiment of the present invention, bootstrap block is the crescent shape that cooperates with the flow concentration hole internal face, and vertically is installed in the flow concentration hole.
In an embodiment of the present invention, vertical turbine is the leafy structure of spherical hollow.
In an embodiment of the present invention, the outer rim of blade is the curve on the sphere, and this curve is symmetrical with respect to the perpendicular bisector of this stake.
In an embodiment of the present invention, inline enclosed hydroelectric power system also comprise the protection housing, the protection housing is arranged in the trunnion, an end of protection housing has the cambered surface that cooperates with vertical turbine, has opening confession transmission shaft on the cambered surface and passes.
In an embodiment of the present invention, inline enclosed hydroelectric power system also comprises charging unit, and charging unit is connected in electricity generating device, and charging unit comprises storage battery, and the power storage that is used for electricity generating device is produced is in storage battery.
In an embodiment of the present invention, inline enclosed hydroelectric power system also comprises fixedly water-tight device, and fixedly water-tight device comprises a plurality of supporting posts and fixing disk body, is used for supporting and fixed power generator.
In an embodiment of the present invention, fixedly water-tight device also comprises waterproof case and water-proof cable gland, waterproof case is coated on a plurality of bearing posts and the fixing periphery of disk body, and the water-proof cable gland is arranged at the top of waterproof case, is used for the cable of the electric energy that fixing output electricity generating device produces.
In an embodiment of the present invention, charging unit comprises rectifier, charging control unit, and charging control unit is electrically connected to one minute current load with the output terminal of rectifier when charge in batteries is expired.
In an embodiment of the present invention, charging unit also comprises the first voltage monitor and current monitor, and the first voltage monitor sends the voltage alarm signal when being electrically connected on storage battery and can being lower than a voltage predefined value at the voltage of storage battery; Current monitor sends the electric current warning sign when being electrically connected on rectifier and can being lower than an electric current predefined value at the output current of rectifier.
In an embodiment of the present invention, charging unit also comprises the second voltage monitor that is electrically connected on electricity generating device, the second voltage monitor is higher than a voltage predefined value at the output voltage of rectifier and sends the voltage alarm signal, and the output terminal of rectifier is connected to a deceleration load to reduce the rotating speed of vertical turbine.
Implement inline enclosed hydroelectric power system provided by the invention, be applicable to the under ground piping that the city inner diameter is less and flow rate of water flow is lower, have wide range of applications, can't on cause obvious impact for water stability, power is adjustable, can guarantee safe effect.
Description of drawings
Figure 1 shows that the combination schematic representation of inline enclosed hydroelectric power system in one embodiment of the invention, wherein removed the external members such as waterproof case;
Figure 2 shows that coupling arrangement in one embodiment of the invention is connected to the schematic representation of pipeline;
Fig. 3 is the process schematic representation that the entrance slip ring is installed in pipeline in one embodiment of the invention;
Fig. 4 is the schematic representation that entrance slip ring and vertical turbine have been installed to pipeline in one embodiment of the invention;
Figure 5 shows that the schematic representation of vertical turbine of the present invention;
Figure 6 shows that vertical turbine of the present invention is connected to the connection diagram of flange plate;
Figure 7 shows that one embodiment of the invention medium power input device is installed in the schematic representation of another angle in pipeline and the coupling arrangement;
Figure 8 shows that in one embodiment of the invention the sectional drawing of the above part of abutted flange dish in the inline enclosed hydroelectric power system;
Figure 9 shows that the module map of charging unit in one embodiment of the invention;
Figure 10 is that inline enclosed hydroelectric power system records the schematic representation that generated energy and hydraulic pressure fall in one embodiment of the invention under different flow rate of water flow; And
Figure 11 is the schematic representation of existing general resistance type turbine.
Embodiment
The present invention proposes a novel inline enclosed hydroelectric power system that utilizes the current in the water pipe to generate electricity, and can be applied in the under ground piping that the city inner diameter is less and flow rate of water flow is lower.
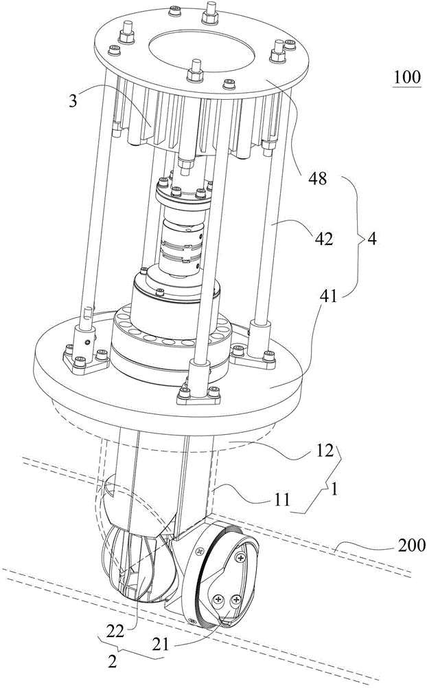
Inline enclosed hydroelectric power system 100 of the present invention is to be installed on the pipeline 200 after the perforate on the pipeline 200.Figure 1 shows that the combination schematic representation of inline enclosed hydroelectric power system 100 in one embodiment of the invention, wherein removed the external members such as waterproof case.In an embodiment of the present invention, inline enclosed hydroelectric power system 100 comprises coupling arrangement 1, power input device 2, electricity generating device 3, and fixing water-tight device 4.
Shown in Figure 2 in one embodiment of the invention system, coupling arrangement 1 is connected to the schematic representation of pipeline 200.Coupling arrangement 1 comprises trunnion 11 and flange plate 12, and trunnion 11 is preferably perpendicular to pipeline 200 (in particular cases, also can non-perpendicular angle access pipeline 200) be set.Open the perforate the same with pipeline 200 diameters of a diameter at pipeline 200, the tapping of pipeline 200 is fixed in the lower end of trunnion 11, and is communicated with pipeline 200, and the upper end is connected in flange plate 12.The Placement of the lower end of trunnion 11 and pipeline 200 is preferably seal welding.Flange plate 12 can be connected with trunnion 11 one-body moldedly, or is fixed together by welding.A plurality of attachment holes 122 that the center of flange plate 12 has opening 121 and arranges in the form of a ring.
Among Fig. 1, power input device 2 of the present invention comprises entrance slip ring 21 and vertical turbine 22.Fig. 3 is the process schematic representation that the entrance slip ring 21 in one embodiment of the invention system is installed in pipeline 200.Fig. 4 is the schematic representation that entrance slip ring 21 and vertical turbine 22 have been installed to pipeline 200 in one embodiment of the invention system.
As shown in Figure 3 and Figure 4, entrance slip ring 21 has afflux section 211 and auxiliary section 212 that cooperates with trunnion 11 of a hollow columnar.Afflux section 211 has flow concentration hole 2111, the direction of flow concentration hole 2111 is preferably along pipeline 200 directions, the flow rate of water flow of the water outlet of entrance slip ring 21 is greater than the flow velocity of water inlet current, the sectional area of flow concentration hole 2111 can be made as the trend that the direction of passing through along current presents convergent and realize that the flow rate of water flow of water outlet is greater than the effect of the flow velocity of water inlet current, bootstrap block 2112 preferably is set in flow concentration hole 2111 in the present embodiment, bootstrap block 2112 can produce better catchment effect, makes current promote better turbine 22 rotations.Bootstrap block 2112 is the crescent shape block that cooperates with the internal face of the afflux section 211 of hollow columnar, and vertically is installed in the flow concentration hole 2111, the speed when flowing out from water outlet to adjust current, but the present invention is not as limit.Flow away for reducing between the peripheral slit with pipeline 200 in afflux section 211 of current, also can be on the outer bundles of afflux section 211 in right amount sealing material 213(see Fig. 7), for example silicone band is used as to fill up.Sealing material 213 not only can prevent current from the circumferential flux mistake of afflux section 211, can also be used for supporting afflux section 211, to avoid afflux section 211 to rock.
Extend towards the perpendicular direction of trunnion 11 from the downstream of afflux section 211 auxiliary section 212, and auxiliary section 212 shapes are preferably arc-shaped flaky, cooperate with the madial wall with trunnion 11.The length of auxiliary section 212 is advisable not protrude from trunnion 11.Entrance slip ring 21 can stainless steel or high-strength polymer make.As shown in Figure 3, when installing entrance slip ring 21, first with entrance slip ring 21 from the opening 121 of flange plate 12 is vertically packed pipeline 200 into along trunnion 11, after afflux section 211 is installed in the pipeline 200, along reverse the pushing of pipeline 200 to entry direction A, make auxiliary section 212 be connected to the madial wall of trunnion 11.
Figure 5 shows that the schematic representation of the turned upside down of vertical turbine 22 in one embodiment of the invention, vertical turbine 22 is vertically to enter in the pipeline 200 along trunnion 11 installings during installing.Vertical turbine 22 be a hollow made from stainless steel or high-strength polymer with the turbine of blade 222, it has the railing frame 223 of a cylindricality, its lower end is opened wide, and upper end closed.A plurality of stakes 224 from railing frame 223 extend outward a plurality of curved vane 222, the bending direction of described a plurality of curved vane 222 is consistent and opposite with the sense of rotation of turbine 22, for example, if the bending direction of curved vane 222 is that then the sense of rotation of turbine 22 is counterclockwise clockwise.In the present embodiment, the global shape of vertical turbine 22 is approximate spherical in shape.Each blade 222 shape is identical, and the outer rim of blade 222 is the curve on the sphere, and this curve is symmetrical with respect to the perpendicular bisector of this stake.In the present embodiment, the number of blade 222 is 12, but not as limit.Than the resistance type turbine of prior art, the leafy structure of vertical hollow of the present invention is so that vertical turbine 22 can produce larger moment of torsion when water flow velocity is low.Vertical turbine 22 also has transmission shaft 221, and transmission shaft 221 stretches out from the upper end of vertical turbine 22.
Figure 6 shows that vertical turbine of the present invention is connected to the connection diagram of flange plate.Figure 7 shows that one embodiment of the invention medium power input device 2 is installed in the schematic representation of another angle in pipeline 200 and the coupling arrangement 1.As shown in Figure 6 and Figure 7, the inline enclosed hydroelectric installation of the present invention (100) also comprises protection housing 14, and protection housing 14 is for being looped around the cylindrical shell of transmission shaft 221 peripheries, and its axis is preferably and is parallel to transmission shaft 221.One end of protection housing 14 has the cambered surface 141 consistent with vertical turbine 22 profiles, has slightly larger in diameter in cambered surface 141 and passes for transmission shaft 221 in the opening 142 of transmission shaft 221.Protection housing 14 can stop current to enter in the trunnion 11, prevents that a large amount of current from walking around vertical turbine 22 and lowers electricity generation efficiency thereby play.
After entrance slip ring 21 is installed in pipeline 200; composite entity shown in Figure 6 opening 121 by flange plate 12 is stretched in the trunnion 11; and the auxiliary section 212 that makes entrance slip ring 21 is arranged between trunnion 11 madial walls and the above-mentioned protection housing 14, thereby finishes flange plate 41 with the installation location of lower member with respect to pipeline 200.
Entrance slip ring 21 can be converted into the part hydraulic pressure of water the kinetic energy of water, and current are ceaselessly accelerated dwindling gradually in the runner when flowing, and finally increases several times so that leave the flow velocity of entrance slip ring 21 water.Enter the current of entrance slip ring 21 through the guiding of bootstrap block 2112, current directly rush at the blade 222 of vertical turbine 22 with speed faster, thereby promote vertical turbine 22 rotations, the straight line kinetic transformation of current is become the rotation function of turbine, export by the rotation of transmission shaft 221.
Fig. 8 is the sectional drawing of inline enclosed hydroelectric power system 1 in one embodiment of the invention.Such as Fig. 1, Fig. 7 and shown in Figure 8, the inline enclosed hydroelectric power system 100 of the present invention also comprises fixedly water-tight device 4.Fixedly water-tight device 4 is structures made from stainless steel or high-strength polymer, comprise abutted flange dish 41, and this abutted flange dish 41 be relatively fixed disk body 48, be connected in abutted flange dish 41 and the fixedly a plurality of supporting posts 42 between the disk body 48, waterproof case 43 and water-proof cable gland 44.Abutted flange dish 41 also has attachment hole, can with the flange plate 12 of trunnion 11 on attachment hole 122 be bolted, wherein protect housing 14 pass flange plate 12 opening 121 and with abutted flange dish 41 butts.
In an embodiment of the present invention, transmission shaft 221 passes the opening 121 of flange plate 12 via jack shaft 221B, and is in transmission connection by the parts such as bearing 47, coupling 45 and electricity generating device 3, and electricity generating device 3 is used for the rotation function of transmission shaft 221 is converted to electric energy.Fixedly disk body 48 is fixed at the top of electricity generating device 3, and an end of a plurality of supporting posts 42 is fixed in abutted flange dish 41, and the other end is fixed in fixedly disk body 48, electricity generating device 3 stably is supported in fixedly in the water-tight device 4.In the present invention, electricity generating device 3 can be a direct current brushless permanent magnet generator, and it can produce enough large voltage and supply charging unit 5 described later being higher than under the rotating speed of 500rpm.In view of generator is technology well-known to those skilled in the art, do not repeat them here.
Fixedly water-tight device 4 has mechanical sealing assembly 46 equally, is arranged at contiguous abutted flange Pan41Chu, enters fixedly water-tight device 4 to prevent the water in the pipeline 200.
It is not shown that the inline enclosed hydroelectric power system 100 of the present invention also comprises charging unit 5(Fig. 1).Figure 9 shows that the module diagram of charging unit 5 logical constructions in explanation one embodiment of the invention.Charging unit 5 is arranged at waterproof case 43(Fig. 8) the outside, be electrically connected (Fig. 8) by water-proof cable (not shown) and water-proof cable gland 44 with electricity generating device 3.As shown in Figure 9, charging unit 5 is comprised of rectifier 58, charging control unit 51, storage battery 52, minute current load 53, the first voltage monitor 54, current monitor 55 and second voltage monitor 56.Storage battery 52 is preferably sealed type lead acid battery.Rectifier 58 in electricity generating device 3 and the charging unit 5 is connected, and charging control unit 51 is connected in the first voltage monitor 54, user load, storage battery 52 and minute current load 53, is responsible for the connection that control rectifier 58 is exported.If storage battery 52 underfills are electric, charging control unit 51 is electrically received storage battery 52 with rectifier 58 output terminals and is proceeded charging work; If storage battery 52 has been full of electricity, charging control unit 51 is received minute current load 53 to the output terminal of rectifier unnecessary power consumption is fallen, and plays the effect of protection storage battery 52.The first voltage monitor 54 is electrically connected on storage battery 52, and can when being lower than a voltage predefined value, storage battery 52 voltages send the voltage alarm signal, current monitor 55 is electrically connected rectifier 58, and sends the electric current warning sign when can be lower than an electric current predefined value at the output current of rectifier 58.In addition, charging unit 5 also comprises the second voltage monitor 56 of the output terminal that is electrically connected on rectifier 58, second voltage monitor 56 sends the voltage alarm signal when rectifier 58 output voltages are higher than a voltage predefined value, expression vertical turbine 22 rotating speeds are too fast, and second voltage monitor 56 just can be received the rotating speed that deceleration load 57 reduces vertical turbine 22 whereby to the output terminal of rectifier 58 immediately.
Through verification experimental verification, in one embodiment, with the material of stainless steel as turbine and entrance slip ring, the trunnion 11 of the long 100mm of welding diameter 100mm on the pipeline 200 of diameter 100mm, resulting average generated energy a and average hydraulic pressure fall b as shown in figure 10.
Usually descend the flow velocity of water in the drinking water pipeline between 0.7-2.5m/s, hydraulic pressure is between 0.20-0.80Mpa, and the water pipe diameter range is 50-600mm.In the pipeline of diameter 100mm, if flow rate of water flow can be kept average 1.5m/s, system can produce the electric power of average 88W, enough supply general water pipe monitoring equipment; The present invention consumes hydraulic pressure less than 0.05Mpa under the 1.5m/s flow velocity, can be to not having a significant effect for water stability.
The present invention has following advantage: 1, the present invention is applicable to the under ground piping that the city inner diameter is less and flow rate of water flow is lower, and for example the pipeline of diameter 50mm ~ 600mm has wide range of applications; 2, consume hydraulic pressure little (for example under the 1.5m/s flow velocity, consuming hydraulic pressure less than 0.05Mpa) under the low water flow rate of the present invention, can be on not causing obvious impact for water stability; 3, for to guarantee that the hydraulic pressure of system consumption maintains reasonable level, the present invention can adjust by opening section shape and size the entrance slip ring, improve or electric power that the reduction system can produce, pipeline is larger, the electric power that system can produce is just more, the power that those skilled in the art can want by the specification adjustment of disposing suitable electricity generating device and charge control system; 4, the present invention has been installed the voltage and current monitor additional at charging unit, can effectively protect the use safety of above-mentioned inline enclosed hydroelectric installation.
Although described the present invention with reference to several exemplary embodiments, should be appreciated that used term is explanation and exemplary and nonrestrictive term.Because the present invention is implementation and do not break away from spirit or the essence of invention in a variety of forms, so be to be understood that, above-described embodiment is not limited to any aforesaid details, and should be in the spirit and scope that the claim of enclosing limits explain widely, therefore fall into whole variations in claim or its equivalent scope and remodeling and all should be the claim of enclosing and contain.

Claims (13)

1. an inline enclosed hydroelectric power system (100) is installed in the pipeline (200) with perforate, it is characterized in that described inline enclosed hydroelectric power system (100) comprising:
Coupling arrangement (1) comprises the trunnion (11) that is fixed in described tapping and is communicated with described pipeline (200);
Power input device (2), comprise vertical turbine (22), described vertical turbine (22) has the railing frame (223) of cylindricality and a plurality of curved vane (222) that extend outward from a plurality of stakes (224) of described railing frame (223), and the bending direction of described a plurality of curved vane (222) is consistent and opposite with the sense of rotation of described vertical turbine (22); Described vertical turbine (22) also has from this extended transmission shaft of railing frame one end (221), described power input device (2) passes described trunnion (11) and places described pipeline (200), current promote described vertical turbine (22) rotation, and rotating power is exported by described transmission shaft (221);
Electricity generating device (3) is in transmission connection in described transmission shaft (221), and the kinetic transformation that is used for described transmission shaft (221) is electric energy.
2. inline enclosed hydroelectric power system according to claim 1 (100), it is characterized in that, described power input device (2) also comprises the entrance slip ring (21) that is installed in described vertical turbine (22) upstream, described entrance slip ring (21) is with the described vertical turbine of current deflecting (22), and the flow rate of water flow of described entrance slip ring (21) water outlet is greater than the flow velocity of water inlet current.
3. inline enclosed hydroelectric power system according to claim 2 (100), it is characterized in that, described entrance slip ring (21) comprises afflux section (211) and auxiliary section (212), described afflux section (211) has along the flow concentration hole (2111) of described pipeline (200) direction, the sectional area of described flow concentration hole (2111) water (flow) direction convergent in the pipeline (200), described auxiliary section (212) vertically extend and are the arc-shaped flaky that cooperates with trunnion (11) madial wall from an end of described afflux section (211).
4. inline enclosed hydroelectric power system according to claim 3 (100), it is characterized in that the outer of described afflux section (211) is arranged be used to sealing the sealing material (213) of described entrance slip ring (21) with described pipeline (200) gap.
5. inline enclosed hydroelectric power system according to claim 3 (100) is characterized in that, is provided with the bootstrap block (2112) for the guiding current in the described flow concentration hole (2111).
6. inline enclosed hydroelectric power system according to claim 5 (100), it is characterized in that, described bootstrap block (2112) is the crescent shape that cooperates with described flow concentration hole (2111) internal face, and vertically is installed in the described flow concentration hole (2111).
7. each described inline enclosed hydroelectric power system (100) in 6 according to claim 1 is characterized in that described vertical turbine (22) is the leafy structure of spherical hollow.
8. inline enclosed hydroelectric power system according to claim 7 (100) is characterized in that, the outer rim of described blade (222) is the curve on the sphere, and this curve is symmetrical with respect to the perpendicular bisector of this stake.
9. inline enclosed hydroelectric power system according to claim 8 (100); it is characterized in that; described inline enclosed hydroelectric power system (100) also comprises protection housing (14); described protection housing (14) is arranged in the described trunnion (11); one end of described protection housing (14) has the cambered surface (141) that cooperates with described vertical turbine (22), has opening (142) on the described cambered surface (141) and passes for described transmission shaft (221).
10. inline enclosed hydroelectric power system according to claim 9 (100), it is characterized in that, described inline enclosed hydroelectric power system (100) also comprises the charging unit (5) that is connected in described electricity generating device (3), described charging unit (5) comprises storage battery (52), rectifier (58) and charging control unit (51), the power storage that described charging unit (5) is used for described electricity generating device (3) is produced is in described storage battery (52), and described charging control unit (51) is electrically connected to one minute current load (53) with the output terminal of described rectifier (58) when described storage battery (52) charging has been expired.
11. inline enclosed hydroelectric power system according to claim 10 (100), it is characterized in that, described inline enclosed hydroelectric power system (100) also comprises fixedly water-tight device (4), described fixedly water-tight device (4) comprises a plurality of supporting posts (42) and fixing disk body (48), is used for supporting and fixing described electricity generating device (3).
12. inline enclosed hydroelectric power system according to claim 11 (100), it is characterized in that, described fixedly water-tight device (4) also comprises waterproof case (43) and water-proof cable gland (44), described waterproof case (43) is coated on the periphery of described a plurality of bearing post (42) and described fixedly disk body (48), described water-proof cable gland (44) is arranged at the top of described waterproof case (43), is used for the cable of the electric energy of the fixing described electricity generating device of output (3) generation.
13. inline enclosed hydroelectric power system according to claim 10 (100), it is characterized in that, described charging unit (5) also comprises the first voltage monitor (54) and current monitor (55), and described the first voltage monitor (54) sends the voltage alarm signal when being electrically connected on described storage battery (52) and can being lower than a voltage predefined value at the voltage of described storage battery (52); Described current monitor (55) sends the electric current warning sign when being electrically connected on described rectifier (58) and can being lower than an electric current predefined value at the output current of described rectifier (58), described charging unit (5) also comprises the second voltage monitor (56) that is electrically connected on described electricity generating device (3), described second voltage monitor (56) is higher than a voltage predefined value at the output voltage of described rectifier (58) and sends the voltage alarm signal, and the output terminal of described rectifier (58) is connected to a deceleration load (57) to reduce the rotating speed of described vertical turbine (22).
CN201210271261.8A 2011-08-01 2012-08-01 Inline closed type hydroelectric generation system Active CN102913366B (en)

Applications Claiming Priority (2)

Application Number Priority Date Filing Date Title
HK11107929.8 2011-08-01
HK11107929A HK1150355A2 (en) 2011-08-01 2011-08-01 An inline hydroelectric generating system in confined condition

Publications (2)

Publication Number Publication Date
CN102913366A true CN102913366A (en) 2013-02-06
CN102913366B CN102913366B (en) 2015-04-01

Family

ID=46000446

Family Applications (1)

Application Number Title Priority Date Filing Date
CN201210271261.8A Active CN102913366B (en) 2011-08-01 2012-08-01 Inline closed type hydroelectric generation system

Country Status (2)

Country Link
CN (1) CN102913366B (en)
HK (1) HK1150355A2 (en)

Cited By (3)

* Cited by examiner, † Cited by third party
Publication number Priority date Publication date Assignee Title
CN105179140A (en) * 2015-09-07 2015-12-23 杨洪兴 Inline closed hydroelectric generator
CN105207335A (en) * 2015-08-31 2015-12-30 杨洪兴 Automatic control system of hydroelectric generator
GB2530529A (en) * 2014-09-25 2016-03-30 Michael Legge Aquagen hydroelectric unit

Citations (4)

* Cited by examiner, † Cited by third party
Publication number Priority date Publication date Assignee Title
WO2000028210A1 (en) * 1998-11-09 2000-05-18 Aaron Davidson Generation of energy with fluid
CN201159522Y (en) * 2007-12-19 2008-12-03 李孟恒 Self-power generation water heating device of water supply pipe
US20100253081A1 (en) * 2009-04-07 2010-10-07 Schlabach Roderic A In-pipe hydro-electric power system and turbine
CN201884192U (en) * 2010-12-01 2011-06-29 河南省电力公司南阳供电公司 Household tap water generating system

Patent Citations (4)

* Cited by examiner, † Cited by third party
Publication number Priority date Publication date Assignee Title
WO2000028210A1 (en) * 1998-11-09 2000-05-18 Aaron Davidson Generation of energy with fluid
CN201159522Y (en) * 2007-12-19 2008-12-03 李孟恒 Self-power generation water heating device of water supply pipe
US20100253081A1 (en) * 2009-04-07 2010-10-07 Schlabach Roderic A In-pipe hydro-electric power system and turbine
CN201884192U (en) * 2010-12-01 2011-06-29 河南省电力公司南阳供电公司 Household tap water generating system

Cited By (5)

* Cited by examiner, † Cited by third party
Publication number Priority date Publication date Assignee Title
GB2530529A (en) * 2014-09-25 2016-03-30 Michael Legge Aquagen hydroelectric unit
CN105207335A (en) * 2015-08-31 2015-12-30 杨洪兴 Automatic control system of hydroelectric generator
CN105207335B (en) * 2015-08-31 2018-10-02 香港理工大学 Automatic control system of hydroelectric generator
CN105179140A (en) * 2015-09-07 2015-12-23 杨洪兴 Inline closed hydroelectric generator
CN105179140B (en) * 2015-09-07 2017-08-04 香港理工大学 Inline closed hydroelectric generator

Also Published As

Publication number Publication date
HK1150355A2 (en) 2011-12-02
CN102913366B (en) 2015-04-01

Similar Documents

Publication Publication Date Title
CN202023678U (en) Pipeline potential energy generating system of tap water works
CN104595094B (en) hydraulic turbine generator
WO2010109169A2 (en) Bladeless turbine and power generator
KR101769080B1 (en) Generating system using depressurization apparatus in pipe
WO2014106995A1 (en) Electricity-generating device using flow speed
WO2020010872A1 (en) Ultralow-head hydroelectric generator
KR20150092482A (en) Power generating apparatus used in water passage
CN102913366A (en) Inline closed type hydroelectric generation system
CN105370487B (en) Power generation device from sea current
CN105927302B (en) Magnetic driving natural gas pipe generator
KR20160046744A (en) Hydroelectric power generation system
CN110242480A (en) A kind of pipe generator and its motor-driven valve
CN102943730A (en) Wave force direct-driving hydraulic turbine
CN110735752A (en) kinds of miniature generator
CN106150828A (en) A kind of small power vertical axle Pipeline Water turbine wheel
CN201982229U (en) Miniature self-contained pipe flowing water turbine generator set
KR101314465B1 (en) Small hydroelectric power generation facilities using industrial water line
CN210370998U (en) Vertical hydraulic generator
CN201031761Y (en) A hydroelectric power plant
CN211715253U (en) Multi-source wind power generation device
CN203146198U (en) Water turbine for ocean current power generation
MX2013006448A (en) Hydroelectric generator installed in flowing water.
CN109026503B (en) Hydroelectric power generation equipment
CN117293985A (en) Power generation equipment consisting of paddle-free turbine and disc type axial motor
CN206801760U (en) The energy storage device of water-energy generating electricity

Legal Events

Date Code Title Description
C06 Publication
PB01 Publication
C10 Entry into substantive examination
SE01 Entry into force of request for substantive examination
C14 Grant of patent or utility model
GR01 Patent grant