CN102897369A - Foldable containing box - Google Patents
Foldable containing box Download PDFInfo
- Publication number
- CN102897369A CN102897369A CN2012103933105A CN201210393310A CN102897369A CN 102897369 A CN102897369 A CN 102897369A CN 2012103933105 A CN2012103933105 A CN 2012103933105A CN 201210393310 A CN201210393310 A CN 201210393310A CN 102897369 A CN102897369 A CN 102897369A
- Authority
- CN
- China
- Prior art keywords
- framework
- containing box
- connecting pin
- supporting leg
- contiguous block
- Prior art date
- Legal status (The legal status is an assumption and is not a legal conclusion. Google has not performed a legal analysis and makes no representation as to the accuracy of the status listed.)
- Pending
Links
- 239000004744 fabric Substances 0.000 claims abstract description 9
- 239000002344 surface layer Substances 0.000 claims description 9
- 238000005452 bending Methods 0.000 claims description 3
- 239000010410 layer Substances 0.000 claims description 3
- 238000004519 manufacturing process Methods 0.000 abstract description 4
- 238000010586 diagram Methods 0.000 description 6
- 238000005516 engineering process Methods 0.000 description 1
- 239000000463 material Substances 0.000 description 1
- 230000004048 modification Effects 0.000 description 1
- 238000012986 modification Methods 0.000 description 1
Images
Landscapes
- Purses, Travelling Bags, Baskets, Or Suitcases (AREA)
Abstract
The invention relates to a foldable containing box, which comprises a box body and a box cover, wherein the box body comprises a frame; connection blocks are arranged on the frame; each connection block is provided with a foldable foot; each connection foot is movably connected with one end of a support leg; the lower edge of the frame is connected with the opening of a soft cloth bag; the bottom of the soft cloth bag is provided with a bottom plate; the support legs are pressed against the bottom plate; and one side of the box cover is fixedly connected with one side of the frame. The foldable containing box is simple in structure, is easy to manufacture, and is convenient to fold.
Description
Technical field
The present invention relates to daily household articles technical field, relate in particular to a kind of containing box that can fold use.
Background technology
The chest of taking in article that various collapsible use is arranged in the market, structure all is comprised of casing and case lid substantially, and the side of casing is formed by connecting by the polylith side plate, case lid directly is linked on the casing, although this type of containing box can be realized folding, also can conserve space when not using, the manufacturing process of this type of containing box is complicated, and needing to use the polylith side plate, materials are also economical not.
Summary of the invention
The present invention is directed to above-mentioned shortcoming of the prior art, a kind of folding containing box is provided, its structural manufacturing process is simple, folding convenient.
The technical solution adopted in the present invention is as follows:
Folding containing box comprises casing and case lid; Described casing comprises framework, and contiguous block is installed on the framework, and bent connecting pin is arranged on the contiguous block, and an end of connecting pin and supporting leg is flexibly connected; The framework lower edge is connected with the opening of soft cloth bag, and the bottom of soft cloth bag is provided with base plate, and supporting leg and base plate connect; Captive joint with one side of framework in one side of case lid;
Further technical scheme is:
One side of described framework is provided with supporting pad;
Described contiguous block and connecting pin be structure as a whole and connecting pin along the bending of the base of contiguous block;
Described supporting leg and connecting pin are connected by screw;
Described supporting leg is that hollow structure and supporting leg inside are provided with reinforced rib;
Described case lid comprises soft surface layer and is wrapped in the interior hard plate of soft surface layer, is provided with spongy layer between described hard plate and the described soft surface layer;
Described case lid and framework are connected by screw;
The invention has the advantages that: contiguous block is set respectively on the angle of framework, containing box bent connecting pin is set on the contiguous block, realized the folding function of the supporting leg that is connected with connecting pin, so that can fold, structure and manufacture craft are simple, folding convenient.
Description of drawings
Fig. 1 is use constitution diagram of the present invention.
Fig. 2 is the folded state diagram of Fig. 1.
Fig. 3 is the constitution diagram that Fig. 1 removes soft cloth bag and case lid.
Fig. 4 is the folded state diagram of Fig. 3.
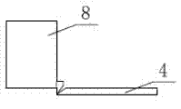
Fig. 5, Fig. 6 are the block diagram of the contiguous block among the present invention.
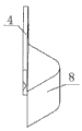
Fig. 7 is the block diagram after the connecting pin among Fig. 5 or Fig. 6 bends.
Fig. 8 is the front view of Fig. 7.
The specific embodiment
Below in conjunction with accompanying drawing, the specific embodiment of the present invention is described.
Such as Fig. 1-shown in Figure 8, the present invention includes case lid 6 and casing; Case lid 6 comprises soft surface layer and is wrapped in the interior hard plate of soft surface layer, is provided with spongy layer between described hard plate and the described soft surface layer; Described casing comprises framework 1, one side framework 1 be provided with supporting pad 10, be used for supporting box cover 6; Contiguous block 8 is installed on the framework 1, bent connecting pin 4 is arranged on the contiguous block 8, contiguous block 8 be structure as a whole with connecting pin 4 and connecting pin 4 along the base bending of contiguous block 8, connecting pin 4 is flexibly connected by screw 9 with an end of supporting leg 2, supporting leg 2 is for hollow structure and supporting leg 2 inside are provided with reinforced rib, can alleviate the weight of supporting leg 2 and strengthen the intensity of supporting leg 2; Framework 1 lower edge is connected with the opening of soft cloth bag 5, and the bottom of soft cloth bag 5 is provided with base plate 3, and supporting leg 2 connects with base plate 3; Captive joint by screw 7 with one side of framework 1 in one side of case lid 6.
More than describing is explanation of the invention, is not that limited range of the present invention within protection scope of the present invention, can be done any type of modification referring to claim to the restriction of invention.
Claims (7)
1. folding containing box comprises casing and case lid (6); It is characterized in that: described casing comprises framework (1), and contiguous block (8) is installed on the framework (1), and bent connecting pin (4) is arranged on the contiguous block (8), and connecting pin (4) is flexibly connected with an end of supporting leg (2); Framework (1) lower edge is connected with the opening of soft cloth bag (5), and the bottom of soft cloth bag (5) is provided with base plate (3), and supporting leg (2) connects with base plate (3); Captive joint with one side of framework (1) in one side of case lid (6).
2. folding containing box as claimed in claim 1 is characterized in that: framework (1) one side be provided with supporting pad (10).
3. folding containing box as claimed in claim 1 is characterized in that: contiguous block (8) be structure as a whole with connecting pin (4) and connecting pin (4) along the base bending of contiguous block (8).
4. folding containing box as claimed in claim 1 is characterized in that: supporting leg (2) is connected by screw with connecting pin (4).
5. such as claim 1 or 4 described folding containing boxs, it is characterized in that: supporting leg (2) is provided with reinforced rib for hollow structure and supporting leg (2) inside.
6. folding containing box as claimed in claim 1 is characterized in that: case lid (6) comprises soft surface layer and is wrapped in hard plate in the soft surface layer, is provided with spongy layer between described hard plate and the described soft surface layer.
7. such as claim 1 or 6 described folding containing boxs, it is characterized in that: case lid (6) is connected by screw (7) with framework (1).
Priority Applications (1)
| Application Number | Priority Date | Filing Date | Title |
|---|---|---|---|
| CN2012103933105A CN102897369A (en) | 2012-10-17 | 2012-10-17 | Foldable containing box |
Applications Claiming Priority (1)
| Application Number | Priority Date | Filing Date | Title |
|---|---|---|---|
| CN2012103933105A CN102897369A (en) | 2012-10-17 | 2012-10-17 | Foldable containing box |
Publications (1)
| Publication Number | Publication Date |
|---|---|
| CN102897369A true CN102897369A (en) | 2013-01-30 |
Family
ID=47569921
Family Applications (1)
| Application Number | Title | Priority Date | Filing Date |
|---|---|---|---|
| CN2012103933105A Pending CN102897369A (en) | 2012-10-17 | 2012-10-17 | Foldable containing box |
Country Status (1)
| Country | Link |
|---|---|
| CN (1) | CN102897369A (en) |
Cited By (3)
| Publication number | Priority date | Publication date | Assignee | Title |
|---|---|---|---|---|
| CN105292671A (en) * | 2015-11-04 | 2016-02-03 | 常州唯诺家居用品有限公司 | Foldable storage box |
| CN105691856A (en) * | 2016-02-17 | 2016-06-22 | 沈阳 | Fish containing bag |
| CN111642882A (en) * | 2020-06-28 | 2020-09-11 | 嘉善县惠民街道中秀手袋厂 | Folding multifunctional case |
Citations (8)
| Publication number | Priority date | Publication date | Assignee | Title |
|---|---|---|---|---|
| SU1261846A1 (en) * | 1984-12-30 | 1986-10-07 | Предприятие П/Я В-8751 | Folding box |
| GB2296233A (en) * | 1994-12-23 | 1996-06-26 | Hsiao Liang Ho | A container |
| WO1998003401A2 (en) * | 1996-07-22 | 1998-01-29 | Lamont Limited | A collapsible hamper |
| DE202006009774U1 (en) * | 2006-06-20 | 2006-08-24 | Hans Einhell Ag | Folding crate has rigid base, folding flexible walls and open top, swiveling end frames mounted on base fitting under edge of rigid frame around top of walls to fix crate in expanded position |
| CN201012762Y (en) * | 2007-01-18 | 2008-01-30 | 石正兵 | Folding storage box |
| CN201665338U (en) * | 2010-03-15 | 2010-12-08 | 王文灿 | Improved storage box structure capable of being used as seat |
| CN201967956U (en) * | 2011-03-14 | 2011-09-14 | 周梅永 | Foldable storage box |
| CN203094635U (en) * | 2012-10-17 | 2013-07-31 | 无锡豪思纺织品有限公司 | Foldable storage box |
-
2012
- 2012-10-17 CN CN2012103933105A patent/CN102897369A/en active Pending
Patent Citations (8)
| Publication number | Priority date | Publication date | Assignee | Title |
|---|---|---|---|---|
| SU1261846A1 (en) * | 1984-12-30 | 1986-10-07 | Предприятие П/Я В-8751 | Folding box |
| GB2296233A (en) * | 1994-12-23 | 1996-06-26 | Hsiao Liang Ho | A container |
| WO1998003401A2 (en) * | 1996-07-22 | 1998-01-29 | Lamont Limited | A collapsible hamper |
| DE202006009774U1 (en) * | 2006-06-20 | 2006-08-24 | Hans Einhell Ag | Folding crate has rigid base, folding flexible walls and open top, swiveling end frames mounted on base fitting under edge of rigid frame around top of walls to fix crate in expanded position |
| CN201012762Y (en) * | 2007-01-18 | 2008-01-30 | 石正兵 | Folding storage box |
| CN201665338U (en) * | 2010-03-15 | 2010-12-08 | 王文灿 | Improved storage box structure capable of being used as seat |
| CN201967956U (en) * | 2011-03-14 | 2011-09-14 | 周梅永 | Foldable storage box |
| CN203094635U (en) * | 2012-10-17 | 2013-07-31 | 无锡豪思纺织品有限公司 | Foldable storage box |
Cited By (3)
| Publication number | Priority date | Publication date | Assignee | Title |
|---|---|---|---|---|
| CN105292671A (en) * | 2015-11-04 | 2016-02-03 | 常州唯诺家居用品有限公司 | Foldable storage box |
| CN105691856A (en) * | 2016-02-17 | 2016-06-22 | 沈阳 | Fish containing bag |
| CN111642882A (en) * | 2020-06-28 | 2020-09-11 | 嘉善县惠民街道中秀手袋厂 | Folding multifunctional case |
Similar Documents
| Publication | Publication Date | Title |
|---|---|---|
| CN102897369A (en) | Foldable containing box | |
| CN204032741U (en) | Collapsible Simple wardrobe | |
| CN201870474U (en) | Foldable barbecue grill | |
| CN201005248Y (en) | Suitcase type folding table | |
| CN203094635U (en) | Foldable storage box | |
| CN202760404U (en) | Multifunctional hand bag | |
| CN204038063U (en) | A kind of corrugation package component of soy bean milk making machine | |
| CN103355942A (en) | Folding table | |
| CN205233746U (en) | Clothes hanger formula suitcase | |
| CN205098616U (en) | Foldable storage box | |
| CN202800669U (en) | Foldable wardrobe | |
| CN203341152U (en) | Expandable draw-bar box | |
| CN202619059U (en) | Foldable baby bed | |
| CN106235561A (en) | A kind of multi-function suitcase | |
| CN102138729A (en) | Box foldable table | |
| CN103662530A (en) | Portable wastepaper basket frame | |
| CN203294453U (en) | Foldable storage box | |
| CN204280154U (en) | Be convenient to the Rubber Parts container folding, transport | |
| CN204351308U (en) | Portable desk | |
| CN202104485U (en) | Foldable support table | |
| CN202553082U (en) | Foldable bed board for electric bed | |
| CN203353983U (en) | Foldable storage basket | |
| CN213696269U (en) | An Improved Field Command Operation Box | |
| CN202653620U (en) | Multifunctional folding stool | |
| CN205945895U (en) | Multifunctional mobile phone shell |
Legal Events
| Date | Code | Title | Description |
|---|---|---|---|
| C06 | Publication | ||
| PB01 | Publication | ||
| C10 | Entry into substantive examination | ||
| SE01 | Entry into force of request for substantive examination | ||
| C02 | Deemed withdrawal of patent application after publication (patent law 2001) | ||
| WD01 | Invention patent application deemed withdrawn after publication |
Application publication date: 20130130 |