CN102874194A - 一种汽车正碰折弯吸能机构及具有该机构的汽车 - Google Patents
一种汽车正碰折弯吸能机构及具有该机构的汽车 Download PDFInfo
- Publication number
- CN102874194A CN102874194A CN2012103249619A CN201210324961A CN102874194A CN 102874194 A CN102874194 A CN 102874194A CN 2012103249619 A CN2012103249619 A CN 2012103249619A CN 201210324961 A CN201210324961 A CN 201210324961A CN 102874194 A CN102874194 A CN 102874194A
- Authority
- CN
- China
- Prior art keywords
- energy
- rod
- chassis side
- absorbing post
- side rail
- Prior art date
- Legal status (The legal status is an assumption and is not a legal conclusion. Google has not performed a legal analysis and makes no representation as to the accuracy of the status listed.)
- Granted
Links
- 238000005452 bending Methods 0.000 title claims abstract description 42
- 239000006096 absorbing agent Substances 0.000 claims description 22
- 238000010521 absorption reaction Methods 0.000 claims description 12
- 230000000694 effects Effects 0.000 description 2
- 239000004020 conductor Substances 0.000 description 1
- 230000001276 controlling effect Effects 0.000 description 1
- 230000034994 death Effects 0.000 description 1
- 231100000517 death Toxicity 0.000 description 1
- 238000005516 engineering process Methods 0.000 description 1
- 239000012467 final product Substances 0.000 description 1
- 230000001105 regulatory effect Effects 0.000 description 1
Images
Landscapes
- Vibration Dampers (AREA)
Abstract
本发明涉及一种汽车正碰折弯吸能机构及具有该机构的汽车,包括两根平行设置的车架纵梁,在两车架纵梁前端的前方设置有保险杠,在保险杠与两车架纵梁之间均设有折弯吸能装置,折弯吸能装置包括设置在车架纵梁上、靠近车架纵梁前端的吸能柱阵列,在吸能柱阵列与保险杠之间的空间内设有用于传递来自保险杠的碰撞力、推动吸能柱阵列中的吸能柱折弯变形的推力杆,吸能柱阵列中的吸能柱的两端部穿设在车架纵梁上、下侧板上开设的对应的孔中,各吸能柱均与车架纵梁的上侧板垂直。在发生正面碰撞时,通过保险杠和推力杆撞击吸能柱阵列中的多个吸能柱,使吸能柱折弯变形起到吸收撞击能量的作用,进而减小传递至车身骨架的撞击能量,提高安全性能。
Description
技术领域
本发明涉及汽车正碰安全性设计技术领域,特别涉及一种汽车正碰吸能机构及具有该机构的汽车。
背景技术
目前,国内外对乘用车的碰撞安全研究的比较多,并且制定了各种法规,但对客车的正面碰撞研究相对较少。乘用车可以通过前端保险杠及发动机舱的变形吸收碰撞能量,客车由于前部空间有限,前部通常没有吸能机构,客车主要依靠前围和车架纵梁变形来吸收碰撞能量,碰撞安全性较差,容易造成乘员伤亡。因此有必要研制一种适用于客车的正碰吸能机构,以提高客车碰撞安全性。
发明内容
本发明的目的是提供一种适用于客车的汽车正碰折弯吸能机构。同时本发明还提供一种具有该吸能机构的汽车。
为实现上述目的,本发明一种汽车正碰折弯吸能机构采用如下技术方案:一种汽车正碰折弯吸能机构,包括两根平行设置的车架纵梁,在两车架纵梁前端的前方设置有保险杠,在保险杠与两车架纵梁之间均设有折弯吸能装置,折弯吸能装置包括设置在车架纵梁上、靠近车架纵梁前端的吸能柱阵列,在吸能柱阵列与保险杠之间的空间内设有用于传递来自保险杠的碰撞力、推动吸能柱阵列中的吸能柱折弯变形的推力杆,吸能柱阵列中的吸能柱的两端部穿设在车架纵梁上、下侧板上开设的对应的插孔中,各吸能柱均与车架纵梁的上侧板垂直。
所述推力杆包括垂直于吸能柱的杆体,杆体的前端固定设置在保险杠的背面,杆体的后端部被一固设在车架纵梁上的约束架约束阻止杆体后端部沿杆体径向移动。
所述约束架上具有一板面垂直于推力杆杆体的固定板,推力杆杆体的后端贯穿开设在固定板上的约束孔,推力杆杆体的后端面上设有推力块。
所述吸能柱阵列中的各吸能柱为一等径柱体,柱体的两端对应伸出车架纵梁上、下侧板,柱体由固连在车架纵梁上的、位于车架纵梁下侧板下方的承托板承托。
所述吸能柱阵列为方形阵列,该阵列中,沿车架纵梁长度方向的相邻两排中的吸能柱错位排布。
本发明一种具有正碰折弯吸能机构的汽车采用如下技术方案:一种具有正碰折弯吸能机构的汽车,包括两根平行设置的车架纵梁,在两车架纵梁前端的前方设置有保险杠,在保险杠与两车架纵梁之间均设有折弯吸能装置,折弯吸能装置包括设置在车架纵梁上、靠近车架纵梁前端的吸能柱阵列,在吸能柱阵列与保险杠之间的空间内设有用于传递来自保险杠的碰撞力、推动吸能柱阵列中的吸能柱折弯变形的推力杆,吸能柱阵列中的吸能柱的两端部穿设在车架纵梁上、下侧板上开设的对应的插孔中,各吸能柱均与车架纵梁的上侧板垂直。
所述推力杆包括垂直于吸能柱的杆体,杆体的前端固定设置在保险杠的背面,杆体的后端部被一固设在车架纵梁上的约束架约束阻止杆体后端部沿杆体径向移动。
所述约束架上具有一板面垂直于推力杆杆体的固定板,推力杆杆体的后端贯穿开设在固定板上的约束孔,推力杆杆体的后端面上设有推力块。
所述吸能柱阵列中的各吸能柱为一等径柱体,柱体的两端对应伸出车架纵梁上、下侧板,柱体由固连在车架纵梁上的、位于车架纵梁下侧板下方的承托板承托。
所述吸能柱阵列为方形阵列,该阵列中,沿车架纵梁长度方向的相邻两排中的吸能柱错位排布。
采用本发明的正碰折弯吸能机构,在发生正面碰撞时,通过撞击保险杠推动推力杆,在推力杆的作用下,吸能柱阵列中的多个吸能柱被撞弯,通过吸能柱折弯变形起到吸收撞击能量的作用,从而减小传递到车身骨架上的撞击能量,进而减小车内司乘人员受伤害的程度,提高汽车正碰的安全性;同时其吸能作用的强弱可通过调节吸能柱阵列中吸能柱数量的多少进行控制,操作十分便捷,适合大中小型车辆安装使用。
附图说明
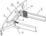
图1是本发明具有正碰折弯吸能机构的汽车一种实施例中吸能部分的结构示意图;
图2是图1中1A处的局部放大图;
图3是图1的俯视图;
图4是图3中2B处的局部放大图;
图5是图3中B-B剖面图。
具体实施方式
本发明具有正碰折弯吸能机构的汽车,其吸能部分的实施例见图1-图5所示,该汽车包括车身骨架,车身骨架包括左右两根平行设置的车架纵梁2,两车架纵梁的前端通过车架横梁4连接在一起,两车架纵梁的上、下侧板上均设有悬伸出来的横梁连接板10,车架横梁的端部固定连接在横梁连接板上,从而在车架横梁端面与车架纵梁侧壁之间留出可供推力杆穿过的孔,在两车架纵梁前端的前方设置有保险杠1,保险杠1通过其两端设置的保险杠连接梁5螺接固定在对应的车架纵梁上;在保险杠1与两车架纵梁2之间均设有折弯吸能装置,该折弯吸能装置包括推力杆3和设置在车架纵梁上、靠近车架纵梁前端的吸能柱阵列,推力杆3位于吸能柱阵列与保险杠之间的空间内,其前端与保险杠1连接,在保险杠受到正面撞击时,撞击力由保险杠1传递到推力杆3,通过推力杆推动吸能柱阵列中的吸能柱折弯变形,起到吸能作用。
本实施例中,吸能柱阵列采用方形阵列,该阵列中沿车架纵梁长度方向间隔设置了多排吸能柱,每排中间隔均匀布设有多个吸能柱8,相邻两排中的吸能柱的排列可以采用井字形对齐排布也可以采用错开半个间距的错位排布方式,见图4所示,本实施例中相邻两排中的吸能柱8采用的是错位排布方式,这样可以在满足支撑刚度的前提下提高吸能柱阵列中吸能柱的密度,使在有限的区域内获得更高的吸能强度。吸能柱阵列中,所设置的吸能柱的排数和每排中吸能柱的数量以及阵列中吸能柱的间距均可以根据车辆的大小进行灵活的选择。图4中,15是车架纵梁侧板上用于插装吸能柱的插孔。
上述吸能柱阵列中的各吸能柱8是一等径柱体,各柱体穿装在车架纵梁上、下侧板上开设的对应的插孔中,各柱体均与上侧板垂直,并且各柱体两端的端部对应伸出车架纵梁上、下侧板之外,各柱体受位于车架纵梁下侧板下方的承托板承托6,保持柱体呈竖直状态插装在车架纵梁上,所述承托板6为L形板,承托板通过其一个侧板固连在车架纵梁2上。为了提高吸能柱折弯变形时的支撑强度,在车架纵梁上、下侧板穿插吸能柱的部分增设了加强板14,通过增加此处的厚度提高其强度。
本实施例中,推力杆3包括垂直于吸能柱的杆体,杆体的前端通过螺栓固定连接在保险杠的背面,杆体的后端部被一固设在车架纵梁上的约束架9约束,阻止杆体后端部沿杆体径向摆动,使杆体只能沿前后方向移动,确保有效撞击吸能柱;所述约束架9螺接固定在车架纵梁上,约束架9上具有一板面垂直于推力杆杆体的固定板,推力杆杆体的后端贯穿开设在固定板上的约束孔,通过约束孔的约束保证推力杆的在撞击时的运动方向,推力杆杆体伸出所述固定板的后端面上还设有推力块7,本实施例中,推力块7与推力杆杆体采用分体组合形式构成推力杆,推力块7上具有一个插柄13,推力块通过插柄插装在推力杆杆体后端的插孔12中。
在本发明具有正碰折弯吸能机构的汽车的其他实施例中,推力杆与约束架可以采用其他的结构方式,比如,约束架上约束孔可以采用对扣组合的方式形成,这时推力杆后端推力块与推力杆杆体就可以采用一体式结构;推力块并不是必须的,在推力杆杆体的截面足够接触到一排中的每个吸能柱的情况下可以省略,约束架和推力杆只要能起到在撞击时推力杆只能向后移动保证垂直撞击吸能柱即可。另外,吸能柱阵列部分,吸能柱可以不采用等径柱体,而是采用阶梯柱体,即加大伸出车架纵梁上侧板部分的直径使之大于上侧板上吸能柱插孔的直径,这样吸能柱就受到上侧板的承托,而不用再另外设置承托板,吸能柱阵列中的吸能柱只要能呈竖直状态插装在车架纵梁的上、下侧板上,在受撞击时能以上、下侧板为支撑点弯曲变形即可。再者,吸能柱阵列可以不采用方形阵列形式,其紧邻推力杆一端的吸能柱可以布设呈锥形或者梯形端部。
本发明提供的一种汽车正碰折弯吸能机构的实施例与上述具有正碰折弯吸能机构的汽车中所采用的折弯吸能部分的结构相同,此处不予重述。
Claims (10)
1.一种汽车正碰折弯吸能机构,包括两根平行设置的车架纵梁,在两车架纵梁前端的前方设置有保险杠,其特征在于:在保险杠与两车架纵梁之间均设有折弯吸能装置,折弯吸能装置包括设置在车架纵梁上、靠近车架纵梁前端的吸能柱阵列,在吸能柱阵列与保险杠之间的空间内设有用于传递来自保险杠的碰撞力、推动吸能柱阵列中的吸能柱折弯变形的推力杆,吸能柱阵列中的吸能柱的两端部穿设在车架纵梁上、下侧板上开设的对应的插孔中,各吸能柱均与车架纵梁的上侧板垂直。
2.根据权利要求1所述的汽车正碰折弯吸能机构,其特征在于:所述推力杆包括垂直于吸能柱的杆体,杆体的前端固定设置在保险杠的背面,杆体的后端部被一固设在车架纵梁上的约束架约束阻止杆体后端部沿杆体径向移动。
3.根据权利要求2所述的汽车正碰折弯吸能机构,其特征在于:所述约束架上具有一板面垂直于推力杆杆体的固定板,推力杆杆体的后端贯穿开设在固定板上的约束孔,推力杆杆体的后端面上设有推力块。
4.根据权利要求1或2或3所述的汽车正碰折弯吸能机构,其特征在于:所述吸能柱阵列中的各吸能柱为一等径柱体,柱体的两端对应伸出车架纵梁上、下侧板,柱体由固连在车架纵梁上的、位于车架纵梁下侧板下方的承托板承托。
5.根据权利要求4所述的汽车正碰折弯吸能机构,其特征在于:所述吸能柱阵列为方形阵列,该阵列中,沿车架纵梁长度方向的相邻两排中的吸能柱错位排布。
6.一种具有正碰折弯吸能机构的汽车,包括两根平行设置的车架纵梁,在两车架纵梁前端的前方设置有保险杠,其特征在于:在保险杠与两车架纵梁之间均设有折弯吸能装置,折弯吸能装置包括设置在车架纵梁上、靠近车架纵梁前端的吸能柱阵列,在吸能柱阵列与保险杠之间的空间内设有用于传递来自保险杠的碰撞力、推动吸能柱阵列中的吸能柱折弯变形的推力杆,吸能柱阵列中的吸能柱的两端部穿设在车架纵梁上、下侧板上开设的对应的插孔中,各吸能柱均与车架纵梁的上侧板垂直。
7.根据权利要求6所述的汽车,其特征在于:所述推力杆包括垂直于吸能柱的杆体,杆体的前端固定设置在保险杠的背面,杆体的后端部被一固设在车架纵梁上的约束架约束阻止杆体后端部沿杆体径向移动。
8.根据权利要求7所述的汽车,其特征在于:所述约束架上具有一板面垂直于推力杆杆体的固定板,推力杆杆体的后端贯穿开设在固定板上的约束孔,推力杆杆体的后端面上设有推力块。
9.根据权利要求6或7或8所述的汽车,其特征在于:所述吸能柱阵列中的各吸能柱为一等径柱体,柱体的两端对应伸出车架纵梁上、下侧板,柱体由固连在车架纵梁上的、位于车架纵梁下侧板下方的承托板承托。
10.根据权利要求9所述的汽车,其特征在于:所述吸能柱阵列为方形阵列,该阵列中,沿车架纵梁长度方向的相邻两排中的吸能柱错位排布。
Priority Applications (1)
| Application Number | Priority Date | Filing Date | Title |
|---|---|---|---|
| CN201210324961.9A CN102874194B (zh) | 2012-09-05 | 2012-09-05 | 一种汽车正碰折弯吸能机构及具有该机构的汽车 |
Applications Claiming Priority (1)
| Application Number | Priority Date | Filing Date | Title |
|---|---|---|---|
| CN201210324961.9A CN102874194B (zh) | 2012-09-05 | 2012-09-05 | 一种汽车正碰折弯吸能机构及具有该机构的汽车 |
Publications (2)
| Publication Number | Publication Date |
|---|---|
| CN102874194A true CN102874194A (zh) | 2013-01-16 |
| CN102874194B CN102874194B (zh) | 2014-09-10 |
Family
ID=47475793
Family Applications (1)
| Application Number | Title | Priority Date | Filing Date |
|---|---|---|---|
| CN201210324961.9A Active CN102874194B (zh) | 2012-09-05 | 2012-09-05 | 一种汽车正碰折弯吸能机构及具有该机构的汽车 |
Country Status (1)
| Country | Link |
|---|---|
| CN (1) | CN102874194B (zh) |
Cited By (6)
| Publication number | Priority date | Publication date | Assignee | Title |
|---|---|---|---|---|
| CN104369709A (zh) * | 2013-08-17 | 2015-02-25 | 江苏卡威汽车工业集团有限公司 | 一种车身前梁 |
| CN105329323A (zh) * | 2014-08-05 | 2016-02-17 | 丰田自动车株式会社 | 车辆前部结构 |
| CN107820468A (zh) * | 2015-04-17 | 2018-03-20 | 宁波吉利汽车研究开发有限公司 | 用于车辆的吸能膝垫架 |
| CN108202684A (zh) * | 2016-12-16 | 2018-06-26 | 郑州宇通客车股份有限公司 | 一种碰撞防护结构及使用该碰撞防护结构的汽车 |
| CN114340978A (zh) * | 2019-09-11 | 2022-04-12 | 宝马股份公司 | 机动车、尤其是轿车 |
| CN119319820A (zh) * | 2024-12-19 | 2025-01-17 | 宁波可挺汽车零部件有限公司 | 一种具有吸能结构的前副车架 |
Citations (6)
| Publication number | Priority date | Publication date | Assignee | Title |
|---|---|---|---|---|
| US3961818A (en) * | 1975-03-28 | 1976-06-08 | Roth Jr George | Air bumper |
| US4823923A (en) * | 1988-09-06 | 1989-04-25 | Moyer James E | Energy dampening apparatus |
| WO1999015364A2 (en) * | 1997-09-22 | 1999-04-01 | Jeremic Vlado | Multistage bumper for cars |
| CN2625212Y (zh) * | 2003-04-25 | 2004-07-14 | 万元坤 | 分层缓冲式汽车保险杠 |
| CN102211558A (zh) * | 2011-04-02 | 2011-10-12 | 湖南亮财汽车安全科技有限公司 | 汽车碰撞消能保护装置 |
| CN202827435U (zh) * | 2012-09-05 | 2013-03-27 | 郑州宇通客车股份有限公司 | 汽车正碰折弯吸能机构及具有该机构的汽车 |
-
2012
- 2012-09-05 CN CN201210324961.9A patent/CN102874194B/zh active Active
Patent Citations (6)
| Publication number | Priority date | Publication date | Assignee | Title |
|---|---|---|---|---|
| US3961818A (en) * | 1975-03-28 | 1976-06-08 | Roth Jr George | Air bumper |
| US4823923A (en) * | 1988-09-06 | 1989-04-25 | Moyer James E | Energy dampening apparatus |
| WO1999015364A2 (en) * | 1997-09-22 | 1999-04-01 | Jeremic Vlado | Multistage bumper for cars |
| CN2625212Y (zh) * | 2003-04-25 | 2004-07-14 | 万元坤 | 分层缓冲式汽车保险杠 |
| CN102211558A (zh) * | 2011-04-02 | 2011-10-12 | 湖南亮财汽车安全科技有限公司 | 汽车碰撞消能保护装置 |
| CN202827435U (zh) * | 2012-09-05 | 2013-03-27 | 郑州宇通客车股份有限公司 | 汽车正碰折弯吸能机构及具有该机构的汽车 |
Cited By (10)
| Publication number | Priority date | Publication date | Assignee | Title |
|---|---|---|---|---|
| CN104369709A (zh) * | 2013-08-17 | 2015-02-25 | 江苏卡威汽车工业集团有限公司 | 一种车身前梁 |
| CN105329323A (zh) * | 2014-08-05 | 2016-02-17 | 丰田自动车株式会社 | 车辆前部结构 |
| CN107820468A (zh) * | 2015-04-17 | 2018-03-20 | 宁波吉利汽车研究开发有限公司 | 用于车辆的吸能膝垫架 |
| US10464516B2 (en) | 2015-04-17 | 2019-11-05 | Ningbo Geely Automobile Research & Development Co., Ltd. | Energy-absorbing knee bolster frame for a vehicle |
| CN108202684A (zh) * | 2016-12-16 | 2018-06-26 | 郑州宇通客车股份有限公司 | 一种碰撞防护结构及使用该碰撞防护结构的汽车 |
| CN108202684B (zh) * | 2016-12-16 | 2023-09-08 | 宇通客车股份有限公司 | 一种碰撞防护结构及使用该碰撞防护结构的汽车 |
| CN114340978A (zh) * | 2019-09-11 | 2022-04-12 | 宝马股份公司 | 机动车、尤其是轿车 |
| CN114340978B (zh) * | 2019-09-11 | 2023-11-17 | 宝马股份公司 | 机动车、尤其是轿车 |
| US11958530B2 (en) | 2019-09-11 | 2024-04-16 | Bayerische Motoren Werke Aktiengesellschaft | Motor vehicle, in particular passenger car |
| CN119319820A (zh) * | 2024-12-19 | 2025-01-17 | 宁波可挺汽车零部件有限公司 | 一种具有吸能结构的前副车架 |
Also Published As
| Publication number | Publication date |
|---|---|
| CN102874194B (zh) | 2014-09-10 |
Similar Documents
| Publication | Publication Date | Title |
|---|---|---|
| CN102874194B (zh) | 一种汽车正碰折弯吸能机构及具有该机构的汽车 | |
| CN102358349B (zh) | 一种汽车车身前部骨架结构 | |
| CN101559786B (zh) | 一种正面兼顾偏置碰撞能量吸收装置及带有该装置的汽车 | |
| CN202827435U (zh) | 汽车正碰折弯吸能机构及具有该机构的汽车 | |
| CN201272311Y (zh) | 一种保险杠系统 | |
| CN201633678U (zh) | 一种汽车碰撞吸能装置 | |
| CN202827752U (zh) | 客车正碰压溃吸能结构和具有该结构的客车 | |
| CN203438965U (zh) | 车架前部吸能结构以及车辆 | |
| CN212797095U (zh) | 车身前部结构及汽车 | |
| CN108001533A (zh) | 前舱车架 | |
| CN102756702A (zh) | 汽车防撞缓冲吸能系统 | |
| CN114032815A (zh) | 一种中央分隔带防撞护栏装置及其施工方法 | |
| CN202378955U (zh) | 一种汽车前纵梁 | |
| CN102514625A (zh) | 一种汽车前纵梁 | |
| CN103318265A (zh) | 汽车后部传力结构 | |
| CN103303230B (zh) | 客车碰撞吸能机构以及使用该机构的客车 | |
| CN202783376U (zh) | 一种机舱纵梁结构 | |
| CN202029792U (zh) | 汽车前横梁 | |
| CN203318330U (zh) | 一种客车前碰吸能机构 | |
| CN102745248B (zh) | 汽车前围加强梁结构 | |
| CN204527323U (zh) | 一种车架 | |
| CN207225489U (zh) | 客车骨架及使用该骨架的客车 | |
| CN201800778U (zh) | 新型溃缩吸能式副车架 | |
| CN101259853A (zh) | 一种汽车底板结构 | |
| CN105946753B (zh) | 一种低驾驶区客车前碰撞保护结构 |
Legal Events
| Date | Code | Title | Description |
|---|---|---|---|
| C06 | Publication | ||
| PB01 | Publication | ||
| C10 | Entry into substantive examination | ||
| SE01 | Entry into force of request for substantive examination | ||
| C14 | Grant of patent or utility model | ||
| GR01 | Patent grant | ||
| CP03 | Change of name, title or address | ||
| CP03 | Change of name, title or address |
Address after: 450061 Yutong Road, Guancheng District, Zhengzhou City, Henan Province Patentee after: Yutong Bus Co., Ltd Address before: 450016 shibalihe Yutong Industrial Park, Zhengzhou City, Henan Province Patentee before: Zhengzhou Yutong Bus Co., Ltd |