CN102862123A - Multifunctional mini-sized belt sander - Google Patents
Multifunctional mini-sized belt sander Download PDFInfo
- Publication number
- CN102862123A CN102862123A CN2012104010855A CN201210401085A CN102862123A CN 102862123 A CN102862123 A CN 102862123A CN 2012104010855 A CN2012104010855 A CN 2012104010855A CN 201210401085 A CN201210401085 A CN 201210401085A CN 102862123 A CN102862123 A CN 102862123A
- Authority
- CN
- China
- Prior art keywords
- dust collection
- dust
- follower wheel
- wheel
- collection box
- Prior art date
- Legal status (The legal status is an assumption and is not a legal conclusion. Google has not performed a legal analysis and makes no representation as to the accuracy of the status listed.)
- Granted
Links
Images
Landscapes
- Finish Polishing, Edge Sharpening, And Grinding By Specific Grinding Devices (AREA)
- Grinding-Machine Dressing And Accessory Apparatuses (AREA)
Abstract
本发明提供了多功能小型砂带机,属于作业技术领域。它解决了现有的多功能小型砂带机磨削或抛光产生粉尘和砂粒到处飞扬的问题。本多功能小型砂带机,包括集尘箱体和砂带,所述的砂带内侧设有主动轮、随动轮一和随动轮二;集尘箱体侧壁上开有排尘口;集尘箱体内腔设有电机和集尘抽屉,集尘抽屉放置在集尘箱体内腔底面上,电机位于集尘抽屉上方且所述的电机壳体与集尘箱体固定连接;主动轮与电机转轴固定连接;集尘箱体的顶面上固定具有集尘腔的集尘罩,随动轮一和随动轮二位于集尘罩的集尘腔内且随动轮一和随动轮二定位在集尘罩上;集尘腔与集尘箱体内腔相连通。本发明具有结构紧凑、体积小、制造成本低、粉尘扩散率低等优点。
The invention provides a multifunctional small-sized sand belt machine, which belongs to the field of operation technology. The utility model solves the problem that the dust and sand grains fly everywhere in the grinding or polishing of the existing multifunctional small belt sander. The multi-functional small belt machine includes a dust collection box and an abrasive belt. The inner side of the abrasive belt is provided with a driving wheel, a follower wheel 1 and a follower wheel 2; a dust discharge port is opened on the side wall of the dust collection box; The inner cavity of the dust box is provided with a motor and a dust collection drawer, the dust collection drawer is placed on the bottom surface of the inner cavity of the dust collection box, the motor is located above the dust collection drawer and the motor housing is fixedly connected with the dust collection box body; The motor shaft is fixedly connected; the top surface of the dust collection box is fixed with a dust collection cover with a dust collection chamber, and the follower wheel 1 and follower wheel 2 are located in the dust collection chamber of the dust collection cover, and the follower wheel 1 and follower wheel 2 are positioned in the dust collection chamber. On the dust cover; the dust collection cavity is connected with the inner cavity of the dust collection box. The invention has the advantages of compact structure, small volume, low manufacturing cost, low dust diffusion rate and the like.
Description
技术领域 technical field
本发明属于作业技术领域,涉及一种磨削装置,特别是一种多功能小型砂带机。The invention belongs to the field of operation technology, and relates to a grinding device, in particular to a multifunctional small belt sander.
背景技术 Background technique
砂带机是以电机作为驱动元件,砂带作为磨削工具,主动轮和从动轮等将砂带张紧。它主要在工业中用于磨削家具中的木材和五金产品中金属件等。关于工业中使用的砂带机参考文献如,中国专利文献公开的一种平磨砂带抛光机【申请号:200610118511.9;公告号:CN1962191A】,一种平面砂带磨光机【申请号:200710160382.4;公告号:CN101181779A】。The belt machine uses the motor as the driving element, the abrasive belt as the grinding tool, and the driving wheel and driven wheel to tension the abrasive belt. It is mainly used in industry for grinding wood in furniture and metal parts in hardware products. References about belt machines used in industry are, for example, a flat abrasive belt polisher [application number: 200610118511.9; announcement number: CN1962191A] disclosed in Chinese patent literature, and a flat abrasive belt polisher [application number: 200710160382.4; Notice number: CN101181779A].
申请人发现人们日常生活中的众多器具也需磨削,如菜刀和剪刀等刀具使用会变钝,进而需磨锋利;如金属厨具或五金制品使用后表面逐渐变暗,需抛光磨亮;将工业中使用的砂带机应用到家庭中显然是不适用的。申请人还发现目前市场上销售的砂带机因占用空间大、销售价格高和功能单一等,进而导致砂带机不适用于小作坊。The applicant found that many utensils in people's daily life also need to be sharpened, such as kitchen knives and scissors, which will become blunt when used, and then need to be sharpened; such as metal kitchen utensils or hardware products, the surface gradually becomes dark after use, and needs to be polished and polished; It is obviously not suitable for the belt sander used in the industry to be applied to the family. The applicant also found that the abrasive belt machines currently on the market are not suitable for small workshops due to their large space occupation, high sales price and single function.
为此申请人经常检索发现中国专利文献公开的一种多功能小型砂带机【申请号:93247609;公告号:CN2176868Y】,由安装在机体内的主传动轮、涨紧轮、导向轮、砂带及工作台,电机和柔性软轴系统组成,电机及带锁定机构的电源开关位于机体一侧,电机轴两端分别安装主传动轮和柔性软轴系统,导向轮位于主传动轮土方,工作台经锁定手柄固定在机体上,砂带穿过工作台环绕在主传动轮、涨紧轮及导向轮上。上述多功能小型砂带机虽然可磨削刀具及其他器具,但还是存在着一些缺陷:由于砂带机磨削或抛光会产生粉尘和砂粒等,并会随空气飞扬,进而可能导致室内所有物品的表面均受污染,上述产生的污染无法彻底清洁。For this reason, the applicant often retrieves and finds that a kind of multifunctional small-sized abrasive belt machine disclosed in Chinese patent documents [application number: 93247609; Belt and workbench, motor and flexible flexible shaft system. The motor and the power switch with locking mechanism are located on one side of the machine body. The two ends of the motor shaft are respectively installed with the main drive wheel and the flexible flexible shaft system. The guide wheel is located at the earthwork of the main drive wheel. The table is fixed on the machine body through the locking handle, and the abrasive belt passes through the worktable and wraps around the main drive wheel, tensioner wheel and guide wheel. Although the above-mentioned multifunctional small belt machine can grind knives and other utensils, there are still some defects: dust and sand particles will be generated due to the grinding or polishing of the belt machine, and will fly with the air, which may cause damage to all items in the room. All surfaces are contaminated and the resulting contamination cannot be cleaned thoroughly.
发明内容 Contents of the invention
本发明的目的是针对现有的技术存在上述问题,提出了一种多功能小型砂带机,本发明要解决磨削或抛光产生粉尘和砂粒到处飞扬的问题。The purpose of the present invention is to solve the above-mentioned problems in the existing technology, and proposes a multifunctional small-sized belt machine. The present invention will solve the problem that dust and sand grains fly everywhere in grinding or polishing.
本发明的目的可通过下列技术方案来实现:一种多功能小型砂带机,其特征在于,包括集尘箱体和砂带,所述的砂带内侧设有主动轮、随动轮一和随动轮二;所述的集尘箱体侧壁上开有排尘口;所述的集尘箱体内腔设有电机和集尘抽屉,所述的集尘抽屉放置在集尘箱体内腔底面上,所述的电机位于集尘抽屉上方且所述的电机壳体与集尘箱体固定连接;所述的主动轮与电机转轴固定连接;所述的集尘箱体的顶面上固定具有集尘腔的集尘罩,所述的随动轮一和随动轮二位于集尘罩的集尘腔内且所述的随动轮一和随动轮二定位在集尘罩上;所述的集尘腔与集尘箱体内腔相连通。The purpose of the present invention can be achieved through the following technical solutions: a multifunctional small belt machine, characterized in that it includes a dust collection box and an abrasive belt, the inner side of the abrasive belt is provided with a driving wheel, a follower wheel and a follower The second driving wheel; the side wall of the dust collection box is provided with a dust outlet; the inner cavity of the dust collection box is provided with a motor and a dust collection drawer, and the dust collection drawer is placed on the bottom surface of the inner cavity of the dust collection box , the motor is located above the dust collection drawer and the motor housing is fixedly connected with the dust collection box; the driving wheel is fixedly connected with the motor shaft; the top surface of the dust collection box is fixed with The dust collection cover of the dust collection chamber, the first follower wheel and the second follower wheel are located in the dust collection chamber of the dust collection cover and the first follower wheel and the second follower wheel are positioned on the dust collection cover; the dust collection The cavity communicates with the inner cavity of the dust collecting box.
采用本多功能小型砂带机磨削时,可将鼓风机的进风口与排尘口相依靠,在鼓风机的出风口处套设布袋。人们日常生活中较容易找到鼓风机和布袋或类似作用的物品;因此本多功能小型砂带机磨削适合家庭使用。本多功能小型砂带机也可匹配专用的风机和除尘装置,使其也适用于小作坊。When the multi-functional small belt machine is used for grinding, the air inlet of the blower and the dust outlet can be relied on, and a cloth bag can be set at the air outlet of the blower. It is easier for people to find air blowers and cloth bags or similar items in their daily life; therefore, this multifunctional small belt sander is suitable for family use. This multi-functional small belt machine can also be matched with a special fan and dust removal device, making it also suitable for small workshops.
本多功能小型砂带机的集尘箱体即相对于机架及工作台的作用,又能收集磨削工件产生的砂粒及粉尘等污染物;集尘罩能有效地降低磨削工件产生的粉尘扩散;即本多功能小型砂带机能有效地降低粉尘扩散,同时又能将粉尘及砂粒污染物收集进而方便除尘。The dust collection box of the multi-functional small belt machine not only acts on the frame and the workbench, but also collects sand particles and dust and other pollutants generated by grinding workpieces; the dust collection cover can effectively reduce dust generated by grinding workpieces. Dust diffusion; that is, this multifunctional small belt machine can effectively reduce dust diffusion, and at the same time, it can collect dust and sand pollutants to facilitate dust removal.
在上述的多功能小型砂带机中,所述的随动轮一位于主动轮正上方,所述的随动轮二位于主动轮的斜上侧;砂带位于随动轮一和主动轮之间段为磨削段。由此可知,磨削段大致呈竖直设置,本砂带机运行时磨削段向下运动;该结构更有利于磨削工件,同时能将磨削产生物质带入集尘箱体内。In the above-mentioned multifunctional small belt machine, the first follower wheel is located directly above the driving wheel, and the second follower wheel is located on the oblique upper side of the drive wheel; the abrasive belt is located between the first follower wheel and the drive wheel. Grinding section. It can be seen that the grinding section is generally vertically arranged, and the grinding section moves downward during the operation of the abrasive belt machine; this structure is more conducive to grinding workpieces, and can simultaneously bring grinding materials into the dust collection box.
在上述的多功能小型砂带机中,所述的集尘箱体顶壁上还开有与主动轮位置相对应的集尘孔二,所述的砂带穿过所述的集尘孔二;所述的集尘孔二处设有集尘斗,所述的集尘斗与集尘箱体顶面固定连接。集尘斗相当于增大了集尘孔二的面积,即更易接住自然落下的沙粒等物质。该集尘斗还具有导风作用,使磨削段处气流更稳定,有利于收集粉尘。In the above-mentioned multifunctional small belt machine, there is also a
在上述的多功能小型砂带机中,所述的磨削段后侧设有靠磨件,所述的靠磨件定位在集尘斗上。靠磨件可以为靠磨轮或靠磨板。In the above-mentioned multi-functional small belt machine, a grinding part is provided on the rear side of the grinding section, and the grinding part is positioned on the dust collecting hopper. The grinding part can be a grinding wheel or a grinding plate.
在上述的多功能小型砂带机中,所述的磨削段前侧设有工作台板,所述的工作台板定位在集尘斗上。磨削工件时,工件可以放置在工作台板上。In the above-mentioned multi-functional small belt machine, the front side of the grinding section is provided with a working table, and the working table is positioned on the dust collecting hopper. When grinding the workpiece, the workpiece can be placed on the work table.
在上述的多功能小型砂带机中,所述的集尘罩包括罩体和竖直设置支撑板,所述的支撑板与集尘箱体顶壁固定连接;所述的随动轮一和随动轮二定位在支撑板上;所述的罩体和支撑板之间通过能使罩体与支撑板结合或分离的连接结构相连接。该结构即可使随动轮一和随动轮二稳定地被定位,同时通过操纵连接结构使罩体与支撑板结合或分离,进而方便更换砂带。In the above-mentioned multifunctional small-sized belt machine, the dust collection cover includes a cover body and a vertical support plate, and the support plate is fixedly connected with the top wall of the dust collection box; the
在上述的多功能小型砂带机中,所述的连接结构包括螺栓,所述的罩体和支撑板之间通过螺栓相连接。In the above-mentioned multifunctional small belt sander, the connection structure includes bolts, and the cover and the support plate are connected by bolts.
在上述的多功能小型砂带机中,所述的连接结构包括合页和锁,所述的罩体的一缘部与支撑板之间通过合页相连接,另一缘部通过锁与支撑板相连接。In the above-mentioned multifunctional small belt machine, the connection structure includes a hinge and a lock, one edge of the cover is connected to the support plate through a hinge, and the other edge is connected to the support plate through a lock. boards are connected.
在上述的多功能小型砂带机中,所述的支撑板具有呈条状且竖直设置的定高部和相对于定高部倾斜设置的水平悬挂部,所述的水平悬挂部的下端与定高部上端相连;所述的随动轮一定位在定高部上;所述的随动轮二定位在水平悬挂部的上端部上。该结构使随动轮一和箱体之间还能够布置部件,上述的集尘斗的部分及靠磨件便位于随动轮一和箱体之间,由此有效地提高了空间利用率,具有结构紧凑的优点。In the above-mentioned multifunctional small belt sander, the support plate has a strip-shaped and vertically fixed height portion and a horizontal suspension portion inclined to the fixed height portion, the lower end of the horizontal suspension portion is connected to the The upper ends of the fixed height parts are connected; the first follower wheel is positioned on the fixed height part; the second follower wheel is positioned on the upper end of the horizontal suspension part. This structure enables components to be arranged between the
在上述的多功能小型砂带机中,所述的集尘箱体顶壁上开有连通集尘罩集尘腔与集尘箱体内腔的集尘孔一,所述的砂带穿过所述的集尘孔一。集尘孔一的位置与支撑板和集尘箱体顶壁连接处位置相对应。In the above-mentioned multi-functional small belt machine, the top wall of the dust collection box is provided with a
在上述的多功能小型砂带机中,所述的集尘箱体的顶壁与侧壁之间通过螺栓固定连接。通过旋拧螺栓可将顶壁卸下,由此方便安装和维护电机。In the above-mentioned multifunctional small belt machine, the top wall and the side wall of the dust collection box are fixedly connected by bolts. The top wall can be removed by screwing the bolts, which facilitates the installation and maintenance of the motor.
在上述的多功能小型砂带机中,所述的集尘箱体的顶壁上开有连通集尘孔一和集尘孔二的条形孔。在更换砂带时,砂带通过条形孔嵌入集尘箱体内,并能套在主动轮上、随动轮一和随动轮二上。为了方便将砂带套设在主动轮上,还可在集尘箱体与主动轮相对位置处开设操纵孔和用于覆盖操纵孔的盖板。为了能将砂带嵌入集尘箱体内,集尘斗等部件根据实际情况应开设让位孔。In the above-mentioned multi-functional small belt machine, the top wall of the dust collection box is provided with a strip-shaped hole connecting the
与现有技术相比,本多功能小型砂带机的电机等部件位于集尘箱体内,因此具有结构紧凑的优点。本砂带机的集尘箱体的长宽高均在50厘米左右,因此体积小的优点。本多功能小型砂带机还具有制造成本低、粉尘扩散率低,粉尘及沙粒等污染物容易收集及处理的优点。本多功能小型砂带机尤其适合于家用和小作坊使用。Compared with the prior art, the motor and other parts of the multifunctional small belt machine are located in the dust collection box, so it has the advantage of compact structure. The length, width and height of the dust collection box of the abrasive belt machine are all about 50 cm, so it has the advantage of small size. The multifunctional small belt sander also has the advantages of low manufacturing cost, low dust diffusion rate, and easy collection and treatment of dust, sand and other pollutants. The multifunctional small belt sander is especially suitable for household use and small workshops.
附图说明 Description of drawings
图1是本多功能小型砂带机的立体结构示意图。Fig. 1 is a schematic diagram of the three-dimensional structure of the multifunctional small belt sander.
图2是本多功能小型砂带机去除罩体后的立体结构示意图。Fig. 2 is a three-dimensional structure schematic diagram of the multifunctional small belt sander after removing the cover body.
图3是本多功能小型砂带机的剖视结构示意图。Fig. 3 is a cross-sectional structural schematic diagram of the multifunctional small belt sander.
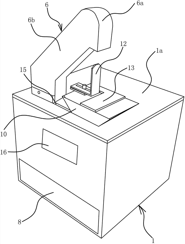
图中,1、集尘箱体;1a、顶壁;1b、排尘口;2、砂带;3、主动轮;4、随动轮一;5、随动轮二;6、集尘罩;6a、支撑板;6b、罩体;6c、定高部;6d、水平悬挂部;7、电机;8、集尘抽屉;9、导向斗;10、集尘斗;11、集尘孔二;12、靠磨件;13、工作台板;14、集尘孔一;15、条形孔;16、盖板。In the figure, 1. Dust collection box; 1a, top wall; 1b, dust outlet; 2, abrasive belt; 3, driving wheel; 4,
具体实施方式 Detailed ways
以下是本发明的具体实施例并结合附图,对本发明的技术方案作进一步的描述,但本发明并不限于这些实施例。The following are specific embodiments of the present invention and in conjunction with the accompanying drawings, the technical solutions of the present invention are further described, but the present invention is not limited to these embodiments.
如图1和图2所示,本多功能小型砂带机包括集尘箱体1、砂带2、主动轮3、随动轮一4、随动轮二5、集尘罩6、电机7和集尘抽屉8。As shown in Fig. 1 and Fig. 2, this multi-functional small-sized belt machine includes a dust
如图1至图3所示,具有来说,电机7和集尘抽屉8位于集尘箱体1的内腔中,集尘抽屉8放置在集尘箱体1内腔底面上,电机7位于集尘抽屉8上方且电机7壳体与集尘箱体1固定连接。电机7和集尘抽屉8之间设有导向斗9,导向斗9与集尘箱体1固定连接。为了更方便取放集尘抽屉8,集尘箱体1的左侧壁上开有取放口,集尘抽屉8的一侧壁又能将取放口封盖。根据实际情况,取放口可开设在集尘箱体1的右侧壁或前侧壁上。As shown in Figures 1 to 3, in general, the
为了更方便地维护电机7,集尘箱体1的顶壁1a通过螺栓固定在侧壁上。集尘箱体1的侧壁上开有排尘口1b;一般来说开有排尘口1b的侧壁与开有取放口的侧壁相对设置。In order to maintain the
主动轮3、随动轮一4和随动轮二5位于砂带2的内侧;主动轮3与电机7转轴固定连接。砂带2位于随动轮一4和主动轮3之间段为磨削段,随动轮一4位于主动轮3正上方,随动轮二5位于主动轮3的斜上侧;该结构使磨削段竖直设置。集尘箱体1顶壁1a上还开有与主动轮3位置相对应的集尘孔二11,砂带2穿过集尘孔二11。本砂带机运行时磨削段向下运动,由此可将磨削产生的砂粒及粉尘等污染物主动地向下带动并将上述的污染物带入集尘箱体1内,由此有效地避免了污染物扩散。Drive wheel 3, follower wheel one 4 and follower wheel two 5 are positioned at the inner side of
为了进一步降低粉尘等污染物的扩散率,在集尘孔二11处设有集尘斗10,集尘斗10与集尘箱体1顶面固定连接。为了更方便地磨削工件及提高磨削工件的合格率,在磨削段后侧设有靠磨件12,靠磨件12定位在集尘斗10上。磨削段前侧设有工作台板13,所述的工作台板13定位在集尘斗10上。靠磨件12可根据实际工件待磨面的形状灵活地更换。In order to further reduce the diffusion rate of pollutants such as dust, a
集尘罩6具有集尘腔,集尘罩6固定在集尘箱体1的顶面上;集尘腔与集尘箱体1内腔相连通。随动轮一4和随动轮二5位于集尘罩6的集尘腔内且随动轮一4和随动轮二5定位在集尘罩6上。设置集尘罩6的主要重要是支撑随动轮一4和随动轮二5、降低进入集尘箱体1内的污染物反溢出的可能性及有效地降低粉尘扩散。The dust collecting cover 6 has a dust collecting cavity, and the dust collecting cover 6 is fixed on the top surface of the
为了更方便地张紧砂带2及调平砂带2,可将随动轮一4通过砂带2张紧机构与集尘罩6定位连接;将随动轮二5通过砂带2调平机构与集尘罩6定位连接。In order to tension the
更具体来说,集尘罩6包括罩体6b和竖直设置的支撑板6a,支撑板6a与集尘箱体1顶壁1a固定连接;随动轮一4和随动轮二5定位在支撑板6a上;罩体6b与支撑板6a之间通过能使罩体6b与支撑板6a结合或分离的连接结构相连接。支撑板6a具有呈条状且竖直设置的定高部6c和相对于定高部6c倾斜设置的水平悬挂部6d,水平悬挂部6d的下端与定高部6c上端相连;随动轮一4定位在定高部6c上;随动轮二5定位在水平悬挂部6d的上端部上。集尘箱体1顶壁1a上开有与支撑板6a和集尘箱体1顶壁1a连接处位置相对应的集尘孔一14,集尘腔与集尘箱体1内腔通过集尘孔一14相连通;砂带2穿过集尘孔一14。More specifically, the dust collection hood 6 includes a cover body 6b and a vertically arranged
连接结构包括螺栓,罩体6b与支撑板6a之间通过螺栓相连接。根据实际情况,连接结构可采用以下方案替换:连接结构包括合页和锁,罩体6b的一缘部与支撑板6a之间通过合页相连接,另一缘部通过锁与支撑板6a相连接。The connection structure includes bolts, and the cover body 6b and the
为了能够安装及更换砂带,在集尘箱体1的顶壁1a上开有连通集尘孔一14和集尘孔二11的条形孔15。在集尘斗等部件根据实际情况应开设让位孔。为了方便将砂带套设在主动轮上,还可在集尘箱体与主动轮相对位置处开设操纵孔和用于覆盖操纵孔的盖板16。In order to be able to install and replace the abrasive belt, the top wall 1 a of the dust
本文中所描述的具体实施例仅仅是对本发明精神作举例说明。本发明所属技术领域的技术人员可以对所描述的具体实施例做各种各样的修改或补充或采用类似的方式替代,但并不会偏离本发明的精神或者超越所附权利要求书所定义的范围。The specific embodiments described herein are merely illustrative of the spirit of the invention. Those skilled in the art to which the present invention belongs can make various modifications or supplements to the described specific embodiments or adopt similar methods to replace them, but they will not deviate from the spirit of the present invention or go beyond the definition of the appended claims range.
Claims (10)
Priority Applications (1)
| Application Number | Priority Date | Filing Date | Title |
|---|---|---|---|
| CN201210401085.5A CN102862123B (en) | 2012-10-19 | 2012-10-19 | Multifunctional small-size belt sander |
Applications Claiming Priority (1)
| Application Number | Priority Date | Filing Date | Title |
|---|---|---|---|
| CN201210401085.5A CN102862123B (en) | 2012-10-19 | 2012-10-19 | Multifunctional small-size belt sander |
Publications (2)
| Publication Number | Publication Date |
|---|---|
| CN102862123A true CN102862123A (en) | 2013-01-09 |
| CN102862123B CN102862123B (en) | 2016-04-20 |
Family
ID=47441393
Family Applications (1)
| Application Number | Title | Priority Date | Filing Date |
|---|---|---|---|
| CN201210401085.5A Expired - Fee Related CN102862123B (en) | 2012-10-19 | 2012-10-19 | Multifunctional small-size belt sander |
Country Status (1)
| Country | Link |
|---|---|
| CN (1) | CN102862123B (en) |
Cited By (4)
| Publication number | Priority date | Publication date | Assignee | Title |
|---|---|---|---|---|
| CN105328541A (en) * | 2015-10-29 | 2016-02-17 | 苏州晓炎自动化设备有限公司 | Belt sander |
| CN108393800A (en) * | 2018-05-18 | 2018-08-14 | 陈美青 | Polish dust dust-extraction unit |
| CN108581759A (en) * | 2018-03-09 | 2018-09-28 | 张家港市博格机械有限公司 | A kind of belt sander for ultra-thin-wall proximate matter |
| CN113752138A (en) * | 2021-09-06 | 2021-12-07 | 杭州龙砺智能科技有限公司 | Abrasive belt machine and working method thereof |
Citations (8)
| Publication number | Priority date | Publication date | Assignee | Title |
|---|---|---|---|---|
| US4061126A (en) * | 1976-11-02 | 1977-12-06 | Schlangen Ronald F | Ceramic tile cutting apparatus |
| JPH06182665A (en) * | 1991-08-09 | 1994-07-05 | Emerson Electric Co | Belt / disk sander |
| US5460564A (en) * | 1992-10-08 | 1995-10-24 | Easthill Group, Inc. | Sandblasting cabinet assembly |
| US7044841B1 (en) * | 2005-05-24 | 2006-05-16 | Juei-Seng Liao | Grinding machine |
| CN200998844Y (en) * | 2007-01-15 | 2008-01-02 | 陈美青 | Dust-absorbing hood of abrasive band polishing machine |
| CN201157997Y (en) * | 2007-12-21 | 2008-12-03 | 陈美青 | Plane belt sander |
| CN301235967S (en) * | 2009-06-23 | 2010-05-26 | 陈美青 | Abrasive belt polishing machine (high-speed flat grinding) |
| CN202910737U (en) * | 2012-10-19 | 2013-05-01 | 陈美青 | Multifunctional small belt sander |
-
2012
- 2012-10-19 CN CN201210401085.5A patent/CN102862123B/en not_active Expired - Fee Related
Patent Citations (8)
| Publication number | Priority date | Publication date | Assignee | Title |
|---|---|---|---|---|
| US4061126A (en) * | 1976-11-02 | 1977-12-06 | Schlangen Ronald F | Ceramic tile cutting apparatus |
| JPH06182665A (en) * | 1991-08-09 | 1994-07-05 | Emerson Electric Co | Belt / disk sander |
| US5460564A (en) * | 1992-10-08 | 1995-10-24 | Easthill Group, Inc. | Sandblasting cabinet assembly |
| US7044841B1 (en) * | 2005-05-24 | 2006-05-16 | Juei-Seng Liao | Grinding machine |
| CN200998844Y (en) * | 2007-01-15 | 2008-01-02 | 陈美青 | Dust-absorbing hood of abrasive band polishing machine |
| CN201157997Y (en) * | 2007-12-21 | 2008-12-03 | 陈美青 | Plane belt sander |
| CN301235967S (en) * | 2009-06-23 | 2010-05-26 | 陈美青 | Abrasive belt polishing machine (high-speed flat grinding) |
| CN202910737U (en) * | 2012-10-19 | 2013-05-01 | 陈美青 | Multifunctional small belt sander |
Cited By (4)
| Publication number | Priority date | Publication date | Assignee | Title |
|---|---|---|---|---|
| CN105328541A (en) * | 2015-10-29 | 2016-02-17 | 苏州晓炎自动化设备有限公司 | Belt sander |
| CN108581759A (en) * | 2018-03-09 | 2018-09-28 | 张家港市博格机械有限公司 | A kind of belt sander for ultra-thin-wall proximate matter |
| CN108393800A (en) * | 2018-05-18 | 2018-08-14 | 陈美青 | Polish dust dust-extraction unit |
| CN113752138A (en) * | 2021-09-06 | 2021-12-07 | 杭州龙砺智能科技有限公司 | Abrasive belt machine and working method thereof |
Also Published As
| Publication number | Publication date |
|---|---|
| CN102862123B (en) | 2016-04-20 |
Similar Documents
| Publication | Publication Date | Title |
|---|---|---|
| CN102862123B (en) | Multifunctional small-size belt sander | |
| CN209548938U (en) | Air purification device for grinding machine | |
| CN206662921U (en) | A kind of dust-proof belt sander | |
| CN210588742U (en) | High-efficient grinder of optical lens | |
| CN217776677U (en) | Cutting fluid recovery unit of grinding machine | |
| CN202910737U (en) | Multifunctional small belt sander | |
| CN110774149A (en) | A kind of grinding device for metal material processing | |
| CN210550246U (en) | Surface grinding device for door plate machining | |
| CN110216545A (en) | A kind of plate side grinding device | |
| CN210790394U (en) | Automatic efficient grinding device | |
| CN209887261U (en) | Timber grinder | |
| CN213351893U (en) | Grinding device for machining with dust collection function | |
| CN212351560U (en) | Polishing and grinding device for aluminum alloy production | |
| CN115415615A (en) | Full-automatic electric automatic cutting machine | |
| CN209425142U (en) | A kind of plate blanking machine | |
| CN210997825U (en) | Rotary workbench kitchen knife grinding machine | |
| CN208034359U (en) | A kind of dust-proof plane sander | |
| CN218110343U (en) | Electromagnetic chuck shell polishing and grinding device | |
| CN221792117U (en) | Polishing equipment convenient to clean | |
| CN218746779U (en) | Metal polishing workbench with dust collecting function | |
| CN206286972U (en) | It is a kind of can multi-angle polishing environment-friendly type belt sander | |
| CN222134537U (en) | Abrasive belt derusting machine | |
| CN222327678U (en) | A surface grinding device for fastener production | |
| CN218285127U (en) | Grinding machine is used in machine parts processing | |
| CN215920040U (en) | High-efficient head grinding device |
Legal Events
| Date | Code | Title | Description |
|---|---|---|---|
| C06 | Publication | ||
| PB01 | Publication | ||
| C10 | Entry into substantive examination | ||
| SE01 | Entry into force of request for substantive examination | ||
| C14 | Grant of patent or utility model | ||
| GR01 | Patent grant | ||
| CF01 | Termination of patent right due to non-payment of annual fee |
Granted publication date: 20160420 |
|
| CF01 | Termination of patent right due to non-payment of annual fee |
